Hybrid-Electric Turbine Engines: Properties And Applications
SEP 23, 20255 MIN READ
Generate Your Research Report Instantly with AI Agent
Patsnap Eureka helps you evaluate technical feasibility & market potential.
Hybrid-Electric Turbine Engines Technology Background And Goals
## Directory: 技术背景与目标
Hybrid-electric turbine engines represent a significant advancement in propulsion technology, combining traditional gas turbine engines with electric propulsion systems. This hybrid approach aims to enhance fuel efficiency, reduce emissions, and improve overall performance. The primary goal is to leverage the strengths of both systems to create a more sustainable and efficient propulsion solution for various applications, including aviation and power generation. The development of hybrid-electric turbine engines has been driven by the need to address environmental concerns and regulatory pressures, as well as the desire to reduce operational costs. Key milestones in this field include advancements in battery technology, electric motor efficiency, and integration techniques that enable seamless operation between the gas turbine and electric components. The ongoing research focuses on optimizing these systems to achieve the best balance between performance, efficiency, and environmental impact.
Hybrid-Electric Turbine Engines Market Demand Analysis
### Market Demand Analysis for Hybrid-Electric Turbine Engines
**Growing Environmental Concerns**
Increasing environmental regulations and the push for greener technologies are driving demand for hybrid-electric turbine engines. These engines offer reduced emissions and improved fuel efficiency, aligning with global sustainability goals.
**Aviation Industry Adoption**
The aviation sector is a significant market for hybrid-electric turbine engines. Airlines are seeking ways to reduce operational costs and carbon footprints. Hybrid-electric engines promise lower fuel consumption and maintenance costs, making them attractive for commercial and regional aircraft.
**Urban Air Mobility (UAM)**
The rise of urban air mobility solutions, such as air taxis and drones, is creating new demand for compact and efficient propulsion systems. Hybrid-electric engines are well-suited for these applications due to their ability to provide both power and efficiency in a compact form factor.
**Military Applications**
Military organizations are exploring hybrid-electric turbine engines for their potential to enhance the performance and range of unmanned aerial vehicles (UAVs) and other aircraft. The ability to operate more quietly and efficiently is particularly valuable in defense scenarios.
**Market Size and Growth Potential**
The market for hybrid-electric turbine engines is expected to grow significantly over the next decade. Factors such as advancements in battery technology, increased investment in research and development, and supportive government policies are contributing to this growth.
**Challenges and Barriers**
Despite the promising outlook, several challenges remain. These include high initial development costs, technological integration issues, and the need for extensive testing and certification processes. Addressing these challenges will be crucial for widespread adoption.
**Competitive Landscape**
Major aerospace companies and startups are actively investing in hybrid-electric propulsion technologies. Collaboration between traditional aerospace firms and tech companies is accelerating innovation and bringing new solutions to market faster.
Hybrid-Electric Turbine Engines Technology Status And Challenges
### 技术预研报告目录:Hybrid-Electric Turbine Engines Technology Status And Challenges
Hybrid-electric turbine engines represent a significant advancement in aviation technology, combining traditional turbine engines with electric propulsion systems. This hybrid approach aims to enhance fuel efficiency, reduce emissions, and improve overall performance.
**Current Development Status:**
- **Technological Integration:** The integration of electric motors with turbine engines is in the experimental and early deployment stages. Key players are conducting extensive research and prototype testing.
- **Performance Metrics:** Initial tests indicate potential improvements in fuel efficiency and reductions in greenhouse gas emissions. However, achieving optimal performance remains a challenge.
**Challenges:**
- **Energy Density:** Current battery technology limits the energy density required for long-duration flights, necessitating advancements in battery chemistry and energy storage solutions.
- **Thermal Management:** Managing the heat generated by both turbine and electric components is critical to ensure system reliability and efficiency.
- **Weight and Space Constraints:** The additional weight and space requirements for electric components pose design challenges, impacting overall aircraft performance.
- **Regulatory Hurdles:** Certification and regulatory approval processes for hybrid-electric systems are complex and evolving, requiring collaboration with aviation authorities.
**Geographical Distribution:**
- **Global Efforts:** Research and development are concentrated in regions with strong aerospace industries, including North America, Europe, and Asia. Collaborative efforts are essential for standardizing technologies and overcoming regulatory barriers.
Hybrid-Electric Turbine Engines Current Technical Solutions
01 Hybrid-Electric Turbine Engine Configuration
Combines traditional turbine engines with electric propulsion systems to improve efficiency and reduce emissions. Integrates electric motors and generators with the turbine engine for additional thrust or power generation.- Hybrid-Electric Turbine Engine Configuration: Combines traditional turbine engines with electric propulsion systems to improve efficiency and reduce emissions. Various arrangements of turbines, generators, and electric motors optimize performance.
- Energy Management Systems: Optimizes the distribution and usage of electrical and mechanical power in hybrid-electric turbine engines. Balances power output from the turbine and electric components for efficient operation.
- Battery Integration and Management: Involves advanced battery technologies to store and supply electrical energy. Effective management systems maintain battery health and ensure reliable power delivery.
- Control Systems for Hybrid-Electric Engines: Coordinates the operation of the turbine and electric components. Manages the transition between different power sources for smooth and efficient engine performance.
- Thermal Management in Hybrid-Electric Engines: Manages the heat generated by both the turbine and electric components. Critical for maintaining engine efficiency and preventing overheating.
02 Energy Management Systems
Optimizes the distribution and usage of electrical and mechanical power. Manages power flow between the turbine engine, electric motors, and energy storage systems.Expand Specific Solutions03 Electric Propulsion Integration
Uses electric motors to provide additional thrust or assist the turbine engine during specific flight phases. Reduces fuel consumption and emissions.Expand Specific Solutions04 Advanced Control Systems
Manages complex interactions between the turbine engine and electric propulsion components. Ensures optimal performance, safety, and reliability.Expand Specific Solutions05 Energy Storage Solutions
Critical components like batteries and supercapacitors provide necessary electrical energy to electric motors. Balances power demands during different operation phases.Expand Specific Solutions
Hybrid-Electric Turbine Engines Main Player Analysis
The competitive landscape for hybrid-electric turbine engines includes established aerospace and automotive companies, and academic institutions. The industry is growing with increasing investments in sustainable aviation technologies. General Electric Company, Safran Aircraft Engines SAS, and Pratt & Whitney Canada Corp. lead in advanced R&D. Companies like Ford Global Technologies LLC and Mazda Motor Corp. are also exploring hybrid-electric solutions. Academic institutions such as Nanjing University of Aeronautics & Astronautics and Tsinghua University contribute significantly to foundational research.
General Electric Company
Technical Solution: General Electric Company has developed hybrid-electric turbine engines that integrate electric propulsion with traditional turbine engines. Their technology focuses on improving fuel efficiency and reducing emissions by using electric motors to assist the turbine during various phases of flight.
Strengths: Advanced technology, significant reduction in emissions. Weaknesses: High development costs, complex integration.
Safran Aircraft Engines SAS
Technical Solution: Safran Aircraft Engines SAS is working on hybrid-electric propulsion systems that combine gas turbines with electric motors. Their approach aims to enhance performance and efficiency, particularly for regional aircraft, by optimizing the power distribution between the turbine and electric components.
Strengths: Focus on regional aircraft, potential for significant fuel savings. Weaknesses: Limited to specific aircraft types, ongoing development challenges.
Hybrid-Electric Turbine Engines Key Technology Interpretation
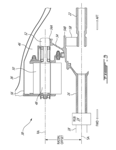
Hybrid gas-electric turbine engine
PatentActiveUS20170320584A1
Innovation
- Integration of a gas turbine driven by combustion gas and an electric motor: the turbine engine combines the use of a gas turbine with an electric motor, allowing for improved fuel economy and reduced emissions. this integration provides operational advantages for the aircraft.
- Shaft offset between turbine and electric motor: the electric motor is configured to transfer power to the load, and the rotor axis of rotation is radially offset from the shaft axis of rotation. this shaft offset allows for more efficient power transmission and potentially improved overall engine performance.
- Application in turboprop or turboshaft applications: the turbine engine is designed for use in turboprop or turboshaft applications, indicating that it may have specific advantages or optimized performance for these types of aircraft.
Hybrid-Electric Turbine Engines Environmental Impact Assessment
The environmental impact assessment of hybrid-electric turbine engines focuses on evaluating their potential to reduce emissions and improve fuel efficiency compared to traditional turbine engines. These engines combine conventional turbine technology with electric propulsion, aiming to lower greenhouse gas emissions and noise pollution. The assessment examines lifecycle emissions, including production, operation, and disposal phases. It also considers the potential for renewable energy integration in the electric components, further reducing the carbon footprint. Overall, hybrid-electric turbine engines present a promising solution for more sustainable aviation, aligning with global environmental goals and regulatory standards.
Hybrid-Electric Turbine Engines Policy And Regulatory Impact
The policy and regulatory impact on Hybrid-Electric Turbine Engines is significant. Governments worldwide are increasingly focusing on reducing carbon emissions, which directly influences the development and adoption of hybrid-electric technologies. Regulatory frameworks are being established to incentivize cleaner technologies through subsidies, tax breaks, and stringent emission standards. These policies drive innovation and investment in hybrid-electric turbine engines, pushing manufacturers to meet new efficiency and environmental benchmarks. Compliance with these regulations ensures market access and competitiveness, making it crucial for companies to stay abreast of evolving policies and integrate them into their strategic planning and product development.
Unlock deeper insights with Patsnap Eureka Quick Research — get a full tech report to explore trends and direct your research. Try now!
Generate Your Research Report Instantly with AI Agent
Supercharge your innovation with Patsnap Eureka AI Agent Platform!



