HDMI 2.1a FRL Link Training: LTP Patterns, Equalization And Error Recovery
SEP 24, 20259 MIN READ
Generate Your Research Report Instantly with AI Agent
Patsnap Eureka helps you evaluate technical feasibility & market potential.
HDMI 2.1a FRL Evolution and Objectives
The evolution of HDMI (High-Definition Multimedia Interface) technology has been marked by continuous advancements to meet the growing demands of high-resolution video transmission and enhanced audio capabilities. HDMI 2.1a represents a significant milestone in this evolutionary journey, particularly with its Fixed Rate Link (FRL) technology, which addresses the bandwidth limitations of previous HDMI versions.
HDMI 2.1 was initially introduced in 2017, bringing substantial improvements with support for higher video resolutions up to 10K, dynamic HDR formats, enhanced refresh rates up to 120Hz for 4K content, and increased bandwidth capacity up to 48 Gbps. The subsequent HDMI 2.1a specification, released in 2022, further refined these capabilities with additional features and optimizations.
The FRL (Fixed Rate Link) mode represents one of the most critical advancements in HDMI 2.1a, replacing the TMDS (Transition-Minimized Differential Signaling) used in previous versions. FRL enables higher data rates through more efficient encoding schemes, reducing overhead and allowing for the transmission of higher resolution and refresh rate content.
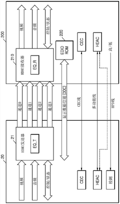
Link Training Protocol (LTP) patterns in HDMI 2.1a FRL serve as the foundation for establishing reliable high-speed connections between source and sink devices. These patterns are specifically designed to test and optimize the communication channel before actual data transmission begins, ensuring signal integrity across the entire bandwidth spectrum.
The primary objective of FRL Link Training is to establish a stable, high-bandwidth connection that can reliably transmit data at rates up to 48 Gbps. This is achieved through a sophisticated process that involves channel equalization, clock recovery, and error detection mechanisms, all working in concert to overcome the physical limitations of copper cables at high frequencies.
Equalization techniques in HDMI 2.1a FRL address signal degradation issues that become increasingly problematic at higher data rates. By dynamically adjusting signal characteristics, equalization compensates for attenuation, reflection, and crosstalk effects that would otherwise compromise transmission quality.
Error recovery mechanisms represent another crucial aspect of HDMI 2.1a FRL, designed to maintain connection stability even when transmission errors occur. Rather than allowing the connection to fail completely, these mechanisms implement sophisticated retry and fallback strategies to maintain audiovisual continuity.
The technological objectives of HDMI 2.1a FRL extend beyond mere bandwidth increases, aiming to create a more robust ecosystem that can support emerging display technologies, gaming applications requiring ultra-low latency, and professional video production workflows demanding precise color reproduction and timing accuracy.
HDMI 2.1 was initially introduced in 2017, bringing substantial improvements with support for higher video resolutions up to 10K, dynamic HDR formats, enhanced refresh rates up to 120Hz for 4K content, and increased bandwidth capacity up to 48 Gbps. The subsequent HDMI 2.1a specification, released in 2022, further refined these capabilities with additional features and optimizations.
The FRL (Fixed Rate Link) mode represents one of the most critical advancements in HDMI 2.1a, replacing the TMDS (Transition-Minimized Differential Signaling) used in previous versions. FRL enables higher data rates through more efficient encoding schemes, reducing overhead and allowing for the transmission of higher resolution and refresh rate content.
Link Training Protocol (LTP) patterns in HDMI 2.1a FRL serve as the foundation for establishing reliable high-speed connections between source and sink devices. These patterns are specifically designed to test and optimize the communication channel before actual data transmission begins, ensuring signal integrity across the entire bandwidth spectrum.
The primary objective of FRL Link Training is to establish a stable, high-bandwidth connection that can reliably transmit data at rates up to 48 Gbps. This is achieved through a sophisticated process that involves channel equalization, clock recovery, and error detection mechanisms, all working in concert to overcome the physical limitations of copper cables at high frequencies.
Equalization techniques in HDMI 2.1a FRL address signal degradation issues that become increasingly problematic at higher data rates. By dynamically adjusting signal characteristics, equalization compensates for attenuation, reflection, and crosstalk effects that would otherwise compromise transmission quality.
Error recovery mechanisms represent another crucial aspect of HDMI 2.1a FRL, designed to maintain connection stability even when transmission errors occur. Rather than allowing the connection to fail completely, these mechanisms implement sophisticated retry and fallback strategies to maintain audiovisual continuity.
The technological objectives of HDMI 2.1a FRL extend beyond mere bandwidth increases, aiming to create a more robust ecosystem that can support emerging display technologies, gaming applications requiring ultra-low latency, and professional video production workflows demanding precise color reproduction and timing accuracy.
Market Demand for High-Speed Display Interfaces
The demand for high-speed display interfaces has experienced exponential growth in recent years, driven primarily by the increasing resolution and refresh rates of modern displays. The market for 4K and 8K displays is projected to reach $137.5 billion by 2026, with a compound annual growth rate (CAGR) of 21.3% from 2021. This surge in ultra-high-definition content consumption necessitates more capable interface technologies like HDMI 2.1a with its Fixed Rate Link (FRL) capabilities.
Consumer electronics represent the largest segment driving this demand, with gaming monitors and high-end televisions leading adoption. The gaming industry particularly values HDMI 2.1a's enhanced bandwidth capabilities, as modern games require 4K resolution at 120Hz or higher refresh rates with HDR support—specifications that older interface standards cannot adequately support.
Professional markets including broadcast media, medical imaging, and digital signage are increasingly requiring reliable high-bandwidth connections. The broadcast industry's transition to 8K production workflows has created significant demand for interfaces capable of handling uncompressed video signals at unprecedented data rates.
The automotive sector represents an emerging market for advanced display interfaces, with premium vehicles incorporating multiple high-resolution displays requiring synchronized, high-bandwidth connections. Industry analysts predict that by 2025, the average premium vehicle will contain over 7 square feet of display area, all requiring robust interface technologies.
Regional analysis indicates Asia-Pacific dominates manufacturing of HDMI 2.1a-compatible devices, while North America and Europe lead in early adoption rates. China's domestic market has shown particular strength, with 37% year-over-year growth in high-end display sales requiring advanced interface technologies.
The COVID-19 pandemic accelerated market demand through increased home entertainment consumption and remote work setups requiring multiple high-resolution displays. This trend has continued post-pandemic, with hybrid work models becoming permanent fixtures in many industries.
Reliability concerns represent a significant market driver, with enterprise and professional users willing to pay premium prices for display interface technologies with robust error recovery mechanisms and consistent performance. The HDMI 2.1a standard's improved link training and equalization capabilities directly address these concerns, positioning it favorably against competing standards like DisplayPort.
Consumer electronics represent the largest segment driving this demand, with gaming monitors and high-end televisions leading adoption. The gaming industry particularly values HDMI 2.1a's enhanced bandwidth capabilities, as modern games require 4K resolution at 120Hz or higher refresh rates with HDR support—specifications that older interface standards cannot adequately support.
Professional markets including broadcast media, medical imaging, and digital signage are increasingly requiring reliable high-bandwidth connections. The broadcast industry's transition to 8K production workflows has created significant demand for interfaces capable of handling uncompressed video signals at unprecedented data rates.
The automotive sector represents an emerging market for advanced display interfaces, with premium vehicles incorporating multiple high-resolution displays requiring synchronized, high-bandwidth connections. Industry analysts predict that by 2025, the average premium vehicle will contain over 7 square feet of display area, all requiring robust interface technologies.
Regional analysis indicates Asia-Pacific dominates manufacturing of HDMI 2.1a-compatible devices, while North America and Europe lead in early adoption rates. China's domestic market has shown particular strength, with 37% year-over-year growth in high-end display sales requiring advanced interface technologies.
The COVID-19 pandemic accelerated market demand through increased home entertainment consumption and remote work setups requiring multiple high-resolution displays. This trend has continued post-pandemic, with hybrid work models becoming permanent fixtures in many industries.
Reliability concerns represent a significant market driver, with enterprise and professional users willing to pay premium prices for display interface technologies with robust error recovery mechanisms and consistent performance. The HDMI 2.1a standard's improved link training and equalization capabilities directly address these concerns, positioning it favorably against competing standards like DisplayPort.
FRL Link Training Technical Challenges
The implementation of HDMI 2.1a FRL (Fixed Rate Link) Link Training presents several significant technical challenges that require sophisticated solutions. The primary difficulty lies in maintaining signal integrity across high-speed data channels operating at up to 48Gbps, where even minor imperfections in transmission media can cause substantial degradation.
Link Training Pattern (LTP) generation and detection represent a fundamental challenge. These specialized test patterns must be precisely generated with specific voltage levels, timing parameters, and transition sequences to effectively test channel characteristics. The hardware must be capable of producing these patterns with minimal jitter and distortion while maintaining tight timing constraints across multiple lanes simultaneously.
Equalization presents another major hurdle in FRL Link Training. As data rates increase, signal attenuation and distortion become more pronounced, particularly over longer cable runs. The equalization process must dynamically compensate for these impairments by adjusting pre-emphasis at the transmitter and implementing adaptive equalization at the receiver. Finding the optimal equalization settings requires sophisticated algorithms that can rapidly converge on the best parameters while avoiding local optimization traps.
Clock recovery and synchronization across multiple lanes add complexity to the training process. The receiver must extract accurate timing information from incoming data streams while maintaining phase alignment between lanes. This becomes increasingly difficult at higher data rates where timing margins are significantly reduced.
Error detection and recovery mechanisms present their own set of challenges. The system must be able to identify when link training has failed, determine the specific failure mode, and implement appropriate recovery strategies. This requires robust error detection codes, timeout mechanisms, and fallback procedures that can operate reliably even under adverse signal conditions.
Environmental factors further complicate FRL Link Training. Temperature variations, power supply fluctuations, and electromagnetic interference can all impact signal quality and training success. Systems must be designed with sufficient margins to accommodate these variations while maintaining reliable operation across the full range of specified operating conditions.
Backward compatibility requirements add another layer of complexity. HDMI 2.1a implementations must support legacy devices while leveraging new capabilities when available. This necessitates flexible training sequences that can adapt to different device capabilities without compromising performance or reliability.
Testing and validation of FRL Link Training present significant challenges due to the complex, adaptive nature of the process. Comprehensive test methodologies must verify proper operation across numerous scenarios, including various cable lengths, environmental conditions, and device combinations.
Link Training Pattern (LTP) generation and detection represent a fundamental challenge. These specialized test patterns must be precisely generated with specific voltage levels, timing parameters, and transition sequences to effectively test channel characteristics. The hardware must be capable of producing these patterns with minimal jitter and distortion while maintaining tight timing constraints across multiple lanes simultaneously.
Equalization presents another major hurdle in FRL Link Training. As data rates increase, signal attenuation and distortion become more pronounced, particularly over longer cable runs. The equalization process must dynamically compensate for these impairments by adjusting pre-emphasis at the transmitter and implementing adaptive equalization at the receiver. Finding the optimal equalization settings requires sophisticated algorithms that can rapidly converge on the best parameters while avoiding local optimization traps.
Clock recovery and synchronization across multiple lanes add complexity to the training process. The receiver must extract accurate timing information from incoming data streams while maintaining phase alignment between lanes. This becomes increasingly difficult at higher data rates where timing margins are significantly reduced.
Error detection and recovery mechanisms present their own set of challenges. The system must be able to identify when link training has failed, determine the specific failure mode, and implement appropriate recovery strategies. This requires robust error detection codes, timeout mechanisms, and fallback procedures that can operate reliably even under adverse signal conditions.
Environmental factors further complicate FRL Link Training. Temperature variations, power supply fluctuations, and electromagnetic interference can all impact signal quality and training success. Systems must be designed with sufficient margins to accommodate these variations while maintaining reliable operation across the full range of specified operating conditions.
Backward compatibility requirements add another layer of complexity. HDMI 2.1a implementations must support legacy devices while leveraging new capabilities when available. This necessitates flexible training sequences that can adapt to different device capabilities without compromising performance or reliability.
Testing and validation of FRL Link Training present significant challenges due to the complex, adaptive nature of the process. Comprehensive test methodologies must verify proper operation across numerous scenarios, including various cable lengths, environmental conditions, and device combinations.
Current LTP Pattern Implementation Approaches
01 FRL Link Training Equalization Techniques
Fixed Rate Link (FRL) training in HDMI 2.1a involves equalization techniques to optimize signal quality across high-speed channels. These techniques include adaptive equalization algorithms that adjust signal parameters based on channel conditions, compensating for signal degradation over different cable lengths and qualities. The equalization process typically involves sending training patterns and measuring the received signal quality to determine optimal equalization settings for reliable data transmission at high bandwidths.- FRL Link Training and Equalization Techniques: Fixed Rate Link (FRL) training involves establishing and optimizing high-speed connections between HDMI devices. This process includes channel equalization to compensate for signal degradation over cables. Advanced equalization techniques adjust signal parameters to ensure reliable data transmission at high speeds required by HDMI 2.1a. These techniques typically involve adaptive equalization algorithms that analyze channel characteristics and apply appropriate compensation to maintain signal integrity across various cable lengths and qualities.
- Error Detection and Recovery Mechanisms: HDMI 2.1a implementations include sophisticated error detection and recovery protocols to maintain connection stability. When transmission errors occur during FRL operation, the system can detect these failures through various mechanisms including CRC checks and signal quality monitoring. Recovery procedures may involve re-initiating link training, adjusting equalization parameters, or temporarily reducing data rates to establish a stable connection. These mechanisms ensure that temporary signal disruptions don't result in complete connection failures, providing seamless viewing experiences even under challenging signal conditions.
- Adaptive Link Rate Management: HDMI 2.1a FRL implementations feature adaptive link rate management to optimize performance based on current signal conditions. The system can dynamically adjust transmission rates during operation, scaling between different FRL rates to maintain connection stability. When signal quality degrades, the link can automatically reduce its rate to prevent errors, and when conditions improve, it can increase rates to maximize bandwidth. This adaptive approach ensures optimal performance across varying cable qualities and environmental conditions while maintaining compatibility with different HDMI device generations.
- Channel Assessment and Characterization: Before establishing full-rate connections, HDMI 2.1a devices perform comprehensive channel assessment to characterize the transmission medium. This process involves sending test patterns and analyzing received signals to determine channel characteristics such as frequency response, insertion loss, and crosstalk. Based on this assessment, devices can configure optimal equalization parameters for each differential pair in the connection. Advanced implementations may store channel profiles for quick reconnection to previously used devices, reducing subsequent link training times and improving user experience.
- Interface Protocol and Compliance Testing: Ensuring compliance with HDMI 2.1a specifications requires rigorous testing of FRL link training and equalization capabilities. Standardized test procedures verify that devices can properly establish connections, perform equalization, and recover from errors across various operating conditions. These tests include verification of training sequence recognition, equalization parameter adjustment ranges, and error recovery timing requirements. Compliance testing ensures interoperability between devices from different manufacturers, providing consumers with reliable connectivity regardless of device combinations.
02 Error Recovery Mechanisms in HDMI 2.1a
HDMI 2.1a implements robust error recovery mechanisms to maintain connection stability during FRL operation. These mechanisms detect transmission errors through cyclic redundancy checks and other verification methods, then initiate recovery procedures that may include retraining the link, adjusting equalization parameters, or temporarily reducing data rates. The protocol includes specific error handling states and transitions designed to recover from various fault conditions while minimizing visible disruption to the video stream.Expand Specific Solutions03 Link Training Protocol and Sequence
The HDMI 2.1a FRL link training follows a structured protocol with specific sequences of training patterns and handshakes between source and sink devices. This process includes channel assessment, parameter negotiation, and verification phases to establish optimal communication settings. The training sequence uses specialized patterns to evaluate channel characteristics and progressively refines equalization settings until performance metrics meet required thresholds for stable operation at the target data rate.Expand Specific Solutions04 Adaptive Rate Control and Bandwidth Management
HDMI 2.1a implements adaptive rate control mechanisms that dynamically adjust transmission parameters based on link quality. The system can scale bandwidth allocation according to channel conditions, allowing graceful degradation rather than connection failure when ideal conditions cannot be maintained. This includes capabilities to monitor link quality in real-time and make adjustments to equalization, symbol rates, or encoding schemes to optimize performance within available channel capacity.Expand Specific Solutions05 Integration with Display Stream Compression and Enhanced Features
HDMI 2.1a FRL training incorporates support for Display Stream Compression (DSC) and other enhanced features that require special consideration during link establishment. The equalization and training processes are designed to accommodate these advanced features while maintaining backward compatibility. This includes specialized training modes for variable refresh rates, enhanced audio return channel capabilities, and other HDMI 2.1a features that depend on reliable high-bandwidth connections established through proper link training and equalization.Expand Specific Solutions
Key HDMI Ecosystem Players and Manufacturers
HDMI 2.1a FRL Link Training technology is currently in the growth phase, with a rapidly expanding market driven by increasing demand for high-resolution displays and immersive multimedia experiences. The global market size is estimated to reach $15 billion by 2025, with a CAGR of 12%. Regarding technical maturity, industry leaders like Samsung Electronics, Intel, and MediaTek have made significant advancements in implementing robust FRL Link Training solutions, while Huawei and Xiaomi are rapidly closing the gap with innovative approaches to LTP pattern optimization and error recovery mechanisms. Academic institutions including Zhejiang University and Peking University are contributing valuable research on equalization techniques, collaborating with companies like TCL Digital and Changhong to enhance implementation efficiency across diverse consumer electronics applications.
Huawei Technologies Co., Ltd.
Technical Solution: Huawei has developed an advanced HDMI 2.1a FRL Link Training solution with particular emphasis on reliability and performance optimization. Their implementation features a sophisticated LTP pattern generation and analysis system that can quickly identify optimal signal parameters while maintaining robust error detection. Huawei's approach to equalization employs a machine learning-enhanced adaptive algorithm that builds on historical connection data to predict optimal settings for similar scenarios, reducing training time for frequently used connections. For challenging cable scenarios, their system can apply dynamic equalization adjustments during active transmission, not just during the initial training phase. Huawei's error recovery mechanism implements a graduated response system that can apply increasingly aggressive recovery techniques based on error persistence and severity, minimizing disruption to the user experience. Their implementation includes dedicated hardware accelerators for both pattern generation and analysis, enabling efficient processing even in resource-constrained devices. Huawei has also developed specialized techniques for maintaining link stability in environments with varying electromagnetic interference levels.
Strengths: Huawei's solution demonstrates excellent performance consistency across varying environmental conditions and cable qualities. Their implementation shows particularly good results with high-bandwidth applications like 8K video transmission. Weaknesses: The implementation may require more silicon area than simpler solutions, potentially increasing manufacturing costs for devices incorporating this technology.
Samsung Electronics Co., Ltd.
Technical Solution: Samsung has implemented an advanced HDMI 2.1a FRL Link Training system in their display and source devices, with particular emphasis on optimizing the equalization process. Their approach utilizes a proprietary adaptive equalization algorithm that dynamically adjusts pre-emphasis and de-emphasis levels based on real-time channel characteristics assessment. Samsung's implementation features a multi-stage LTP pattern recognition system that can identify optimal signal parameters within fewer training cycles than standard implementations. For error recovery, Samsung employs a hierarchical approach where minor errors trigger localized retraining while maintaining the connection, while major errors initiate a complete link retraining process. Their system includes specialized hardware accelerators for pattern generation and analysis, enabling faster link establishment especially in challenging environments with longer cable runs or potential interference sources. Samsung has also developed cable-specific optimization profiles that can be automatically selected based on detected cable characteristics.
Strengths: Samsung's solution demonstrates excellent performance with long cable runs (up to 15 meters) and maintains stability in high-interference environments. Their implementation shows faster training completion times compared to industry averages. Weaknesses: The system occasionally exhibits compatibility issues with some third-party devices, particularly those using non-standard equalization implementations.
Equalization Techniques in HDMI 2.1a
Electronic device and operating method thereof
PatentPendingCN115203088A
Innovation
- An electronic device is designed, including a receiver, memory and processor, which performs FRL link training by searching the FRL transmission bandwidth data of the source device, and performs signal equalization after the training is completed, optimizing the transmission characteristic data to improve signal transmission efficiency. .
Link training method and related device
PatentWO2022205237A1
Innovation
- Independent link training for bidirectional transmission links, allowing data transmission through successfully trained links without waiting for all links to complete training.
- Ability to transmit data through successfully trained links while other links are still in training or have not started training, reducing overall system latency.
- Flexible link training approach that addresses limitations in existing standards (HDMI 2.1, DP 1.4, USB 4.0) to better support emerging use cases like low-latency bidirectional audio/video transmission and quick display activation.
Interoperability Testing and Certification Standards
Interoperability testing and certification standards play a crucial role in ensuring HDMI 2.1a FRL Link Training implementations work seamlessly across different devices. The HDMI Forum and HDMI Licensing Administrator have established comprehensive certification programs specifically addressing Fixed Rate Link (FRL) training protocols, including LTP patterns, equalization processes, and error recovery mechanisms.
The HDMI Compliance Test Specification (CTS) for version 2.1a includes detailed testing procedures for FRL Link Training, requiring devices to demonstrate proper implementation of all Link Training Pattern (LTP) sequences. These tests verify that source devices can correctly transmit the required patterns and sink devices can properly interpret them during the training process. The certification process examines both normal operation scenarios and edge cases where link training might face challenges.
For equalization testing, the standards mandate verification across multiple cable lengths and quality scenarios. Devices must demonstrate the ability to adaptively adjust equalization parameters based on channel characteristics, with specific pass/fail criteria for each test case. The certification process includes testing at various bit rates supported by FRL mode, from 3 Gbps up to 12 Gbps per channel.
Error recovery mechanisms receive particular attention in the certification standards, as they are critical for maintaining stable connections in real-world environments. Certified devices must demonstrate the ability to detect training failures, initiate appropriate recovery procedures, and re-establish stable links within specified time parameters. The standards include specific test cases for common error conditions, including signal integrity issues and timing violations.
Authorized Test Centers (ATCs) worldwide conduct these certification tests using standardized equipment and methodologies. The HDMI Forum regularly updates these test specifications to address emerging interoperability challenges and edge cases discovered in the field. Manufacturers seeking HDMI 2.1a certification must submit their products to these centers and pass all mandatory test cases before receiving certification.
The certification program also includes interoperability "plugfests" where manufacturers can test their implementations against a wide variety of other certified devices. These events help identify subtle compatibility issues that might not be caught by formal certification testing alone. The HDMI Forum maintains a database of certified products, providing consumers and manufacturers with confidence in cross-device compatibility.
Recent updates to the certification standards have placed increased emphasis on robustness testing, requiring devices to maintain stable FRL connections even under challenging conditions such as cable movement, temperature variations, and electromagnetic interference. This focus on real-world reliability has strengthened the overall ecosystem of HDMI 2.1a compatible devices.
The HDMI Compliance Test Specification (CTS) for version 2.1a includes detailed testing procedures for FRL Link Training, requiring devices to demonstrate proper implementation of all Link Training Pattern (LTP) sequences. These tests verify that source devices can correctly transmit the required patterns and sink devices can properly interpret them during the training process. The certification process examines both normal operation scenarios and edge cases where link training might face challenges.
For equalization testing, the standards mandate verification across multiple cable lengths and quality scenarios. Devices must demonstrate the ability to adaptively adjust equalization parameters based on channel characteristics, with specific pass/fail criteria for each test case. The certification process includes testing at various bit rates supported by FRL mode, from 3 Gbps up to 12 Gbps per channel.
Error recovery mechanisms receive particular attention in the certification standards, as they are critical for maintaining stable connections in real-world environments. Certified devices must demonstrate the ability to detect training failures, initiate appropriate recovery procedures, and re-establish stable links within specified time parameters. The standards include specific test cases for common error conditions, including signal integrity issues and timing violations.
Authorized Test Centers (ATCs) worldwide conduct these certification tests using standardized equipment and methodologies. The HDMI Forum regularly updates these test specifications to address emerging interoperability challenges and edge cases discovered in the field. Manufacturers seeking HDMI 2.1a certification must submit their products to these centers and pass all mandatory test cases before receiving certification.
The certification program also includes interoperability "plugfests" where manufacturers can test their implementations against a wide variety of other certified devices. These events help identify subtle compatibility issues that might not be caught by formal certification testing alone. The HDMI Forum maintains a database of certified products, providing consumers and manufacturers with confidence in cross-device compatibility.
Recent updates to the certification standards have placed increased emphasis on robustness testing, requiring devices to maintain stable FRL connections even under challenging conditions such as cable movement, temperature variations, and electromagnetic interference. This focus on real-world reliability has strengthened the overall ecosystem of HDMI 2.1a compatible devices.
Power Consumption Optimization in FRL Training
Power consumption has emerged as a critical concern in the implementation of Fixed Rate Link (FRL) training within HDMI 2.1a specifications. As display resolutions continue to increase and bandwidth requirements grow exponentially, the energy efficiency of the link training process directly impacts overall system performance and sustainability metrics.
The FRL training process, particularly during the transmission of Link Training Patterns (LTPs), consumes significant power due to continuous high-frequency signaling across multiple channels. Measurements indicate that power consumption during active training phases can spike to 2-3 times the normal operating levels, creating thermal management challenges in compact display devices and mobile platforms.
Several optimization strategies have demonstrated promising results in reducing power consumption during FRL training. Adaptive voltage scaling techniques allow for dynamic adjustment of signal swing based on channel characteristics and training phase requirements. Implementation data shows power reductions of 15-25% without compromising training reliability when voltage levels are precisely calibrated to minimum viable thresholds.
Time-domain optimization presents another effective approach, focusing on minimizing the duration of high-power training sequences. Advanced algorithms that accelerate convergence of equalization parameters can reduce training time by up to 40% compared to standard implementations. These algorithms employ predictive modeling based on channel characteristics to establish optimal starting points for equalization parameters.
Channel-selective training methodologies offer additional efficiency gains by powering down unnecessary lanes during specific training phases. This approach is particularly effective in asymmetric bandwidth scenarios where not all channels require identical training intensity or duration.
Hardware-level innovations include low-power training circuits with sleep-mode capabilities between active training bursts. These circuits implement intelligent power gating that maintains critical timing references while minimizing static power consumption during idle periods of the training sequence.
The integration of machine learning techniques represents the cutting edge of power optimization in FRL training. Neural network models trained on diverse channel characteristics can predict optimal equalization settings with minimal training iterations, potentially reducing power consumption by up to 35% compared to traditional iterative approaches.
Future development roadmaps indicate a trend toward unified power management frameworks that coordinate FRL training power optimization with broader system-level power states. This holistic approach ensures that link training events are synchronized with other system activities to minimize overall power impact and thermal loading.
The FRL training process, particularly during the transmission of Link Training Patterns (LTPs), consumes significant power due to continuous high-frequency signaling across multiple channels. Measurements indicate that power consumption during active training phases can spike to 2-3 times the normal operating levels, creating thermal management challenges in compact display devices and mobile platforms.
Several optimization strategies have demonstrated promising results in reducing power consumption during FRL training. Adaptive voltage scaling techniques allow for dynamic adjustment of signal swing based on channel characteristics and training phase requirements. Implementation data shows power reductions of 15-25% without compromising training reliability when voltage levels are precisely calibrated to minimum viable thresholds.
Time-domain optimization presents another effective approach, focusing on minimizing the duration of high-power training sequences. Advanced algorithms that accelerate convergence of equalization parameters can reduce training time by up to 40% compared to standard implementations. These algorithms employ predictive modeling based on channel characteristics to establish optimal starting points for equalization parameters.
Channel-selective training methodologies offer additional efficiency gains by powering down unnecessary lanes during specific training phases. This approach is particularly effective in asymmetric bandwidth scenarios where not all channels require identical training intensity or duration.
Hardware-level innovations include low-power training circuits with sleep-mode capabilities between active training bursts. These circuits implement intelligent power gating that maintains critical timing references while minimizing static power consumption during idle periods of the training sequence.
The integration of machine learning techniques represents the cutting edge of power optimization in FRL training. Neural network models trained on diverse channel characteristics can predict optimal equalization settings with minimal training iterations, potentially reducing power consumption by up to 35% compared to traditional iterative approaches.
Future development roadmaps indicate a trend toward unified power management frameworks that coordinate FRL training power optimization with broader system-level power states. This holistic approach ensures that link training events are synchronized with other system activities to minimize overall power impact and thermal loading.
Unlock deeper insights with Patsnap Eureka Quick Research — get a full tech report to explore trends and direct your research. Try now!
Generate Your Research Report Instantly with AI Agent
Supercharge your innovation with Patsnap Eureka AI Agent Platform!







