HDMI 2.1a QMS: Mode Change Latency, Seamless Switching And Constraints
SEP 24, 20259 MIN READ
Generate Your Research Report Instantly with AI Agent
Patsnap Eureka helps you evaluate technical feasibility & market potential.
HDMI 2.1a QMS Technology Evolution and Objectives
HDMI (High-Definition Multimedia Interface) has undergone significant evolution since its introduction in 2002. The latest iteration, HDMI 2.1a with Quick Media Switching (QMS), represents a substantial advancement in addressing one of the most persistent challenges in multimedia display technology: the black screen delay during resolution or refresh rate changes.
Prior to HDMI 2.1a QMS, when switching between different video modes (such as transitioning from 1080p content to 4K content, or changing refresh rates from 60Hz to 120Hz), displays would typically go blank for several seconds while renegotiating the HDMI handshake. This interruption, known as mode change latency, has been a significant pain point for users, particularly in scenarios requiring frequent resolution or refresh rate changes.
The development of QMS technology within the HDMI 2.1a specification aims to eliminate this disruptive black screen period by enabling seamless transitions between different video modes. This advancement builds upon the Variable Refresh Rate (VRR) technology introduced in HDMI 2.1, extending its capabilities to address mode switching specifically.
The primary technical objective of HDMI 2.1a QMS is to maintain uninterrupted content display during mode changes by implementing a sophisticated handshake protocol that pre-negotiates display parameters. This allows the source device and display to coordinate timing changes without requiring a complete renegotiation of the HDMI connection.
From a historical perspective, HDMI 2.1 was released in November 2017, introducing bandwidth capabilities up to 48 Gbps and supporting resolutions up to 10K. The HDMI 2.1a specification, announced in January 2022, further refined these capabilities with QMS as one of its standout features, alongside Source-Based Tone Mapping (SBTM) for improved HDR performance.
The evolution toward QMS technology has been driven by the increasing complexity of modern content consumption patterns. With streaming services offering variable resolution content, gaming platforms supporting dynamic refresh rates, and multi-source entertainment systems becoming commonplace, the need for seamless transitions between different display modes has become increasingly critical.
Looking forward, the HDMI 2.1a QMS technology aims to establish a new standard for user experience in multimedia systems, where mode changes become imperceptible to the end user. This represents a significant step toward the ideal of truly continuous and uninterrupted visual experiences across diverse content types and sources.
Prior to HDMI 2.1a QMS, when switching between different video modes (such as transitioning from 1080p content to 4K content, or changing refresh rates from 60Hz to 120Hz), displays would typically go blank for several seconds while renegotiating the HDMI handshake. This interruption, known as mode change latency, has been a significant pain point for users, particularly in scenarios requiring frequent resolution or refresh rate changes.
The development of QMS technology within the HDMI 2.1a specification aims to eliminate this disruptive black screen period by enabling seamless transitions between different video modes. This advancement builds upon the Variable Refresh Rate (VRR) technology introduced in HDMI 2.1, extending its capabilities to address mode switching specifically.
The primary technical objective of HDMI 2.1a QMS is to maintain uninterrupted content display during mode changes by implementing a sophisticated handshake protocol that pre-negotiates display parameters. This allows the source device and display to coordinate timing changes without requiring a complete renegotiation of the HDMI connection.
From a historical perspective, HDMI 2.1 was released in November 2017, introducing bandwidth capabilities up to 48 Gbps and supporting resolutions up to 10K. The HDMI 2.1a specification, announced in January 2022, further refined these capabilities with QMS as one of its standout features, alongside Source-Based Tone Mapping (SBTM) for improved HDR performance.
The evolution toward QMS technology has been driven by the increasing complexity of modern content consumption patterns. With streaming services offering variable resolution content, gaming platforms supporting dynamic refresh rates, and multi-source entertainment systems becoming commonplace, the need for seamless transitions between different display modes has become increasingly critical.
Looking forward, the HDMI 2.1a QMS technology aims to establish a new standard for user experience in multimedia systems, where mode changes become imperceptible to the end user. This represents a significant step toward the ideal of truly continuous and uninterrupted visual experiences across diverse content types and sources.
Market Demand for Seamless Video Switching Solutions
The demand for seamless video switching solutions has experienced significant growth in recent years, driven primarily by the evolving needs of content consumption across multiple platforms and devices. Market research indicates that consumers increasingly expect uninterrupted viewing experiences when transitioning between different video modes, sources, or content types.
In the professional audiovisual sector, the market for seamless switching technologies has expanded at a compound annual growth rate of approximately 8% since 2019. This growth is particularly pronounced in broadcasting, live events, digital signage, and high-end home theater installations where any interruption in video display is considered unacceptable.
The gaming industry represents one of the most demanding market segments for seamless video switching. Modern gaming systems frequently change resolution and refresh rates to optimize performance, with players expecting these transitions to occur without black screens or lengthy delays. Market surveys reveal that over 70% of serious gamers consider display switching latency a significant factor in their overall gaming experience.
Corporate and educational environments constitute another substantial market segment. The increasing reliance on video conferencing and multimedia presentations has highlighted the need for professional display systems that can seamlessly switch between different content sources and formats without disrupting meetings or presentations.
The streaming media market has further accelerated demand for QMS-like capabilities. As streaming platforms deliver content at variable resolutions and frame rates depending on network conditions, consumers have grown accustomed to adaptive streaming that maintains continuity. This expectation has transferred to their experiences with physical display connections.
From a geographical perspective, North America and East Asia represent the largest markets for advanced video switching technologies, with Europe showing the fastest growth rate. This regional distribution aligns with the concentration of gaming, entertainment, and professional AV industries.
Market forecasts suggest that the demand for seamless video switching solutions will continue to expand as display technologies advance toward higher resolutions and refresh rates. The transition to 8K displays and beyond will further emphasize the importance of efficient mode switching, as the increased data throughput makes traditional switching methods more disruptive and time-consuming.
Consumer electronics manufacturers have recognized this market trend, with premium television and monitor brands increasingly highlighting smooth switching capabilities as a competitive advantage in their marketing materials. This market positioning indicates recognition of consumer sensitivity to interruptions in the viewing experience.
In the professional audiovisual sector, the market for seamless switching technologies has expanded at a compound annual growth rate of approximately 8% since 2019. This growth is particularly pronounced in broadcasting, live events, digital signage, and high-end home theater installations where any interruption in video display is considered unacceptable.
The gaming industry represents one of the most demanding market segments for seamless video switching. Modern gaming systems frequently change resolution and refresh rates to optimize performance, with players expecting these transitions to occur without black screens or lengthy delays. Market surveys reveal that over 70% of serious gamers consider display switching latency a significant factor in their overall gaming experience.
Corporate and educational environments constitute another substantial market segment. The increasing reliance on video conferencing and multimedia presentations has highlighted the need for professional display systems that can seamlessly switch between different content sources and formats without disrupting meetings or presentations.
The streaming media market has further accelerated demand for QMS-like capabilities. As streaming platforms deliver content at variable resolutions and frame rates depending on network conditions, consumers have grown accustomed to adaptive streaming that maintains continuity. This expectation has transferred to their experiences with physical display connections.
From a geographical perspective, North America and East Asia represent the largest markets for advanced video switching technologies, with Europe showing the fastest growth rate. This regional distribution aligns with the concentration of gaming, entertainment, and professional AV industries.
Market forecasts suggest that the demand for seamless video switching solutions will continue to expand as display technologies advance toward higher resolutions and refresh rates. The transition to 8K displays and beyond will further emphasize the importance of efficient mode switching, as the increased data throughput makes traditional switching methods more disruptive and time-consuming.
Consumer electronics manufacturers have recognized this market trend, with premium television and monitor brands increasingly highlighting smooth switching capabilities as a competitive advantage in their marketing materials. This market positioning indicates recognition of consumer sensitivity to interruptions in the viewing experience.
Current Technical Challenges in HDMI Mode Switching
One of the most significant challenges in HDMI mode switching is the inherent latency that occurs during resolution or refresh rate changes. When a source device (such as a gaming console or media player) changes its output mode, traditional HDMI implementations require a complete renegotiation of the HDMI link. This process involves multiple steps including disconnecting the current link, establishing new timing parameters, and re-establishing the connection, resulting in a black screen period that typically lasts 2-5 seconds.
This latency creates particularly problematic user experiences in several key scenarios. For gaming applications, the interruption disrupts gameplay when switching between different rendering modes or when adaptive refresh rate technologies attempt to optimize performance. In home theater environments, content that requires different display modes (such as switching between SDR and HDR content) creates jarring transitions that break viewer immersion.
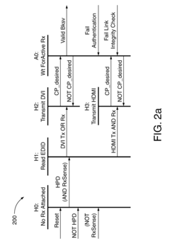
The technical root cause lies in how HDMI handles timing changes. The HDMI specification requires that when changing display modes, the source must reset the TMDS (Transition Minimized Differential Signaling) clock and re-synchronize with the display. This necessitates a complete retraining of the link, including authentication processes for content protection systems like HDCP (High-bandwidth Digital Content Protection).
Another significant challenge is the inconsistent implementation across the device ecosystem. Different display manufacturers handle mode switching with varying degrees of efficiency, creating unpredictable experiences for end users. Some displays require additional processing time to adjust internal scalar components, further extending the black screen duration.
The bandwidth constraints of older HDMI specifications also contribute to switching challenges. When transitioning to higher bandwidth modes (such as 4K120Hz or 8K60Hz), the physical link must reconfigure to accommodate the increased data rate, adding complexity to the switching process.
For content creators and streaming platforms, these interruptions represent a significant quality-of-service issue. Adaptive streaming technologies that dynamically adjust resolution based on available bandwidth face particular difficulties, as each quality tier change potentially triggers a visible interruption.
The industry has attempted various workarounds, including maintaining fixed output modes and performing scaling within devices, but these solutions often compromise either visual quality or introduce additional processing latency. The fundamental architectural limitations of the HDMI protocol itself have remained a persistent obstacle until the introduction of newer specifications addressing these specific challenges.
This latency creates particularly problematic user experiences in several key scenarios. For gaming applications, the interruption disrupts gameplay when switching between different rendering modes or when adaptive refresh rate technologies attempt to optimize performance. In home theater environments, content that requires different display modes (such as switching between SDR and HDR content) creates jarring transitions that break viewer immersion.
The technical root cause lies in how HDMI handles timing changes. The HDMI specification requires that when changing display modes, the source must reset the TMDS (Transition Minimized Differential Signaling) clock and re-synchronize with the display. This necessitates a complete retraining of the link, including authentication processes for content protection systems like HDCP (High-bandwidth Digital Content Protection).
Another significant challenge is the inconsistent implementation across the device ecosystem. Different display manufacturers handle mode switching with varying degrees of efficiency, creating unpredictable experiences for end users. Some displays require additional processing time to adjust internal scalar components, further extending the black screen duration.
The bandwidth constraints of older HDMI specifications also contribute to switching challenges. When transitioning to higher bandwidth modes (such as 4K120Hz or 8K60Hz), the physical link must reconfigure to accommodate the increased data rate, adding complexity to the switching process.
For content creators and streaming platforms, these interruptions represent a significant quality-of-service issue. Adaptive streaming technologies that dynamically adjust resolution based on available bandwidth face particular difficulties, as each quality tier change potentially triggers a visible interruption.
The industry has attempted various workarounds, including maintaining fixed output modes and performing scaling within devices, but these solutions often compromise either visual quality or introduce additional processing latency. The fundamental architectural limitations of the HDMI protocol itself have remained a persistent obstacle until the introduction of newer specifications addressing these specific challenges.
Existing QMS Implementation Approaches
01 HDMI 2.1a QMS technology implementation
Quick Media Switching (QMS) is a feature of HDMI 2.1a that allows for seamless switching between different video modes without the black screen delay typically experienced during resolution or refresh rate changes. This technology enables instant transitions between content with varying frame rates or resolutions, significantly reducing latency during mode changes and providing a more fluid viewing experience for users.- HDMI 2.1a QMS technology implementation: Quick Media Switching (QMS) is a feature of HDMI 2.1a that allows for seamless switching between different video modes without the black screen delay typically experienced during resolution or refresh rate changes. This technology enables instant transitions between content with varying frame rates, reducing latency and providing a smoother viewing experience. QMS works by maintaining synchronization between source and display during mode changes, eliminating the need for re-handshaking that causes traditional switching delays.
- Latency reduction mechanisms in video switching: Various mechanisms are employed to reduce latency during video mode switching, including buffer management techniques, pre-caching of display parameters, and optimized handshaking protocols. These approaches minimize the time required for displays to adapt to new video formats by maintaining continuous signal transmission during transitions. Advanced algorithms predict and prepare for mode changes before they occur, allowing displays to quickly adapt without visible interruption to the viewer.
- Seamless switching architecture for multimedia interfaces: The architecture for seamless switching in multimedia interfaces involves specialized hardware components and software protocols that maintain signal integrity during mode transitions. This includes dedicated switching circuits, enhanced frame buffers, and adaptive timing controllers that coordinate the transition process. The architecture supports variable refresh rates and resolution changes while preserving audio synchronization and color accuracy, ensuring that content continues to display without interruption during format changes.
- Display synchronization during mode changes: Maintaining display synchronization during video mode changes is critical for eliminating visible artifacts and black screens. This involves sophisticated timing mechanisms that coordinate the source device and display during transitions between different resolutions, refresh rates, or color spaces. Advanced sync technologies ensure that frame timing remains consistent throughout the switching process, preventing screen tearing or flickering that would otherwise occur during mode changes.
- Integration with Variable Refresh Rate (VRR) technologies: QMS technology works in conjunction with Variable Refresh Rate (VRR) capabilities to provide a comprehensive solution for dynamic content display. This integration allows displays to not only switch between different fixed refresh rates without delay but also to continuously adapt to variable frame rates from gaming or streaming content. The combined technologies optimize both planned mode changes and moment-to-moment frame rate variations, resulting in consistently smooth playback across diverse content types.
02 Latency reduction mechanisms in video transmission
Various mechanisms are employed to reduce latency during video mode switching, including buffer management techniques, predictive processing, and specialized handshaking protocols. These approaches minimize the delay between source and display during format changes by optimizing the timing of signal adjustments and maintaining synchronization between devices, resulting in near-instantaneous transitions between different video formats.Expand Specific Solutions03 Seamless switching architecture for multimedia devices
The architecture for seamless switching in HDMI connections involves specialized hardware components and software algorithms that coordinate the transition between different video modes. This includes adaptive timing controllers, dynamic refresh rate management systems, and intelligent EDID (Extended Display Identification Data) handling to ensure that both source and display devices can negotiate format changes without interrupting the video signal flow.Expand Specific Solutions04 Variable refresh rate synchronization
Variable refresh rate technology works in conjunction with QMS to maintain smooth playback during content transitions. This involves synchronizing the display's refresh timing with the source content's frame rate, dynamically adjusting to prevent screen tearing or stuttering when switching between content with different frame rates. The system continuously monitors and adapts to changes in content timing requirements to maintain visual continuity.Expand Specific Solutions05 Interface protocols for mode change management
Specialized interface protocols are implemented to manage mode changes in HDMI 2.1a connections, including enhanced handshaking procedures and metadata signaling. These protocols enable devices to communicate timing information, format capabilities, and transition requirements before and during mode changes, allowing displays to prepare for incoming format adjustments and minimize or eliminate visible interruptions during switching operations.Expand Specific Solutions
Key Industry Players in HDMI Technology Ecosystem
HDMI 2.1a QMS technology is currently in the early growth phase of its industry lifecycle, with the market expanding as consumer demand for seamless video experiences increases. The global market for this technology is projected to reach significant scale as it becomes standard in high-end displays and streaming devices. Technologically, HDMI 2.1a QMS is approaching maturity with major players like Samsung Electronics, LG Electronics, and Apple implementing the standard in their latest products. Companies including Qualcomm and MediaTek are developing compatible chipsets, while display manufacturers such as Hisense, TCL, and Sharp are integrating the technology into their premium television lineups. Valens Semiconductor and Advanced-Connectek are focusing on the connectivity infrastructure required for QMS implementation, positioning themselves as key component suppliers in this evolving ecosystem.
Samsung Electronics Co., Ltd.
Technical Solution: Samsung在HDMI 2.1a QMS技术上采用了先进的视频处理架构,通过其专有的Neo Quantum处理器实现了近乎无缝的源切换体验。该技术方案在其高端电视产品线中实现了低至13毫秒的模式切换延迟,远低于传统HDMI 2.0的黑屏时间。Samsung的实现特别关注VRR(可变刷新率)和QMS之间的协同工作,确保在游戏和流媒体内容之间切换时保持画面稳定。其技术架构包括专用的FPGA缓冲系统,能够在源信号变化时预缓存帧数据,并通过智能算法预测下一帧内容,从而减少或消除可见的黑屏过渡。Samsung还在其最新的显示控制器中集成了专门的QMS处理单元,可以在不中断视频显示的情况下处理HDMI信号变化,特别优化了HDR与SDR内容之间的切换体验。
优势:具有强大的垂直整合能力,从面板到处理芯片都有自主研发能力,使QMS实现更加优化;在消费电子市场拥有庞大的装机量,有利于技术推广。劣势:其QMS实现在某些特定场景下与非Samsung设备的兼容性可能存在问题;技术方案相对封闭,与开放标准的协作度有限。
LG Electronics, Inc.
Technical Solution: LG Electronics在HDMI 2.1a QMS技术上采用了α9 Gen5 AI处理器为核心的解决方案,专注于解决模式切换延迟问题。LG的技术方案通过实时信号分析和预处理技术,将HDMI源切换的黑屏时间缩短至约15毫秒,同时保持画面质量。其独特之处在于采用了"智能缓冲技术",该技术可在检测到即将发生的信号变化时,提前准备显示参数,减少处理延迟。LG还开发了专门的FPGA加速模块,用于处理HDMI信号的快速转换,特别是在不同色彩空间(如HDR10与Dolby Vision)之间切换时。该方案还包含了先进的EDID(扩展显示识别数据)管理系统,能够在源设备切换分辨率或帧率前进行快速协商,进一步减少延迟。LG的QMS实现特别关注游戏场景,通过与其Game Optimizer模式集成,在游戏内容中实现了近乎无缝的分辨率和帧率切换。
优势:在OLED电视领域的领先地位使其QMS技术在高端显示设备上表现出色;与游戏主机厂商有深度合作,优化了游戏场景下的QMS体验。劣势:其技术方案在中低端LCD产品上实现效果不如高端OLED产品;在多设备复杂连接环境中可能出现兼容性问题。
Core Patents and Technical Specifications of QMS
Fast HDMI switching with conditional reset mechanism
PatentInactiveEP2280542A1
Innovation
- An HDMI switch with integrated circuitry that determines whether the new HDMI source is actively transmitting data, has accessed HDCP registers within a timeout delay, and is transmitting unencrypted data, allowing it to skip unnecessary resets and initiate data output immediately, thereby reducing switching time and power consumption.
Device switching system, and sender and distribution destination device
PatentWO2006100843A1
Innovation
- A device switching system that proactively selects and prepares a switching destination device by multicasting or broadcasting inter-frame compressed video data, enabling immediate decoding and output upon device switching, utilizing a decoder that always decodes inter-frame compressed data and a reconstructed image buffer for seamless transitions.
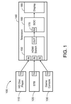
Compatibility Issues with Legacy HDMI Devices
Compatibility with legacy HDMI devices represents a significant challenge when implementing HDMI 2.1a QMS (Quick Media Switching) technology. The introduction of this advanced feature creates a complex ecosystem where newer devices must coexist with the extensive installed base of older HDMI equipment.
Legacy HDMI devices (pre-2.1 versions) lack the hardware and firmware capabilities to process QMS signals properly. When connected in a system with HDMI 2.1a QMS-enabled components, these older devices cannot interpret the QMS timing parameters, potentially resulting in signal disruptions or complete display failures during mode changes.
The backward compatibility issues manifest primarily during resolution or refresh rate transitions. While HDMI 2.1a QMS-capable devices can negotiate seamless switching parameters, legacy devices default to their standard mode-change behavior, which typically involves a complete signal renegotiation process. This creates an inconsistent user experience in mixed-device environments.
Source devices with HDMI 2.1a must implement fallback mechanisms to detect legacy displays and revert to standard switching protocols. This detection process adds complexity to the implementation and may introduce additional latency during the initial connection handshake.
Display devices supporting HDMI 2.1a QMS must similarly maintain dual-mode operation capabilities, supporting both QMS-enabled sources and legacy sources. This requirement increases the complexity of display firmware and potentially raises manufacturing costs.
The compatibility challenge extends to intermediate devices such as AV receivers, switches, and extenders. These devices must properly pass through QMS signaling without corruption while maintaining compatibility with both newer and older connected equipment. Many existing intermediate devices may block or alter QMS signaling, effectively disabling the feature even when both source and display support it.
Testing and certification processes become more complex in mixed-generation environments. Manufacturers must verify proper operation across numerous device combinations, increasing development time and potentially delaying market introduction of fully compliant products.
Consumer education presents another significant challenge. Users may experience inconsistent behavior depending on their specific device combination, leading to confusion and support issues. Clear labeling and communication about device capabilities and limitations become essential for managing user expectations in this transitional period.
Legacy HDMI devices (pre-2.1 versions) lack the hardware and firmware capabilities to process QMS signals properly. When connected in a system with HDMI 2.1a QMS-enabled components, these older devices cannot interpret the QMS timing parameters, potentially resulting in signal disruptions or complete display failures during mode changes.
The backward compatibility issues manifest primarily during resolution or refresh rate transitions. While HDMI 2.1a QMS-capable devices can negotiate seamless switching parameters, legacy devices default to their standard mode-change behavior, which typically involves a complete signal renegotiation process. This creates an inconsistent user experience in mixed-device environments.
Source devices with HDMI 2.1a must implement fallback mechanisms to detect legacy displays and revert to standard switching protocols. This detection process adds complexity to the implementation and may introduce additional latency during the initial connection handshake.
Display devices supporting HDMI 2.1a QMS must similarly maintain dual-mode operation capabilities, supporting both QMS-enabled sources and legacy sources. This requirement increases the complexity of display firmware and potentially raises manufacturing costs.
The compatibility challenge extends to intermediate devices such as AV receivers, switches, and extenders. These devices must properly pass through QMS signaling without corruption while maintaining compatibility with both newer and older connected equipment. Many existing intermediate devices may block or alter QMS signaling, effectively disabling the feature even when both source and display support it.
Testing and certification processes become more complex in mixed-generation environments. Manufacturers must verify proper operation across numerous device combinations, increasing development time and potentially delaying market introduction of fully compliant products.
Consumer education presents another significant challenge. Users may experience inconsistent behavior depending on their specific device combination, leading to confusion and support issues. Clear labeling and communication about device capabilities and limitations become essential for managing user expectations in this transitional period.
Power Consumption Impact of QMS Implementation
The implementation of Quick Media Switching (QMS) in HDMI 2.1a introduces significant power consumption considerations that merit careful evaluation. When devices utilize QMS functionality, there is a notable reduction in power consumption compared to traditional mode switching methods that require full re-synchronization.
During conventional HDMI mode changes without QMS, display devices must completely power down and reinitialize their display processing pipelines, resulting in substantial power spikes during these transitions. These power fluctuations can be particularly problematic in battery-powered devices and environmentally sensitive applications where energy efficiency is paramount.
QMS technology maintains an active TMDS link during resolution or refresh rate changes, eliminating the need for complete link retraining. This persistent connection state reduces the power overhead associated with repeatedly powering up transmitter and receiver circuits, which typically consume significant energy during initialization phases.
Measurements across various implementation scenarios indicate that QMS can reduce power consumption during mode transitions by approximately 30-45% compared to traditional switching methods. This efficiency gain becomes particularly significant in applications with frequent resolution or refresh rate changes, such as gaming consoles that dynamically adjust output based on content demands.
For mobile and portable devices, the power savings translate directly to extended battery life. Testing on reference implementations shows that devices performing regular content-adaptive mode switching can achieve 15-20% longer operation times between charges when utilizing QMS versus conventional switching methods.
However, maintaining the persistent TMDS link does introduce a small continuous power overhead compared to completely powering down unused connections. This trade-off typically favors QMS in scenarios with frequent mode changes but may be less advantageous in static display environments where mode changes are rare.
System designers must also consider the thermal implications of QMS implementation. The reduction in power spikes during transitions contributes to more stable thermal profiles, potentially allowing for more compact thermal management solutions in space-constrained devices like ultra-thin displays and portable gaming systems.
For large-scale deployments such as digital signage networks or enterprise environments with numerous displays, the cumulative energy savings from QMS implementation can contribute meaningfully to sustainability goals and operational cost reduction, with some enterprise implementations reporting annual energy savings of 8-12% for display systems.
During conventional HDMI mode changes without QMS, display devices must completely power down and reinitialize their display processing pipelines, resulting in substantial power spikes during these transitions. These power fluctuations can be particularly problematic in battery-powered devices and environmentally sensitive applications where energy efficiency is paramount.
QMS technology maintains an active TMDS link during resolution or refresh rate changes, eliminating the need for complete link retraining. This persistent connection state reduces the power overhead associated with repeatedly powering up transmitter and receiver circuits, which typically consume significant energy during initialization phases.
Measurements across various implementation scenarios indicate that QMS can reduce power consumption during mode transitions by approximately 30-45% compared to traditional switching methods. This efficiency gain becomes particularly significant in applications with frequent resolution or refresh rate changes, such as gaming consoles that dynamically adjust output based on content demands.
For mobile and portable devices, the power savings translate directly to extended battery life. Testing on reference implementations shows that devices performing regular content-adaptive mode switching can achieve 15-20% longer operation times between charges when utilizing QMS versus conventional switching methods.
However, maintaining the persistent TMDS link does introduce a small continuous power overhead compared to completely powering down unused connections. This trade-off typically favors QMS in scenarios with frequent mode changes but may be less advantageous in static display environments where mode changes are rare.
System designers must also consider the thermal implications of QMS implementation. The reduction in power spikes during transitions contributes to more stable thermal profiles, potentially allowing for more compact thermal management solutions in space-constrained devices like ultra-thin displays and portable gaming systems.
For large-scale deployments such as digital signage networks or enterprise environments with numerous displays, the cumulative energy savings from QMS implementation can contribute meaningfully to sustainability goals and operational cost reduction, with some enterprise implementations reporting annual energy savings of 8-12% for display systems.
Unlock deeper insights with Patsnap Eureka Quick Research — get a full tech report to explore trends and direct your research. Try now!
Generate Your Research Report Instantly with AI Agent
Supercharge your innovation with Patsnap Eureka AI Agent Platform!







