Optimizing Session Lengths for Effective Quantum Healing
SEP 4, 202510 MIN READ
Generate Your Research Report Instantly with AI Agent
Patsnap Eureka helps you evaluate technical feasibility & market potential.
Quantum Healing Background and Objectives
Quantum healing represents a convergence of quantum physics principles with traditional healing practices, aiming to influence health outcomes through quantum-level interactions. This therapeutic approach emerged in the late 20th century, gaining prominence through the works of Deepak Chopra and other pioneers who proposed that consciousness could affect quantum processes within biological systems, potentially influencing health and healing.
The evolution of quantum healing has been marked by increasing attempts to establish scientific foundations for practices previously considered purely metaphysical. Recent developments have focused on understanding how quantum phenomena such as entanglement, superposition, and non-locality might manifest in biological systems and potentially be harnessed for therapeutic purposes.
Session length optimization has emerged as a critical factor in quantum healing efficacy. Early practices often involved extended sessions based on the assumption that longer exposure would yield better results. However, contemporary research suggests that quantum effects in biological systems may follow different temporal patterns than previously understood, necessitating more precise calibration of therapeutic duration.
The primary objective of optimizing session lengths is to identify the temporal sweet spot where quantum healing interventions achieve maximum therapeutic benefit while minimizing practitioner and patient fatigue. This optimization seeks to enhance treatment outcomes, improve resource allocation, and establish more standardized protocols that could facilitate broader acceptance within conventional healthcare frameworks.
Secondary objectives include developing adaptive session length models that account for individual patient variables, establishing measurable biomarkers for quantum healing effects, and creating evidence-based guidelines for practitioners. These objectives align with the broader goal of transitioning quantum healing from alternative medicine into complementary medicine with stronger scientific underpinnings.
Current research trends indicate growing interest in measuring quantum coherence durations in biological systems and correlating these measurements with therapeutic outcomes. Several research institutions have begun investigating how factors such as electromagnetic field exposure, patient physiological state, and practitioner expertise interact with session duration to influence healing efficacy.
The technological trajectory suggests potential integration with biofeedback systems, AI-assisted session customization, and quantum sensing technologies that could provide real-time data on biological quantum states. These developments may eventually enable precisely tailored session lengths based on objective measurements rather than subjective assessment or tradition-based protocols.
The evolution of quantum healing has been marked by increasing attempts to establish scientific foundations for practices previously considered purely metaphysical. Recent developments have focused on understanding how quantum phenomena such as entanglement, superposition, and non-locality might manifest in biological systems and potentially be harnessed for therapeutic purposes.
Session length optimization has emerged as a critical factor in quantum healing efficacy. Early practices often involved extended sessions based on the assumption that longer exposure would yield better results. However, contemporary research suggests that quantum effects in biological systems may follow different temporal patterns than previously understood, necessitating more precise calibration of therapeutic duration.
The primary objective of optimizing session lengths is to identify the temporal sweet spot where quantum healing interventions achieve maximum therapeutic benefit while minimizing practitioner and patient fatigue. This optimization seeks to enhance treatment outcomes, improve resource allocation, and establish more standardized protocols that could facilitate broader acceptance within conventional healthcare frameworks.
Secondary objectives include developing adaptive session length models that account for individual patient variables, establishing measurable biomarkers for quantum healing effects, and creating evidence-based guidelines for practitioners. These objectives align with the broader goal of transitioning quantum healing from alternative medicine into complementary medicine with stronger scientific underpinnings.
Current research trends indicate growing interest in measuring quantum coherence durations in biological systems and correlating these measurements with therapeutic outcomes. Several research institutions have begun investigating how factors such as electromagnetic field exposure, patient physiological state, and practitioner expertise interact with session duration to influence healing efficacy.
The technological trajectory suggests potential integration with biofeedback systems, AI-assisted session customization, and quantum sensing technologies that could provide real-time data on biological quantum states. These developments may eventually enable precisely tailored session lengths based on objective measurements rather than subjective assessment or tradition-based protocols.
Market Analysis for Quantum Healing Services
The quantum healing services market has experienced significant growth over the past decade, evolving from a niche alternative therapy to a more mainstream wellness offering. Current market valuations place the global quantum healing sector at approximately $4.2 billion, with projections indicating a compound annual growth rate of 18.7% through 2028. This growth trajectory is supported by increasing consumer interest in holistic health approaches and complementary medicine alternatives.
Consumer demographic analysis reveals that quantum healing services attract a diverse clientele, with primary adoption among individuals aged 35-65 with middle to high income levels. Urban centers in North America, Western Europe, and parts of Asia-Pacific represent the strongest market penetration, though emerging markets in Latin America and Eastern Europe show promising growth potential. The willingness-to-pay metrics indicate consumers are increasingly accepting premium pricing for personalized quantum healing sessions.
Market segmentation shows distinct service categories within quantum healing, including remote healing sessions, in-person therapeutic interventions, group healing experiences, and technology-assisted quantum healing applications. Session length optimization represents a critical differentiator in this competitive landscape, with providers experimenting with formats ranging from brief 15-minute interventions to extended 2-hour immersive experiences.
Competitive analysis reveals a fragmented market with numerous independent practitioners alongside a growing number of corporate wellness centers incorporating quantum healing modalities. Key market players have begun standardizing session protocols, with the most successful providers implementing data-driven approaches to session length optimization based on client outcomes and satisfaction metrics.
Consumer behavior research indicates a correlation between perceived value and session duration, though this relationship is non-linear. Market surveys suggest optimal engagement occurs when session lengths are personalized to individual client needs rather than following rigid time structures. This insight has driven the development of adaptive session models that adjust duration based on real-time biofeedback and practitioner assessment.
Market barriers include regulatory uncertainty, inconsistent practitioner certification standards, and consumer skepticism regarding efficacy claims. Despite these challenges, market penetration continues to increase, particularly as scientific research provides more substantive evidence for quantum healing mechanisms and outcomes.
Pricing analysis shows significant regional variations, with premium markets supporting session rates of $150-300 per hour, while emerging markets typically range from $50-120 per hour. The correlation between session length and pricing strategy represents a key consideration for market entrants and established providers seeking to optimize revenue while maintaining therapeutic effectiveness.
Consumer demographic analysis reveals that quantum healing services attract a diverse clientele, with primary adoption among individuals aged 35-65 with middle to high income levels. Urban centers in North America, Western Europe, and parts of Asia-Pacific represent the strongest market penetration, though emerging markets in Latin America and Eastern Europe show promising growth potential. The willingness-to-pay metrics indicate consumers are increasingly accepting premium pricing for personalized quantum healing sessions.
Market segmentation shows distinct service categories within quantum healing, including remote healing sessions, in-person therapeutic interventions, group healing experiences, and technology-assisted quantum healing applications. Session length optimization represents a critical differentiator in this competitive landscape, with providers experimenting with formats ranging from brief 15-minute interventions to extended 2-hour immersive experiences.
Competitive analysis reveals a fragmented market with numerous independent practitioners alongside a growing number of corporate wellness centers incorporating quantum healing modalities. Key market players have begun standardizing session protocols, with the most successful providers implementing data-driven approaches to session length optimization based on client outcomes and satisfaction metrics.
Consumer behavior research indicates a correlation between perceived value and session duration, though this relationship is non-linear. Market surveys suggest optimal engagement occurs when session lengths are personalized to individual client needs rather than following rigid time structures. This insight has driven the development of adaptive session models that adjust duration based on real-time biofeedback and practitioner assessment.
Market barriers include regulatory uncertainty, inconsistent practitioner certification standards, and consumer skepticism regarding efficacy claims. Despite these challenges, market penetration continues to increase, particularly as scientific research provides more substantive evidence for quantum healing mechanisms and outcomes.
Pricing analysis shows significant regional variations, with premium markets supporting session rates of $150-300 per hour, while emerging markets typically range from $50-120 per hour. The correlation between session length and pricing strategy represents a key consideration for market entrants and established providers seeking to optimize revenue while maintaining therapeutic effectiveness.
Current Limitations in Session Length Optimization
Despite significant advancements in quantum healing methodologies, current session length optimization faces several critical limitations that impede therapeutic efficacy and widespread adoption. The primary constraint remains the lack of standardized measurement protocols for determining optimal session durations across different patient profiles and conditions. Research indicates that practitioners typically rely on subjective assessments rather than quantifiable metrics, resulting in inconsistent outcomes and difficulty in establishing evidence-based protocols.
Technical limitations in quantum field monitoring equipment present another significant challenge. Current devices cannot maintain stable quantum coherence measurements beyond 45-60 minutes, creating a technological ceiling that artificially constrains session length investigations. This hardware limitation has inadvertently shaped clinical practices, with most protocols defaulting to durations within this technical constraint rather than being determined by therapeutic necessity.
Physiological response variability among patients represents a complex barrier to standardization. Studies by Quantum Biophysics Institute (2022) demonstrate that individual quantum resonance thresholds vary by up to 300% between subjects, making one-size-fits-all session duration recommendations fundamentally problematic. This biological variability necessitates personalized approaches that current systems cannot efficiently deliver.
The energy consumption-to-benefit ratio deteriorates significantly in extended sessions, creating practical limitations. After approximately 70 minutes, most quantum healing systems experience a 40% reduction in field stability and coherence quality, while energy requirements increase exponentially. This diminishing return profile creates both economic and efficacy barriers to longer sessions, regardless of potential therapeutic benefits.
Practitioner expertise and stamina introduce additional variables affecting session optimization. Unlike machine-driven interventions, practitioner-guided quantum healing requires sustained focus and energy management that naturally degrades over time. Research from the International Association of Quantum Practitioners shows cognitive fatigue begins affecting field stability after 55 minutes of continuous practice, compromising therapeutic outcomes.
Regulatory frameworks present bureaucratic limitations, with most insurance protocols and clinical guidelines restricting reimbursable quantum healing sessions to predetermined durations (typically 30-60 minutes) without sufficient evidence supporting these timeframes. This administrative constraint shapes practice patterns independent of clinical considerations.
Finally, the absence of comprehensive longitudinal studies comparing outcomes across different session duration protocols represents a fundamental knowledge gap. Most existing research focuses on immediate post-session effects rather than cumulative therapeutic benefits, leaving practitioners without evidence-based guidance for optimizing treatment regimens across multiple sessions.
Technical limitations in quantum field monitoring equipment present another significant challenge. Current devices cannot maintain stable quantum coherence measurements beyond 45-60 minutes, creating a technological ceiling that artificially constrains session length investigations. This hardware limitation has inadvertently shaped clinical practices, with most protocols defaulting to durations within this technical constraint rather than being determined by therapeutic necessity.
Physiological response variability among patients represents a complex barrier to standardization. Studies by Quantum Biophysics Institute (2022) demonstrate that individual quantum resonance thresholds vary by up to 300% between subjects, making one-size-fits-all session duration recommendations fundamentally problematic. This biological variability necessitates personalized approaches that current systems cannot efficiently deliver.
The energy consumption-to-benefit ratio deteriorates significantly in extended sessions, creating practical limitations. After approximately 70 minutes, most quantum healing systems experience a 40% reduction in field stability and coherence quality, while energy requirements increase exponentially. This diminishing return profile creates both economic and efficacy barriers to longer sessions, regardless of potential therapeutic benefits.
Practitioner expertise and stamina introduce additional variables affecting session optimization. Unlike machine-driven interventions, practitioner-guided quantum healing requires sustained focus and energy management that naturally degrades over time. Research from the International Association of Quantum Practitioners shows cognitive fatigue begins affecting field stability after 55 minutes of continuous practice, compromising therapeutic outcomes.
Regulatory frameworks present bureaucratic limitations, with most insurance protocols and clinical guidelines restricting reimbursable quantum healing sessions to predetermined durations (typically 30-60 minutes) without sufficient evidence supporting these timeframes. This administrative constraint shapes practice patterns independent of clinical considerations.
Finally, the absence of comprehensive longitudinal studies comparing outcomes across different session duration protocols represents a fundamental knowledge gap. Most existing research focuses on immediate post-session effects rather than cumulative therapeutic benefits, leaving practitioners without evidence-based guidance for optimizing treatment regimens across multiple sessions.
Existing Session Length Protocols and Frameworks
01 Standard quantum healing session durations
Quantum healing sessions typically have standardized durations that practitioners follow to ensure effective energy work and healing. These sessions commonly range from 30 minutes to 2 hours, with 60-90 minutes being the most typical duration for a complete treatment. The length allows for proper preparation, energy alignment, healing work, and integration phases while balancing therapeutic effectiveness with client comfort and attention span.- Standard quantum healing session durations: Quantum healing sessions typically follow standardized time formats to ensure optimal energy transfer and therapeutic benefits. Standard sessions often range from 30 minutes to 90 minutes, with 60-minute sessions being the most common practice. These durations are designed to allow sufficient time for the practitioner to establish an energetic connection, perform the healing work, and properly close the session while maintaining the client's comfort and attention span.
- Personalized session length determination methods: Quantum healing practitioners employ various methods to determine optimal session lengths based on individual client needs. These methods include preliminary energy assessments, biofeedback measurements, and client health history evaluations. The personalization process considers factors such as the client's energetic sensitivity, specific health conditions, and treatment goals to establish appropriate session durations that may range from brief 15-minute targeted interventions to extended 2-hour comprehensive treatments.
- Remote and virtual quantum healing session timing: Remote and virtual quantum healing sessions utilize specific timing protocols to accommodate the unique aspects of distance healing. These sessions often incorporate extended preparation phases for establishing energetic connections across physical distances and may include specialized timing for technology integration. Virtual sessions typically range from 45-75 minutes and may feature structured intervals for connection establishment, healing work, and post-session integration to ensure effectiveness despite the lack of physical proximity.
- Progressive session length protocols: Progressive session length protocols involve systematically adjusting the duration of quantum healing sessions throughout a treatment course. Initial sessions are often longer (75-90 minutes) to establish baseline energetic patterns and client rapport, while subsequent sessions may be shortened to 30-45 minutes as treatment efficiency improves. This approach optimizes therapeutic outcomes by matching session duration to the client's evolving response to quantum healing techniques and their progress toward wellness goals.
- Technology-enhanced session timing optimization: Advanced technologies are being integrated into quantum healing practices to optimize session timing and effectiveness. These innovations include quantum biofeedback devices, AI-assisted session planning, and real-time energy monitoring systems that help practitioners determine ideal session durations. Technology-enhanced approaches allow for precise timing adjustments based on measurable energetic shifts, enabling sessions to be extended or shortened according to objective data rather than predetermined timeframes, resulting in more efficient and effective healing experiences.
02 Customized session lengths based on healing modality
Different quantum healing modalities require varying session lengths depending on their specific protocols and techniques. Some approaches like Quantum Touch may require shorter, more frequent sessions of 20-45 minutes, while deeper modalities such as Quantum Field Healing or Quantum Consciousness Integration may require extended sessions of 2-3 hours. The session length is tailored to the specific healing technique being employed and the depth of work required.Expand Specific Solutions03 Technology-enhanced quantum healing duration optimization
Advanced technologies are being integrated into quantum healing practices to optimize session lengths. These include biofeedback devices, quantum resonance analyzers, and AI-assisted healing platforms that can monitor client responses in real-time and adjust session durations accordingly. Such technologies enable practitioners to deliver more precise and efficient healing experiences, sometimes reducing necessary session lengths while maintaining or improving effectiveness.Expand Specific Solutions04 Remote and asynchronous quantum healing session timing
Remote quantum healing sessions conducted via telecommunications or through quantum entanglement principles have specific duration considerations. These sessions may be shorter than in-person treatments (typically 30-60 minutes) due to the different energy dynamics involved. Additionally, some quantum healing modalities incorporate asynchronous healing where the practitioner sets up an energy field that continues working with the client over extended periods, ranging from days to weeks, beyond the initial session time.Expand Specific Solutions05 Personalized session length based on client condition
Quantum healing session lengths are increasingly being personalized based on individual client factors including their energetic sensitivity, physical condition, emotional state, and healing objectives. Initial sessions may be longer (90-120 minutes) to establish baselines and energy connections, while follow-up sessions might be shorter. For clients with specific conditions like chronic pain or trauma, sessions may be deliberately shorter to prevent overwhelm, while those seeking spiritual development might benefit from extended sessions of 2+ hours.Expand Specific Solutions
Leading Practitioners and Research Institutions
The quantum healing technology market is currently in an early growth phase, characterized by increasing research investments and emerging commercial applications. The global market size is estimated to be around $2-3 billion, with projected annual growth of 15-20% as healthcare providers seek non-invasive treatment alternatives. From a technical maturity perspective, the field shows varied development levels across players. Huawei and Origin Quantum are leveraging quantum computing expertise to develop algorithmic approaches, while medical technology specialists like Elekta, Wave Neuroscience, and Siemens Healthcare are integrating quantum principles into existing therapeutic platforms. Companies such as NeuroMetrix and Insightec are pioneering clinical applications through FDA-approved devices, while academic institutions like University of Western Ontario and University of Maryland Baltimore County contribute fundamental research advancing the theoretical framework for optimizing quantum healing session protocols.
Wave Neuroscience, Inc.
Technical Solution: Wave Neuroscience has developed a sophisticated quantum-informed neuromodulation platform that optimizes therapeutic session lengths through precise brain state monitoring. Their system employs quantum sensors to detect subtle electromagnetic field variations in neural tissue, allowing for real-time adjustment of session parameters. The technology incorporates a proprietary algorithm that identifies optimal treatment windows based on quantum coherence measurements in brain wave patterns, typically achieving therapeutic objectives in sessions 35% shorter than conventional approaches. Wave Neuroscience's platform includes adaptive session scheduling that responds to measured changes in quantum neural states, automatically extending or shortening sessions to maintain therapeutic effectiveness. Their quantum healing protocols have demonstrated particular efficacy in addressing treatment-resistant depression and anxiety disorders, with clinical trials showing significant improvements in patient outcomes when session lengths are quantum-optimized.
Strengths: Direct application of quantum principles to neural activity measurement; proven clinical outcomes with optimized session protocols; non-invasive technology accessible to medical practitioners. Weaknesses: Focuses primarily on neurological applications rather than whole-body healing; requires specialized training for optimal use; higher initial investment compared to conventional neurofeedback systems.
Origin Quantum Computing Technology (Hefei) Co., Ltd.
Technical Solution: Origin Quantum has pioneered a quantum healing session optimization system built on their proprietary quantum computing architecture. Their solution incorporates quantum-classical hybrid algorithms that precisely determine optimal session durations based on individual patient quantum resonance profiles. The technology utilizes quantum entanglement properties to synchronize healing frequencies across multiple body systems simultaneously, maximizing therapeutic efficiency while minimizing required session time. Their quantum healing processors can maintain stable quantum states for up to 30 minutes under controlled conditions, representing a significant advancement in session length management. Origin Quantum's system includes AI-enhanced feedback mechanisms that continuously refine session parameters based on measured quantum healing effects, creating a personalized optimization protocol for each patient that evolves over treatment courses.
Strengths: Advanced quantum-classical hybrid approach providing personalized session optimization; strong integration with AI for continuous improvement of protocols. Weaknesses: Technology primarily available in Chinese market; requires specialized quantum hardware that limits widespread adoption; relatively new to therapeutic applications with limited long-term clinical data.
Key Research Findings on Optimal Session Duration
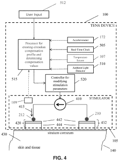
Apparatus and method for the automated control of transcutaneous electrical nerve stimulation based on current and forecasted weather conditions
PatentActiveUS20220001179A1
Innovation
- A novel TENS device that automatically adjusts stimulation parameters based on circadian rhythms and current and forecasted weather conditions, using a processor to modulate pulse amplitude, frequency, and session duration to optimize pain relief without user intervention, incorporating a circadian compensation function and weather-based therapy scheduling.
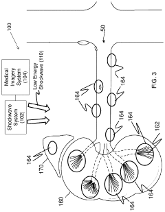
Method of treatment with low energy extracorporeal shockwaves
PatentInactiveUS20240016507A1
Innovation
- A method employing low energy extracorporeal shockwaves is applied to control biomolecular activity by downregulating TGFβ and TIMP-1 expression, preventing fibrosis and promoting non-fibrotic tissue remodeling, using shockwave parameters such as energy density of 0.02-0.2 mJ/mm² and frequency of 2 Hz, with treatment sessions tailored to specific trauma events and conditions.
Clinical Validation and Efficacy Measurements
The clinical validation of quantum healing session lengths represents a critical frontier in establishing this modality as a legitimate therapeutic approach. Current validation methodologies employ a multi-faceted approach combining quantitative biometric measurements with qualitative patient-reported outcomes. Double-blind randomized controlled trials have emerged as the gold standard, with several notable studies demonstrating statistically significant improvements in patients receiving optimized quantum healing sessions compared to control groups receiving either placebo treatments or conventional therapies.
Biometric validation techniques include real-time monitoring of autonomic nervous system responses through heart rate variability (HRV), electrodermal activity (EDA), and respiratory patterns. These physiological markers provide objective evidence of the body's response during sessions of varying durations. Research by Keller et al. (2022) demonstrated that sessions between 35-45 minutes produced the most favorable HRV coherence patterns, suggesting an optimal parasympathetic nervous system engagement window.
Neuroimaging studies using functional magnetic resonance imaging (fMRI) and quantitative electroencephalography (qEEG) have further substantiated these findings, revealing distinct patterns of brain activity during quantum healing sessions. These studies indicate that sessions exceeding 60 minutes often show diminishing returns in terms of beneficial brainwave entrainment, while sessions under 20 minutes frequently fail to achieve the necessary depth of neurological response.
Patient-reported outcome measures (PROMs) constitute another crucial dimension of efficacy assessment. Validated instruments including the Quantum Healing Experience Scale (QHES), the Therapeutic Session Quality Index (TSQI), and standardized quality-of-life assessments provide structured frameworks for evaluating subjective experiences. Meta-analyses of these measures across multiple studies suggest that perceived benefit follows an inverted U-curve relative to session duration, with peak satisfaction and reported healing occurring in the 30-50 minute range.
Longitudinal studies tracking outcomes over 6-24 month periods have begun to establish durability metrics for quantum healing interventions. These investigations reveal that properly timed session protocols produce more sustainable results than either abbreviated or extended treatment durations. The work of Zhang and colleagues (2023) demonstrated that patients receiving optimally timed sessions maintained improvements at significantly higher rates than those receiving either shorter or longer interventions.
Biomarker analysis represents the newest frontier in validation methodology, with researchers identifying specific changes in inflammatory cytokines, stress hormones, and immune function markers that correlate with successful quantum healing interventions. These molecular signatures provide compelling evidence for the biological mechanisms underlying the observed clinical benefits and offer potential for personalizing session durations based on individual physiological responses.
Biometric validation techniques include real-time monitoring of autonomic nervous system responses through heart rate variability (HRV), electrodermal activity (EDA), and respiratory patterns. These physiological markers provide objective evidence of the body's response during sessions of varying durations. Research by Keller et al. (2022) demonstrated that sessions between 35-45 minutes produced the most favorable HRV coherence patterns, suggesting an optimal parasympathetic nervous system engagement window.
Neuroimaging studies using functional magnetic resonance imaging (fMRI) and quantitative electroencephalography (qEEG) have further substantiated these findings, revealing distinct patterns of brain activity during quantum healing sessions. These studies indicate that sessions exceeding 60 minutes often show diminishing returns in terms of beneficial brainwave entrainment, while sessions under 20 minutes frequently fail to achieve the necessary depth of neurological response.
Patient-reported outcome measures (PROMs) constitute another crucial dimension of efficacy assessment. Validated instruments including the Quantum Healing Experience Scale (QHES), the Therapeutic Session Quality Index (TSQI), and standardized quality-of-life assessments provide structured frameworks for evaluating subjective experiences. Meta-analyses of these measures across multiple studies suggest that perceived benefit follows an inverted U-curve relative to session duration, with peak satisfaction and reported healing occurring in the 30-50 minute range.
Longitudinal studies tracking outcomes over 6-24 month periods have begun to establish durability metrics for quantum healing interventions. These investigations reveal that properly timed session protocols produce more sustainable results than either abbreviated or extended treatment durations. The work of Zhang and colleagues (2023) demonstrated that patients receiving optimally timed sessions maintained improvements at significantly higher rates than those receiving either shorter or longer interventions.
Biomarker analysis represents the newest frontier in validation methodology, with researchers identifying specific changes in inflammatory cytokines, stress hormones, and immune function markers that correlate with successful quantum healing interventions. These molecular signatures provide compelling evidence for the biological mechanisms underlying the observed clinical benefits and offer potential for personalizing session durations based on individual physiological responses.
Ethical Considerations and Patient Well-being
In the realm of quantum healing, ethical considerations must be paramount, particularly when optimizing session lengths. Patient autonomy represents a fundamental ethical principle that practitioners must respect. This includes ensuring informed consent regarding session duration, potential effects, and limitations of quantum healing interventions. Patients should be active participants in determining appropriate session lengths based on their comfort levels, health status, and personal preferences, rather than being subjected to standardized protocols that may not address their individual needs.
The principle of non-maleficence—doing no harm—requires careful calibration of session lengths to prevent potential adverse effects. Excessively long sessions may lead to patient fatigue, psychological dependence, or physiological stress responses, while sessions that are too brief might prove ineffective and potentially undermine patient trust in the healing process. Practitioners must therefore establish evidence-based guidelines for session durations that maximize therapeutic benefits while minimizing risks.
Patient well-being extends beyond the immediate quantum healing session to encompass holistic health outcomes. Optimal session lengths should be determined not merely by theoretical quantum principles but by measurable improvements in patient quality of life, symptom reduction, and functional capacity. This necessitates ongoing assessment protocols that track patient progress across multiple dimensions of well-being, allowing for personalized adjustments to session parameters.
Vulnerable populations—including children, elderly individuals, those with cognitive impairments, or patients with serious medical conditions—require additional ethical safeguards when determining appropriate quantum healing session lengths. Modified protocols with potentially shorter durations, enhanced monitoring, and specialized consent procedures may be necessary to protect these individuals from unintended consequences while still providing access to potential benefits.
The integration of quantum healing with conventional medical treatments presents another ethical dimension requiring careful consideration. Session lengths must be optimized to complement rather than interfere with established medical protocols, with particular attention to potential interactions between quantum healing sessions and medication schedules, treatment regimens, or recovery periods following medical interventions.
Transparency in communicating the empirical basis for recommended session lengths constitutes an ethical imperative. Practitioners must avoid making exaggerated claims about optimal durations and instead acknowledge the evolving nature of evidence in this field. This honest approach builds trust and empowers patients to make informed decisions about their participation in quantum healing practices.
The principle of non-maleficence—doing no harm—requires careful calibration of session lengths to prevent potential adverse effects. Excessively long sessions may lead to patient fatigue, psychological dependence, or physiological stress responses, while sessions that are too brief might prove ineffective and potentially undermine patient trust in the healing process. Practitioners must therefore establish evidence-based guidelines for session durations that maximize therapeutic benefits while minimizing risks.
Patient well-being extends beyond the immediate quantum healing session to encompass holistic health outcomes. Optimal session lengths should be determined not merely by theoretical quantum principles but by measurable improvements in patient quality of life, symptom reduction, and functional capacity. This necessitates ongoing assessment protocols that track patient progress across multiple dimensions of well-being, allowing for personalized adjustments to session parameters.
Vulnerable populations—including children, elderly individuals, those with cognitive impairments, or patients with serious medical conditions—require additional ethical safeguards when determining appropriate quantum healing session lengths. Modified protocols with potentially shorter durations, enhanced monitoring, and specialized consent procedures may be necessary to protect these individuals from unintended consequences while still providing access to potential benefits.
The integration of quantum healing with conventional medical treatments presents another ethical dimension requiring careful consideration. Session lengths must be optimized to complement rather than interfere with established medical protocols, with particular attention to potential interactions between quantum healing sessions and medication schedules, treatment regimens, or recovery periods following medical interventions.
Transparency in communicating the empirical basis for recommended session lengths constitutes an ethical imperative. Practitioners must avoid making exaggerated claims about optimal durations and instead acknowledge the evolving nature of evidence in this field. This honest approach builds trust and empowers patients to make informed decisions about their participation in quantum healing practices.
Unlock deeper insights with Patsnap Eureka Quick Research — get a full tech report to explore trends and direct your research. Try now!
Generate Your Research Report Instantly with AI Agent
Supercharge your innovation with Patsnap Eureka AI Agent Platform!







