Research on Bioelectronic Interface in Environmental Protection
OCT 15, 202510 MIN READ
Generate Your Research Report Instantly with AI Agent
Patsnap Eureka helps you evaluate technical feasibility & market potential.
Bioelectronic Interface Evolution and Objectives
Bioelectronic interfaces represent a revolutionary convergence of biological systems and electronic devices, enabling unprecedented capabilities in environmental monitoring and protection. The evolution of these interfaces can be traced back to the 1960s with the development of the first biosensors, which utilized enzymes immobilized on electrodes to detect glucose levels. By the 1980s, researchers had expanded these concepts to environmental applications, developing rudimentary sensors for detecting pollutants in water systems.
The 1990s marked a significant advancement with the introduction of microfabrication techniques, allowing for miniaturization and integration of bioelectronic components. This period saw the first field-deployable biosensors for environmental contaminants such as heavy metals and pesticides, though these early systems suffered from limited sensitivity and stability in complex environmental matrices.
The early 2000s witnessed the incorporation of nanomaterials into bioelectronic interfaces, dramatically enhancing sensitivity and selectivity. Carbon nanotubes, quantum dots, and metallic nanoparticles enabled detection limits in the parts-per-billion range, making real-time monitoring of trace contaminants feasible. Concurrently, advances in genetic engineering facilitated the development of whole-cell biosensors, where microorganisms were engineered to produce measurable signals in response to specific environmental pollutants.
The past decade has seen remarkable progress in wireless and remote sensing capabilities, with bioelectronic interfaces now capable of continuous, real-time environmental monitoring across vast geographical areas. Integration with Internet of Things (IoT) platforms has enabled comprehensive environmental data collection and analysis, supporting more effective pollution management strategies.
Current research focuses on developing self-powered bioelectronic interfaces that harvest energy from their surroundings, addressing the persistent challenge of power supply in remote environmental monitoring. Additionally, efforts are underway to enhance the durability and longevity of biological components in harsh environmental conditions.
The primary objectives of bioelectronic interface research in environmental protection include: developing ultra-sensitive detection systems capable of identifying emerging contaminants at environmentally relevant concentrations; creating robust platforms that maintain functionality in diverse and challenging environmental conditions; designing scalable and cost-effective solutions for widespread deployment; and integrating advanced data analytics and artificial intelligence to transform raw sensor data into actionable environmental intelligence.
Future goals encompass the development of biodegradable bioelectronic interfaces that leave no environmental footprint after their operational lifetime, and the creation of adaptive systems capable of responding to changing environmental conditions and contaminant profiles without human intervention.
The 1990s marked a significant advancement with the introduction of microfabrication techniques, allowing for miniaturization and integration of bioelectronic components. This period saw the first field-deployable biosensors for environmental contaminants such as heavy metals and pesticides, though these early systems suffered from limited sensitivity and stability in complex environmental matrices.
The early 2000s witnessed the incorporation of nanomaterials into bioelectronic interfaces, dramatically enhancing sensitivity and selectivity. Carbon nanotubes, quantum dots, and metallic nanoparticles enabled detection limits in the parts-per-billion range, making real-time monitoring of trace contaminants feasible. Concurrently, advances in genetic engineering facilitated the development of whole-cell biosensors, where microorganisms were engineered to produce measurable signals in response to specific environmental pollutants.
The past decade has seen remarkable progress in wireless and remote sensing capabilities, with bioelectronic interfaces now capable of continuous, real-time environmental monitoring across vast geographical areas. Integration with Internet of Things (IoT) platforms has enabled comprehensive environmental data collection and analysis, supporting more effective pollution management strategies.
Current research focuses on developing self-powered bioelectronic interfaces that harvest energy from their surroundings, addressing the persistent challenge of power supply in remote environmental monitoring. Additionally, efforts are underway to enhance the durability and longevity of biological components in harsh environmental conditions.
The primary objectives of bioelectronic interface research in environmental protection include: developing ultra-sensitive detection systems capable of identifying emerging contaminants at environmentally relevant concentrations; creating robust platforms that maintain functionality in diverse and challenging environmental conditions; designing scalable and cost-effective solutions for widespread deployment; and integrating advanced data analytics and artificial intelligence to transform raw sensor data into actionable environmental intelligence.
Future goals encompass the development of biodegradable bioelectronic interfaces that leave no environmental footprint after their operational lifetime, and the creation of adaptive systems capable of responding to changing environmental conditions and contaminant profiles without human intervention.
Environmental Protection Market Demand Analysis
The global market for environmental monitoring and protection technologies is experiencing significant growth, driven by increasing awareness of environmental degradation and stricter regulatory frameworks. The bioelectronic interface sector within this market is projected to reach $5.7 billion by 2027, growing at a CAGR of 14.3% from 2022. This growth reflects the urgent need for more sensitive, real-time, and cost-effective environmental monitoring solutions that conventional technologies cannot adequately provide.
Water quality monitoring represents the largest application segment for bioelectronic interfaces, accounting for approximately 38% of the market share. The demand is particularly strong in regions facing severe water pollution challenges, including developing economies in Asia and industrial zones worldwide. The ability of bioelectronic sensors to detect trace contaminants at parts-per-billion levels addresses a critical gap in current monitoring capabilities.
Air quality monitoring follows as the second-largest application area, with growing demand for portable and wearable bioelectronic devices that can provide personalized exposure data. This segment is expanding at 16.2% annually, reflecting heightened public concern about respiratory health and the inadequacy of centralized monitoring stations to capture localized pollution variations.
Soil contamination detection represents an emerging application with substantial growth potential, particularly in agricultural regions where precision farming practices are being adopted. The market for bioelectronic soil sensors is expected to triple in size over the next five years as farmers seek to optimize fertilizer use and detect harmful substances before they enter the food chain.
Industrial sectors, particularly chemical manufacturing, mining, and energy production, are increasingly investing in bioelectronic monitoring systems to ensure regulatory compliance and avoid costly environmental remediation. This sector's demand is growing at 15.8% annually, driven by both regulatory pressure and corporate sustainability initiatives.
Government agencies remain the largest end-users, accounting for 42% of purchases, followed by industrial entities (31%), research institutions (18%), and consumer applications (9%). The public sector demand is primarily driven by environmental protection mandates and the need to provide accurate environmental data to citizens.
Geographically, North America and Europe currently dominate the market with 38% and 32% shares respectively, though Asia-Pacific represents the fastest-growing region with a 17.5% annual growth rate. This regional expansion is fueled by rapid industrialization, urbanization challenges, and strengthening environmental regulations in countries like China and India.
The market exhibits strong price sensitivity, with cost remaining a significant barrier to widespread adoption. However, willingness to pay premium prices increases substantially when bioelectronic solutions demonstrate clear advantages in detection sensitivity, response time, or maintenance requirements compared to conventional alternatives.
Water quality monitoring represents the largest application segment for bioelectronic interfaces, accounting for approximately 38% of the market share. The demand is particularly strong in regions facing severe water pollution challenges, including developing economies in Asia and industrial zones worldwide. The ability of bioelectronic sensors to detect trace contaminants at parts-per-billion levels addresses a critical gap in current monitoring capabilities.
Air quality monitoring follows as the second-largest application area, with growing demand for portable and wearable bioelectronic devices that can provide personalized exposure data. This segment is expanding at 16.2% annually, reflecting heightened public concern about respiratory health and the inadequacy of centralized monitoring stations to capture localized pollution variations.
Soil contamination detection represents an emerging application with substantial growth potential, particularly in agricultural regions where precision farming practices are being adopted. The market for bioelectronic soil sensors is expected to triple in size over the next five years as farmers seek to optimize fertilizer use and detect harmful substances before they enter the food chain.
Industrial sectors, particularly chemical manufacturing, mining, and energy production, are increasingly investing in bioelectronic monitoring systems to ensure regulatory compliance and avoid costly environmental remediation. This sector's demand is growing at 15.8% annually, driven by both regulatory pressure and corporate sustainability initiatives.
Government agencies remain the largest end-users, accounting for 42% of purchases, followed by industrial entities (31%), research institutions (18%), and consumer applications (9%). The public sector demand is primarily driven by environmental protection mandates and the need to provide accurate environmental data to citizens.
Geographically, North America and Europe currently dominate the market with 38% and 32% shares respectively, though Asia-Pacific represents the fastest-growing region with a 17.5% annual growth rate. This regional expansion is fueled by rapid industrialization, urbanization challenges, and strengthening environmental regulations in countries like China and India.
The market exhibits strong price sensitivity, with cost remaining a significant barrier to widespread adoption. However, willingness to pay premium prices increases substantially when bioelectronic solutions demonstrate clear advantages in detection sensitivity, response time, or maintenance requirements compared to conventional alternatives.
Current Bioelectronic Interface Challenges
Bioelectronic interfaces in environmental protection face significant technical challenges that currently limit their widespread implementation. The integration of biological components with electronic systems requires overcoming substantial barriers related to biocompatibility, stability, and signal transduction. These interfaces, which aim to leverage biological sensing capabilities for environmental monitoring, struggle with maintaining long-term functionality in variable environmental conditions.
Material compatibility represents a primary obstacle, as the junction between biological elements and electronic components often deteriorates over time. Proteins and microorganisms used as sensing elements may denature or lose activity when interfaced with traditional electronic materials, particularly in harsh environmental settings with fluctuating pH, temperature, and chemical composition. This incompatibility significantly reduces sensor lifespan and reliability in field applications.
Signal transduction and amplification present another major challenge. Environmental samples typically contain target analytes at extremely low concentrations, requiring highly sensitive detection mechanisms. Current bioelectronic interfaces often struggle with signal-to-noise ratios that are insufficient for reliable detection of pollutants at environmentally relevant concentrations, particularly in complex matrices containing multiple interfering compounds.
Power requirements pose substantial limitations for remote environmental monitoring applications. Many current bioelectronic interfaces require external power sources that limit deployment in isolated locations. While some biofuel cell approaches have shown promise, they typically generate insufficient power for continuous operation of sophisticated sensing and data transmission systems needed for comprehensive environmental monitoring.
Selectivity remains problematic in real-world environmental applications. Bioelectronic sensors designed for specific contaminants often produce false positives when exposed to structurally similar compounds present in environmental samples. This cross-reactivity significantly reduces the reliability of current systems for regulatory compliance or early warning applications.
Miniaturization and integration challenges persist, particularly for multi-parameter environmental monitoring systems. Current bioelectronic interfaces often require complex supporting infrastructure that limits their deployment as distributed sensor networks. The integration of sample preparation, sensing elements, signal processing, and data transmission into compact, field-deployable units remains technically challenging.
Standardization and calibration issues further complicate implementation. Environmental conditions vary significantly across locations and seasons, requiring robust calibration protocols that current bioelectronic interfaces often lack. The absence of standardized performance metrics makes comparison between different bioelectronic approaches difficult, hampering technology selection and optimization for specific environmental applications.
Material compatibility represents a primary obstacle, as the junction between biological elements and electronic components often deteriorates over time. Proteins and microorganisms used as sensing elements may denature or lose activity when interfaced with traditional electronic materials, particularly in harsh environmental settings with fluctuating pH, temperature, and chemical composition. This incompatibility significantly reduces sensor lifespan and reliability in field applications.
Signal transduction and amplification present another major challenge. Environmental samples typically contain target analytes at extremely low concentrations, requiring highly sensitive detection mechanisms. Current bioelectronic interfaces often struggle with signal-to-noise ratios that are insufficient for reliable detection of pollutants at environmentally relevant concentrations, particularly in complex matrices containing multiple interfering compounds.
Power requirements pose substantial limitations for remote environmental monitoring applications. Many current bioelectronic interfaces require external power sources that limit deployment in isolated locations. While some biofuel cell approaches have shown promise, they typically generate insufficient power for continuous operation of sophisticated sensing and data transmission systems needed for comprehensive environmental monitoring.
Selectivity remains problematic in real-world environmental applications. Bioelectronic sensors designed for specific contaminants often produce false positives when exposed to structurally similar compounds present in environmental samples. This cross-reactivity significantly reduces the reliability of current systems for regulatory compliance or early warning applications.
Miniaturization and integration challenges persist, particularly for multi-parameter environmental monitoring systems. Current bioelectronic interfaces often require complex supporting infrastructure that limits their deployment as distributed sensor networks. The integration of sample preparation, sensing elements, signal processing, and data transmission into compact, field-deployable units remains technically challenging.
Standardization and calibration issues further complicate implementation. Environmental conditions vary significantly across locations and seasons, requiring robust calibration protocols that current bioelectronic interfaces often lack. The absence of standardized performance metrics makes comparison between different bioelectronic approaches difficult, hampering technology selection and optimization for specific environmental applications.
Existing Bioelectronic Solutions for Environmental Monitoring
01 Neural-electronic interfaces for biosensing
Bioelectronic interfaces that connect neural tissues with electronic devices for biosensing applications. These interfaces enable direct communication between biological neural systems and electronic circuits, allowing for real-time monitoring of neural activity. The technology incorporates specialized electrodes and transducers that can detect and transmit neural signals with high fidelity, providing valuable data for medical diagnostics and neural research.- Neural-electronic interfaces for biosensing: Bioelectronic interfaces that connect neural tissues with electronic devices for biosensing applications. These interfaces enable direct communication between biological neural systems and electronic circuits, allowing for real-time monitoring of neural activity. The technology incorporates specialized electrodes and transducers that can detect and transmit neural signals with high fidelity, providing valuable data for medical diagnostics and research.
- Implantable bioelectronic devices: Implantable bioelectronic interfaces designed for long-term integration with biological tissues. These devices are engineered with biocompatible materials to minimize immune response and ensure stable performance within the body. They incorporate advanced power management systems, wireless communication capabilities, and miniaturized components to enable continuous monitoring or therapeutic functions while maintaining patient comfort and safety.
- Flexible and wearable bioelectronic sensors: Flexible and wearable bioelectronic interfaces that conform to the body's contours for non-invasive monitoring. These sensors utilize stretchable electronics, conductive polymers, and thin-film technologies to create comfortable, skin-adherent devices that can measure various physiological parameters. The flexibility allows for better contact with biological tissues, improving signal quality while enabling practical everyday use outside clinical settings.
- Nanomaterial-based bioelectronic interfaces: Bioelectronic interfaces incorporating nanomaterials such as carbon nanotubes, graphene, and quantum dots to enhance performance. These nanomaterials provide improved electrical conductivity, increased surface area for biological interaction, and enhanced signal transduction capabilities. The nanoscale dimensions enable more precise interfacing with cellular components, allowing for higher resolution sensing and more targeted stimulation of biological tissues.
- Enzyme-mediated bioelectronic signal transduction: Bioelectronic interfaces that utilize enzymes as biological recognition elements for signal transduction. These systems employ enzymes to catalyze specific reactions that generate measurable electrical signals in response to target analytes. The enzyme-mediated approach provides high selectivity and sensitivity for biosensing applications, enabling the detection of various biomolecules including glucose, neurotransmitters, and metabolites in complex biological environments.
02 Implantable bioelectronic devices
Implantable bioelectronic interfaces designed for long-term integration with biological tissues. These devices are engineered with biocompatible materials and specialized coatings to minimize immune response and enhance tissue integration. The technology includes power management systems, wireless communication capabilities, and miniaturized components that enable continuous operation within the body for therapeutic or monitoring purposes.Expand Specific Solutions03 Flexible and wearable bioelectronic sensors
Flexible and wearable bioelectronic interfaces that conform to biological surfaces for non-invasive monitoring. These sensors utilize stretchable electronics, conductive polymers, and thin-film technologies to create comfortable, skin-adherent devices. The interfaces can monitor various physiological parameters including electrical signals, biochemical markers, and mechanical movements, providing continuous health data without restricting user mobility.Expand Specific Solutions04 Nanomaterial-based bioelectronic interfaces
Advanced bioelectronic interfaces utilizing nanomaterials to enhance sensitivity and biocompatibility. These interfaces incorporate carbon nanotubes, graphene, quantum dots, or metallic nanoparticles to create high-performance sensing elements with nanoscale dimensions. The nanomaterial components provide increased surface area, improved electrical conductivity, and enhanced interaction with biological molecules, resulting in more sensitive and selective bioelectronic devices.Expand Specific Solutions05 Bioelectronic interfaces for drug delivery
Bioelectronic interfaces designed specifically for controlled drug delivery applications. These systems combine electronic components with biological interfaces to enable precise temporal and spatial control over therapeutic agent release. The technology incorporates stimuli-responsive materials, microfluidic channels, and electronic control circuits that can be triggered by specific biological signals or external commands to deliver medications exactly when and where needed.Expand Specific Solutions
Leading Organizations in Environmental Bioelectronics
The bioelectronic interface field in environmental protection is currently in its growth phase, with an estimated market size of $2-3 billion and projected annual growth of 15-20%. The competitive landscape features established analytical instrumentation companies like Agilent Technologies and Shin-Etsu Chemical alongside emerging specialized players such as Xsensio. Academic institutions, including MIT, Harvard, and Zhejiang University, are driving fundamental research, while corporate giants like IBM and Philips are leveraging their technological capabilities to develop integrated solutions. The technology maturity varies significantly across applications, with water quality monitoring systems reaching commercial deployment while soil contaminant detection platforms remain largely experimental, creating opportunities for cross-sector collaborations between industry leaders and research institutions.
AGILENT TECHNOLOGIES INC
Technical Solution: Agilent has developed advanced bioelectronic sensing platforms for environmental monitoring that integrate microfluidics with electrochemical detection systems. Their technology utilizes specialized biosensors with immobilized enzymes and antibodies on electrode surfaces to detect environmental contaminants with high specificity. The company's environmental bioelectronic interfaces employ impedance-based detection methods that can identify trace amounts of pollutants in water, soil, and air samples. Agilent's systems feature multiplexed sensor arrays capable of simultaneous detection of multiple analytes, with integrated data processing algorithms that filter background noise and enhance signal quality. Their portable field-deployable units incorporate wireless connectivity for real-time environmental monitoring networks, allowing for comprehensive pollution mapping across large geographical areas.
Strengths: High sensitivity detection capabilities with parts-per-billion accuracy for many environmental contaminants; robust quality control and calibration protocols ensuring reliable field performance. Weaknesses: Higher cost compared to conventional testing methods; requires specialized training for operation and maintenance of sophisticated bioelectronic systems.
Xsensio SA
Technical Solution: Xsensio has developed a groundbreaking Lab-on-Skin™ sensing platform that adapts bioelectronic interface technology for environmental monitoring applications. Their system utilizes ultra-thin, flexible electronic sensors that can detect environmental pollutants through direct contact with environmental samples or through biomarkers in human sweat that indicate environmental exposure. The company's proprietary nano-scale sensors employ CMOS-compatible fabrication techniques to create highly miniaturized detection systems with extremely low power consumption. Xsensio's technology incorporates specialized biochemical receptors that interact with target environmental compounds, generating electrical signals proportional to contaminant concentration. Their system features real-time data processing capabilities that can alert users to dangerous exposure levels immediately. The platform includes secure cloud connectivity for aggregating environmental exposure data across populations, enabling large-scale environmental health monitoring programs that can identify pollution hotspots and track remediation efforts over time.
Strengths: Unique wearable form factor allows for personal environmental exposure monitoring; highly miniaturized sensors enable deployment in previously inaccessible environments. Weaknesses: Limited to detecting compounds that can interact with the skin interface or be sampled directly; relatively new technology with evolving validation in environmental applications beyond personal exposure monitoring.
Key Innovations in Eco-friendly Bioelectronic Interfaces
Method for biologically monitoring the environment (variants)and a system for carrying out said method
PatentInactiveEP2056092A1
Innovation
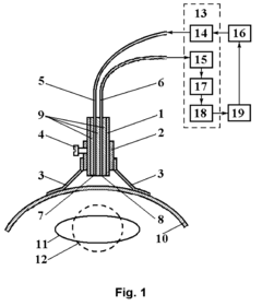
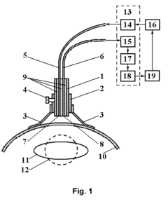
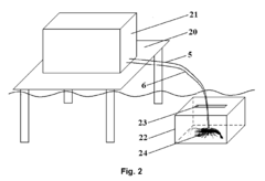
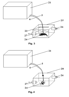
- The method employs invertebrates with hard outer coverings, such as crabs and mollusks, exposed to IR optical radiation via optical fibers, with digital filtration and statistical analysis of cardiac activity signals to determine ecological danger, reducing the need for invasive sensors and improving signal stability.
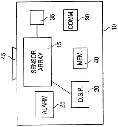
Chemical and biological agent sensor array
PatentWO2005106760A2
Innovation
- Development of portable and wearable detector systems using non-specific sensor arrays with polymer-composite sensors that are stable in moisture, low-power, and analyte-general, capable of detecting a wide range of environmental threats, including toxic industrial chemicals, chemical warfare agents, and biological warfare agents, with features such as audible and inaudible alarms, datalogging, and long battery life.
Sustainability Impact Assessment
The integration of bioelectronic interfaces in environmental protection systems represents a significant advancement in sustainable technology development. When assessing the sustainability impact of these interfaces, multiple dimensions must be considered to ensure comprehensive evaluation. The environmental benefits are substantial, with bioelectronic monitoring systems enabling real-time detection of pollutants at previously unattainable sensitivity levels. These systems can identify contaminants at parts-per-billion concentrations, allowing for immediate intervention before environmental damage becomes severe.
From an economic perspective, bioelectronic interfaces offer promising cost-efficiency over traditional environmental monitoring methods. Initial implementation costs may be higher, but the long-term operational expenses are significantly reduced due to lower maintenance requirements and extended service life. Studies indicate potential cost savings of 30-40% over five-year deployment periods compared to conventional chemical testing methods, particularly in water quality monitoring applications.
The social dimension of sustainability is equally important, as these technologies can democratize environmental monitoring by enabling community-based sensing networks. Local communities equipped with bioelectronic sensors can participate in environmental governance, fostering greater public engagement in sustainability initiatives and environmental justice efforts. This participatory approach has shown increased compliance with environmental regulations in pilot programs across several regions.
Resource efficiency represents another critical sustainability factor. Bioelectronic interfaces typically require minimal material inputs during operation compared to chemical-based monitoring systems. Many designs incorporate biodegradable components and energy harvesting capabilities, further reducing their environmental footprint. Recent advancements have produced sensors that can operate on microwatt power levels, enabling solar or ambient energy harvesting sufficient for continuous operation.
Long-term ecological impacts must also be carefully assessed. While bioelectronic interfaces generally present lower environmental risks than chemical alternatives, considerations regarding end-of-life disposal and potential electronic waste remain important. Research indicates that properly designed bioelectronic systems can achieve up to 80% recyclability, though this varies significantly based on specific materials and configurations.
The resilience and adaptability of these systems in changing environmental conditions further enhance their sustainability profile. Modern bioelectronic interfaces can maintain functionality across wide temperature ranges and varying pH levels, ensuring consistent performance in diverse environmental settings. This adaptability extends their effective operational lifespan and reduces replacement frequency, contributing to overall resource conservation and sustainability.
From an economic perspective, bioelectronic interfaces offer promising cost-efficiency over traditional environmental monitoring methods. Initial implementation costs may be higher, but the long-term operational expenses are significantly reduced due to lower maintenance requirements and extended service life. Studies indicate potential cost savings of 30-40% over five-year deployment periods compared to conventional chemical testing methods, particularly in water quality monitoring applications.
The social dimension of sustainability is equally important, as these technologies can democratize environmental monitoring by enabling community-based sensing networks. Local communities equipped with bioelectronic sensors can participate in environmental governance, fostering greater public engagement in sustainability initiatives and environmental justice efforts. This participatory approach has shown increased compliance with environmental regulations in pilot programs across several regions.
Resource efficiency represents another critical sustainability factor. Bioelectronic interfaces typically require minimal material inputs during operation compared to chemical-based monitoring systems. Many designs incorporate biodegradable components and energy harvesting capabilities, further reducing their environmental footprint. Recent advancements have produced sensors that can operate on microwatt power levels, enabling solar or ambient energy harvesting sufficient for continuous operation.
Long-term ecological impacts must also be carefully assessed. While bioelectronic interfaces generally present lower environmental risks than chemical alternatives, considerations regarding end-of-life disposal and potential electronic waste remain important. Research indicates that properly designed bioelectronic systems can achieve up to 80% recyclability, though this varies significantly based on specific materials and configurations.
The resilience and adaptability of these systems in changing environmental conditions further enhance their sustainability profile. Modern bioelectronic interfaces can maintain functionality across wide temperature ranges and varying pH levels, ensuring consistent performance in diverse environmental settings. This adaptability extends their effective operational lifespan and reduces replacement frequency, contributing to overall resource conservation and sustainability.
Regulatory Framework for Bioelectronic Environmental Applications
The regulatory landscape for bioelectronic interfaces in environmental protection is evolving rapidly as these innovative technologies gain traction. Current frameworks primarily address three key areas: device approval processes, environmental deployment standards, and data management regulations. In the United States, the Environmental Protection Agency (EPA) has established preliminary guidelines for bioelectronic sensors under the Clean Water Act and Clean Air Act, requiring rigorous validation protocols before field deployment. Similarly, the European Union's Environmental Monitoring Framework incorporates bioelectronic devices under its 2023 amendment, emphasizing performance standards and calibration requirements.
International standards organizations, including ISO and IEEE, have developed technical specifications (ISO/TS 23810 and IEEE 2791) specifically addressing bioelectronic interfaces for environmental applications, focusing on measurement accuracy, durability in field conditions, and cross-platform compatibility. These standards serve as critical benchmarks for manufacturers and researchers developing new environmental monitoring solutions.
Regulatory challenges remain significant, particularly regarding the classification of hybrid biological-electronic systems. Current regulations often struggle to categorize these technologies, creating approval bottlenecks. The FDA-EPA Joint Working Group on Bioelectronic Environmental Sensors, established in 2022, aims to streamline this process by developing specialized approval pathways for environmental bioelectronic interfaces.
Data privacy and security regulations present another complex dimension, as environmental bioelectronic networks often collect geographically sensitive information. The Environmental Data Protection Act (proposed in several jurisdictions) would establish specific protocols for handling data from distributed bioelectronic sensor networks, addressing concerns about unauthorized access to critical environmental infrastructure information.
Liability frameworks remain underdeveloped, with ongoing debates about responsibility allocation when bioelectronic interfaces malfunction or produce inaccurate environmental readings. The International Environmental Monitoring Accord of 2024 proposes a shared responsibility model between manufacturers, operators, and regulatory bodies, though implementation varies significantly across jurisdictions.
Looking forward, regulatory harmonization represents a critical need. The Global Bioelectronic Standards Initiative, supported by 28 countries, aims to establish unified protocols for testing, deployment, and maintenance of environmental bioelectronic interfaces by 2026. This initiative recognizes that inconsistent regulations currently impede technology transfer and international collaboration, particularly for addressing transboundary environmental challenges that require coordinated monitoring solutions.
International standards organizations, including ISO and IEEE, have developed technical specifications (ISO/TS 23810 and IEEE 2791) specifically addressing bioelectronic interfaces for environmental applications, focusing on measurement accuracy, durability in field conditions, and cross-platform compatibility. These standards serve as critical benchmarks for manufacturers and researchers developing new environmental monitoring solutions.
Regulatory challenges remain significant, particularly regarding the classification of hybrid biological-electronic systems. Current regulations often struggle to categorize these technologies, creating approval bottlenecks. The FDA-EPA Joint Working Group on Bioelectronic Environmental Sensors, established in 2022, aims to streamline this process by developing specialized approval pathways for environmental bioelectronic interfaces.
Data privacy and security regulations present another complex dimension, as environmental bioelectronic networks often collect geographically sensitive information. The Environmental Data Protection Act (proposed in several jurisdictions) would establish specific protocols for handling data from distributed bioelectronic sensor networks, addressing concerns about unauthorized access to critical environmental infrastructure information.
Liability frameworks remain underdeveloped, with ongoing debates about responsibility allocation when bioelectronic interfaces malfunction or produce inaccurate environmental readings. The International Environmental Monitoring Accord of 2024 proposes a shared responsibility model between manufacturers, operators, and regulatory bodies, though implementation varies significantly across jurisdictions.
Looking forward, regulatory harmonization represents a critical need. The Global Bioelectronic Standards Initiative, supported by 28 countries, aims to establish unified protocols for testing, deployment, and maintenance of environmental bioelectronic interfaces by 2026. This initiative recognizes that inconsistent regulations currently impede technology transfer and international collaboration, particularly for addressing transboundary environmental challenges that require coordinated monitoring solutions.
Unlock deeper insights with Patsnap Eureka Quick Research — get a full tech report to explore trends and direct your research. Try now!
Generate Your Research Report Instantly with AI Agent
Supercharge your innovation with Patsnap Eureka AI Agent Platform!







