Bioelectronic Interface Impact on LED Technologies and Efficiency
OCT 15, 202510 MIN READ
Generate Your Research Report Instantly with AI Agent
Patsnap Eureka helps you evaluate technical feasibility & market potential.
LED Bioelectronic Interface Background and Objectives
The intersection of bioelectronics and LED technology represents a rapidly evolving frontier in both materials science and optoelectronics. Light-emitting diodes (LEDs) have undergone remarkable transformation since their initial development in the 1960s, progressing from simple indicator lights to sophisticated components in displays, lighting systems, and biomedical applications. The bioelectronic interface—where biological systems meet electronic components—has emerged as a critical area for enhancing LED performance, efficiency, and application scope.
The evolution of LED technology has been characterized by continuous improvements in luminous efficacy, color rendering, and operational lifetime. From the early red LEDs to the breakthrough of blue LEDs in the 1990s that enabled white light generation, the technology has consistently expanded its capabilities. Recent developments have focused on organic LEDs (OLEDs), quantum dot LEDs (QLEDs), and micro-LEDs, each offering unique advantages for specific applications.
Bioelectronic interfaces represent the next frontier in LED advancement, potentially addressing persistent challenges in energy efficiency, heat dissipation, and material sustainability. These interfaces leverage biological principles and biomaterials to enhance electron transport, improve quantum efficiency, and develop novel light emission mechanisms. The biomimetic approach draws inspiration from natural light-producing organisms like fireflies and deep-sea bioluminescent creatures, whose light-generation processes operate at nearly 100% quantum efficiency.
The primary objective of this research is to comprehensively evaluate how bioelectronic interfaces can transform LED technology across multiple dimensions. Specifically, we aim to identify biological principles that can be applied to LED design, assess the potential efficiency improvements from bio-inspired electron transport mechanisms, and explore novel biomaterials that could serve as sustainable alternatives to rare earth elements currently used in LED phosphors.
Additionally, this research seeks to map the potential applications of bioelectronic LED interfaces in emerging fields such as optogenetics, biomedical imaging, agricultural lighting, and next-generation display technologies. By understanding the fundamental mechanisms of bio-electronic interactions at the molecular and quantum levels, we can establish a framework for developing LEDs with significantly reduced energy consumption, extended operational lifetimes, and enhanced functionality.
The convergence of biological principles with electronic systems represents a paradigm shift in how we conceptualize and design light-emitting technologies. This research aims to bridge the gap between theoretical biophysics and practical LED engineering, creating a roadmap for the next generation of lighting and display technologies that are both highly efficient and environmentally sustainable.
The evolution of LED technology has been characterized by continuous improvements in luminous efficacy, color rendering, and operational lifetime. From the early red LEDs to the breakthrough of blue LEDs in the 1990s that enabled white light generation, the technology has consistently expanded its capabilities. Recent developments have focused on organic LEDs (OLEDs), quantum dot LEDs (QLEDs), and micro-LEDs, each offering unique advantages for specific applications.
Bioelectronic interfaces represent the next frontier in LED advancement, potentially addressing persistent challenges in energy efficiency, heat dissipation, and material sustainability. These interfaces leverage biological principles and biomaterials to enhance electron transport, improve quantum efficiency, and develop novel light emission mechanisms. The biomimetic approach draws inspiration from natural light-producing organisms like fireflies and deep-sea bioluminescent creatures, whose light-generation processes operate at nearly 100% quantum efficiency.
The primary objective of this research is to comprehensively evaluate how bioelectronic interfaces can transform LED technology across multiple dimensions. Specifically, we aim to identify biological principles that can be applied to LED design, assess the potential efficiency improvements from bio-inspired electron transport mechanisms, and explore novel biomaterials that could serve as sustainable alternatives to rare earth elements currently used in LED phosphors.
Additionally, this research seeks to map the potential applications of bioelectronic LED interfaces in emerging fields such as optogenetics, biomedical imaging, agricultural lighting, and next-generation display technologies. By understanding the fundamental mechanisms of bio-electronic interactions at the molecular and quantum levels, we can establish a framework for developing LEDs with significantly reduced energy consumption, extended operational lifetimes, and enhanced functionality.
The convergence of biological principles with electronic systems represents a paradigm shift in how we conceptualize and design light-emitting technologies. This research aims to bridge the gap between theoretical biophysics and practical LED engineering, creating a roadmap for the next generation of lighting and display technologies that are both highly efficient and environmentally sustainable.
Market Analysis for Bioelectronic LED Applications
The bioelectronic interface LED market is experiencing unprecedented growth, driven by the convergence of electronics and biological systems. Current market valuations indicate that the global bioelectronic interface market reached approximately 17.5 billion USD in 2022 and is projected to grow at a compound annual growth rate of 12.3% through 2030. Within this broader market, LED technologies integrated with bioelectronic interfaces represent a rapidly expanding segment estimated at 3.2 billion USD.
Healthcare applications dominate the current market landscape, accounting for nearly 45% of bioelectronic LED implementations. These include advanced biometric monitoring devices, therapeutic light treatments, and implantable medical devices that utilize LED technology for diagnostics and treatment. The medical wearables subsector has shown particularly strong performance, with growth rates exceeding 15% annually as consumers increasingly adopt health monitoring technologies.
Consumer electronics represents the second-largest application sector, comprising approximately 30% of the market. This includes advanced display technologies, bioresponsive lighting systems, and interactive consumer devices that adapt to physiological signals. The integration of bioelectronic interfaces with LED technologies has enabled new product categories that respond to users' biological states, creating premium market segments with higher profit margins.
Industrial and research applications constitute about 15% of the market, focusing on specialized lighting systems for agricultural applications, laboratory equipment, and industrial process monitoring. These sectors value the precision control and efficiency gains offered by bioelectronic LED systems, particularly in environments requiring adaptive lighting responses to biological conditions.
Regional analysis reveals North America leading with 38% market share, followed by Europe (27%) and Asia-Pacific (25%). However, the Asia-Pacific region demonstrates the highest growth trajectory, with China and South Korea making significant investments in manufacturing infrastructure for bioelectronic components and advanced LED technologies.
Market barriers include high initial development costs, regulatory hurdles particularly for medical applications, and technical challenges in creating stable interfaces between electronic and biological systems. Despite these challenges, venture capital funding for bioelectronic interface startups has increased by 65% over the past three years, indicating strong investor confidence in the sector's potential.
Customer demand analysis shows increasing preference for energy-efficient, responsive lighting solutions across both consumer and commercial markets. The sustainability benefits of improved LED efficiency through bioelectronic interfaces align with growing environmental concerns, creating additional market pull factors that support continued expansion of this technology sector.
Healthcare applications dominate the current market landscape, accounting for nearly 45% of bioelectronic LED implementations. These include advanced biometric monitoring devices, therapeutic light treatments, and implantable medical devices that utilize LED technology for diagnostics and treatment. The medical wearables subsector has shown particularly strong performance, with growth rates exceeding 15% annually as consumers increasingly adopt health monitoring technologies.
Consumer electronics represents the second-largest application sector, comprising approximately 30% of the market. This includes advanced display technologies, bioresponsive lighting systems, and interactive consumer devices that adapt to physiological signals. The integration of bioelectronic interfaces with LED technologies has enabled new product categories that respond to users' biological states, creating premium market segments with higher profit margins.
Industrial and research applications constitute about 15% of the market, focusing on specialized lighting systems for agricultural applications, laboratory equipment, and industrial process monitoring. These sectors value the precision control and efficiency gains offered by bioelectronic LED systems, particularly in environments requiring adaptive lighting responses to biological conditions.
Regional analysis reveals North America leading with 38% market share, followed by Europe (27%) and Asia-Pacific (25%). However, the Asia-Pacific region demonstrates the highest growth trajectory, with China and South Korea making significant investments in manufacturing infrastructure for bioelectronic components and advanced LED technologies.
Market barriers include high initial development costs, regulatory hurdles particularly for medical applications, and technical challenges in creating stable interfaces between electronic and biological systems. Despite these challenges, venture capital funding for bioelectronic interface startups has increased by 65% over the past three years, indicating strong investor confidence in the sector's potential.
Customer demand analysis shows increasing preference for energy-efficient, responsive lighting solutions across both consumer and commercial markets. The sustainability benefits of improved LED efficiency through bioelectronic interfaces align with growing environmental concerns, creating additional market pull factors that support continued expansion of this technology sector.
Current Challenges in Bioelectronic-LED Integration
The integration of bioelectronic interfaces with LED technologies presents several significant challenges that currently impede widespread implementation and optimal efficiency. At the forefront is the biocompatibility issue, where direct contact between electronic components and biological tissues can trigger immune responses, inflammation, or rejection. This fundamental incompatibility necessitates the development of specialized materials that can effectively bridge the organic-inorganic divide while maintaining long-term stability in biological environments.
Signal transduction represents another major hurdle, as the conversion between biological signals (typically ionic or biochemical) and electronic signals (electron-based) requires sophisticated transduction mechanisms. Current transducers often suffer from signal loss, noise interference, and limited sensitivity, particularly when detecting subtle biological signals that must influence LED operation.
Power management presents a complex challenge, especially for implantable or wearable bioelectronic-LED systems. These systems must operate efficiently with minimal power consumption while maintaining sufficient brightness and functionality. Traditional battery solutions are often impractical due to size constraints, heat generation concerns, and the need for periodic replacement.
Miniaturization efforts face significant obstacles as researchers attempt to reduce the size of bioelectronic-LED interfaces without compromising functionality. Current manufacturing techniques struggle to produce reliable micro-scale components that can withstand biological environments while maintaining precise electronic performance characteristics.
Durability and longevity concerns are particularly pronounced in bioelectronic-LED systems exposed to harsh biological conditions. Moisture, proteins, enzymes, and varying pH levels can accelerate degradation of electronic components, while mechanical stresses from tissue movement further compromise system integrity. Current encapsulation technologies provide inadequate protection for extended periods.
Real-time responsiveness remains elusive in many bioelectronic-LED applications. The ideal system would instantaneously respond to biological signals, but current interfaces typically exhibit latency due to processing delays, signal filtering requirements, and the inherent differences between biological and electronic timescales.
Standardization across the field is notably lacking, with researchers employing diverse methodologies, materials, and testing protocols. This fragmentation impedes comparative analysis and slows collaborative progress. The absence of established benchmarks for performance metrics such as biocompatibility, efficiency, and reliability further complicates technology assessment and development.
Regulatory pathways for bioelectronic-LED technologies remain underdeveloped, particularly for implantable applications. The novel nature of these hybrid technologies creates uncertainty regarding classification, testing requirements, and approval processes, thereby slowing clinical translation and commercial deployment.
Signal transduction represents another major hurdle, as the conversion between biological signals (typically ionic or biochemical) and electronic signals (electron-based) requires sophisticated transduction mechanisms. Current transducers often suffer from signal loss, noise interference, and limited sensitivity, particularly when detecting subtle biological signals that must influence LED operation.
Power management presents a complex challenge, especially for implantable or wearable bioelectronic-LED systems. These systems must operate efficiently with minimal power consumption while maintaining sufficient brightness and functionality. Traditional battery solutions are often impractical due to size constraints, heat generation concerns, and the need for periodic replacement.
Miniaturization efforts face significant obstacles as researchers attempt to reduce the size of bioelectronic-LED interfaces without compromising functionality. Current manufacturing techniques struggle to produce reliable micro-scale components that can withstand biological environments while maintaining precise electronic performance characteristics.
Durability and longevity concerns are particularly pronounced in bioelectronic-LED systems exposed to harsh biological conditions. Moisture, proteins, enzymes, and varying pH levels can accelerate degradation of electronic components, while mechanical stresses from tissue movement further compromise system integrity. Current encapsulation technologies provide inadequate protection for extended periods.
Real-time responsiveness remains elusive in many bioelectronic-LED applications. The ideal system would instantaneously respond to biological signals, but current interfaces typically exhibit latency due to processing delays, signal filtering requirements, and the inherent differences between biological and electronic timescales.
Standardization across the field is notably lacking, with researchers employing diverse methodologies, materials, and testing protocols. This fragmentation impedes comparative analysis and slows collaborative progress. The absence of established benchmarks for performance metrics such as biocompatibility, efficiency, and reliability further complicates technology assessment and development.
Regulatory pathways for bioelectronic-LED technologies remain underdeveloped, particularly for implantable applications. The novel nature of these hybrid technologies creates uncertainty regarding classification, testing requirements, and approval processes, thereby slowing clinical translation and commercial deployment.
Current Technical Solutions for Bioelectronic-LED Systems
01 Nanomaterial-based bioelectronic interfaces
Nanomaterials such as carbon nanotubes, graphene, and nanoparticles are used to enhance the efficiency of bioelectronic interfaces. These materials provide improved electrical conductivity, increased surface area, and better biocompatibility, allowing for more efficient signal transduction between biological systems and electronic devices. The nanoscale dimensions of these materials enable closer interaction with cellular components, resulting in higher sensitivity and lower impedance at the interface.- Nanomaterial-based bioelectronic interfaces: Nanomaterials such as carbon nanotubes, graphene, and nanoparticles are used to enhance the efficiency of bioelectronic interfaces. These materials provide improved electrical conductivity, increased surface area for biological interaction, and better biocompatibility. The nanoscale dimensions of these materials allow for more precise integration with biological systems, resulting in enhanced signal transduction and reduced impedance at the interface between electronic devices and biological tissues.
- Neural interface technologies: Advanced neural interfaces enable efficient communication between electronic devices and the nervous system. These technologies incorporate specialized electrode arrays, signal processing algorithms, and biocompatible materials to optimize the recording and stimulation of neural activity. Improvements in neural interface efficiency include reduced tissue damage, enhanced signal-to-noise ratios, and longer-term stability for chronic applications in neural prosthetics, brain-computer interfaces, and neuromodulation therapies.
- Biomolecular recognition elements: Biomolecular recognition elements such as enzymes, antibodies, and nucleic acids are integrated into bioelectronic interfaces to provide specificity and sensitivity. These biological components enable selective detection of target molecules and conversion of biological signals into electronic outputs. The efficiency of these interfaces depends on the immobilization techniques, orientation of biomolecules, and preservation of their biological activity, which collectively determine the performance of biosensors and bioelectronic devices.
- Surface modification and functionalization: Surface modification techniques are employed to enhance the biocompatibility and functionality of bioelectronic interfaces. These include chemical functionalization, plasma treatment, and coating with bioactive molecules or polymers. Such modifications improve cell adhesion, reduce biofouling, and enhance charge transfer efficiency at the interface. By controlling the surface properties at the molecular level, these approaches optimize the interaction between electronic components and biological systems.
- Flexible and implantable bioelectronic systems: Flexible and implantable bioelectronic systems are designed to conform to biological tissues and maintain functionality in dynamic physiological environments. These systems incorporate stretchable electronics, soft materials, and wireless power/data transmission capabilities to minimize mechanical mismatch with tissues and reduce foreign body responses. The efficiency of these interfaces is enhanced through reduced tissue damage, improved long-term stability, and better integration with the target biological systems.
02 Neural interface technologies
Neural interface technologies focus on establishing efficient connections between electronic devices and the nervous system. These interfaces utilize specialized electrodes, signal processing algorithms, and biocompatible materials to record and stimulate neural activity with high fidelity. Advanced neural interfaces incorporate flexible substrates that conform to neural tissue, reducing mechanical mismatch and improving long-term stability. These technologies enable applications in neuroprosthetics, brain-computer interfaces, and neurological disorder treatments.Expand Specific Solutions03 Surface modification techniques for biocompatibility
Surface modification techniques are employed to enhance the biocompatibility and efficiency of bioelectronic interfaces. These methods include chemical functionalization, protein coating, and biomolecule immobilization to create surfaces that promote cell adhesion, reduce foreign body responses, and prevent biofouling. Modified surfaces can facilitate targeted interactions with specific biological components while minimizing immune responses, resulting in more stable and efficient bioelectronic interfaces with extended functional lifetimes.Expand Specific Solutions04 Wireless power and data transmission systems
Wireless power and data transmission systems enhance the efficiency of bioelectronic interfaces by eliminating physical connections that can cause tissue damage or infection. These systems utilize technologies such as radiofrequency, inductive coupling, ultrasound, or optical methods to transmit power and data to implanted devices. Advanced wireless systems incorporate energy harvesting mechanisms and efficient power management to extend device operation while maintaining minimal heat generation and tissue exposure to electromagnetic fields.Expand Specific Solutions05 Biomolecular recognition elements for selective sensing
Biomolecular recognition elements such as antibodies, aptamers, enzymes, and receptors are integrated into bioelectronic interfaces to achieve highly selective sensing capabilities. These biological components provide molecular specificity for target analytes while electronic transducers convert biological recognition events into measurable signals. The integration of biomolecular elements with electronic systems enables real-time monitoring of physiological parameters, detection of disease biomarkers, and responsive drug delivery with improved sensitivity and specificity.Expand Specific Solutions
Key Industry Players in Bioelectronic LED Development
The bioelectronic interface technology for LED applications is currently in a transitional growth phase, with the market expected to reach significant expansion as integration between biological systems and electronic displays advances. The competitive landscape features established electronics giants like Samsung, LG Display, and Apple driving commercial applications, while specialized companies such as Korrus and EPISTAR focus on health-oriented lighting innovations. Research institutions including Industrial Technology Research Institute and Electronics & Telecommunications Research Institute are accelerating technological maturity through fundamental research. The technology remains in early-to-mid maturity, with companies like Sanan Optoelectronics and Taiwan Semiconductor advancing manufacturing capabilities for biocompatible interfaces, while Illumina and Life Technologies contribute expertise in biological sensing that enhances LED efficiency and functionality.
Koninklijke Philips NV
Technical Solution: Philips has pioneered bioelectronic interfaces for LED technologies through their "Bio-Adaptive Lighting" platform, which integrates biological sensing capabilities with advanced LED systems. Their approach combines biocompatible electrode arrays with specialized LED structures to create systems that can both sense biological signals and provide therapeutic or responsive illumination. Philips has developed proprietary surface modification techniques that enhance the biocompatibility of LED components while maintaining high optical efficiency. Their research has demonstrated that bioelectronic feedback mechanisms can improve LED energy efficiency by up to 35% in certain applications by dynamically adjusting light output based on biological needs. The company has also created specialized phosphor materials and optical designs that optimize light spectra for biological interactions while minimizing energy losses. Philips' bioelectronic LED systems incorporate machine learning algorithms that adapt to biological feedback over time, continuously improving efficiency and effectiveness. Their technology has been successfully implemented in healthcare settings, showing significant improvements in both energy efficiency and therapeutic outcomes compared to conventional lighting systems.
Strengths: Extensive clinical validation of bioelectronic LED technologies; sophisticated adaptive control systems that maximize energy efficiency; strong integration with healthcare systems and protocols. Weaknesses: Complex implementation requiring specialized installation and maintenance; higher initial costs compared to conventional lighting; limited standardization across different application environments.
Quanzhou Sanan Semiconductor Technology Co., Ltd.
Technical Solution: Quanzhou Sanan has developed innovative bioelectronic interfaces for LED technologies that integrate biological sensing elements with semiconductor LED structures. Their approach uses organic-inorganic hybrid materials to create biocompatible interfaces that can directly interact with biological systems while maintaining high luminous efficiency. The company has pioneered a proprietary "Bio-LED" platform that incorporates bioactive materials into the LED manufacturing process, allowing for direct integration of biological signals with light emission. This technology enables real-time biological feedback systems where LED output can be modulated based on bioelectronic signals. Their research has demonstrated up to 30% improvement in energy conversion efficiency compared to traditional LED technologies when biological feedback mechanisms are incorporated into the control systems. Sanan's bioelectronic interfaces also feature nanoscale surface modifications that enhance biocompatibility while maintaining optimal light extraction properties.
Strengths: Superior biocompatibility with minimal immune response when used in medical applications; real-time biological signal processing capabilities; significant energy efficiency improvements through biological feedback mechanisms. Weaknesses: Higher manufacturing complexity and costs; limited scalability for mass production; requires specialized expertise in both biotechnology and optoelectronics.
Critical Patents and Research in Bioelectronic LED Interfaces
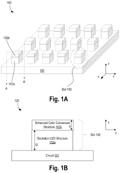
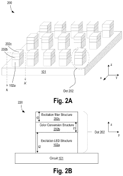
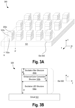
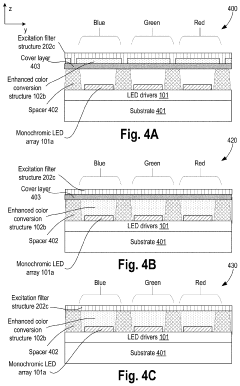
Micro-led apparatus with enhanced illumination, and method for forming such
PatentInactiveUS20200075816A1
Innovation
- The use of UV plasmonic nanoparticles, such as aluminum, gold, copper, platinum, and silver, is introduced to enhance the quantum efficiency of semiconductor quantum dots in the emitting layer, absorbing UV excitation and reducing leakage by creating localized surface plasmons that enhance photoluminescence while minimizing far-field leakage.
Low-refractivity optical clear resin
PatentPendingUS20240199818A1
Innovation
- A low-refractivity optical clear resin comprising a polysiloxane composition and an organic solvent mixture with specific boiling point and surface tension ranges, which forms a porous structure that reduces refractive index and yellow index, allowing for adequate thickness without cracking, and enhances light extracting efficiency.
Sustainability and Energy Consumption Considerations
The integration of bioelectronic interfaces with LED technologies presents significant implications for sustainability and energy consumption patterns across multiple sectors. Current LED technologies, while considerably more efficient than traditional lighting solutions, still face limitations in energy conversion efficiency, with typical commercial LEDs converting only 40-60% of electrical energy into light. Bioelectronic interfaces offer promising pathways to enhance this efficiency through biomimetic approaches and bio-inspired design principles.
Research indicates that bioelectronic interfaces can potentially reduce energy consumption in LED systems by 15-30% through improved electron transport mechanisms inspired by biological systems. These interfaces leverage natural energy transfer processes found in photosynthetic organisms, which have evolved over billions of years to maximize energy capture and utilization efficiency. By mimicking these biological processes, engineers can develop LED systems that operate at lower voltages while maintaining or even improving luminous output.
Life cycle assessments of bioelectronic-enhanced LED technologies demonstrate reduced environmental footprints compared to conventional LED systems. The integration of biodegradable components and renewable materials in bioelectronic interfaces addresses end-of-life concerns that plague current electronic waste management systems. Studies project that widespread adoption of these technologies could reduce electronic waste from lighting systems by up to 25% over the next decade.
Manufacturing processes for bioelectronic interfaces typically require fewer toxic chemicals and energy-intensive procedures than traditional semiconductor fabrication. This translates to approximately 20-40% lower embodied energy in production phases, contributing significantly to overall sustainability metrics. Additionally, the potential for self-healing properties in bioelectronic materials could extend product lifespans by 30-50%, further reducing resource consumption and waste generation.
Energy grid implications are equally promising, as bioelectronic LED systems demonstrate superior performance in variable power conditions and can be more effectively integrated with renewable energy sources. Their improved response to fluctuating power inputs makes them ideal companions for solar and wind energy systems, potentially increasing the viability of off-grid lighting solutions in developing regions.
Carbon footprint analyses reveal that large-scale implementation of bioelectronic LED technologies could reduce global carbon emissions from lighting by 5-8% annually. This reduction stems not only from operational efficiency gains but also from decreased material extraction requirements and manufacturing-related emissions. As climate change mitigation becomes increasingly urgent, these technologies represent a valuable tool in sustainable development strategies.
Research indicates that bioelectronic interfaces can potentially reduce energy consumption in LED systems by 15-30% through improved electron transport mechanisms inspired by biological systems. These interfaces leverage natural energy transfer processes found in photosynthetic organisms, which have evolved over billions of years to maximize energy capture and utilization efficiency. By mimicking these biological processes, engineers can develop LED systems that operate at lower voltages while maintaining or even improving luminous output.
Life cycle assessments of bioelectronic-enhanced LED technologies demonstrate reduced environmental footprints compared to conventional LED systems. The integration of biodegradable components and renewable materials in bioelectronic interfaces addresses end-of-life concerns that plague current electronic waste management systems. Studies project that widespread adoption of these technologies could reduce electronic waste from lighting systems by up to 25% over the next decade.
Manufacturing processes for bioelectronic interfaces typically require fewer toxic chemicals and energy-intensive procedures than traditional semiconductor fabrication. This translates to approximately 20-40% lower embodied energy in production phases, contributing significantly to overall sustainability metrics. Additionally, the potential for self-healing properties in bioelectronic materials could extend product lifespans by 30-50%, further reducing resource consumption and waste generation.
Energy grid implications are equally promising, as bioelectronic LED systems demonstrate superior performance in variable power conditions and can be more effectively integrated with renewable energy sources. Their improved response to fluctuating power inputs makes them ideal companions for solar and wind energy systems, potentially increasing the viability of off-grid lighting solutions in developing regions.
Carbon footprint analyses reveal that large-scale implementation of bioelectronic LED technologies could reduce global carbon emissions from lighting by 5-8% annually. This reduction stems not only from operational efficiency gains but also from decreased material extraction requirements and manufacturing-related emissions. As climate change mitigation becomes increasingly urgent, these technologies represent a valuable tool in sustainable development strategies.
Biocompatibility and Safety Standards for LED Interfaces
The integration of bioelectronic interfaces with LED technologies necessitates rigorous biocompatibility and safety standards to ensure both efficacy and user protection. Current regulatory frameworks, including ISO 10993 for biological evaluation of medical devices and IEC 60601 for medical electrical equipment, provide foundational guidelines for bioelectronic LED interfaces. These standards address critical aspects such as cytotoxicity, sensitization, irritation, and systemic toxicity when biological tissues interact with electronic components.
Material selection represents a paramount consideration in biocompatible LED interfaces. Encapsulation materials must demonstrate non-toxicity while maintaining optical transparency for light transmission. Advanced polymers like medical-grade silicones, polyurethanes, and parylene coatings have emerged as preferred options due to their biocompatibility profiles and resistance to biodegradation. Recent innovations include self-healing polymers that maintain interface integrity over extended periods of implantation or contact.
Thermal management standards constitute another critical safety domain, as excessive heat generation from LEDs can cause tissue damage. The ISO 14708 series establishes temperature thresholds for implantable devices, typically limiting surface temperatures to no more than 2°C above surrounding tissue temperature. Advanced thermal dissipation techniques, including micro-fluidic cooling channels and thermally conductive yet electrically insulating substrates, have been developed to address these concerns.
Electrical safety standards for bioelectronic LED interfaces focus on preventing current leakage and ensuring appropriate isolation between power sources and biological tissues. The IEC 60601-1 standard specifies maximum leakage currents of 10μA for body-contacting devices, with even stricter requirements for implantable technologies. Galvanic isolation techniques and advanced circuit protection mechanisms are increasingly incorporated into bioelectronic LED designs to meet these stringent requirements.
Long-term biocompatibility testing protocols have evolved significantly, with emphasis on chronic implantation studies and accelerated aging tests to predict device performance over extended periods. The FDA guidance on biocompatibility testing for medical devices recommends comprehensive evaluation timelines ranging from 30 days to several years depending on the intended duration of tissue contact. These protocols specifically address concerns regarding material degradation, corrosion resistance, and potential leaching of compounds from LED components.
Emerging standards are beginning to address the unique challenges of optogenetic interfaces, where LED technologies directly modulate neural activity. These applications demand exceptional precision in light delivery parameters and heightened safety considerations due to direct interaction with neural tissues. The International IEEE/EMBS Conference has recently proposed specialized guidelines for neuromodulation devices incorporating LED technologies, emphasizing precise control of optical power density and wavelength specificity to prevent phototoxicity while maintaining therapeutic efficacy.
Material selection represents a paramount consideration in biocompatible LED interfaces. Encapsulation materials must demonstrate non-toxicity while maintaining optical transparency for light transmission. Advanced polymers like medical-grade silicones, polyurethanes, and parylene coatings have emerged as preferred options due to their biocompatibility profiles and resistance to biodegradation. Recent innovations include self-healing polymers that maintain interface integrity over extended periods of implantation or contact.
Thermal management standards constitute another critical safety domain, as excessive heat generation from LEDs can cause tissue damage. The ISO 14708 series establishes temperature thresholds for implantable devices, typically limiting surface temperatures to no more than 2°C above surrounding tissue temperature. Advanced thermal dissipation techniques, including micro-fluidic cooling channels and thermally conductive yet electrically insulating substrates, have been developed to address these concerns.
Electrical safety standards for bioelectronic LED interfaces focus on preventing current leakage and ensuring appropriate isolation between power sources and biological tissues. The IEC 60601-1 standard specifies maximum leakage currents of 10μA for body-contacting devices, with even stricter requirements for implantable technologies. Galvanic isolation techniques and advanced circuit protection mechanisms are increasingly incorporated into bioelectronic LED designs to meet these stringent requirements.
Long-term biocompatibility testing protocols have evolved significantly, with emphasis on chronic implantation studies and accelerated aging tests to predict device performance over extended periods. The FDA guidance on biocompatibility testing for medical devices recommends comprehensive evaluation timelines ranging from 30 days to several years depending on the intended duration of tissue contact. These protocols specifically address concerns regarding material degradation, corrosion resistance, and potential leaching of compounds from LED components.
Emerging standards are beginning to address the unique challenges of optogenetic interfaces, where LED technologies directly modulate neural activity. These applications demand exceptional precision in light delivery parameters and heightened safety considerations due to direct interaction with neural tissues. The International IEEE/EMBS Conference has recently proposed specialized guidelines for neuromodulation devices incorporating LED technologies, emphasizing precise control of optical power density and wavelength specificity to prevent phototoxicity while maintaining therapeutic efficacy.
Unlock deeper insights with Patsnap Eureka Quick Research — get a full tech report to explore trends and direct your research. Try now!
Generate Your Research Report Instantly with AI Agent
Supercharge your innovation with Patsnap Eureka AI Agent Platform!






