How Bioelectronic Interfaces Are Pioneering Remote Sensing Techniques
OCT 15, 202510 MIN READ
Generate Your Research Report Instantly with AI Agent
Patsnap Eureka helps you evaluate technical feasibility & market potential.
Bioelectronic Interface Evolution and Objectives
Bioelectronic interfaces represent a revolutionary convergence of biological systems and electronic technologies, marking a significant paradigm shift in sensing capabilities. The evolution of these interfaces can be traced back to the 1970s with the development of the first biosensors, which utilized enzymes to detect glucose levels. This initial breakthrough laid the foundation for subsequent advancements in bioelectronic sensing technologies.
Throughout the 1990s and early 2000s, significant progress was made in miniaturization and integration of bioelectronic components, enabling more sophisticated sensing applications. The introduction of microelectromechanical systems (MEMS) and nanotechnology further accelerated development, allowing for unprecedented levels of sensitivity and specificity in biological detection mechanisms.
The current generation of bioelectronic interfaces incorporates advanced materials such as graphene, carbon nanotubes, and conducting polymers, which offer superior electrical conductivity and biocompatibility. These materials have enabled the creation of flexible, stretchable sensors capable of conforming to biological surfaces while maintaining high performance under various environmental conditions.
Remote sensing applications have emerged as a particularly promising direction for bioelectronic interfaces. The integration of wireless communication technologies with bioelectronic sensors has enabled real-time monitoring of physiological parameters from a distance, revolutionizing fields such as healthcare, environmental monitoring, and agricultural management.
The primary objective of modern bioelectronic interface development is to achieve seamless integration between biological systems and electronic components, creating truly symbiotic relationships that can function reliably over extended periods. This includes addressing challenges related to biocompatibility, power requirements, signal stability, and data transmission efficiency.
Another critical goal is the development of autonomous bioelectronic systems capable of self-calibration and adaptation to changing environmental conditions. Such systems would significantly enhance the reliability and longevity of remote sensing applications, particularly in challenging environments where human intervention is limited or impossible.
Looking forward, the field aims to develop bioelectronic interfaces capable of not only sensing biological signals but also responding to them through closed-loop systems. This bidirectional communication would enable applications such as precision medicine, where therapeutic interventions could be automatically adjusted based on real-time physiological data collected through remote sensing.
The ultimate vision for bioelectronic interfaces in remote sensing involves creating distributed networks of sensors that can collectively monitor complex biological systems at multiple scales simultaneously, from molecular interactions to ecosystem-level processes, providing unprecedented insights into biological phenomena and enabling novel applications across numerous industries.
Throughout the 1990s and early 2000s, significant progress was made in miniaturization and integration of bioelectronic components, enabling more sophisticated sensing applications. The introduction of microelectromechanical systems (MEMS) and nanotechnology further accelerated development, allowing for unprecedented levels of sensitivity and specificity in biological detection mechanisms.
The current generation of bioelectronic interfaces incorporates advanced materials such as graphene, carbon nanotubes, and conducting polymers, which offer superior electrical conductivity and biocompatibility. These materials have enabled the creation of flexible, stretchable sensors capable of conforming to biological surfaces while maintaining high performance under various environmental conditions.
Remote sensing applications have emerged as a particularly promising direction for bioelectronic interfaces. The integration of wireless communication technologies with bioelectronic sensors has enabled real-time monitoring of physiological parameters from a distance, revolutionizing fields such as healthcare, environmental monitoring, and agricultural management.
The primary objective of modern bioelectronic interface development is to achieve seamless integration between biological systems and electronic components, creating truly symbiotic relationships that can function reliably over extended periods. This includes addressing challenges related to biocompatibility, power requirements, signal stability, and data transmission efficiency.
Another critical goal is the development of autonomous bioelectronic systems capable of self-calibration and adaptation to changing environmental conditions. Such systems would significantly enhance the reliability and longevity of remote sensing applications, particularly in challenging environments where human intervention is limited or impossible.
Looking forward, the field aims to develop bioelectronic interfaces capable of not only sensing biological signals but also responding to them through closed-loop systems. This bidirectional communication would enable applications such as precision medicine, where therapeutic interventions could be automatically adjusted based on real-time physiological data collected through remote sensing.
The ultimate vision for bioelectronic interfaces in remote sensing involves creating distributed networks of sensors that can collectively monitor complex biological systems at multiple scales simultaneously, from molecular interactions to ecosystem-level processes, providing unprecedented insights into biological phenomena and enabling novel applications across numerous industries.
Remote Sensing Market Demand Analysis
The global market for remote sensing technologies is experiencing unprecedented growth, driven by the integration of bioelectronic interfaces. Current market analysis indicates that the remote sensing market reached approximately $12.8 billion in 2022 and is projected to grow at a CAGR of 9.8% through 2030, with bioelectronic sensing applications representing an emerging segment with significant potential.
Healthcare applications represent the largest demand sector for bioelectronic remote sensing, with particular emphasis on continuous patient monitoring systems. The COVID-19 pandemic accelerated this trend, creating a 47% increase in demand for remote patient monitoring technologies between 2019 and 2022. Healthcare providers are increasingly seeking solutions that can monitor vital signs, medication adherence, and disease progression without requiring physical patient contact.
Environmental monitoring constitutes another substantial market segment, where bioelectronic interfaces are revolutionizing the detection of pollutants, pathogens, and environmental changes. Government agencies and environmental organizations have increased their budgets for advanced sensing technologies by an average of 23% since 2020, reflecting growing concerns about climate change and environmental degradation.
Agricultural applications represent the fastest-growing sector, with a 34% annual growth rate. Precision agriculture increasingly relies on bioelectronic sensors to monitor soil conditions, plant health, and crop yields remotely. This trend is particularly pronounced in regions facing water scarcity and climate volatility, where resource optimization is critical.
Defense and security applications account for approximately 18% of the current market share, with significant investments in bioelectronic interfaces for threat detection, surveillance, and personnel monitoring. Military organizations worldwide have demonstrated willingness to pay premium prices for advanced sensing capabilities that offer improved detection range, accuracy, and reliability.
Consumer applications are emerging as a promising market segment, particularly in wearable technology and smart home systems. Consumer adoption of bioelectronic sensing devices has grown by 67% over the past three years, driven by increasing health consciousness and the desire for personalized data.
Geographic analysis reveals that North America currently dominates the market with 38% share, followed by Europe (27%) and Asia-Pacific (24%). However, the Asia-Pacific region is expected to demonstrate the highest growth rate over the next five years due to rapid industrialization, increasing healthcare expenditure, and government initiatives supporting technological innovation.
Key market drivers include miniaturization of sensing technologies, decreasing production costs, increasing wireless connectivity, and growing demand for real-time data across industries. The convergence of bioelectronic interfaces with artificial intelligence and edge computing is expected to further accelerate market growth by enabling more sophisticated analysis of remotely collected data.
Healthcare applications represent the largest demand sector for bioelectronic remote sensing, with particular emphasis on continuous patient monitoring systems. The COVID-19 pandemic accelerated this trend, creating a 47% increase in demand for remote patient monitoring technologies between 2019 and 2022. Healthcare providers are increasingly seeking solutions that can monitor vital signs, medication adherence, and disease progression without requiring physical patient contact.
Environmental monitoring constitutes another substantial market segment, where bioelectronic interfaces are revolutionizing the detection of pollutants, pathogens, and environmental changes. Government agencies and environmental organizations have increased their budgets for advanced sensing technologies by an average of 23% since 2020, reflecting growing concerns about climate change and environmental degradation.
Agricultural applications represent the fastest-growing sector, with a 34% annual growth rate. Precision agriculture increasingly relies on bioelectronic sensors to monitor soil conditions, plant health, and crop yields remotely. This trend is particularly pronounced in regions facing water scarcity and climate volatility, where resource optimization is critical.
Defense and security applications account for approximately 18% of the current market share, with significant investments in bioelectronic interfaces for threat detection, surveillance, and personnel monitoring. Military organizations worldwide have demonstrated willingness to pay premium prices for advanced sensing capabilities that offer improved detection range, accuracy, and reliability.
Consumer applications are emerging as a promising market segment, particularly in wearable technology and smart home systems. Consumer adoption of bioelectronic sensing devices has grown by 67% over the past three years, driven by increasing health consciousness and the desire for personalized data.
Geographic analysis reveals that North America currently dominates the market with 38% share, followed by Europe (27%) and Asia-Pacific (24%). However, the Asia-Pacific region is expected to demonstrate the highest growth rate over the next five years due to rapid industrialization, increasing healthcare expenditure, and government initiatives supporting technological innovation.
Key market drivers include miniaturization of sensing technologies, decreasing production costs, increasing wireless connectivity, and growing demand for real-time data across industries. The convergence of bioelectronic interfaces with artificial intelligence and edge computing is expected to further accelerate market growth by enabling more sophisticated analysis of remotely collected data.
Current Bioelectronic Sensing Challenges
Despite significant advancements in bioelectronic interfaces for remote sensing, the field faces several critical challenges that impede widespread implementation and optimal performance. Signal fidelity remains a primary concern, as bioelectronic sensors must detect minute biological signals amidst substantial environmental noise. This challenge is particularly pronounced in remote sensing applications where signal degradation occurs over distance and through various media, requiring sophisticated signal processing algorithms and hardware solutions.
Biocompatibility presents another significant hurdle, especially for implantable or long-term wearable sensors. Current materials often trigger immune responses or experience performance degradation over time due to biofouling, where proteins and cells adhere to sensor surfaces. Researchers are exploring novel materials and surface modifications to mitigate these effects, but achieving truly long-term stable interfaces remains elusive.
Power management constitutes a critical limitation, particularly for remote and continuous monitoring applications. Traditional batteries are bulky and require periodic replacement, while energy harvesting technologies (such as piezoelectric, thermoelectric, or photovoltaic systems) currently yield insufficient power for many bioelectronic applications. This energy constraint restricts sensor functionality, data processing capabilities, and transmission range.
Data security and privacy concerns have emerged as increasingly important challenges as bioelectronic sensing becomes more sophisticated. Remote transmission of potentially sensitive biological data requires robust encryption and secure communication protocols, which must operate within the severe power and computational constraints of these devices.
Miniaturization presents ongoing engineering challenges, as smaller devices must maintain functionality while accommodating power sources, processing units, and communication modules. Current fabrication techniques struggle to integrate all necessary components at microscale dimensions while maintaining performance and reliability.
Standardization across the industry remains inadequate, with various proprietary systems using different communication protocols, data formats, and interfaces. This fragmentation hinders interoperability and slows broader adoption of bioelectronic sensing technologies in clinical and consumer applications.
Regulatory hurdles also pose significant challenges, particularly for medical applications. Bioelectronic devices must navigate complex approval processes that vary by region and application, with requirements for demonstrating safety, efficacy, and reliability that can delay market entry by years.
Finally, the interdisciplinary nature of bioelectronic sensing creates knowledge gaps between specialists in biology, electronics, materials science, and data analytics. Bridging these disciplinary divides requires new collaborative frameworks and educational approaches to accelerate innovation in this rapidly evolving field.
Biocompatibility presents another significant hurdle, especially for implantable or long-term wearable sensors. Current materials often trigger immune responses or experience performance degradation over time due to biofouling, where proteins and cells adhere to sensor surfaces. Researchers are exploring novel materials and surface modifications to mitigate these effects, but achieving truly long-term stable interfaces remains elusive.
Power management constitutes a critical limitation, particularly for remote and continuous monitoring applications. Traditional batteries are bulky and require periodic replacement, while energy harvesting technologies (such as piezoelectric, thermoelectric, or photovoltaic systems) currently yield insufficient power for many bioelectronic applications. This energy constraint restricts sensor functionality, data processing capabilities, and transmission range.
Data security and privacy concerns have emerged as increasingly important challenges as bioelectronic sensing becomes more sophisticated. Remote transmission of potentially sensitive biological data requires robust encryption and secure communication protocols, which must operate within the severe power and computational constraints of these devices.
Miniaturization presents ongoing engineering challenges, as smaller devices must maintain functionality while accommodating power sources, processing units, and communication modules. Current fabrication techniques struggle to integrate all necessary components at microscale dimensions while maintaining performance and reliability.
Standardization across the industry remains inadequate, with various proprietary systems using different communication protocols, data formats, and interfaces. This fragmentation hinders interoperability and slows broader adoption of bioelectronic sensing technologies in clinical and consumer applications.
Regulatory hurdles also pose significant challenges, particularly for medical applications. Bioelectronic devices must navigate complex approval processes that vary by region and application, with requirements for demonstrating safety, efficacy, and reliability that can delay market entry by years.
Finally, the interdisciplinary nature of bioelectronic sensing creates knowledge gaps between specialists in biology, electronics, materials science, and data analytics. Bridging these disciplinary divides requires new collaborative frameworks and educational approaches to accelerate innovation in this rapidly evolving field.
Current Bioelectronic Remote Sensing Solutions
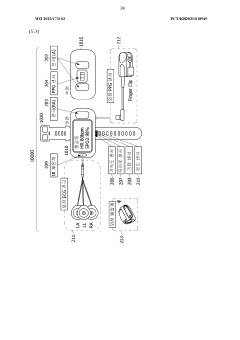
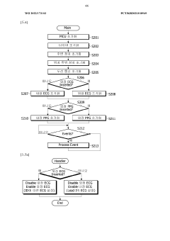
01 Wearable bioelectronic interfaces for remote health monitoring
Wearable bioelectronic interfaces enable continuous remote monitoring of physiological parameters. These devices incorporate flexible sensors that can be attached to the skin to collect vital signs data such as heart rate, temperature, and blood oxygen levels. The collected data can be wirelessly transmitted to healthcare providers for real-time analysis, allowing for early detection of health issues and personalized medical interventions without requiring the patient to be physically present at a healthcare facility.- Implantable bioelectronic sensors for remote health monitoring: Implantable bioelectronic interfaces that can be placed within the body to continuously monitor physiological parameters and transmit data wirelessly to external devices. These sensors utilize biocompatible materials and miniaturized electronics to detect various biomarkers, electrical signals, or mechanical changes in the body. The remote sensing capabilities allow for real-time health monitoring without requiring the patient to be physically present at a healthcare facility, enabling early detection of health issues and personalized treatment approaches.
- Wearable bioelectronic interfaces for non-invasive monitoring: Non-invasive wearable devices that incorporate bioelectronic interfaces to monitor physiological parameters through skin contact. These devices use advanced materials and sensing technologies to detect biomarkers in sweat, interstitial fluid, or through electrical conductivity of the skin. The wearable format allows for continuous remote monitoring while maintaining user comfort and mobility. Data collected can be transmitted wirelessly to healthcare providers or integrated with mobile health applications for personal health management.
- Neural interfaces for remote sensing and stimulation: Bioelectronic interfaces designed specifically to interact with the nervous system for both sensing neural activity and delivering therapeutic stimulation. These interfaces can record electrical signals from neurons and transmit them wirelessly for remote analysis, or receive commands to stimulate specific neural pathways. Applications include treatment of neurological disorders, control of prosthetic limbs, and brain-computer interfaces that allow direct communication between the brain and external devices without physical interaction.
- Environmental and ecological remote sensing using bioelectronic systems: Bioelectronic interfaces deployed in environmental settings to monitor ecological parameters, pollution levels, or biological activity. These systems may incorporate living biological components such as microorganisms or plant cells as sensing elements, combined with electronic components for signal processing and data transmission. The remote sensing capabilities allow for monitoring of large geographical areas or hazardous environments without human presence, providing valuable data for environmental research, conservation efforts, and pollution control.
- Data processing and AI integration for bioelectronic remote sensing: Advanced computational methods and artificial intelligence algorithms designed to process, analyze, and interpret the complex data streams generated by bioelectronic remote sensing interfaces. These systems can identify patterns, detect anomalies, and generate actionable insights from physiological or environmental data. Cloud-based platforms enable secure storage and access to the collected data, while machine learning algorithms continuously improve the accuracy of interpretations based on accumulated data, enhancing the diagnostic and predictive capabilities of bioelectronic remote sensing systems.
02 Implantable bioelectronic sensors for remote physiological monitoring
Implantable bioelectronic sensors can be placed inside the body to monitor internal physiological parameters remotely. These miniaturized devices can detect specific biomarkers, measure tissue properties, or monitor organ function over extended periods. The sensors typically incorporate biocompatible materials and low-power electronics to ensure long-term functionality within the body. Data from these implanted sensors can be transmitted wirelessly to external receivers for continuous remote monitoring of patient health status.Expand Specific Solutions03 Neural interfaces for remote brain activity sensing
Neural interfaces enable remote sensing of brain activity through direct connection with neural tissue. These bioelectronic systems can record electrical signals from neurons, allowing for remote monitoring of brain function and cognitive states. Advanced neural interfaces incorporate microelectrode arrays, signal processing algorithms, and wireless communication capabilities to transmit neural data to external devices. Applications include remote neurological assessment, brain-computer interfaces for assistive technologies, and monitoring of neurological conditions without requiring physical presence in clinical settings.Expand Specific Solutions04 Environmental sensing through bioelectronic interfaces
Bioelectronic interfaces can be used for remote sensing of environmental conditions through integration with biological systems. These hybrid systems combine living cells or biomolecules with electronic components to detect environmental parameters such as toxins, pathogens, or chemical agents. The biological components provide specificity and sensitivity, while the electronic elements enable signal transduction and remote data transmission. This approach allows for distributed environmental monitoring in areas that may be difficult to access with conventional sensors.Expand Specific Solutions05 Data processing and communication systems for bioelectronic remote sensing
Specialized data processing and communication systems are essential for effective bioelectronic remote sensing applications. These systems include algorithms for signal processing, noise reduction, and feature extraction from bioelectronic sensor data. They also incorporate secure wireless communication protocols to transmit sensitive biological information while maintaining data integrity and privacy. Cloud-based platforms enable storage, analysis, and visualization of large datasets collected from distributed bioelectronic interfaces, facilitating remote access to sensing information across different locations.Expand Specific Solutions
Leading Bioelectronic Interface Companies
The bioelectronic interfaces market for remote sensing is currently in its growth phase, characterized by rapid technological innovation and expanding applications. The market is projected to reach significant scale as these technologies bridge biological systems with electronic devices for remote monitoring and data collection. Leading research institutions like MIT, Rice University, and Columbia University are driving fundamental breakthroughs, while companies including Philips, Samsung, and Sharp are commercializing applications. Imec and Taiwan Semiconductor are advancing miniaturization capabilities critical for implantable sensors. Early Warning and Cardiac Pacemakers represent specialized players focusing on biosensor development and medical implementations. The technology is approaching maturity in medical applications but remains emergent in environmental and industrial sensing domains, with cross-sector collaboration accelerating development timelines.
Interuniversitair Micro-Electronica Centrum VZW
Technical Solution: IMEC has developed cutting-edge bioelectronic interfaces featuring nanoscale sensors integrated with CMOS technology for remote physiological monitoring. Their platform utilizes proprietary thin-film technology to create ultra-flexible electrode arrays that maintain stable tissue-electrode interfaces over extended periods. IMEC's systems incorporate advanced signal amplification and noise reduction circuitry directly at the sensing site, significantly improving signal quality for remote transmission. Their technology employs low-power wireless communication protocols optimized for biomedical applications, enabling continuous data streaming with minimal energy consumption. IMEC has demonstrated particular expertise in neural interfaces, developing systems capable of recording from hundreds of channels simultaneously while maintaining a small form factor suitable for implantation.
Strengths: Industry-leading miniaturization and integration capabilities allow for highly compact yet functional systems. Weaknesses: Higher manufacturing costs associated with advanced fabrication techniques limit widespread adoption.
Massachusetts Institute of Technology
Technical Solution: MIT has pioneered bioelectronic interfaces that leverage novel materials science approaches for enhanced biocompatibility and sensing capabilities. Their technology incorporates graphene-based flexible electronics that conform to biological tissues while providing exceptional electrical properties for signal detection. MIT researchers have developed specialized coatings that mitigate foreign body responses, enabling longer-term implantation without signal degradation. Their remote sensing systems utilize edge computing approaches that process biological signals locally before transmission, reducing bandwidth requirements and power consumption. MIT has demonstrated particular innovation in their wireless power transfer systems, which enable deeper implantation without requiring large batteries. Their platforms have shown promise in applications ranging from continuous glucose monitoring to neural recording for brain-machine interfaces.
Strengths: Cutting-edge materials science approaches provide superior biocompatibility and electrical performance. Weaknesses: Some advanced materials face regulatory hurdles that slow clinical translation.
Key Bioelectronic Interface Patents
Wearable device for measuring multiple biosignals, and artificial-intelligence-based remote monitoring system using same
PatentWO2022173103A1
Innovation
- A wearable multi-biological signal measurement device that can measure various biometric signals consciously or non-consciously and transmit them wirelessly for remote monitoring, using built-in and external sensors, with an AI-based system for real-time analysis and alarm generation, allowing for continuous monitoring and reducing the need for frequent hospital visits.
Bioelectric potential input interface system, bioelectric potential input sensor apparatus, bioelectric potential inputting method, and program for same
PatentWO2014208074A1
Innovation
- A biopotential input interface system featuring a sensor device with expandable electrode hollow bodies, a measurement hollow body, and a housing hollow body connected in a ring, allowing for adjustable electrode spacing to accommodate different forearm sizes, and a biopotential measurement circuit connected via conductive wiring, enabling precise biopotential measurement and action detection.
Regulatory Framework for Bioelectronic Devices
The regulatory landscape for bioelectronic devices represents a complex intersection of medical device regulations, data privacy frameworks, and emerging technology governance. Currently, the FDA's regulatory pathway for bioelectronic interfaces follows a risk-based classification system, with most advanced sensing devices falling under Class II or III, requiring either 510(k) clearance or premarket approval (PMA). The European Union's Medical Device Regulation (MDR) imposes similarly stringent requirements, with additional emphasis on post-market surveillance and clinical evidence.
Data privacy considerations present significant regulatory challenges, particularly for remote sensing bioelectronic interfaces that continuously collect physiological data. The Health Insurance Portability and Accountability Act (HIPAA) in the United States and the General Data Protection Regulation (GDPR) in Europe establish strict protocols for handling sensitive health information, requiring robust encryption, explicit consent mechanisms, and comprehensive data management policies.
Interoperability standards represent another critical regulatory dimension. Organizations such as IEEE and ISO have developed specific standards for bioelectronic communication protocols, with IEEE 11073 emerging as a particularly important framework for ensuring device compatibility across healthcare ecosystems. These standards facilitate secure data exchange while maintaining clinical accuracy across diverse monitoring platforms.
Regulatory gaps persist in addressing novel applications of bioelectronic remote sensing. Current frameworks struggle to categorize devices that blur traditional boundaries between consumer wellness products and medical devices, particularly those employing machine learning algorithms that evolve over time. The FDA's Digital Health Software Precertification Program represents an attempt to address these challenges through more flexible, developer-focused approaches to regulation.
International harmonization efforts are gradually emerging through initiatives like the International Medical Device Regulators Forum (IMDRF), which aims to standardize requirements across major markets. However, significant regional variations persist, creating compliance challenges for global deployment of bioelectronic sensing technologies. These disparities particularly affect innovative applications in environmental monitoring, agricultural sensing, and other non-traditional domains where regulatory frameworks remain underdeveloped.
Ethical considerations are increasingly incorporated into regulatory frameworks, with special provisions for vulnerable populations, informed consent protocols for continuous monitoring, and guidelines addressing potential discrimination in algorithmic decision-making. The FDA's Patient Engagement Advisory Committee exemplifies this trend toward incorporating diverse stakeholder perspectives in regulatory development.
Looking forward, regulatory evolution will likely focus on adaptive frameworks that can accommodate rapidly advancing bioelectronic capabilities while maintaining appropriate safety and efficacy standards. Risk-based approaches that scale regulatory requirements according to device functionality rather than traditional categories may offer more sustainable governance models for this dynamic technological landscape.
Data privacy considerations present significant regulatory challenges, particularly for remote sensing bioelectronic interfaces that continuously collect physiological data. The Health Insurance Portability and Accountability Act (HIPAA) in the United States and the General Data Protection Regulation (GDPR) in Europe establish strict protocols for handling sensitive health information, requiring robust encryption, explicit consent mechanisms, and comprehensive data management policies.
Interoperability standards represent another critical regulatory dimension. Organizations such as IEEE and ISO have developed specific standards for bioelectronic communication protocols, with IEEE 11073 emerging as a particularly important framework for ensuring device compatibility across healthcare ecosystems. These standards facilitate secure data exchange while maintaining clinical accuracy across diverse monitoring platforms.
Regulatory gaps persist in addressing novel applications of bioelectronic remote sensing. Current frameworks struggle to categorize devices that blur traditional boundaries between consumer wellness products and medical devices, particularly those employing machine learning algorithms that evolve over time. The FDA's Digital Health Software Precertification Program represents an attempt to address these challenges through more flexible, developer-focused approaches to regulation.
International harmonization efforts are gradually emerging through initiatives like the International Medical Device Regulators Forum (IMDRF), which aims to standardize requirements across major markets. However, significant regional variations persist, creating compliance challenges for global deployment of bioelectronic sensing technologies. These disparities particularly affect innovative applications in environmental monitoring, agricultural sensing, and other non-traditional domains where regulatory frameworks remain underdeveloped.
Ethical considerations are increasingly incorporated into regulatory frameworks, with special provisions for vulnerable populations, informed consent protocols for continuous monitoring, and guidelines addressing potential discrimination in algorithmic decision-making. The FDA's Patient Engagement Advisory Committee exemplifies this trend toward incorporating diverse stakeholder perspectives in regulatory development.
Looking forward, regulatory evolution will likely focus on adaptive frameworks that can accommodate rapidly advancing bioelectronic capabilities while maintaining appropriate safety and efficacy standards. Risk-based approaches that scale regulatory requirements according to device functionality rather than traditional categories may offer more sustainable governance models for this dynamic technological landscape.
Data Security in Remote Bioelectronic Sensing
As bioelectronic interfaces advance in remote sensing capabilities, data security emerges as a critical concern. These interfaces collect sensitive physiological and health data, making them attractive targets for cybersecurity threats. Current security implementations often rely on traditional encryption methods, which may prove insufficient given the unique constraints of bioelectronic devices, including limited power resources, processing capabilities, and storage capacity.
The remote nature of these sensing technologies introduces additional vulnerabilities across the data transmission pathway. Wireless communication channels used by implantable or wearable bioelectronic sensors are susceptible to interception, man-in-the-middle attacks, and signal jamming. Furthermore, the integration of these devices with cloud platforms and healthcare systems creates multiple potential entry points for malicious actors.
Recent security breaches in medical devices have highlighted the urgency of addressing these vulnerabilities. In 2021, several major incidents involved unauthorized access to bioelectronic monitoring systems, resulting in data theft and potential manipulation of sensor readings. These events underscore the need for comprehensive security frameworks specifically designed for bioelectronic remote sensing applications.
Regulatory bodies worldwide are responding to these challenges with evolving standards. The FDA's guidance on cybersecurity for medical devices and the EU's Medical Device Regulation both emphasize security requirements, though specific provisions for bioelectronic interfaces remain under development. This regulatory landscape creates both challenges and opportunities for technology developers in this space.
Emerging security solutions include lightweight cryptographic protocols optimized for resource-constrained devices, biometric authentication mechanisms that leverage the very physiological signals being monitored, and blockchain-based approaches for ensuring data integrity throughout the transmission and storage process. These technologies show promise but require further refinement to address the specific needs of bioelectronic interfaces.
Privacy-preserving computation techniques, such as federated learning and homomorphic encryption, are gaining traction as methods to analyze bioelectronic data without compromising security. These approaches allow for valuable insights to be extracted while minimizing exposure of raw sensitive data, potentially resolving the tension between data utility and privacy protection in remote sensing applications.
The future security landscape for bioelectronic interfaces will likely involve multi-layered defense strategies, combining hardware-level security features with sophisticated software protections and robust authentication protocols. As these interfaces become more prevalent in healthcare and consumer applications, establishing trust through demonstrable security measures will be essential for widespread adoption and regulatory approval.
The remote nature of these sensing technologies introduces additional vulnerabilities across the data transmission pathway. Wireless communication channels used by implantable or wearable bioelectronic sensors are susceptible to interception, man-in-the-middle attacks, and signal jamming. Furthermore, the integration of these devices with cloud platforms and healthcare systems creates multiple potential entry points for malicious actors.
Recent security breaches in medical devices have highlighted the urgency of addressing these vulnerabilities. In 2021, several major incidents involved unauthorized access to bioelectronic monitoring systems, resulting in data theft and potential manipulation of sensor readings. These events underscore the need for comprehensive security frameworks specifically designed for bioelectronic remote sensing applications.
Regulatory bodies worldwide are responding to these challenges with evolving standards. The FDA's guidance on cybersecurity for medical devices and the EU's Medical Device Regulation both emphasize security requirements, though specific provisions for bioelectronic interfaces remain under development. This regulatory landscape creates both challenges and opportunities for technology developers in this space.
Emerging security solutions include lightweight cryptographic protocols optimized for resource-constrained devices, biometric authentication mechanisms that leverage the very physiological signals being monitored, and blockchain-based approaches for ensuring data integrity throughout the transmission and storage process. These technologies show promise but require further refinement to address the specific needs of bioelectronic interfaces.
Privacy-preserving computation techniques, such as federated learning and homomorphic encryption, are gaining traction as methods to analyze bioelectronic data without compromising security. These approaches allow for valuable insights to be extracted while minimizing exposure of raw sensitive data, potentially resolving the tension between data utility and privacy protection in remote sensing applications.
The future security landscape for bioelectronic interfaces will likely involve multi-layered defense strategies, combining hardware-level security features with sophisticated software protections and robust authentication protocols. As these interfaces become more prevalent in healthcare and consumer applications, establishing trust through demonstrable security measures will be essential for widespread adoption and regulatory approval.
Unlock deeper insights with Patsnap Eureka Quick Research — get a full tech report to explore trends and direct your research. Try now!
Generate Your Research Report Instantly with AI Agent
Supercharge your innovation with Patsnap Eureka AI Agent Platform!







