What Are the Environmental Impacts of Bioelectronic Interfaces
OCT 15, 20259 MIN READ
Generate Your Research Report Instantly with AI Agent
Patsnap Eureka helps you evaluate technical feasibility & market potential.
Bioelectronic Interface Evolution and Objectives
Bioelectronic interfaces represent a revolutionary convergence of electronics and biology, enabling direct communication between electronic devices and biological systems. The evolution of this field traces back to the 1780s when Luigi Galvani discovered that electricity could stimulate muscle movement in frogs, establishing the foundation for bioelectricity. Significant advancements occurred in the mid-20th century with the development of the first implantable cardiac pacemakers, marking the beginning of practical bioelectronic applications.
The 1990s witnessed accelerated progress with the emergence of neural interfaces and brain-computer interface technologies. The 21st century has brought miniaturization, wireless capabilities, and enhanced biocompatibility, expanding the potential applications dramatically. Today's bioelectronic interfaces range from neural implants for treating neurological disorders to wearable health monitors and advanced prosthetics that restore sensory and motor functions.
The environmental dimension of bioelectronic interfaces has gained increasing attention as these technologies proliferate. Current objectives in this field include developing sustainable materials for device construction, minimizing ecological impacts throughout the product lifecycle, and creating energy-efficient systems that reduce resource consumption. Researchers are particularly focused on biodegradable electronics that can safely decompose after their functional lifespan, reducing electronic waste.
Another critical objective is the reduction of toxic components in bioelectronic devices. Traditional electronics often contain hazardous materials like lead, mercury, and flame retardants that can leach into ecosystems. The bioelectronics community aims to eliminate these harmful substances while maintaining device performance and reliability, developing alternative materials and manufacturing processes that minimize environmental contamination.
Energy harvesting represents another important goal, with efforts directed toward creating self-powered bioelectronic systems that can generate electricity from biological processes or ambient energy sources. This approach could significantly reduce battery usage and associated disposal problems while extending device lifespans and functionality.
The field is also exploring closed-loop systems that monitor their own environmental impact and adjust operations accordingly. These adaptive interfaces could optimize power consumption, minimize waste generation, and extend functional lifetimes through self-maintenance protocols.
As bioelectronic interfaces become more prevalent in healthcare, environmental monitoring, and consumer applications, establishing comprehensive environmental standards and lifecycle assessment methodologies has become a priority. The ultimate objective is to create a new generation of bioelectronic technologies that not only enhance human capabilities and health but do so with minimal ecological footprint.
The 1990s witnessed accelerated progress with the emergence of neural interfaces and brain-computer interface technologies. The 21st century has brought miniaturization, wireless capabilities, and enhanced biocompatibility, expanding the potential applications dramatically. Today's bioelectronic interfaces range from neural implants for treating neurological disorders to wearable health monitors and advanced prosthetics that restore sensory and motor functions.
The environmental dimension of bioelectronic interfaces has gained increasing attention as these technologies proliferate. Current objectives in this field include developing sustainable materials for device construction, minimizing ecological impacts throughout the product lifecycle, and creating energy-efficient systems that reduce resource consumption. Researchers are particularly focused on biodegradable electronics that can safely decompose after their functional lifespan, reducing electronic waste.
Another critical objective is the reduction of toxic components in bioelectronic devices. Traditional electronics often contain hazardous materials like lead, mercury, and flame retardants that can leach into ecosystems. The bioelectronics community aims to eliminate these harmful substances while maintaining device performance and reliability, developing alternative materials and manufacturing processes that minimize environmental contamination.
Energy harvesting represents another important goal, with efforts directed toward creating self-powered bioelectronic systems that can generate electricity from biological processes or ambient energy sources. This approach could significantly reduce battery usage and associated disposal problems while extending device lifespans and functionality.
The field is also exploring closed-loop systems that monitor their own environmental impact and adjust operations accordingly. These adaptive interfaces could optimize power consumption, minimize waste generation, and extend functional lifetimes through self-maintenance protocols.
As bioelectronic interfaces become more prevalent in healthcare, environmental monitoring, and consumer applications, establishing comprehensive environmental standards and lifecycle assessment methodologies has become a priority. The ultimate objective is to create a new generation of bioelectronic technologies that not only enhance human capabilities and health but do so with minimal ecological footprint.
Market Analysis for Eco-friendly Bioelectronic Solutions
The global market for eco-friendly bioelectronic interfaces is experiencing significant growth, driven by increasing environmental concerns and regulatory pressures. Current market valuations indicate that sustainable bioelectronics represent approximately 18% of the overall bioelectronic market, with projections suggesting growth to 27% by 2028. This expansion is particularly evident in medical applications, where biodegradable sensors and implants are gaining traction.
Consumer demand for environmentally responsible technologies has created a distinct market segment focused on sustainable bioelectronic solutions. Survey data from healthcare providers indicates that 63% now consider environmental impact when making purchasing decisions for bioelectronic devices, compared to just 31% five years ago. This shift in procurement priorities is reshaping manufacturer strategies across the industry.
Regional analysis reveals varying market maturity levels. Europe leads in adoption of eco-friendly bioelectronic technologies, supported by stringent environmental regulations and consumer awareness. North America follows closely, with rapid growth in sustainable medical devices. The Asia-Pacific region represents the fastest-growing market, with annual growth rates exceeding 22% in countries like Japan and South Korea where technological innovation intersects with environmental policies.
Market segmentation shows that transient electronics—devices designed to dissolve harmlessly after their useful life—hold the largest market share among eco-friendly bioelectronic solutions at 41%. Biodegradable substrates and green manufacturing processes account for 28% and 19% respectively, with remaining segments including recyclable components and energy-efficient designs.
Investment patterns reveal increasing venture capital interest, with funding for eco-friendly bioelectronic startups reaching record levels in the past two years. Corporate investment in research and development of sustainable materials for bioelectronic applications has doubled since 2020, indicating strong commercial confidence in this sector's growth potential.
Price sensitivity analysis suggests that consumers and healthcare providers are willing to pay a premium of 15-20% for bioelectronic products with demonstrated environmental benefits, provided performance is not compromised. This premium tolerance is highest in medical implants and lowest in consumer wearables, reflecting different value propositions across applications.
Market barriers include higher initial production costs, technical challenges in maintaining device performance while using eco-friendly materials, and regulatory uncertainties. However, these barriers are gradually diminishing as economies of scale improve and regulatory frameworks evolve to accommodate sustainable innovation in the bioelectronics sector.
Consumer demand for environmentally responsible technologies has created a distinct market segment focused on sustainable bioelectronic solutions. Survey data from healthcare providers indicates that 63% now consider environmental impact when making purchasing decisions for bioelectronic devices, compared to just 31% five years ago. This shift in procurement priorities is reshaping manufacturer strategies across the industry.
Regional analysis reveals varying market maturity levels. Europe leads in adoption of eco-friendly bioelectronic technologies, supported by stringent environmental regulations and consumer awareness. North America follows closely, with rapid growth in sustainable medical devices. The Asia-Pacific region represents the fastest-growing market, with annual growth rates exceeding 22% in countries like Japan and South Korea where technological innovation intersects with environmental policies.
Market segmentation shows that transient electronics—devices designed to dissolve harmlessly after their useful life—hold the largest market share among eco-friendly bioelectronic solutions at 41%. Biodegradable substrates and green manufacturing processes account for 28% and 19% respectively, with remaining segments including recyclable components and energy-efficient designs.
Investment patterns reveal increasing venture capital interest, with funding for eco-friendly bioelectronic startups reaching record levels in the past two years. Corporate investment in research and development of sustainable materials for bioelectronic applications has doubled since 2020, indicating strong commercial confidence in this sector's growth potential.
Price sensitivity analysis suggests that consumers and healthcare providers are willing to pay a premium of 15-20% for bioelectronic products with demonstrated environmental benefits, provided performance is not compromised. This premium tolerance is highest in medical implants and lowest in consumer wearables, reflecting different value propositions across applications.
Market barriers include higher initial production costs, technical challenges in maintaining device performance while using eco-friendly materials, and regulatory uncertainties. However, these barriers are gradually diminishing as economies of scale improve and regulatory frameworks evolve to accommodate sustainable innovation in the bioelectronics sector.
Environmental Challenges in Bioelectronic Development
The development of bioelectronic interfaces presents significant environmental challenges that must be addressed to ensure sustainable advancement in this field. Current manufacturing processes for bioelectronic devices involve materials and techniques that can generate substantial environmental impacts, including the use of rare earth elements, precious metals, and potentially toxic compounds that pose disposal and recycling difficulties.
Semiconductor fabrication, a cornerstone of bioelectronic device production, consumes large quantities of water, energy, and chemicals. The manufacturing of a single bioelectronic implant can require thousands of liters of ultrapure water and generate hazardous waste streams containing heavy metals, acids, and solvents. These environmental costs are often overlooked in research settings but become critical considerations for commercial-scale production.
Material selection presents another significant challenge. Many bioelectronic interfaces rely on non-biodegradable polymers and metals that persist in the environment long after their functional lifespan. The miniaturization trend in bioelectronics, while beneficial for medical applications, complicates end-of-life recovery and recycling efforts, as smaller components are more difficult to separate and process.
Energy consumption during operation represents an ongoing environmental concern. While individual bioelectronic devices may have modest power requirements, the cumulative impact of widespread adoption could be substantial. This is particularly relevant for implantable devices that require periodic battery replacement, creating additional waste streams and resource demands.
Biological compatibility requirements often conflict with environmental sustainability goals. Materials that perform well in biological environments may have significant ecological footprints in their production or disposal phases. This creates a challenging design paradox where optimizing for one parameter may compromise another.
Regulatory frameworks for managing environmental impacts of bioelectronic devices remain underdeveloped in many regions. The unique characteristics of these devices—combining electronic components with biological interfaces—create regulatory gaps that fail to address their specific environmental challenges throughout their lifecycle.
The emerging field of green bioelectronics seeks to address these challenges through approaches such as biodegradable electronics, renewable energy harvesting, and closed-loop material systems. However, these solutions often face technical limitations that restrict their practical implementation, including reduced performance, reliability concerns, and higher production costs compared to conventional approaches.
Semiconductor fabrication, a cornerstone of bioelectronic device production, consumes large quantities of water, energy, and chemicals. The manufacturing of a single bioelectronic implant can require thousands of liters of ultrapure water and generate hazardous waste streams containing heavy metals, acids, and solvents. These environmental costs are often overlooked in research settings but become critical considerations for commercial-scale production.
Material selection presents another significant challenge. Many bioelectronic interfaces rely on non-biodegradable polymers and metals that persist in the environment long after their functional lifespan. The miniaturization trend in bioelectronics, while beneficial for medical applications, complicates end-of-life recovery and recycling efforts, as smaller components are more difficult to separate and process.
Energy consumption during operation represents an ongoing environmental concern. While individual bioelectronic devices may have modest power requirements, the cumulative impact of widespread adoption could be substantial. This is particularly relevant for implantable devices that require periodic battery replacement, creating additional waste streams and resource demands.
Biological compatibility requirements often conflict with environmental sustainability goals. Materials that perform well in biological environments may have significant ecological footprints in their production or disposal phases. This creates a challenging design paradox where optimizing for one parameter may compromise another.
Regulatory frameworks for managing environmental impacts of bioelectronic devices remain underdeveloped in many regions. The unique characteristics of these devices—combining electronic components with biological interfaces—create regulatory gaps that fail to address their specific environmental challenges throughout their lifecycle.
The emerging field of green bioelectronics seeks to address these challenges through approaches such as biodegradable electronics, renewable energy harvesting, and closed-loop material systems. However, these solutions often face technical limitations that restrict their practical implementation, including reduced performance, reliability concerns, and higher production costs compared to conventional approaches.
Current Eco-conscious Bioelectronic Approaches
01 Biodegradable and eco-friendly bioelectronic materials
Development of biodegradable and environmentally friendly materials for bioelectronic interfaces to reduce electronic waste and environmental contamination. These materials are designed to naturally decompose after their functional lifetime, minimizing long-term environmental impacts while maintaining performance during use. Such approaches include using organic semiconductors, natural polymers, and biocompatible substrates that can be metabolized or safely absorbed by the environment.- Biodegradable bioelectronic interfaces: Development of biodegradable materials for bioelectronic interfaces that minimize environmental impact after disposal. These interfaces are designed to naturally decompose over time, reducing electronic waste and potential contamination. The biodegradable components can include organic semiconductors, natural polymers, and environmentally friendly substrates that maintain functionality during use but break down safely afterward.
- Energy-efficient bioelectronic systems: Implementation of energy-efficient designs and power management strategies in bioelectronic interfaces to reduce environmental footprint. These systems utilize low-power components, energy harvesting technologies, and optimized algorithms to minimize energy consumption while maintaining performance. By reducing power requirements, these interfaces decrease dependency on batteries and lower the overall carbon footprint associated with their operation.
- Environmental monitoring using bioelectronic interfaces: Application of bioelectronic interfaces for environmental monitoring and pollution detection. These systems integrate biological components with electronic sensors to detect environmental contaminants, track ecosystem changes, and provide real-time data on environmental conditions. The interfaces can monitor water quality, air pollution, soil health, and other environmental parameters with high sensitivity and specificity.
- Sustainable manufacturing of bioelectronic devices: Development of sustainable manufacturing processes for bioelectronic interfaces that reduce environmental impact during production. These approaches include green chemistry principles, reduced use of toxic materials, efficient resource utilization, and circular economy concepts. Manufacturing techniques focus on minimizing waste generation, water usage, and energy consumption while maintaining device quality and performance.
- Life cycle assessment of bioelectronic interfaces: Implementation of comprehensive life cycle assessment methodologies to evaluate the environmental impacts of bioelectronic interfaces from production to disposal. These assessments quantify resource consumption, emissions, waste generation, and other environmental factors throughout the product lifecycle. The analysis helps identify environmental hotspots and guides the development of more sustainable bioelectronic technologies with reduced ecological footprints.
02 Energy-efficient bioelectronic systems
Implementation of energy-efficient designs and power management strategies in bioelectronic interfaces to reduce energy consumption and associated environmental footprint. These systems utilize low-power components, energy harvesting technologies, and optimized algorithms to minimize battery usage and extend device lifetime. By reducing power requirements, these innovations decrease the need for frequent battery replacements and lower the overall carbon footprint of bioelectronic devices.Expand Specific Solutions03 Environmental monitoring using bioelectronic interfaces
Application of bioelectronic interfaces for environmental monitoring and assessment, including detection of pollutants, toxins, and ecological changes. These systems integrate biological components with electronic sensors to create highly sensitive and specific detection platforms that can monitor environmental parameters in real-time. The technology enables early warning systems for environmental contamination and provides data for ecological conservation efforts.Expand Specific Solutions04 Life cycle assessment and sustainable manufacturing
Implementation of life cycle assessment methodologies and sustainable manufacturing practices for bioelectronic interfaces to minimize environmental impacts throughout the product lifecycle. This includes considerations for raw material sourcing, production processes, use phase, and end-of-life management. Sustainable manufacturing approaches focus on reducing waste, conserving resources, and implementing circular economy principles in the production of bioelectronic devices.Expand Specific Solutions05 Bioremediation applications of bioelectronic interfaces
Utilization of bioelectronic interfaces for environmental remediation and restoration, including the treatment of contaminated soil and water. These systems combine biological processes with electronic control mechanisms to enhance the degradation of pollutants and restoration of ecosystems. The technology enables targeted and efficient bioremediation approaches that can be monitored and optimized in real-time, providing sustainable solutions for environmental cleanup.Expand Specific Solutions
Leading Organizations in Green Bioelectronic Research
The bioelectronic interfaces market is currently in its growth phase, characterized by increasing research activities and emerging commercial applications. The environmental impact assessment of these technologies is gaining importance as the market expands, projected to reach approximately $25 billion by 2030. Leading academic institutions including MIT, Johns Hopkins University, and Michigan State University are pioneering research on sustainable bioelectronic materials, while companies like Google, Infineon Technologies, and NTT Docomo are developing commercial applications with reduced environmental footprints. The technology remains in early-to-mid maturity, with significant advancements in biodegradable components and energy-efficient designs emerging from collaborative efforts between universities and industry partners, though standardized environmental impact metrics are still evolving.
The Regents of the University of Michigan
Technical Solution: The University of Michigan has developed comprehensive approaches to mitigate environmental impacts of bioelectronic interfaces through their "Green Bioelectronics" initiative. Their research focuses on creating fully recyclable and biodegradable electronic components using organic semiconductors and natural polymers that decompose safely in environmental conditions[2]. Michigan researchers have pioneered water-based processing techniques that eliminate the need for toxic organic solvents traditionally used in electronics manufacturing, reducing harmful emissions and waste products[4]. Their bioelectronic interfaces incorporate innovative designs that minimize energy consumption through ultra-low-power circuits and energy harvesting from biological systems. The university has also developed novel recovery protocols for rare earth elements and precious metals from bioelectronic devices, creating closed-loop systems that reduce mining impacts and resource depletion[7]. Their life cycle assessment methodology specifically tailored for bioelectronic interfaces has become an industry standard for evaluating environmental sustainability.
Strengths: Comprehensive approach addressing manufacturing, use, and end-of-life environmental impacts; practical recovery systems for valuable materials; established assessment methodologies for industry adoption. Weaknesses: Biodegradable components often have shorter functional lifespans; recovery systems require specialized infrastructure; performance trade-offs when using environmentally friendly materials.
Massachusetts Institute of Technology
Technical Solution: MIT has pioneered sustainable bioelectronic interfaces through their development of biodegradable and biocompatible electronic systems. Their research focuses on transient electronics that can dissolve harmlessly in the body or environment after use, significantly reducing electronic waste. MIT's approach incorporates naturally derived materials like silk fibroin, cellulose, and other biopolymers as substrates and encapsulation layers for electronic components[1]. They have developed water-soluble electronics that can perform complex functions before dissolving completely, leaving minimal environmental footprint. Additionally, MIT researchers have created bioelectronic sensors using enzymatic reactions that eliminate the need for toxic heavy metals typically found in conventional electronics[3]. Their recent innovations include self-powered bioelectronic systems that harvest energy from the body or surrounding environment, reducing battery waste and associated environmental contamination[5].
Strengths: Leading-edge research in biodegradable electronics with proven functionality; integration of biological materials with electronic systems; focus on zero-waste lifecycle design. Weaknesses: Many technologies still in laboratory phase; complete biodegradation may limit long-term monitoring applications; higher initial production costs compared to conventional electronics.
Key Innovations in Biodegradable Materials
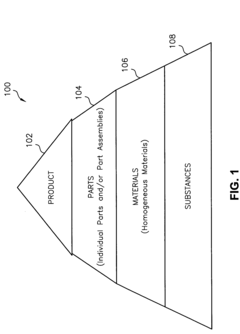
Method and apparatus for determining material breakdown and product compliance
PatentInactiveUS7251569B2
Innovation
- A system and method that analyzes products by retrieving relationship information from a database to determine material breakdown and compliance status, processing data on substances and materials within products, parts, and their suppliers, enabling aggregation and compliance assessment.
Life Cycle Assessment Methodologies
Life Cycle Assessment (LCA) methodologies provide a systematic framework for evaluating the environmental impacts of bioelectronic interfaces throughout their entire lifecycle. These methodologies typically follow ISO 14040 and 14044 standards, which outline four main phases: goal and scope definition, inventory analysis, impact assessment, and interpretation. When applied to bioelectronic interfaces, these assessments must account for unique challenges related to biomaterials, electronic components, and their integration.
The goal and scope definition phase for bioelectronic interfaces requires careful boundary setting, considering both the medical device aspects and electronic components. Functional units must be defined appropriately—often based on device lifespan, therapeutic cycles, or monitoring duration—to enable meaningful comparisons between different interface technologies.
Inventory analysis for bioelectronic interfaces presents unique challenges due to the hybrid nature of these devices. Data collection must encompass raw material extraction (including rare earth elements for electronics and specialized biomaterials), manufacturing processes (often requiring cleanroom environments), sterilization procedures, packaging requirements, use-phase energy consumption, and end-of-life management. The biocompatible components often require specialized inventory data that may not be available in standard LCA databases.
Impact assessment methodologies for bioelectronic interfaces should address multiple environmental impact categories, including climate change potential, resource depletion, ecotoxicity, and human toxicity. Specialized impact categories relevant to healthcare applications, such as antimicrobial resistance potential and pharmaceutical residues, may need to be incorporated into traditional LCA frameworks.
Recent methodological advances have introduced streamlined LCA approaches specifically tailored for medical technologies, allowing for preliminary assessments during early design phases. These approaches help identify environmental hotspots before design parameters are finalized. Additionally, consequential LCA methodologies are increasingly applied to capture the broader systemic impacts of bioelectronic interfaces, including potential reductions in pharmaceutical use or extended patient lifespans.
Uncertainty analysis is particularly important in bioelectronic interface LCAs due to data limitations and the rapidly evolving nature of these technologies. Monte Carlo simulations and sensitivity analyses are commonly employed to quantify confidence levels in assessment results and identify which parameters most significantly influence environmental outcomes.
Integration of circularity metrics into LCA methodologies has emerged as a critical development, addressing the challenges of recovering valuable materials from explanted devices while ensuring patient safety and proper biohazard management. These enhanced methodologies help guide the development of bioelectronic interfaces toward more sustainable and environmentally responsible solutions.
The goal and scope definition phase for bioelectronic interfaces requires careful boundary setting, considering both the medical device aspects and electronic components. Functional units must be defined appropriately—often based on device lifespan, therapeutic cycles, or monitoring duration—to enable meaningful comparisons between different interface technologies.
Inventory analysis for bioelectronic interfaces presents unique challenges due to the hybrid nature of these devices. Data collection must encompass raw material extraction (including rare earth elements for electronics and specialized biomaterials), manufacturing processes (often requiring cleanroom environments), sterilization procedures, packaging requirements, use-phase energy consumption, and end-of-life management. The biocompatible components often require specialized inventory data that may not be available in standard LCA databases.
Impact assessment methodologies for bioelectronic interfaces should address multiple environmental impact categories, including climate change potential, resource depletion, ecotoxicity, and human toxicity. Specialized impact categories relevant to healthcare applications, such as antimicrobial resistance potential and pharmaceutical residues, may need to be incorporated into traditional LCA frameworks.
Recent methodological advances have introduced streamlined LCA approaches specifically tailored for medical technologies, allowing for preliminary assessments during early design phases. These approaches help identify environmental hotspots before design parameters are finalized. Additionally, consequential LCA methodologies are increasingly applied to capture the broader systemic impacts of bioelectronic interfaces, including potential reductions in pharmaceutical use or extended patient lifespans.
Uncertainty analysis is particularly important in bioelectronic interface LCAs due to data limitations and the rapidly evolving nature of these technologies. Monte Carlo simulations and sensitivity analyses are commonly employed to quantify confidence levels in assessment results and identify which parameters most significantly influence environmental outcomes.
Integration of circularity metrics into LCA methodologies has emerged as a critical development, addressing the challenges of recovering valuable materials from explanted devices while ensuring patient safety and proper biohazard management. These enhanced methodologies help guide the development of bioelectronic interfaces toward more sustainable and environmentally responsible solutions.
Regulatory Framework for Bioelectronic Waste Management
The regulatory landscape governing bioelectronic waste management is rapidly evolving in response to the increasing deployment of bioelectronic interfaces across healthcare, consumer electronics, and industrial applications. Current frameworks primarily draw from existing electronic waste (e-waste) regulations, medical device disposal protocols, and biohazardous waste management systems, creating a complex patchwork of overlapping jurisdictions.
At the international level, the Basel Convention on the Control of Transboundary Movements of Hazardous Wastes and Their Disposal provides the foundational framework, though it lacks specific provisions for bioelectronic materials. The European Union leads with its Waste Electrical and Electronic Equipment (WEEE) Directive, which has been amended to address certain bioelectronic components, requiring manufacturers to implement take-back programs and meet specific recovery targets.
In the United States, regulation remains fragmented across federal agencies. The FDA oversees disposal of implantable bioelectronic devices, while the EPA regulates electronic components under the Resource Conservation and Recovery Act. This multi-agency approach creates compliance challenges for manufacturers operating across jurisdictions, as requirements for material separation, decontamination protocols, and disposal pathways vary significantly.
Emerging economies present particular regulatory challenges, with many lacking infrastructure for proper bioelectronic waste processing. China's recent National Sword policy restricting waste imports has disrupted global waste flows, forcing developed nations to reconsider domestic processing capabilities for complex bioelectronic waste streams.
A critical regulatory gap exists in addressing the unique hybrid nature of bioelectronic interfaces, which contain both electronic components and biological materials. Current frameworks inadequately address the potential for leaching of neurotoxic compounds, biodegradation of organic electronic components, and proper handling of biologically active materials.
Industry standards are developing through organizations like IEEE and ISO, which have established working groups focused on sustainable design and end-of-life management for bioelectronic products. These efforts aim to standardize testing protocols for environmental persistence, bioaccumulation potential, and toxicity thresholds specific to bioelectronic materials.
Forward-looking regulatory approaches are beginning to incorporate extended producer responsibility principles, requiring manufacturers to consider full lifecycle environmental impacts during design phases. Several jurisdictions are piloting regulatory sandboxes to test novel approaches to bioelectronic waste classification, tracking systems utilizing blockchain technology, and specialized recycling processes that can safely separate biological and electronic components.
At the international level, the Basel Convention on the Control of Transboundary Movements of Hazardous Wastes and Their Disposal provides the foundational framework, though it lacks specific provisions for bioelectronic materials. The European Union leads with its Waste Electrical and Electronic Equipment (WEEE) Directive, which has been amended to address certain bioelectronic components, requiring manufacturers to implement take-back programs and meet specific recovery targets.
In the United States, regulation remains fragmented across federal agencies. The FDA oversees disposal of implantable bioelectronic devices, while the EPA regulates electronic components under the Resource Conservation and Recovery Act. This multi-agency approach creates compliance challenges for manufacturers operating across jurisdictions, as requirements for material separation, decontamination protocols, and disposal pathways vary significantly.
Emerging economies present particular regulatory challenges, with many lacking infrastructure for proper bioelectronic waste processing. China's recent National Sword policy restricting waste imports has disrupted global waste flows, forcing developed nations to reconsider domestic processing capabilities for complex bioelectronic waste streams.
A critical regulatory gap exists in addressing the unique hybrid nature of bioelectronic interfaces, which contain both electronic components and biological materials. Current frameworks inadequately address the potential for leaching of neurotoxic compounds, biodegradation of organic electronic components, and proper handling of biologically active materials.
Industry standards are developing through organizations like IEEE and ISO, which have established working groups focused on sustainable design and end-of-life management for bioelectronic products. These efforts aim to standardize testing protocols for environmental persistence, bioaccumulation potential, and toxicity thresholds specific to bioelectronic materials.
Forward-looking regulatory approaches are beginning to incorporate extended producer responsibility principles, requiring manufacturers to consider full lifecycle environmental impacts during design phases. Several jurisdictions are piloting regulatory sandboxes to test novel approaches to bioelectronic waste classification, tracking systems utilizing blockchain technology, and specialized recycling processes that can safely separate biological and electronic components.
Unlock deeper insights with Patsnap Eureka Quick Research — get a full tech report to explore trends and direct your research. Try now!
Generate Your Research Report Instantly with AI Agent
Supercharge your innovation with Patsnap Eureka AI Agent Platform!



