Cross-Compatibility of Regenerative Braking in Multimodal Transport Systems
AUG 15, 20259 MIN READ
 Generate Your Research Report Instantly with AI Agent 
 Patsnap Eureka helps you evaluate technical feasibility & market potential. 
Regenerative Braking Evolution and Objectives
Regenerative braking has evolved significantly since its inception in the early 20th century. Initially developed for electric vehicles, this technology has gradually expanded its application to various modes of transportation, including hybrid vehicles, trains, and even bicycles. The primary objective of regenerative braking is to recover and store energy that would otherwise be lost as heat during conventional braking processes.
The evolution of regenerative braking can be traced through several key milestones. In the 1960s and 1970s, the concept gained traction in the automotive industry as environmental concerns and energy efficiency became more prominent. The 1990s saw a surge in hybrid vehicle development, which further propelled the advancement of regenerative braking systems. In recent years, the technology has been refined to achieve higher efficiency and integration with other vehicle systems.
As the transportation sector faces increasing pressure to reduce emissions and improve energy efficiency, regenerative braking has become a crucial component in the development of sustainable transport solutions. The technology's potential to significantly reduce energy consumption and extend the range of electric vehicles has made it a focal point for research and development across various transportation modes.
The current objectives of regenerative braking research in multimodal transport systems are multifaceted. One primary goal is to enhance the cross-compatibility of regenerative braking systems across different modes of transportation. This involves developing standardized interfaces and protocols that allow for seamless integration and interoperability between various vehicle types and infrastructure.
Another key objective is to improve the overall efficiency of regenerative braking systems. This includes optimizing energy recovery rates, minimizing energy losses during the conversion and storage processes, and developing more advanced energy storage technologies. Researchers are also focusing on enhancing the control algorithms that manage the balance between regenerative and friction braking to maximize energy recovery while maintaining vehicle stability and safety.
Furthermore, there is a growing emphasis on adapting regenerative braking systems for use in diverse environmental conditions and terrains. This is particularly important for achieving cross-compatibility in multimodal transport systems that operate across different geographical regions and climates.
The integration of regenerative braking with emerging technologies such as artificial intelligence and connected vehicle systems represents another significant objective. These advancements aim to create more intelligent and adaptive braking systems that can optimize energy recovery based on real-time data and predictive algorithms.
The evolution of regenerative braking can be traced through several key milestones. In the 1960s and 1970s, the concept gained traction in the automotive industry as environmental concerns and energy efficiency became more prominent. The 1990s saw a surge in hybrid vehicle development, which further propelled the advancement of regenerative braking systems. In recent years, the technology has been refined to achieve higher efficiency and integration with other vehicle systems.
As the transportation sector faces increasing pressure to reduce emissions and improve energy efficiency, regenerative braking has become a crucial component in the development of sustainable transport solutions. The technology's potential to significantly reduce energy consumption and extend the range of electric vehicles has made it a focal point for research and development across various transportation modes.
The current objectives of regenerative braking research in multimodal transport systems are multifaceted. One primary goal is to enhance the cross-compatibility of regenerative braking systems across different modes of transportation. This involves developing standardized interfaces and protocols that allow for seamless integration and interoperability between various vehicle types and infrastructure.
Another key objective is to improve the overall efficiency of regenerative braking systems. This includes optimizing energy recovery rates, minimizing energy losses during the conversion and storage processes, and developing more advanced energy storage technologies. Researchers are also focusing on enhancing the control algorithms that manage the balance between regenerative and friction braking to maximize energy recovery while maintaining vehicle stability and safety.
Furthermore, there is a growing emphasis on adapting regenerative braking systems for use in diverse environmental conditions and terrains. This is particularly important for achieving cross-compatibility in multimodal transport systems that operate across different geographical regions and climates.
The integration of regenerative braking with emerging technologies such as artificial intelligence and connected vehicle systems represents another significant objective. These advancements aim to create more intelligent and adaptive braking systems that can optimize energy recovery based on real-time data and predictive algorithms.
Multimodal Transport Market Analysis
The multimodal transport market has experienced significant growth in recent years, driven by increasing globalization, urbanization, and the need for more efficient and sustainable transportation solutions. This market encompasses various modes of transport, including road, rail, air, and sea, integrated into a seamless logistics chain. The global multimodal transport market was valued at approximately $1,000 billion in 2020 and is projected to reach $1,500 billion by 2025, growing at a CAGR of 8.5% during the forecast period.
One of the key factors driving market growth is the rising demand for cost-effective and time-efficient transportation solutions. Multimodal transport systems offer optimized routes and reduced transit times, leading to lower overall logistics costs for businesses. Additionally, the increasing focus on reducing carbon emissions and improving sustainability in the transportation sector has further boosted the adoption of multimodal transport solutions.
The market is segmented based on transportation mode, with road transport holding the largest market share due to its flexibility and extensive network coverage. However, rail transport is expected to witness the highest growth rate in the coming years, driven by government initiatives to expand rail infrastructure and promote more environmentally friendly transportation options.
Geographically, Asia Pacific dominates the multimodal transport market, accounting for over 40% of the global market share. This can be attributed to the region's rapid industrialization, growing trade activities, and significant investments in transportation infrastructure. North America and Europe follow closely, with well-established multimodal transport networks and advanced logistics technologies.
The COVID-19 pandemic has had a mixed impact on the multimodal transport market. While it initially disrupted global supply chains and reduced overall transportation volumes, it has also accelerated the adoption of digital technologies and automation in logistics operations. This has led to increased efficiency and resilience in multimodal transport systems, positioning the market for strong recovery and growth in the post-pandemic era.
Key trends shaping the multimodal transport market include the integration of IoT and AI technologies for real-time tracking and optimization, the development of smart ports and terminals to enhance intermodal connectivity, and the increasing focus on last-mile delivery solutions in urban areas. These trends are expected to drive innovation and create new opportunities in the multimodal transport ecosystem.
One of the key factors driving market growth is the rising demand for cost-effective and time-efficient transportation solutions. Multimodal transport systems offer optimized routes and reduced transit times, leading to lower overall logistics costs for businesses. Additionally, the increasing focus on reducing carbon emissions and improving sustainability in the transportation sector has further boosted the adoption of multimodal transport solutions.
The market is segmented based on transportation mode, with road transport holding the largest market share due to its flexibility and extensive network coverage. However, rail transport is expected to witness the highest growth rate in the coming years, driven by government initiatives to expand rail infrastructure and promote more environmentally friendly transportation options.
Geographically, Asia Pacific dominates the multimodal transport market, accounting for over 40% of the global market share. This can be attributed to the region's rapid industrialization, growing trade activities, and significant investments in transportation infrastructure. North America and Europe follow closely, with well-established multimodal transport networks and advanced logistics technologies.
The COVID-19 pandemic has had a mixed impact on the multimodal transport market. While it initially disrupted global supply chains and reduced overall transportation volumes, it has also accelerated the adoption of digital technologies and automation in logistics operations. This has led to increased efficiency and resilience in multimodal transport systems, positioning the market for strong recovery and growth in the post-pandemic era.
Key trends shaping the multimodal transport market include the integration of IoT and AI technologies for real-time tracking and optimization, the development of smart ports and terminals to enhance intermodal connectivity, and the increasing focus on last-mile delivery solutions in urban areas. These trends are expected to drive innovation and create new opportunities in the multimodal transport ecosystem.
Current Challenges in Cross-Compatibility
The cross-compatibility of regenerative braking systems in multimodal transport presents several significant challenges. One of the primary obstacles is the lack of standardization across different transport modes. Each mode, such as electric vehicles, trains, and hybrid buses, has developed its own regenerative braking technologies, often tailored to specific operational requirements. This diversity in systems makes it difficult to create a unified approach that can seamlessly integrate across all modes of transport.
Another challenge lies in the varying energy storage capacities and power requirements of different transport modes. For instance, the energy recovered from a light rail system may far exceed what can be efficiently stored or utilized by smaller electric vehicles. This mismatch in energy scales complicates the development of cross-compatible systems that can effectively manage and distribute recovered energy across different transport types.
The dynamic nature of multimodal transport systems also poses a significant hurdle. The unpredictable flow of vehicles and the constantly changing energy demand patterns make it challenging to design a regenerative braking system that can optimally capture and redistribute energy in real-time across various modes of transport. This complexity is further compounded by the need to ensure safety and reliability across all interconnected systems.
Infrastructure limitations present another major challenge. Many existing transport networks lack the necessary infrastructure to support advanced energy recovery and redistribution systems. Upgrading these networks to accommodate cross-compatible regenerative braking would require substantial investments and potentially disruptive modifications to existing systems.
Furthermore, there are regulatory and safety concerns that need to be addressed. Different transport modes are often subject to varying safety standards and regulations. Developing a cross-compatible system that meets all these diverse requirements while ensuring optimal performance is a complex task that requires careful consideration and extensive testing.
The integration of different communication protocols and control systems across various transport modes also presents a significant technical challenge. Ensuring seamless data exchange and coordinated operation between diverse systems is crucial for the effective implementation of cross-compatible regenerative braking.
Lastly, the economic viability of implementing such systems on a large scale remains a concern. The cost-benefit analysis of retrofitting existing transport systems with cross-compatible regenerative braking technology may not always be favorable, particularly for older or less frequently used modes of transport. This economic factor could potentially limit the widespread adoption of cross-compatible systems, despite their potential benefits in energy efficiency and sustainability.
Another challenge lies in the varying energy storage capacities and power requirements of different transport modes. For instance, the energy recovered from a light rail system may far exceed what can be efficiently stored or utilized by smaller electric vehicles. This mismatch in energy scales complicates the development of cross-compatible systems that can effectively manage and distribute recovered energy across different transport types.
The dynamic nature of multimodal transport systems also poses a significant hurdle. The unpredictable flow of vehicles and the constantly changing energy demand patterns make it challenging to design a regenerative braking system that can optimally capture and redistribute energy in real-time across various modes of transport. This complexity is further compounded by the need to ensure safety and reliability across all interconnected systems.
Infrastructure limitations present another major challenge. Many existing transport networks lack the necessary infrastructure to support advanced energy recovery and redistribution systems. Upgrading these networks to accommodate cross-compatible regenerative braking would require substantial investments and potentially disruptive modifications to existing systems.
Furthermore, there are regulatory and safety concerns that need to be addressed. Different transport modes are often subject to varying safety standards and regulations. Developing a cross-compatible system that meets all these diverse requirements while ensuring optimal performance is a complex task that requires careful consideration and extensive testing.
The integration of different communication protocols and control systems across various transport modes also presents a significant technical challenge. Ensuring seamless data exchange and coordinated operation between diverse systems is crucial for the effective implementation of cross-compatible regenerative braking.
Lastly, the economic viability of implementing such systems on a large scale remains a concern. The cost-benefit analysis of retrofitting existing transport systems with cross-compatible regenerative braking technology may not always be favorable, particularly for older or less frequently used modes of transport. This economic factor could potentially limit the widespread adoption of cross-compatible systems, despite their potential benefits in energy efficiency and sustainability.
Existing Cross-Compatibility Solutions
- 01 Cross-compatibility of regenerative braking systemsRegenerative braking systems can be designed to be compatible across different vehicle types and propulsion systems. This cross-compatibility allows for the integration of regenerative braking in hybrid, electric, and conventional vehicles, maximizing energy recovery and improving overall efficiency. The systems can be adapted to work with various motor types and energy storage solutions, enabling broader application in the automotive industry.- Cross-compatibility of regenerative braking systems: Regenerative braking systems are designed to be compatible across various vehicle types and propulsion systems. This cross-compatibility allows for the integration of regenerative braking in hybrid, electric, and conventional vehicles, maximizing energy recovery and improving overall efficiency. The systems are adaptable to different vehicle architectures and can work in conjunction with traditional friction brakes.
- Integration with existing brake systems: Regenerative braking systems are designed to seamlessly integrate with existing hydraulic or pneumatic brake systems. This integration allows for a smooth transition between regenerative and friction braking, ensuring optimal energy recovery without compromising safety or braking performance. The systems can be adapted to work with various brake control units and anti-lock braking systems.
- Adaptive control strategies for regenerative braking: Advanced control strategies are implemented to optimize the performance of regenerative braking systems across different vehicle types and driving conditions. These adaptive control algorithms adjust the regenerative braking force based on factors such as vehicle speed, battery state of charge, and driver input. This ensures maximum energy recovery while maintaining vehicle stability and driver comfort.
- Compatibility with multiple energy storage systems: Regenerative braking systems are designed to be compatible with various energy storage technologies, including batteries, supercapacitors, and flywheels. This flexibility allows for the optimization of energy recovery and storage based on the specific requirements of different vehicle types and applications. The systems can adapt to different voltage levels and power capacities of various energy storage devices.
- Standardization and interoperability: Efforts are being made to standardize regenerative braking systems and components to improve cross-compatibility and interoperability across different vehicle manufacturers and models. This standardization includes communication protocols, connectors, and control interfaces, allowing for easier integration and maintenance of regenerative braking systems in diverse vehicle platforms.
 
- 02 Integration with existing brake systemsRegenerative braking can be integrated with conventional friction braking systems to provide seamless operation and enhanced braking performance. This integration allows for the optimal distribution of braking force between regenerative and friction braking, ensuring safety and efficiency. Advanced control algorithms are used to manage the transition between regenerative and friction braking, providing a smooth braking experience for the driver.Expand Specific Solutions
- 03 Adaptability to different energy storage systemsRegenerative braking systems can be designed to work with various energy storage technologies, including batteries, supercapacitors, and flywheels. This adaptability allows for the optimization of energy recovery and storage based on the specific requirements of different vehicle types and applications. The systems can be tailored to match the charging characteristics and capacity of the chosen energy storage solution, maximizing overall system efficiency.Expand Specific Solutions
- 04 Compatibility with multiple motor typesRegenerative braking systems can be designed to work with various electric motor types, including AC induction motors, permanent magnet synchronous motors, and switched reluctance motors. This compatibility allows for the implementation of regenerative braking across a wide range of vehicle platforms and powertrain configurations. The control systems can be adapted to optimize energy recovery based on the specific characteristics of the motor being used.Expand Specific Solutions
- 05 Standardization and interoperabilityEfforts are being made to standardize regenerative braking systems and components to improve interoperability between different vehicle manufacturers and suppliers. This standardization can lead to reduced costs, improved reliability, and easier integration of regenerative braking technology across the automotive industry. It also facilitates the development of aftermarket solutions and upgrades for existing vehicles.Expand Specific Solutions
Key Players in Multimodal Transport Systems
The research on cross-compatibility of regenerative braking in multimodal transport systems is in an emerging stage, with the market showing significant growth potential. The technology's maturity varies across companies, with automotive giants like Hyundai, Ford, and Toyota leading the way. These firms are leveraging their extensive R&D capabilities to advance regenerative braking systems. Emerging players such as ZF Active Safety and Eaton Intelligent Power are also making strides in this field. The market is characterized by intense competition and rapid innovation, driven by the increasing demand for energy-efficient transportation solutions across various modes of transport.
Volkswagen AG
Technical Solution:  Volkswagen AG has developed an advanced regenerative braking system for multimodal transport applications. Their system utilizes a combination of electric motors and hydraulic brakes to maximize energy recovery across various vehicle types. The technology incorporates adaptive control algorithms that adjust regenerative braking force based on vehicle speed, weight, and road conditions[1]. This allows for seamless integration in different transport modes, from passenger cars to light rail systems. Volkswagen's system also features a novel energy storage solution, combining high-capacity batteries with supercapacitors to efficiently capture and reuse braking energy[3]. The company has implemented this technology in their ID. series of electric vehicles and is working on adapting it for use in buses and trams.
Strengths: Highly adaptable system suitable for various transport modes; efficient energy recovery and storage. Weaknesses: May require significant infrastructure changes for full implementation across different transport systems.
Robert Bosch GmbH
Technical Solution:  Robert Bosch GmbH has engineered a cutting-edge regenerative braking system designed for cross-compatibility in multimodal transport. Their system utilizes a scalable electric motor-generator unit that can be adapted to various vehicle sizes and types. Bosch's technology incorporates an advanced power electronics module capable of handling a wide range of voltages and currents, making it suitable for everything from e-bikes to electric trucks[9]. The system features a unique blending algorithm that optimizes the balance between regenerative and friction braking for maximum energy recovery and vehicle stability[10]. Bosch has also developed a cloud-connected control unit that allows for over-the-air updates and system optimization based on aggregated data from various transport modes. This technology has been implemented in several automotive brands and is being adapted for use in light rail and electric bus systems.
Strengths: Highly scalable system suitable for a wide range of vehicle types; cloud-connected for continuous improvement. Weaknesses: Dependence on cloud connectivity may pose challenges in areas with limited network coverage.
Core Innovations in Energy Recovery
Regenerative braking device and vehicle provided with regenerative braking device 
PatentInactiveEP2236373A2
 Innovation 
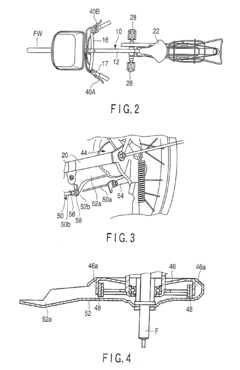
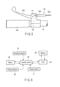
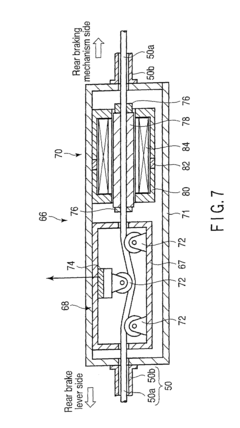
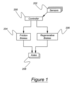
- A regenerative braking device comprising a braking mechanism, a brake operation section, a brake operation force sensor, a drive device, an electric power storage device, and a reaction force generator, which detects the brake operation force and adjusts the regenerative braking force accordingly, allowing for precise control of the regenerative braking amount based on the operator's input.
Method for operating multiple axle regenerative braking in an automotive vehicle 
PatentActiveUS7441845B2
 Innovation 
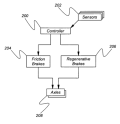
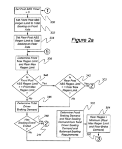
- A method and system that determine brake demand and regenerative braking availability for each axle, utilizing surplus regenerative braking from one axle to support another and applying friction braking when necessary to ensure maximum regenerative braking capability while minimizing anti-lock braking mode operation.
Standardization Efforts and Regulations
Standardization efforts and regulations play a crucial role in ensuring the cross-compatibility of regenerative braking systems across various modes of transportation. As the adoption of regenerative braking technology continues to grow, there is an increasing need for unified standards and regulatory frameworks to facilitate seamless integration and interoperability.
Several international organizations are actively working towards developing standardized protocols for regenerative braking systems. The International Organization for Standardization (ISO) has established technical committees focused on electric road vehicles and energy storage systems, which are addressing the standardization of regenerative braking components and interfaces. These efforts aim to create a common language and set of specifications that manufacturers can adhere to, regardless of the transport mode.
In the automotive sector, the Society of Automotive Engineers (SAE) has published guidelines for regenerative braking systems in electric and hybrid vehicles. These standards cover aspects such as performance requirements, safety considerations, and communication protocols between different vehicle subsystems. The SAE J2936 standard, for instance, provides a framework for evaluating the energy recovery capabilities of regenerative braking systems.
For rail transport, the International Union of Railways (UIC) has been instrumental in developing standards for regenerative braking in electric trains. The UIC 544-1 leaflet outlines the requirements for braking performance, including the use of regenerative braking systems. Additionally, the European Rail Traffic Management System (ERTMS) incorporates specifications for the integration of regenerative braking within its broader signaling and control framework.
Regulatory bodies in various countries are also taking steps to address the cross-compatibility of regenerative braking systems. The European Union, through its Horizon Europe research and innovation program, is funding projects aimed at harmonizing regenerative braking technologies across different transport modes. In the United States, the National Highway Traffic Safety Administration (NHTSA) has issued guidelines for the implementation of regenerative braking in electric vehicles, focusing on safety and performance standards.
The development of regulations for energy storage and grid integration is another critical aspect of standardization efforts. As regenerative braking systems often interface with energy storage devices and power grids, standards such as IEEE 1547 for interconnecting distributed energy resources are being adapted to accommodate the unique characteristics of regenerative braking systems.
Despite these advancements, challenges remain in achieving full cross-compatibility. The diverse nature of transport systems, varying operational requirements, and differing regulatory landscapes across regions pose significant hurdles. Ongoing collaboration between industry stakeholders, research institutions, and regulatory bodies is essential to overcome these challenges and establish a truly interoperable framework for regenerative braking across multimodal transport systems.
Several international organizations are actively working towards developing standardized protocols for regenerative braking systems. The International Organization for Standardization (ISO) has established technical committees focused on electric road vehicles and energy storage systems, which are addressing the standardization of regenerative braking components and interfaces. These efforts aim to create a common language and set of specifications that manufacturers can adhere to, regardless of the transport mode.
In the automotive sector, the Society of Automotive Engineers (SAE) has published guidelines for regenerative braking systems in electric and hybrid vehicles. These standards cover aspects such as performance requirements, safety considerations, and communication protocols between different vehicle subsystems. The SAE J2936 standard, for instance, provides a framework for evaluating the energy recovery capabilities of regenerative braking systems.
For rail transport, the International Union of Railways (UIC) has been instrumental in developing standards for regenerative braking in electric trains. The UIC 544-1 leaflet outlines the requirements for braking performance, including the use of regenerative braking systems. Additionally, the European Rail Traffic Management System (ERTMS) incorporates specifications for the integration of regenerative braking within its broader signaling and control framework.
Regulatory bodies in various countries are also taking steps to address the cross-compatibility of regenerative braking systems. The European Union, through its Horizon Europe research and innovation program, is funding projects aimed at harmonizing regenerative braking technologies across different transport modes. In the United States, the National Highway Traffic Safety Administration (NHTSA) has issued guidelines for the implementation of regenerative braking in electric vehicles, focusing on safety and performance standards.
The development of regulations for energy storage and grid integration is another critical aspect of standardization efforts. As regenerative braking systems often interface with energy storage devices and power grids, standards such as IEEE 1547 for interconnecting distributed energy resources are being adapted to accommodate the unique characteristics of regenerative braking systems.
Despite these advancements, challenges remain in achieving full cross-compatibility. The diverse nature of transport systems, varying operational requirements, and differing regulatory landscapes across regions pose significant hurdles. Ongoing collaboration between industry stakeholders, research institutions, and regulatory bodies is essential to overcome these challenges and establish a truly interoperable framework for regenerative braking across multimodal transport systems.
Environmental Impact Assessment
The environmental impact assessment of regenerative braking systems in multimodal transport is a crucial aspect of evaluating their overall sustainability and efficiency. These systems have the potential to significantly reduce energy consumption and greenhouse gas emissions across various modes of transportation, including trains, buses, and electric vehicles.
One of the primary environmental benefits of regenerative braking is the reduction in energy waste. Traditional braking systems convert kinetic energy into heat, which is then dissipated into the environment. In contrast, regenerative braking captures this energy and converts it back into electrical energy, which can be stored or immediately used. This process can lead to substantial energy savings, particularly in urban environments where frequent stops and starts are common.
The implementation of regenerative braking systems in multimodal transport can contribute to a decrease in overall carbon emissions. By reducing the energy demand from primary power sources, such as fossil fuel-based electricity generation or direct fuel consumption, these systems help mitigate the transport sector's impact on climate change. Studies have shown that regenerative braking can recover up to 70% of the energy typically lost during braking, translating to a significant reduction in CO2 emissions.
However, the environmental impact of regenerative braking systems extends beyond operational efficiency. The production and disposal of components, particularly batteries and power electronics, must be considered in a comprehensive life cycle assessment. The mining and processing of materials for these components can have negative environmental consequences, including habitat destruction and water pollution. Additionally, the disposal or recycling of these components at the end of their life cycle presents challenges that need to be addressed to ensure the overall environmental benefit of the technology.
The cross-compatibility of regenerative braking systems in multimodal transport also offers unique environmental advantages. By standardizing and integrating these systems across different modes of transportation, there is potential for greater energy efficiency and reduced material waste. For instance, a unified system could allow for the transfer of regenerated energy between different vehicles or transport infrastructure, maximizing the utilization of captured energy and further reducing the overall environmental footprint of the transport network.
Furthermore, the widespread adoption of compatible regenerative braking systems could lead to improvements in urban air quality. The reduction in particulate matter emissions associated with traditional braking systems, particularly in densely populated areas, can have significant positive impacts on public health and the urban environment. This aspect is particularly relevant in the context of increasing urbanization and the growing concern over air pollution in major cities worldwide.
In conclusion, the environmental impact assessment of cross-compatible regenerative braking systems in multimodal transport reveals a complex interplay of benefits and challenges. While the technology offers substantial potential for energy conservation and emission reduction, careful consideration must be given to the entire life cycle of these systems to ensure their net positive environmental impact. As research and development in this field progress, it is crucial to continually assess and optimize the environmental performance of these systems across all stages of their life cycle and implementation.
One of the primary environmental benefits of regenerative braking is the reduction in energy waste. Traditional braking systems convert kinetic energy into heat, which is then dissipated into the environment. In contrast, regenerative braking captures this energy and converts it back into electrical energy, which can be stored or immediately used. This process can lead to substantial energy savings, particularly in urban environments where frequent stops and starts are common.
The implementation of regenerative braking systems in multimodal transport can contribute to a decrease in overall carbon emissions. By reducing the energy demand from primary power sources, such as fossil fuel-based electricity generation or direct fuel consumption, these systems help mitigate the transport sector's impact on climate change. Studies have shown that regenerative braking can recover up to 70% of the energy typically lost during braking, translating to a significant reduction in CO2 emissions.
However, the environmental impact of regenerative braking systems extends beyond operational efficiency. The production and disposal of components, particularly batteries and power electronics, must be considered in a comprehensive life cycle assessment. The mining and processing of materials for these components can have negative environmental consequences, including habitat destruction and water pollution. Additionally, the disposal or recycling of these components at the end of their life cycle presents challenges that need to be addressed to ensure the overall environmental benefit of the technology.
The cross-compatibility of regenerative braking systems in multimodal transport also offers unique environmental advantages. By standardizing and integrating these systems across different modes of transportation, there is potential for greater energy efficiency and reduced material waste. For instance, a unified system could allow for the transfer of regenerated energy between different vehicles or transport infrastructure, maximizing the utilization of captured energy and further reducing the overall environmental footprint of the transport network.
Furthermore, the widespread adoption of compatible regenerative braking systems could lead to improvements in urban air quality. The reduction in particulate matter emissions associated with traditional braking systems, particularly in densely populated areas, can have significant positive impacts on public health and the urban environment. This aspect is particularly relevant in the context of increasing urbanization and the growing concern over air pollution in major cities worldwide.
In conclusion, the environmental impact assessment of cross-compatible regenerative braking systems in multimodal transport reveals a complex interplay of benefits and challenges. While the technology offers substantial potential for energy conservation and emission reduction, careful consideration must be given to the entire life cycle of these systems to ensure their net positive environmental impact. As research and development in this field progress, it is crucial to continually assess and optimize the environmental performance of these systems across all stages of their life cycle and implementation.
 Unlock deeper insights with  Patsnap Eureka Quick Research — get a full tech report to explore trends and direct your research. Try now! 
 Generate Your Research Report Instantly with AI Agent 
 Supercharge your innovation with Patsnap Eureka AI Agent Platform! 







