The Impact of 5G UC on Real-Time Data Sharing in Emergency Healthcare
JUL 18, 20259 MIN READ
 Generate Your Research Report Instantly with AI Agent 
 Patsnap Eureka helps you evaluate technical feasibility & market potential. 
5G UC in Healthcare: Background and Objectives
The evolution of mobile communication technologies has revolutionized various sectors, with healthcare being one of the most significantly impacted. The advent of 5G Ultra-Capacity (UC) technology marks a pivotal moment in this progression, particularly in the context of emergency healthcare. 5G UC represents a substantial leap forward in wireless communication, offering unprecedented speeds, reduced latency, and increased network capacity.
In the realm of emergency healthcare, real-time data sharing is crucial for timely and effective patient care. Traditional communication systems often struggle to meet the demanding requirements of emergency medical services, where every second counts. The integration of 5G UC into healthcare systems aims to address these challenges by enabling seamless, instantaneous data transmission and communication.
The primary objective of implementing 5G UC in emergency healthcare is to enhance the speed and reliability of data sharing among medical professionals, emergency responders, and healthcare facilities. This technology has the potential to transform how critical patient information is transmitted, processed, and utilized in high-pressure, time-sensitive situations.
Historically, the healthcare sector has seen gradual improvements in communication technologies, from basic radio systems to 4G networks. However, these advancements have not fully addressed the unique demands of emergency medical services, particularly in urban environments with high network congestion or rural areas with limited connectivity.
5G UC technology aims to overcome these limitations by providing ultra-fast, low-latency connections capable of handling massive amounts of data simultaneously. This capability is especially crucial in emergency scenarios where real-time transmission of high-resolution medical images, vital signs, and patient histories can significantly impact treatment outcomes.
The development of 5G UC for healthcare applications is driven by several key factors, including the increasing complexity of medical data, the need for remote diagnostics and telemedicine, and the growing importance of mobile health solutions. As healthcare systems worldwide face challenges such as aging populations and resource constraints, the potential of 5G UC to improve efficiency and effectiveness in emergency care becomes increasingly relevant.
Looking ahead, the integration of 5G UC in emergency healthcare is expected to facilitate advancements in areas such as remote surgery, AI-assisted diagnostics, and real-time patient monitoring. These developments could revolutionize how emergency medical services are delivered, potentially saving countless lives and improving patient outcomes across diverse geographical and socioeconomic settings.
In the realm of emergency healthcare, real-time data sharing is crucial for timely and effective patient care. Traditional communication systems often struggle to meet the demanding requirements of emergency medical services, where every second counts. The integration of 5G UC into healthcare systems aims to address these challenges by enabling seamless, instantaneous data transmission and communication.
The primary objective of implementing 5G UC in emergency healthcare is to enhance the speed and reliability of data sharing among medical professionals, emergency responders, and healthcare facilities. This technology has the potential to transform how critical patient information is transmitted, processed, and utilized in high-pressure, time-sensitive situations.
Historically, the healthcare sector has seen gradual improvements in communication technologies, from basic radio systems to 4G networks. However, these advancements have not fully addressed the unique demands of emergency medical services, particularly in urban environments with high network congestion or rural areas with limited connectivity.
5G UC technology aims to overcome these limitations by providing ultra-fast, low-latency connections capable of handling massive amounts of data simultaneously. This capability is especially crucial in emergency scenarios where real-time transmission of high-resolution medical images, vital signs, and patient histories can significantly impact treatment outcomes.
The development of 5G UC for healthcare applications is driven by several key factors, including the increasing complexity of medical data, the need for remote diagnostics and telemedicine, and the growing importance of mobile health solutions. As healthcare systems worldwide face challenges such as aging populations and resource constraints, the potential of 5G UC to improve efficiency and effectiveness in emergency care becomes increasingly relevant.
Looking ahead, the integration of 5G UC in emergency healthcare is expected to facilitate advancements in areas such as remote surgery, AI-assisted diagnostics, and real-time patient monitoring. These developments could revolutionize how emergency medical services are delivered, potentially saving countless lives and improving patient outcomes across diverse geographical and socioeconomic settings.
Market Demand for 5G-Enabled Emergency Healthcare
The market demand for 5G-enabled emergency healthcare solutions is experiencing rapid growth, driven by the increasing need for efficient and responsive medical services. As healthcare systems worldwide face challenges in delivering timely care during emergencies, the integration of 5G technology offers promising solutions to enhance real-time data sharing and communication.
Emergency healthcare providers are increasingly recognizing the potential of 5G to revolutionize their operations. The ultra-low latency and high-speed connectivity provided by 5G networks enable seamless transmission of critical patient data, high-resolution medical imaging, and real-time video consultations. This capability is particularly crucial in time-sensitive scenarios such as stroke management, trauma care, and cardiac emergencies, where every second counts in patient outcomes.
The COVID-19 pandemic has further accelerated the demand for 5G-enabled healthcare solutions. The need for remote patient monitoring, telemedicine, and efficient resource allocation during public health crises has highlighted the importance of robust and reliable communication infrastructure in emergency healthcare settings.
Healthcare institutions are showing a growing interest in implementing 5G-enabled technologies to improve their emergency response capabilities. This includes the adoption of smart ambulances equipped with 5G connectivity, allowing paramedics to transmit vital patient data to hospitals in real-time and receive expert guidance during transit. Additionally, there is an increasing demand for 5G-powered augmented reality (AR) and virtual reality (VR) applications in emergency training and remote surgical assistance.
The market for 5G-enabled emergency healthcare solutions is expected to expand significantly in the coming years. Factors contributing to this growth include the ongoing rollout of 5G networks globally, increasing investments in digital health infrastructure, and the rising prevalence of chronic diseases requiring rapid emergency interventions.
Government initiatives and regulatory support are also driving market demand. Many countries are prioritizing the development of 5G infrastructure and allocating spectrum specifically for healthcare applications. This supportive regulatory environment is encouraging healthcare providers to invest in 5G-enabled solutions for emergency care.
As the technology matures and becomes more widely available, the demand for 5G-enabled emergency healthcare solutions is expected to extend beyond urban centers to rural and remote areas. This expansion will address the longstanding challenge of providing timely emergency care in underserved regions, potentially reducing healthcare disparities and improving overall patient outcomes.
Emergency healthcare providers are increasingly recognizing the potential of 5G to revolutionize their operations. The ultra-low latency and high-speed connectivity provided by 5G networks enable seamless transmission of critical patient data, high-resolution medical imaging, and real-time video consultations. This capability is particularly crucial in time-sensitive scenarios such as stroke management, trauma care, and cardiac emergencies, where every second counts in patient outcomes.
The COVID-19 pandemic has further accelerated the demand for 5G-enabled healthcare solutions. The need for remote patient monitoring, telemedicine, and efficient resource allocation during public health crises has highlighted the importance of robust and reliable communication infrastructure in emergency healthcare settings.
Healthcare institutions are showing a growing interest in implementing 5G-enabled technologies to improve their emergency response capabilities. This includes the adoption of smart ambulances equipped with 5G connectivity, allowing paramedics to transmit vital patient data to hospitals in real-time and receive expert guidance during transit. Additionally, there is an increasing demand for 5G-powered augmented reality (AR) and virtual reality (VR) applications in emergency training and remote surgical assistance.
The market for 5G-enabled emergency healthcare solutions is expected to expand significantly in the coming years. Factors contributing to this growth include the ongoing rollout of 5G networks globally, increasing investments in digital health infrastructure, and the rising prevalence of chronic diseases requiring rapid emergency interventions.
Government initiatives and regulatory support are also driving market demand. Many countries are prioritizing the development of 5G infrastructure and allocating spectrum specifically for healthcare applications. This supportive regulatory environment is encouraging healthcare providers to invest in 5G-enabled solutions for emergency care.
As the technology matures and becomes more widely available, the demand for 5G-enabled emergency healthcare solutions is expected to extend beyond urban centers to rural and remote areas. This expansion will address the longstanding challenge of providing timely emergency care in underserved regions, potentially reducing healthcare disparities and improving overall patient outcomes.
Current State and Challenges of 5G UC in Healthcare
The integration of 5G Ultra-Capacity (UC) technology in healthcare, particularly in emergency scenarios, has shown significant promise. However, its current state and implementation face several challenges that need to be addressed for optimal performance and widespread adoption.
5G UC networks have been successfully deployed in various healthcare facilities, enabling high-speed, low-latency data transmission. This has facilitated real-time sharing of critical patient information, including high-resolution medical imaging, vital signs, and electronic health records. The technology has demonstrated its potential to enhance emergency response times and improve patient outcomes through faster diagnosis and treatment decisions.
Despite these advancements, the full implementation of 5G UC in healthcare settings remains limited. Many hospitals and emergency services are still in the process of upgrading their infrastructure to support 5G technology. The high costs associated with equipment upgrades and network installation pose a significant barrier, particularly for smaller healthcare providers and rural areas.
Interoperability issues present another major challenge. The diverse range of medical devices and systems used in healthcare often operate on different protocols and standards, making seamless integration with 5G networks complex. Ensuring compatibility and standardization across various platforms is crucial for effective real-time data sharing in emergency situations.
Security and privacy concerns also remain at the forefront of 5G UC implementation in healthcare. The increased connectivity and data transmission capabilities of 5G networks amplify the potential risks of cyber attacks and data breaches. Robust encryption methods and secure protocols are essential to protect sensitive patient information, but their implementation across all connected devices and systems is an ongoing challenge.
The reliability and coverage of 5G UC networks in emergency healthcare scenarios is another area of concern. While 5G offers improved speed and capacity, its shorter signal range compared to previous generations necessitates a denser network of base stations. Ensuring consistent coverage in all areas, especially during natural disasters or in remote locations, remains a significant hurdle.
Regulatory compliance and approval processes for 5G-enabled medical devices and applications also pose challenges. The rapid pace of technological advancement often outstrips the speed of regulatory frameworks, leading to delays in the adoption of innovative 5G solutions in healthcare settings.
Lastly, the need for specialized training and education for healthcare professionals to effectively utilize 5G-enabled technologies is a critical aspect that requires attention. Many practitioners are not yet fully equipped to leverage the capabilities of 5G UC in emergency scenarios, highlighting the need for comprehensive training programs and updated curricula in medical education.
5G UC networks have been successfully deployed in various healthcare facilities, enabling high-speed, low-latency data transmission. This has facilitated real-time sharing of critical patient information, including high-resolution medical imaging, vital signs, and electronic health records. The technology has demonstrated its potential to enhance emergency response times and improve patient outcomes through faster diagnosis and treatment decisions.
Despite these advancements, the full implementation of 5G UC in healthcare settings remains limited. Many hospitals and emergency services are still in the process of upgrading their infrastructure to support 5G technology. The high costs associated with equipment upgrades and network installation pose a significant barrier, particularly for smaller healthcare providers and rural areas.
Interoperability issues present another major challenge. The diverse range of medical devices and systems used in healthcare often operate on different protocols and standards, making seamless integration with 5G networks complex. Ensuring compatibility and standardization across various platforms is crucial for effective real-time data sharing in emergency situations.
Security and privacy concerns also remain at the forefront of 5G UC implementation in healthcare. The increased connectivity and data transmission capabilities of 5G networks amplify the potential risks of cyber attacks and data breaches. Robust encryption methods and secure protocols are essential to protect sensitive patient information, but their implementation across all connected devices and systems is an ongoing challenge.
The reliability and coverage of 5G UC networks in emergency healthcare scenarios is another area of concern. While 5G offers improved speed and capacity, its shorter signal range compared to previous generations necessitates a denser network of base stations. Ensuring consistent coverage in all areas, especially during natural disasters or in remote locations, remains a significant hurdle.
Regulatory compliance and approval processes for 5G-enabled medical devices and applications also pose challenges. The rapid pace of technological advancement often outstrips the speed of regulatory frameworks, leading to delays in the adoption of innovative 5G solutions in healthcare settings.
Lastly, the need for specialized training and education for healthcare professionals to effectively utilize 5G-enabled technologies is a critical aspect that requires attention. Many practitioners are not yet fully equipped to leverage the capabilities of 5G UC in emergency scenarios, highlighting the need for comprehensive training programs and updated curricula in medical education.
Existing 5G UC Solutions for Emergency Data Sharing
01 Ultra-Capacity Network Architecture
5G Ultra-Capacity (UC) networks are designed to provide high-speed, low-latency data transmission for real-time data sharing. This architecture incorporates advanced technologies such as massive MIMO, beamforming, and carrier aggregation to enhance network capacity and performance. The UC network enables seamless connectivity and efficient data distribution across various devices and applications.- 5G Ultra-Capacity Network Architecture: The 5G Ultra-Capacity (UC) network architecture is designed to support high-speed, low-latency real-time data sharing. It incorporates advanced technologies such as massive MIMO, beamforming, and network slicing to optimize bandwidth utilization and enable efficient data transmission across various applications and devices.
 - Real-Time Data Processing and Analytics: 5G UC networks enable real-time data processing and analytics by leveraging edge computing and distributed processing capabilities. This allows for rapid analysis of large datasets, enabling instant decision-making and responsive actions in various scenarios such as smart cities, industrial automation, and autonomous vehicles.
 - Enhanced Mobile Broadband for Data Sharing: 5G UC technology provides enhanced mobile broadband capabilities, allowing for seamless sharing of high-quality multimedia content, including 4K/8K video streaming, augmented reality, and virtual reality applications. This enables immersive experiences and real-time collaboration across various industries and consumer applications.
 - IoT and Machine-to-Machine Communication: 5G UC networks support massive Internet of Things (IoT) deployments and efficient machine-to-machine (M2M) communication. This enables real-time data sharing among a vast number of connected devices, facilitating smart manufacturing, intelligent transportation systems, and other IoT-driven applications.
 - Security and Privacy in Real-Time Data Sharing: 5G UC networks incorporate advanced security measures to ensure the confidentiality, integrity, and availability of real-time data sharing. This includes encryption protocols, secure authentication mechanisms, and privacy-preserving techniques to protect sensitive information during transmission and processing.
 
02 Real-Time Data Processing and Analytics
5G UC systems employ advanced data processing techniques and analytics to handle large volumes of real-time data. These systems utilize edge computing, artificial intelligence, and machine learning algorithms to process and analyze data at the network edge, reducing latency and enabling faster decision-making. This approach supports various applications such as autonomous vehicles, industrial automation, and smart city infrastructure.Expand Specific Solutions03 Secure Data Sharing Protocols
To ensure the security and privacy of real-time data sharing in 5G UC networks, advanced encryption and authentication protocols are implemented. These protocols include blockchain-based solutions, distributed ledger technologies, and quantum-resistant cryptography. Such measures protect sensitive information during transmission and storage, enabling secure collaboration and data exchange across various industries and applications.Expand Specific Solutions04 Dynamic Resource Allocation
5G UC networks utilize intelligent resource allocation mechanisms to optimize network performance for real-time data sharing. These systems dynamically allocate bandwidth, computing resources, and network slices based on application requirements and user demands. This approach ensures efficient utilization of network resources and maintains quality of service for diverse use cases, from augmented reality to remote surgery.Expand Specific Solutions05 Cross-Platform Interoperability
To facilitate seamless real-time data sharing across different devices, platforms, and network technologies, 5G UC systems implement advanced interoperability protocols. These protocols enable smooth integration with legacy systems, IoT devices, and emerging technologies. This interoperability ensures consistent data exchange and collaboration across diverse ecosystems, supporting applications in smart homes, connected vehicles, and industrial IoT.Expand Specific Solutions
Key Players in 5G UC and Healthcare Technology
The impact of 5G UC on real-time data sharing in emergency healthcare is at a critical juncture, with the market poised for significant growth. The technology is in its early adoption phase, with major players like Samsung, Apple, T-Mobile, and Huawei driving innovation. The market size is expanding rapidly as healthcare providers recognize the potential for improved patient outcomes. While 5G UC technology is still maturing, companies like Nokia, Ericsson, and NTT Docomo are making substantial investments in research and development to enhance its capabilities and reliability for critical healthcare applications.
T-Mobile US, Inc.
Technical Solution:  T-Mobile's approach to 5G UC in emergency healthcare focuses on leveraging their extensive 5G network infrastructure to provide widespread coverage for real-time data sharing. Their solution utilizes a combination of low-band, mid-band, and mmWave frequencies to ensure comprehensive coverage and high-speed data transmission in various environments. T-Mobile has implemented advanced Quality of Service (QoS) mechanisms to prioritize emergency healthcare traffic, ensuring that critical data receives preferential treatment on the network. The company has also developed partnerships with leading healthcare technology providers to create integrated solutions for remote patient monitoring and telemedicine, capable of supporting up to 100,000 connected devices per square kilometer[6].
Strengths: Extensive network coverage, multi-band 5G implementation, and strong partnerships in the healthcare sector. Weaknesses: May have less specialized features compared to dedicated emergency communication systems.
Nokia Technologies Oy
Technical Solution:  Nokia's 5G UC technology for emergency healthcare leverages their end-to-end network solutions to provide ultra-reliable and low-latency communication. Their system utilizes advanced beamforming techniques to enhance signal strength and coverage in challenging environments, such as disaster areas or remote locations. Nokia's solution incorporates AI-driven predictive analytics to optimize network performance and prioritize emergency data traffic. The company has demonstrated the capability to maintain a consistent 99.999% reliability rate for critical communications[5]. Nokia's 5G UC platform also supports network slicing, allowing for the creation of dedicated virtual networks for different emergency services, each with tailored performance characteristics.
Strengths: Excellent reliability, AI-enhanced network optimization, and versatile deployment options. Weaknesses: May face challenges in integrating with legacy healthcare systems.
Core Innovations in 5G UC for Healthcare
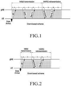
Resource selection for ultra-reliable low-latency communication (URLLC) uplink 
PatentActiveUS11963165B2
 Innovation 
- A method for resource selection by user equipment (UE) and base stations to intelligently choose the best configured grant resources based on transmission parameters, such as transport block size, transmission power, latency, and reliability, using advanced algorithms like RBIR/EESM for link prediction, enabling precise selection of resources for URLLC uplink transmissions.
 
Reliable low latency communication over shared resources 
PatentActiveUS11792840B2
 Innovation 
- The solution involves using device-to-device (D2D) communication by transmitting data in multiple separate frequency resources, with a preamble indicating urgent data transmission, allowing other devices to refrain from transmitting during this time, thereby maintaining reliability without increasing latency.
 
Regulatory Framework for 5G in Healthcare
The regulatory framework for 5G in healthcare is a critical aspect of implementing advanced technologies in emergency medical services. As 5G Ultra-Capacity (UC) networks continue to expand, healthcare providers and regulatory bodies must work together to ensure that the benefits of real-time data sharing are realized while maintaining patient privacy and data security.
In the United States, the Federal Communications Commission (FCC) plays a pivotal role in regulating 5G spectrum allocation and deployment. The FCC has designated specific frequency bands for 5G use, including mid-band and high-band spectrum, which are crucial for achieving the high-speed, low-latency connections required for emergency healthcare applications. Additionally, the FCC has implemented policies to accelerate 5G infrastructure deployment, such as streamlining the approval process for small cell installations.
The Food and Drug Administration (FDA) is responsible for regulating medical devices and software, including those that utilize 5G technology for data transmission. The FDA has established guidelines for cybersecurity in medical devices, which are particularly relevant to 5G-enabled healthcare applications. These guidelines emphasize the importance of secure data transmission and storage, as well as the need for regular software updates to address potential vulnerabilities.
The Health Insurance Portability and Accountability Act (HIPAA) remains a cornerstone of healthcare data protection in the United States. As 5G enables faster and more extensive data sharing, healthcare providers must ensure that their systems and practices comply with HIPAA regulations. This includes implementing robust encryption methods, access controls, and audit trails for all patient data transmitted over 5G networks.
Internationally, regulatory bodies such as the European Medicines Agency (EMA) and the International Telecommunication Union (ITU) are working to develop harmonized standards for 5G use in healthcare. These efforts aim to facilitate cross-border interoperability and ensure consistent levels of data protection and patient safety across different jurisdictions.
As 5G UC technology evolves, regulatory frameworks must adapt to address new challenges and opportunities. This includes developing guidelines for edge computing in healthcare, which allows for data processing closer to the point of care, potentially reducing latency and improving response times in emergency situations. Regulators must also consider the implications of network slicing, a key feature of 5G that allows for the creation of virtual, dedicated networks for specific applications, such as emergency services.
To fully leverage the potential of 5G UC in emergency healthcare, ongoing collaboration between technology providers, healthcare organizations, and regulatory bodies is essential. This collaboration should focus on developing flexible, future-proof regulations that can accommodate rapid technological advancements while maintaining the highest standards of patient care and data protection.
In the United States, the Federal Communications Commission (FCC) plays a pivotal role in regulating 5G spectrum allocation and deployment. The FCC has designated specific frequency bands for 5G use, including mid-band and high-band spectrum, which are crucial for achieving the high-speed, low-latency connections required for emergency healthcare applications. Additionally, the FCC has implemented policies to accelerate 5G infrastructure deployment, such as streamlining the approval process for small cell installations.
The Food and Drug Administration (FDA) is responsible for regulating medical devices and software, including those that utilize 5G technology for data transmission. The FDA has established guidelines for cybersecurity in medical devices, which are particularly relevant to 5G-enabled healthcare applications. These guidelines emphasize the importance of secure data transmission and storage, as well as the need for regular software updates to address potential vulnerabilities.
The Health Insurance Portability and Accountability Act (HIPAA) remains a cornerstone of healthcare data protection in the United States. As 5G enables faster and more extensive data sharing, healthcare providers must ensure that their systems and practices comply with HIPAA regulations. This includes implementing robust encryption methods, access controls, and audit trails for all patient data transmitted over 5G networks.
Internationally, regulatory bodies such as the European Medicines Agency (EMA) and the International Telecommunication Union (ITU) are working to develop harmonized standards for 5G use in healthcare. These efforts aim to facilitate cross-border interoperability and ensure consistent levels of data protection and patient safety across different jurisdictions.
As 5G UC technology evolves, regulatory frameworks must adapt to address new challenges and opportunities. This includes developing guidelines for edge computing in healthcare, which allows for data processing closer to the point of care, potentially reducing latency and improving response times in emergency situations. Regulators must also consider the implications of network slicing, a key feature of 5G that allows for the creation of virtual, dedicated networks for specific applications, such as emergency services.
To fully leverage the potential of 5G UC in emergency healthcare, ongoing collaboration between technology providers, healthcare organizations, and regulatory bodies is essential. This collaboration should focus on developing flexible, future-proof regulations that can accommodate rapid technological advancements while maintaining the highest standards of patient care and data protection.
Cybersecurity in 5G-Enabled Healthcare Systems
The integration of 5G technology in healthcare systems has revolutionized the way medical data is shared and processed, particularly in emergency situations. However, this advancement also brings significant cybersecurity challenges that must be addressed to ensure the integrity and confidentiality of sensitive patient information.
One of the primary concerns in 5G-enabled healthcare systems is the increased attack surface due to the proliferation of connected devices. The Internet of Medical Things (IoMT) has expanded rapidly, with numerous sensors, wearables, and medical equipment now connected to the network. This expansion creates more entry points for potential cyber attacks, requiring robust security measures to protect against unauthorized access and data breaches.
Data encryption becomes paramount in 5G healthcare environments, especially during real-time data transmission. Advanced encryption protocols must be implemented to safeguard patient data as it travels across the network at unprecedented speeds. Additionally, secure key management systems are essential to maintain the integrity of encrypted communications and prevent unauthorized decryption.
Authentication and access control mechanisms play a crucial role in protecting 5G-enabled healthcare systems. Multi-factor authentication, biometric verification, and role-based access control should be implemented to ensure that only authorized personnel can access sensitive medical information. These measures help prevent insider threats and unauthorized data access, which are significant risks in healthcare settings.
Network segmentation and microsegmentation strategies are vital for isolating critical healthcare systems and limiting the potential impact of security breaches. By creating separate network segments for different types of medical devices and data, healthcare organizations can contain potential threats and prevent them from spreading across the entire network.
Continuous monitoring and threat detection systems are essential components of cybersecurity in 5G healthcare environments. Advanced intrusion detection and prevention systems (IDPS) should be deployed to identify and mitigate potential security threats in real-time. Machine learning and artificial intelligence can be leveraged to analyze network traffic patterns and detect anomalies that may indicate a cyber attack.
Regulatory compliance is another critical aspect of cybersecurity in 5G-enabled healthcare systems. Healthcare organizations must ensure that their security measures align with industry standards and regulations such as HIPAA, GDPR, and other relevant data protection laws. Regular security audits and assessments should be conducted to maintain compliance and identify potential vulnerabilities.
Human Resources: Cybersecurity in 5G-enabled healthcare systems requires a skilled workforce capable of managing complex security infrastructures. Healthcare organizations should invest in training programs to develop cybersecurity expertise among their IT staff and raise awareness among all employees about potential security risks and best practices.
The integration of 5G technology in healthcare systems offers tremendous potential for improving patient care and outcomes, particularly in emergency situations. However, the cybersecurity challenges associated with this technology must be addressed comprehensively to ensure the protection of sensitive medical data and maintain patient trust in the healthcare system.
One of the primary concerns in 5G-enabled healthcare systems is the increased attack surface due to the proliferation of connected devices. The Internet of Medical Things (IoMT) has expanded rapidly, with numerous sensors, wearables, and medical equipment now connected to the network. This expansion creates more entry points for potential cyber attacks, requiring robust security measures to protect against unauthorized access and data breaches.
Data encryption becomes paramount in 5G healthcare environments, especially during real-time data transmission. Advanced encryption protocols must be implemented to safeguard patient data as it travels across the network at unprecedented speeds. Additionally, secure key management systems are essential to maintain the integrity of encrypted communications and prevent unauthorized decryption.
Authentication and access control mechanisms play a crucial role in protecting 5G-enabled healthcare systems. Multi-factor authentication, biometric verification, and role-based access control should be implemented to ensure that only authorized personnel can access sensitive medical information. These measures help prevent insider threats and unauthorized data access, which are significant risks in healthcare settings.
Network segmentation and microsegmentation strategies are vital for isolating critical healthcare systems and limiting the potential impact of security breaches. By creating separate network segments for different types of medical devices and data, healthcare organizations can contain potential threats and prevent them from spreading across the entire network.
Continuous monitoring and threat detection systems are essential components of cybersecurity in 5G healthcare environments. Advanced intrusion detection and prevention systems (IDPS) should be deployed to identify and mitigate potential security threats in real-time. Machine learning and artificial intelligence can be leveraged to analyze network traffic patterns and detect anomalies that may indicate a cyber attack.
Regulatory compliance is another critical aspect of cybersecurity in 5G-enabled healthcare systems. Healthcare organizations must ensure that their security measures align with industry standards and regulations such as HIPAA, GDPR, and other relevant data protection laws. Regular security audits and assessments should be conducted to maintain compliance and identify potential vulnerabilities.
Human Resources: Cybersecurity in 5G-enabled healthcare systems requires a skilled workforce capable of managing complex security infrastructures. Healthcare organizations should invest in training programs to develop cybersecurity expertise among their IT staff and raise awareness among all employees about potential security risks and best practices.
The integration of 5G technology in healthcare systems offers tremendous potential for improving patient care and outcomes, particularly in emergency situations. However, the cybersecurity challenges associated with this technology must be addressed comprehensively to ensure the protection of sensitive medical data and maintain patient trust in the healthcare system.
 Unlock deeper insights with  Patsnap Eureka Quick Research — get a full tech report to explore trends and direct your research. Try now! 
 Generate Your Research Report Instantly with AI Agent 
 Supercharge your innovation with Patsnap Eureka AI Agent Platform! 







