Best Practices for Rhodochrosite Magnetic Property Measurement
OCT 1, 20259 MIN READ
Generate Your Research Report Instantly with AI Agent
Patsnap Eureka helps you evaluate technical feasibility & market potential.
Rhodochrosite Magnetic Measurement Background and Objectives
Rhodochrosite (MnCO₃) has emerged as a significant mineral of interest in the field of magnetic materials research over the past several decades. This manganese carbonate mineral, characterized by its distinctive pink to red coloration, has historically been valued primarily for ornamental purposes. However, scientific interest in its magnetic properties has grown substantially since the 1970s when researchers began to systematically investigate transition metal carbonates for their unique magnetic behaviors.
The evolution of magnetic property measurement techniques has paralleled the growing interest in materials like rhodochrosite. Early studies relied on basic susceptibility measurements, while contemporary research employs sophisticated techniques including SQUID magnetometry, vibrating sample magnetometry (VSM), and magnetic force microscopy (MFM). This technological progression has enabled increasingly precise characterization of rhodochrosite's antiferromagnetic ordering and its temperature-dependent magnetic transitions.
Recent advancements in nanoscale materials science have further elevated the importance of accurate magnetic property measurements for rhodochrosite. As applications in spintronics, magnetic sensing, and data storage continue to develop, the need for standardized measurement protocols becomes increasingly critical. The scientific community has recognized that inconsistencies in measurement methodologies have led to significant variations in reported magnetic parameters for rhodochrosite samples.
The primary objective of this technical research is to establish comprehensive best practices for rhodochrosite magnetic property measurement that address the unique challenges presented by this mineral. These challenges include sample preparation considerations, environmental controls during measurement, and data analysis methodologies that account for the complex magnetic behavior of rhodochrosite, particularly near its Néel temperature of approximately 32K.
Additionally, this research aims to evaluate how various factors—including crystal quality, impurity content, and crystallographic orientation—influence magnetic measurements of rhodochrosite. By developing standardized protocols that account for these variables, we seek to improve measurement reproducibility across different laboratory environments and equipment configurations.
The ultimate goal is to provide the scientific and industrial communities with a reference framework that enables consistent, accurate, and comparable magnetic characterization of rhodochrosite. This standardization will support both fundamental research into the magnetic properties of transition metal carbonates and applied research exploring potential technological applications of rhodochrosite in next-generation magnetic devices and systems.
The evolution of magnetic property measurement techniques has paralleled the growing interest in materials like rhodochrosite. Early studies relied on basic susceptibility measurements, while contemporary research employs sophisticated techniques including SQUID magnetometry, vibrating sample magnetometry (VSM), and magnetic force microscopy (MFM). This technological progression has enabled increasingly precise characterization of rhodochrosite's antiferromagnetic ordering and its temperature-dependent magnetic transitions.
Recent advancements in nanoscale materials science have further elevated the importance of accurate magnetic property measurements for rhodochrosite. As applications in spintronics, magnetic sensing, and data storage continue to develop, the need for standardized measurement protocols becomes increasingly critical. The scientific community has recognized that inconsistencies in measurement methodologies have led to significant variations in reported magnetic parameters for rhodochrosite samples.
The primary objective of this technical research is to establish comprehensive best practices for rhodochrosite magnetic property measurement that address the unique challenges presented by this mineral. These challenges include sample preparation considerations, environmental controls during measurement, and data analysis methodologies that account for the complex magnetic behavior of rhodochrosite, particularly near its Néel temperature of approximately 32K.
Additionally, this research aims to evaluate how various factors—including crystal quality, impurity content, and crystallographic orientation—influence magnetic measurements of rhodochrosite. By developing standardized protocols that account for these variables, we seek to improve measurement reproducibility across different laboratory environments and equipment configurations.
The ultimate goal is to provide the scientific and industrial communities with a reference framework that enables consistent, accurate, and comparable magnetic characterization of rhodochrosite. This standardization will support both fundamental research into the magnetic properties of transition metal carbonates and applied research exploring potential technological applications of rhodochrosite in next-generation magnetic devices and systems.
Market Applications and Demand Analysis for Rhodochrosite
The global market for rhodochrosite has been experiencing steady growth, primarily driven by its dual applications in both industrial sectors and the gemstone market. The mineral's unique magnetic properties have opened new avenues for specialized applications in various high-tech industries, creating a niche but growing demand segment.
In the industrial sector, rhodochrosite's magnetic properties make it valuable for research applications in materials science and physics. Research institutions and advanced materials laboratories represent a significant market segment, with demand concentrated in countries with strong R&D infrastructures such as the United States, Germany, Japan, and increasingly China. This segment shows an annual growth rate aligned with research funding increases in materials science.
The electronics industry has begun exploring rhodochrosite's potential in specialized sensor applications, particularly where its unique magnetic response characteristics can be leveraged. While currently a small market segment, industry analysts project this application area could see substantial growth as measurement techniques become more standardized and reliable.
Mining companies and mineral processing facilities constitute another important market segment, as they require precise magnetic property measurements for resource evaluation and processing optimization. This segment is geographically concentrated around major rhodochrosite deposits in Argentina, Peru, South Africa, and the United States.
The gemstone and collector's market represents a parallel demand stream, where high-quality rhodochrosite specimens command premium prices. While this market is less concerned with magnetic properties specifically, the development of non-destructive magnetic measurement techniques has created new value-added services for authentication and quality assessment.
Market research indicates that demand for rhodochrosite magnetic property measurement equipment and services is growing at a moderate pace, with specialized scientific instrument manufacturers reporting increased interest in customized solutions for this mineral. The relatively small size of this market has limited major investment in standardized commercial solutions, creating opportunities for specialized service providers.
Current market constraints include the lack of standardized measurement protocols specifically optimized for rhodochrosite, which creates uncertainty for potential industrial users. Additionally, the relatively high cost of precision magnetic measurement equipment restricts market penetration in smaller mining operations and developing regions.
Future market growth appears contingent on the development of more accessible measurement technologies and the potential discovery of novel applications that leverage rhodochrosite's unique magnetic signature. As measurement practices become more standardized, market analysts anticipate accelerated adoption across both existing and emerging application areas.
In the industrial sector, rhodochrosite's magnetic properties make it valuable for research applications in materials science and physics. Research institutions and advanced materials laboratories represent a significant market segment, with demand concentrated in countries with strong R&D infrastructures such as the United States, Germany, Japan, and increasingly China. This segment shows an annual growth rate aligned with research funding increases in materials science.
The electronics industry has begun exploring rhodochrosite's potential in specialized sensor applications, particularly where its unique magnetic response characteristics can be leveraged. While currently a small market segment, industry analysts project this application area could see substantial growth as measurement techniques become more standardized and reliable.
Mining companies and mineral processing facilities constitute another important market segment, as they require precise magnetic property measurements for resource evaluation and processing optimization. This segment is geographically concentrated around major rhodochrosite deposits in Argentina, Peru, South Africa, and the United States.
The gemstone and collector's market represents a parallel demand stream, where high-quality rhodochrosite specimens command premium prices. While this market is less concerned with magnetic properties specifically, the development of non-destructive magnetic measurement techniques has created new value-added services for authentication and quality assessment.
Market research indicates that demand for rhodochrosite magnetic property measurement equipment and services is growing at a moderate pace, with specialized scientific instrument manufacturers reporting increased interest in customized solutions for this mineral. The relatively small size of this market has limited major investment in standardized commercial solutions, creating opportunities for specialized service providers.
Current market constraints include the lack of standardized measurement protocols specifically optimized for rhodochrosite, which creates uncertainty for potential industrial users. Additionally, the relatively high cost of precision magnetic measurement equipment restricts market penetration in smaller mining operations and developing regions.
Future market growth appears contingent on the development of more accessible measurement technologies and the potential discovery of novel applications that leverage rhodochrosite's unique magnetic signature. As measurement practices become more standardized, market analysts anticipate accelerated adoption across both existing and emerging application areas.
Current Challenges in Rhodochrosite Magnetic Characterization
Despite significant advancements in magnetic measurement techniques, rhodochrosite (MnCO₃) presents unique challenges for accurate magnetic property characterization. The mineral's complex magnetic behavior, which transitions from antiferromagnetic to paramagnetic states at approximately 32K (Néel temperature), requires specialized measurement protocols that many standard laboratory setups struggle to accommodate.
A primary challenge lies in the temperature-dependent nature of rhodochrosite's magnetic properties. Measurements must be conducted across a wide temperature range (2-300K) with precise temperature control and stability, particularly near the critical transition point. Many laboratories lack cryogenic systems capable of maintaining stable conditions below 4K, where some of the most interesting quantum magnetic phenomena in rhodochrosite occur.
Sample preparation introduces another significant hurdle. Rhodochrosite specimens often contain paramagnetic impurities such as iron oxides that can dramatically skew measurement results. Current purification techniques frequently alter the crystal structure or surface properties, potentially modifying the intrinsic magnetic behavior researchers aim to study. The development of non-destructive purification methods remains an ongoing challenge.
The anisotropic nature of rhodochrosite's magnetic properties further complicates characterization efforts. Conventional measurement techniques often fail to account for directional dependencies, leading to incomplete or misleading data. While single-crystal measurements could address this issue, growing high-quality rhodochrosite single crystals with controlled stoichiometry presents considerable difficulties.
Instrument sensitivity poses another substantial barrier. The weak magnetic signals produced by rhodochrosite, particularly in the antiferromagnetic state, approach the detection limits of many commercial magnetometers. Background noise and environmental magnetic fluctuations can easily overwhelm the mineral's subtle magnetic response, necessitating sophisticated signal processing and shielding solutions that are not widely available.
Data interpretation challenges compound these technical issues. The complex interplay between rhodochrosite's crystalline structure, manganese oxidation states, and magnetic ordering mechanisms creates multifaceted magnetic behaviors that defy simple analytical models. Researchers often struggle to separate intrinsic properties from extrinsic effects, leading to contradictory findings in the literature.
Standardization represents perhaps the most pressing challenge in the field. The absence of universally accepted measurement protocols and reference materials for rhodochrosite magnetic characterization has resulted in poor reproducibility across different research groups. This lack of standardization hinders meaningful comparison of results and slows overall progress in understanding this fascinating mineral's magnetic properties.
A primary challenge lies in the temperature-dependent nature of rhodochrosite's magnetic properties. Measurements must be conducted across a wide temperature range (2-300K) with precise temperature control and stability, particularly near the critical transition point. Many laboratories lack cryogenic systems capable of maintaining stable conditions below 4K, where some of the most interesting quantum magnetic phenomena in rhodochrosite occur.
Sample preparation introduces another significant hurdle. Rhodochrosite specimens often contain paramagnetic impurities such as iron oxides that can dramatically skew measurement results. Current purification techniques frequently alter the crystal structure or surface properties, potentially modifying the intrinsic magnetic behavior researchers aim to study. The development of non-destructive purification methods remains an ongoing challenge.
The anisotropic nature of rhodochrosite's magnetic properties further complicates characterization efforts. Conventional measurement techniques often fail to account for directional dependencies, leading to incomplete or misleading data. While single-crystal measurements could address this issue, growing high-quality rhodochrosite single crystals with controlled stoichiometry presents considerable difficulties.
Instrument sensitivity poses another substantial barrier. The weak magnetic signals produced by rhodochrosite, particularly in the antiferromagnetic state, approach the detection limits of many commercial magnetometers. Background noise and environmental magnetic fluctuations can easily overwhelm the mineral's subtle magnetic response, necessitating sophisticated signal processing and shielding solutions that are not widely available.
Data interpretation challenges compound these technical issues. The complex interplay between rhodochrosite's crystalline structure, manganese oxidation states, and magnetic ordering mechanisms creates multifaceted magnetic behaviors that defy simple analytical models. Researchers often struggle to separate intrinsic properties from extrinsic effects, leading to contradictory findings in the literature.
Standardization represents perhaps the most pressing challenge in the field. The absence of universally accepted measurement protocols and reference materials for rhodochrosite magnetic characterization has resulted in poor reproducibility across different research groups. This lack of standardization hinders meaningful comparison of results and slows overall progress in understanding this fascinating mineral's magnetic properties.
Standard Protocols for Rhodochrosite Magnetic Property Assessment
01 Magnetic properties of rhodochrosite in mineral processing
Rhodochrosite exhibits paramagnetic properties that can be utilized in mineral processing and separation techniques. The magnetic susceptibility of rhodochrosite allows it to be separated from other minerals using magnetic separation methods. This property is particularly useful in ore beneficiation processes where rhodochrosite needs to be isolated from gangue minerals or concentrated for further processing.- Magnetic properties of rhodochrosite in mineral processing: Rhodochrosite exhibits paramagnetic properties that can be utilized in mineral processing and separation techniques. The magnetic susceptibility of rhodochrosite allows it to be separated from other minerals using magnetic separation methods. This property is particularly useful in ore beneficiation processes where rhodochrosite needs to be isolated from gangue minerals or concentrated for further processing.
- Magnetic measurement techniques for rhodochrosite characterization: Various magnetic measurement techniques are employed to characterize the magnetic properties of rhodochrosite. These include vibrating sample magnetometry, SQUID magnetometry, and magnetic susceptibility measurements. These techniques help in determining the magnetic susceptibility, magnetic anisotropy, and temperature-dependent magnetic behavior of rhodochrosite samples, which are crucial for understanding its fundamental properties and potential applications.
- Temperature effects on rhodochrosite magnetic behavior: The magnetic properties of rhodochrosite vary significantly with temperature. At room temperature, rhodochrosite typically exhibits weak paramagnetic behavior, but at lower temperatures, it may show more complex magnetic ordering. Studies have investigated the temperature dependence of magnetic susceptibility in rhodochrosite, revealing transitions in magnetic behavior at specific temperature ranges that provide insights into its crystal structure and electronic properties.
- Magnetic enhancement of rhodochrosite through doping: The magnetic properties of rhodochrosite can be enhanced or modified through doping with various elements or creating composite materials. Introducing transition metal ions or rare earth elements into the rhodochrosite structure can significantly alter its magnetic behavior, potentially transforming it from paramagnetic to ferromagnetic or antiferromagnetic. These modified forms of rhodochrosite have potential applications in magnetic sensors, data storage, and other magnetic devices.
- Applications of rhodochrosite's magnetic properties: The magnetic properties of rhodochrosite find applications in various fields including geophysical exploration, environmental monitoring, and advanced materials. In geophysical studies, the magnetic signature of rhodochrosite helps in mineral deposit identification. In environmental applications, its magnetic properties are utilized in remediation processes. Additionally, the unique magnetic characteristics of rhodochrosite make it valuable in the development of specialized magnetic materials and devices for technological applications.
02 Magnetic characterization techniques for rhodochrosite
Various techniques are employed to characterize the magnetic properties of rhodochrosite, including vibrating sample magnetometry, SQUID magnetometry, and magnetic susceptibility measurements. These techniques help determine the magnetic behavior of rhodochrosite under different conditions, such as varying temperatures and magnetic field strengths, providing insights into its paramagnetic nature and potential applications in materials science.Expand Specific Solutions03 Enhancement of rhodochrosite's magnetic properties
Methods for enhancing the magnetic properties of rhodochrosite include doping with transition metals, heat treatment, and surface modification. These processes can alter the magnetic susceptibility of rhodochrosite, making it more responsive to magnetic fields. Enhanced magnetic properties can improve the efficiency of separation processes and expand the potential applications of rhodochrosite in various industries.Expand Specific Solutions04 Applications utilizing rhodochrosite's magnetic properties
The magnetic properties of rhodochrosite are utilized in various applications including environmental remediation, sensor technology, and electronic devices. In environmental applications, magnetically enhanced rhodochrosite can be used for the removal of heavy metals from wastewater. In sensor technology, the magnetic response of rhodochrosite can be used to detect changes in environmental conditions or the presence of specific substances.Expand Specific Solutions05 Relationship between crystal structure and magnetic properties
The magnetic properties of rhodochrosite are closely related to its crystal structure and the arrangement of manganese ions within the lattice. The hexagonal crystal system of rhodochrosite influences its magnetic anisotropy and overall magnetic behavior. Understanding this relationship helps in predicting how rhodochrosite will respond to magnetic fields and how its properties can be modified for specific applications.Expand Specific Solutions
Leading Research Institutions and Equipment Manufacturers
The magnetic property measurement of rhodochrosite is currently in an emerging research phase, characterized by growing academic interest but limited commercial applications. The market size remains relatively small, primarily driven by research institutions rather than industry. From a technical maturity perspective, the field is still developing, with Central South University and Huazhong University of Science & Technology leading academic research, while companies like TDK Corp. and Sony Group Corp. are exploring potential industrial applications. Government research organizations including Korea Research Institute of Standards & Science and Centre National de la Recherche Scientifique are contributing to standardization efforts. The technology requires further development in measurement protocols and instrumentation before widespread adoption can occur.
Central South University
Technical Solution: Central South University has established a systematic approach to rhodochrosite magnetic property measurement focusing on mineralogical purity assessment prior to magnetic characterization. Their methodology begins with X-ray diffraction (XRD) and scanning electron microscopy (SEM) to verify sample composition and identify potential impurities that could affect magnetic measurements. For magnetic characterization, they employ a combination of vibrating sample magnetometry (VSM) and SQUID magnetometry, with specialized sample holders designed to minimize background contributions. Their research has revealed the importance of controlling measurement atmosphere, as rhodochrosite's magnetic properties can be significantly altered by oxidation. They've developed protocols for measurements under controlled nitrogen or argon atmospheres to prevent sample degradation. Additionally, they've pioneered techniques for separating the contributions of paramagnetic manganese ions from the antiferromagnetic ordering in rhodochrosite through careful analysis of temperature-dependent susceptibility data and field-dependent magnetization curves.
Strengths: Comprehensive pre-measurement characterization ensures accurate interpretation of magnetic data; specialized sample holders and atmosphere control improve measurement reliability. Weaknesses: Heavy reliance on preliminary characterization increases overall measurement time and resource requirements; methodology may be less effective for samples with complex impurity profiles.
The Regents of the University of Michigan
Technical Solution: The University of Michigan has developed a comprehensive approach to rhodochrosite magnetic property measurement focusing on the effects of sample history and preparation. Their methodology addresses the critical challenge of sample variability in natural rhodochrosite specimens through a standardized preparation protocol that includes controlled grinding, annealing at specific temperatures (typically 200-300°C) under inert atmosphere, and subsequent magnetic characterization. They employ a combination of DC magnetometry and AC susceptibility measurements across a wide frequency range (0.1 Hz to 1 kHz) to characterize dynamic magnetic behavior. Their research has revealed the significant impact of minor cation substitutions (Fe, Ca, Mg) on the magnetic properties of rhodochrosite, leading to the development of correction factors for common impurities. A key innovation is their approach to measuring magnetic anisotropy in rhodochrosite single crystals, using a rotating sample stage with angular resolution of 0.1 degrees to map the directional dependence of magnetic susceptibility. This has enabled detailed characterization of the relationship between crystallographic orientation and magnetic behavior, essential for understanding the fundamental magnetic structure of rhodochrosite.
Strengths: Excellent handling of sample variability through standardized preparation and correction factors; detailed characterization of magnetic anisotropy provides insights not available from powder measurements. Weaknesses: Annealing protocols may alter some intrinsic properties of natural samples; rotating sample measurements are time-intensive and require specialized equipment modifications.
Advanced Instrumentation for Manganese Carbonate Measurements
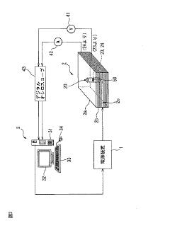
Magnetic property measurement device and magnetic property measurement method
PatentActiveJP2020139744A
Innovation
- A magnetic property measuring device and method utilizing a laminated substrate with series resonance circuits formed by conductive patterns and capacitors to generate high-frequency magnetic fields, enabling measurement of magnetic properties with a small sample amount in a short time, using a pickup coil to detect properties.
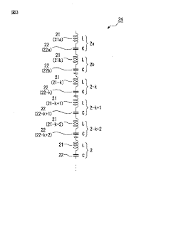
Magnetic property measurement device and magnetic property measurement method
PatentPendingJP2022184803A
Innovation
- A magnetic property measuring device and method that includes a rotating mechanism, heating/cooling mechanism, temperature measuring mechanism, laser heating mechanism, and magnetic head with writing and reading units, allowing non-contact measurement of magnetic properties by scanning and varying laser heating to determine the Curie temperature and its dispersion.
Sample Preparation Techniques for Optimal Measurement Accuracy
The preparation of rhodochrosite samples for magnetic property measurements requires meticulous attention to detail to ensure accurate and reproducible results. Proper sample preparation begins with careful selection of high-quality rhodochrosite specimens that exhibit minimal impurities and structural defects. These specimens should undergo thorough characterization using X-ray diffraction (XRD) and scanning electron microscopy (SEM) to confirm their crystalline structure and chemical composition before proceeding with magnetic measurements.
For powder samples, which are commonly used in vibrating sample magnetometry (VSM) and superconducting quantum interference device (SQUID) measurements, rhodochrosite crystals should be ground to a uniform particle size, typically between 20-50 μm. This size range provides an optimal balance between surface effects and bulk properties. The grinding process should be performed using non-magnetic tools, preferably agate or ceramic mortars and pestles, to prevent contamination that could significantly alter the magnetic signature.
After grinding, samples should undergo sieving through non-magnetic mesh screens to ensure size uniformity. This step is crucial as particle size distribution can significantly impact magnetic measurements, particularly coercivity and susceptibility values. For enhanced precision, ultrasonic dispersion in a non-reactive medium such as ethanol or acetone can be employed to prevent agglomeration of particles.
Environmental control during sample preparation cannot be overstated. Rhodochrosite is sensitive to oxidation, which can alter its magnetic properties. Therefore, preparation should occur in controlled atmospheres, preferably under inert gas (argon or nitrogen) when possible. Additionally, temperature stability during preparation is essential, as thermal fluctuations can induce stress in the crystal structure, potentially altering magnetic anisotropy.
For single crystal measurements, oriented samples must be prepared with crystallographic axes properly identified. This typically involves X-ray orientation followed by careful cutting along specific crystallographic planes using diamond wire saws. The surfaces should then be polished to optical quality using progressively finer abrasives, culminating with diamond paste of 0.25 μm or finer.
Sample mounting represents another critical aspect of preparation. For VSM measurements, samples should be secured in non-magnetic sample holders using non-magnetic adhesives such as GE varnish or Kapton tape. For SQUID magnetometry, samples are typically contained in gelatin capsules or specialized quartz holders that contribute minimal background signal.
Finally, all prepared samples should be stored in desiccators to prevent moisture absorption and surface oxidation prior to measurement. Detailed documentation of the entire preparation process, including any deviations from standard protocols, should be maintained to ensure reproducibility and facilitate meaningful comparison between different measurement sessions or research groups.
For powder samples, which are commonly used in vibrating sample magnetometry (VSM) and superconducting quantum interference device (SQUID) measurements, rhodochrosite crystals should be ground to a uniform particle size, typically between 20-50 μm. This size range provides an optimal balance between surface effects and bulk properties. The grinding process should be performed using non-magnetic tools, preferably agate or ceramic mortars and pestles, to prevent contamination that could significantly alter the magnetic signature.
After grinding, samples should undergo sieving through non-magnetic mesh screens to ensure size uniformity. This step is crucial as particle size distribution can significantly impact magnetic measurements, particularly coercivity and susceptibility values. For enhanced precision, ultrasonic dispersion in a non-reactive medium such as ethanol or acetone can be employed to prevent agglomeration of particles.
Environmental control during sample preparation cannot be overstated. Rhodochrosite is sensitive to oxidation, which can alter its magnetic properties. Therefore, preparation should occur in controlled atmospheres, preferably under inert gas (argon or nitrogen) when possible. Additionally, temperature stability during preparation is essential, as thermal fluctuations can induce stress in the crystal structure, potentially altering magnetic anisotropy.
For single crystal measurements, oriented samples must be prepared with crystallographic axes properly identified. This typically involves X-ray orientation followed by careful cutting along specific crystallographic planes using diamond wire saws. The surfaces should then be polished to optical quality using progressively finer abrasives, culminating with diamond paste of 0.25 μm or finer.
Sample mounting represents another critical aspect of preparation. For VSM measurements, samples should be secured in non-magnetic sample holders using non-magnetic adhesives such as GE varnish or Kapton tape. For SQUID magnetometry, samples are typically contained in gelatin capsules or specialized quartz holders that contribute minimal background signal.
Finally, all prepared samples should be stored in desiccators to prevent moisture absorption and surface oxidation prior to measurement. Detailed documentation of the entire preparation process, including any deviations from standard protocols, should be maintained to ensure reproducibility and facilitate meaningful comparison between different measurement sessions or research groups.
Environmental Factors Affecting Rhodochrosite Magnetic Properties
The magnetic properties of rhodochrosite (MnCO₃) exhibit significant sensitivity to various environmental factors, which must be carefully controlled during measurement procedures to ensure accurate and reproducible results. Temperature variations represent one of the most critical environmental factors affecting rhodochrosite's magnetic behavior. Research has demonstrated that rhodochrosite undergoes distinct magnetic phase transitions at specific temperature thresholds, with antiferromagnetic ordering typically observed below 32K. Even minor temperature fluctuations during measurement can lead to substantial changes in magnetic susceptibility values, potentially masking intrinsic material properties.
Atmospheric conditions, particularly oxygen concentration and humidity levels, have been shown to influence rhodochrosite's surface properties and consequently its magnetic response. Exposure to oxygen-rich environments may accelerate oxidation processes on the mineral surface, potentially converting manganese from Mn²⁺ to higher oxidation states with different magnetic characteristics. Similarly, humidity can facilitate ion mobility and surface reactions, altering the effective magnetic moment of surface layers.
Pressure conditions during measurement represent another significant environmental variable. High-pressure environments have been documented to induce structural modifications in rhodochrosite's crystal lattice, directly impacting exchange interactions between manganese ions. Studies indicate that pressures exceeding 5 GPa can trigger phase transitions that fundamentally alter the material's magnetic ordering patterns.
Sample handling history prior to measurement must also be considered as an environmental factor. Mechanical stress introduced during extraction, cutting, or polishing processes can induce microfractures and crystal defects that serve as pinning sites for magnetic domain walls, potentially altering coercivity values and hysteresis behavior. Thermal history, including any heating cycles experienced by the sample, may similarly influence grain boundary characteristics and cation distribution.
Electromagnetic interference from surrounding laboratory equipment represents a frequently overlooked environmental factor that can significantly compromise measurement accuracy. Even relatively weak stray fields from nearby electronic devices can induce artifacts in sensitive magnetic measurements of rhodochrosite, particularly when quantifying weak paramagnetic or antiferromagnetic responses characteristic of this mineral.
Radiation exposure, though less commonly encountered in standard laboratory settings, can induce defect centers in rhodochrosite that alter its magnetic properties. Both ionizing and non-ionizing radiation may create color centers and lattice vacancies that function as localized magnetic moments, potentially complicating the interpretation of intrinsic magnetic behavior.
Atmospheric conditions, particularly oxygen concentration and humidity levels, have been shown to influence rhodochrosite's surface properties and consequently its magnetic response. Exposure to oxygen-rich environments may accelerate oxidation processes on the mineral surface, potentially converting manganese from Mn²⁺ to higher oxidation states with different magnetic characteristics. Similarly, humidity can facilitate ion mobility and surface reactions, altering the effective magnetic moment of surface layers.
Pressure conditions during measurement represent another significant environmental variable. High-pressure environments have been documented to induce structural modifications in rhodochrosite's crystal lattice, directly impacting exchange interactions between manganese ions. Studies indicate that pressures exceeding 5 GPa can trigger phase transitions that fundamentally alter the material's magnetic ordering patterns.
Sample handling history prior to measurement must also be considered as an environmental factor. Mechanical stress introduced during extraction, cutting, or polishing processes can induce microfractures and crystal defects that serve as pinning sites for magnetic domain walls, potentially altering coercivity values and hysteresis behavior. Thermal history, including any heating cycles experienced by the sample, may similarly influence grain boundary characteristics and cation distribution.
Electromagnetic interference from surrounding laboratory equipment represents a frequently overlooked environmental factor that can significantly compromise measurement accuracy. Even relatively weak stray fields from nearby electronic devices can induce artifacts in sensitive magnetic measurements of rhodochrosite, particularly when quantifying weak paramagnetic or antiferromagnetic responses characteristic of this mineral.
Radiation exposure, though less commonly encountered in standard laboratory settings, can induce defect centers in rhodochrosite that alter its magnetic properties. Both ionizing and non-ionizing radiation may create color centers and lattice vacancies that function as localized magnetic moments, potentially complicating the interpretation of intrinsic magnetic behavior.
Unlock deeper insights with Patsnap Eureka Quick Research — get a full tech report to explore trends and direct your research. Try now!
Generate Your Research Report Instantly with AI Agent
Supercharge your innovation with Patsnap Eureka AI Agent Platform!







