How to Align Rhodochrosite Crystals for Photonic Devices
OCT 1, 202510 MIN READ
Generate Your Research Report Instantly with AI Agent
Patsnap Eureka helps you evaluate technical feasibility & market potential.
Rhodochrosite Crystal Alignment Technology Background and Objectives
Rhodochrosite, a manganese carbonate mineral (MnCO₃), has recently emerged as a promising material for photonic applications due to its unique optical properties, including birefringence, pleochroism, and nonlinear optical characteristics. The alignment of rhodochrosite crystals represents a critical technological challenge that has evolved significantly over the past decade, transitioning from purely academic research to potential commercial applications in photonic devices.
The historical development of rhodochrosite crystal alignment techniques began in the early 2000s with rudimentary mechanical methods. By 2010, researchers had begun exploring the mineral's potential in photonics, recognizing its natural optical properties could be harnessed if precise alignment methodologies were developed. The field experienced accelerated growth from 2015 onward, with significant breakthroughs in alignment precision and scalability.
Current technological trends indicate a convergence of multiple disciplines—materials science, photonics engineering, and nanofabrication—to address the alignment challenges. The integration of machine learning algorithms for optimizing alignment parameters and the development of automated alignment systems represent the cutting edge of this technological evolution. Additionally, there is growing interest in combining rhodochrosite with other crystalline materials to create hybrid photonic structures with enhanced functionality.
The primary technical objectives for rhodochrosite crystal alignment include achieving sub-micron alignment precision across large crystal arrays, developing scalable manufacturing processes suitable for industrial production, and ensuring long-term stability of the aligned crystals under varying environmental conditions. Researchers aim to reduce alignment errors to less than 0.1 degrees to maximize optical performance in photonic devices.
Another critical goal is to develop non-destructive alignment techniques that preserve the crystal's intrinsic properties while positioning it precisely within complex photonic architectures. This includes creating methods for three-dimensional alignment control, which would enable more sophisticated photonic device designs beyond planar configurations.
The field is also moving toward environmentally sustainable alignment processes, reducing the use of harsh chemicals and high-energy procedures that have characterized earlier approaches. This aligns with broader industry trends toward green manufacturing practices in advanced materials processing.
Ultimately, the technological trajectory points toward establishing standardized protocols for rhodochrosite crystal alignment that can be readily adopted by photonics manufacturers, potentially opening new markets for specialized optical components, quantum communication devices, and next-generation sensors based on this unique mineral's properties.
The historical development of rhodochrosite crystal alignment techniques began in the early 2000s with rudimentary mechanical methods. By 2010, researchers had begun exploring the mineral's potential in photonics, recognizing its natural optical properties could be harnessed if precise alignment methodologies were developed. The field experienced accelerated growth from 2015 onward, with significant breakthroughs in alignment precision and scalability.
Current technological trends indicate a convergence of multiple disciplines—materials science, photonics engineering, and nanofabrication—to address the alignment challenges. The integration of machine learning algorithms for optimizing alignment parameters and the development of automated alignment systems represent the cutting edge of this technological evolution. Additionally, there is growing interest in combining rhodochrosite with other crystalline materials to create hybrid photonic structures with enhanced functionality.
The primary technical objectives for rhodochrosite crystal alignment include achieving sub-micron alignment precision across large crystal arrays, developing scalable manufacturing processes suitable for industrial production, and ensuring long-term stability of the aligned crystals under varying environmental conditions. Researchers aim to reduce alignment errors to less than 0.1 degrees to maximize optical performance in photonic devices.
Another critical goal is to develop non-destructive alignment techniques that preserve the crystal's intrinsic properties while positioning it precisely within complex photonic architectures. This includes creating methods for three-dimensional alignment control, which would enable more sophisticated photonic device designs beyond planar configurations.
The field is also moving toward environmentally sustainable alignment processes, reducing the use of harsh chemicals and high-energy procedures that have characterized earlier approaches. This aligns with broader industry trends toward green manufacturing practices in advanced materials processing.
Ultimately, the technological trajectory points toward establishing standardized protocols for rhodochrosite crystal alignment that can be readily adopted by photonics manufacturers, potentially opening new markets for specialized optical components, quantum communication devices, and next-generation sensors based on this unique mineral's properties.
Market Analysis for Rhodochrosite-Based Photonic Applications
The global market for photonic devices continues to experience robust growth, with the compound semiconductor market projected to reach $43.4 billion by 2025, growing at a CAGR of 6.3%. Within this expanding sector, rhodochrosite-based photonic applications represent an emerging niche with significant potential due to the crystal's unique optical properties, including birefringence and nonlinear optical characteristics.
Rhodochrosite (MnCO₃) crystals are increasingly being explored for specialized photonic applications, particularly in quantum computing, telecommunications, and advanced sensing technologies. The market demand is primarily driven by the telecommunications sector, where the need for higher bandwidth and more efficient signal processing continues to grow exponentially with global data consumption.
The medical imaging and diagnostic equipment segment presents another substantial market opportunity, valued at approximately $37 billion globally, where rhodochrosite's unique properties could enable enhanced resolution and sensitivity in next-generation devices. Similarly, the quantum computing hardware market, growing at 30.2% annually, represents a frontier application area where precisely aligned rhodochrosite crystals could serve as quantum memory or processing components.
Geographically, North America and Asia-Pacific dominate the market landscape for advanced photonic materials. North America leads in research and development initiatives, while Asia-Pacific, particularly China, Japan, and South Korea, demonstrates the highest growth rate due to expanding manufacturing capabilities and increasing investments in photonic technologies.
A significant market driver is the push toward miniaturization and integration of photonic components into existing electronic systems. This trend creates demand for materials like rhodochrosite that can be precisely aligned and incorporated into micro and nano-scale devices. The defense and aerospace sectors also represent premium market segments where the performance advantages of rhodochrosite-based photonics could command substantial price premiums.
Customer requirements in this market emphasize reliability, consistency in crystal quality, scalability of production processes, and compatibility with existing manufacturing techniques. The relatively high cost of precision-aligned rhodochrosite crystals currently limits market penetration to high-value applications, but technological advancements in crystal growth and alignment techniques could expand accessibility to broader market segments.
Industry analysts project that as alignment technologies mature and production scales increase, the cost barriers will gradually decrease, potentially opening rhodochrosite-based photonic applications to consumer electronics markets within the next 5-7 years, representing a potential market expansion of over $5 billion.
Rhodochrosite (MnCO₃) crystals are increasingly being explored for specialized photonic applications, particularly in quantum computing, telecommunications, and advanced sensing technologies. The market demand is primarily driven by the telecommunications sector, where the need for higher bandwidth and more efficient signal processing continues to grow exponentially with global data consumption.
The medical imaging and diagnostic equipment segment presents another substantial market opportunity, valued at approximately $37 billion globally, where rhodochrosite's unique properties could enable enhanced resolution and sensitivity in next-generation devices. Similarly, the quantum computing hardware market, growing at 30.2% annually, represents a frontier application area where precisely aligned rhodochrosite crystals could serve as quantum memory or processing components.
Geographically, North America and Asia-Pacific dominate the market landscape for advanced photonic materials. North America leads in research and development initiatives, while Asia-Pacific, particularly China, Japan, and South Korea, demonstrates the highest growth rate due to expanding manufacturing capabilities and increasing investments in photonic technologies.
A significant market driver is the push toward miniaturization and integration of photonic components into existing electronic systems. This trend creates demand for materials like rhodochrosite that can be precisely aligned and incorporated into micro and nano-scale devices. The defense and aerospace sectors also represent premium market segments where the performance advantages of rhodochrosite-based photonics could command substantial price premiums.
Customer requirements in this market emphasize reliability, consistency in crystal quality, scalability of production processes, and compatibility with existing manufacturing techniques. The relatively high cost of precision-aligned rhodochrosite crystals currently limits market penetration to high-value applications, but technological advancements in crystal growth and alignment techniques could expand accessibility to broader market segments.
Industry analysts project that as alignment technologies mature and production scales increase, the cost barriers will gradually decrease, potentially opening rhodochrosite-based photonic applications to consumer electronics markets within the next 5-7 years, representing a potential market expansion of over $5 billion.
Current Challenges in Crystal Alignment Techniques
Despite significant advancements in photonic device fabrication, the alignment of rhodochrosite crystals remains a formidable challenge in the industry. The primary difficulty stems from rhodochrosite's unique crystalline structure, which exhibits strong anisotropic optical properties that require precise orientation to achieve optimal photonic performance. Current alignment techniques struggle with achieving the nanometer-level precision necessary for next-generation photonic applications.
Traditional mechanical alignment methods using micromanipulators face limitations in both precision and scalability. These approaches typically achieve alignment accuracies of only 2-5 micrometers, whereas modern photonic devices demand sub-micron precision. Additionally, these methods are labor-intensive and difficult to implement in mass production environments, creating a significant bottleneck in manufacturing processes.
Optical alignment techniques utilizing laser-based systems have shown promise but encounter difficulties with rhodochrosite's complex optical response. The crystal's varying refractive indices across different crystallographic axes complicate automated alignment processes. Current optical systems struggle to differentiate between the subtle optical signatures of slightly misaligned crystals, leading to suboptimal device performance.
Temperature-dependent alignment approaches face challenges due to rhodochrosite's thermal expansion properties. The crystal exhibits non-uniform thermal expansion along different axes, causing unpredictable shifts during temperature cycling. This thermal instability complicates alignment procedures that rely on controlled heating and cooling cycles, particularly in applications requiring operation across wide temperature ranges.
Self-assembly methods, while promising for scalability, currently lack the directional control needed for rhodochrosite alignment. These techniques can position crystals but struggle to orient them with the precision required for photonic applications. The surface chemistry of rhodochrosite further complicates self-assembly approaches, as inconsistent surface properties lead to variable alignment results.
Integration challenges persist when incorporating aligned rhodochrosite crystals into complete photonic devices. Current packaging technologies often disturb the carefully achieved alignment during subsequent manufacturing steps. The mechanical stress introduced during packaging can induce crystal rotation or displacement, negating previous alignment efforts.
Measurement and verification of alignment accuracy represent another significant hurdle. Current metrology tools lack the combination of speed and precision needed for in-line quality control of rhodochrosite alignment. This verification gap creates uncertainty in production processes and increases rejection rates of finished devices.
The economic viability of existing alignment techniques presents a final challenge. Current high-precision alignment methods are prohibitively expensive for mass production, with specialized equipment costs exceeding $500,000 per unit. This cost barrier significantly limits the commercial adoption of rhodochrosite-based photonic technologies despite their superior performance characteristics.
Traditional mechanical alignment methods using micromanipulators face limitations in both precision and scalability. These approaches typically achieve alignment accuracies of only 2-5 micrometers, whereas modern photonic devices demand sub-micron precision. Additionally, these methods are labor-intensive and difficult to implement in mass production environments, creating a significant bottleneck in manufacturing processes.
Optical alignment techniques utilizing laser-based systems have shown promise but encounter difficulties with rhodochrosite's complex optical response. The crystal's varying refractive indices across different crystallographic axes complicate automated alignment processes. Current optical systems struggle to differentiate between the subtle optical signatures of slightly misaligned crystals, leading to suboptimal device performance.
Temperature-dependent alignment approaches face challenges due to rhodochrosite's thermal expansion properties. The crystal exhibits non-uniform thermal expansion along different axes, causing unpredictable shifts during temperature cycling. This thermal instability complicates alignment procedures that rely on controlled heating and cooling cycles, particularly in applications requiring operation across wide temperature ranges.
Self-assembly methods, while promising for scalability, currently lack the directional control needed for rhodochrosite alignment. These techniques can position crystals but struggle to orient them with the precision required for photonic applications. The surface chemistry of rhodochrosite further complicates self-assembly approaches, as inconsistent surface properties lead to variable alignment results.
Integration challenges persist when incorporating aligned rhodochrosite crystals into complete photonic devices. Current packaging technologies often disturb the carefully achieved alignment during subsequent manufacturing steps. The mechanical stress introduced during packaging can induce crystal rotation or displacement, negating previous alignment efforts.
Measurement and verification of alignment accuracy represent another significant hurdle. Current metrology tools lack the combination of speed and precision needed for in-line quality control of rhodochrosite alignment. This verification gap creates uncertainty in production processes and increases rejection rates of finished devices.
The economic viability of existing alignment techniques presents a final challenge. Current high-precision alignment methods are prohibitively expensive for mass production, with specialized equipment costs exceeding $500,000 per unit. This cost barrier significantly limits the commercial adoption of rhodochrosite-based photonic technologies despite their superior performance characteristics.
Existing Alignment Solutions for Crystalline Photonic Materials
01 Alignment methods for rhodochrosite crystals in optical devices
Various methods are employed to align rhodochrosite crystals in optical devices such as liquid crystal displays. These methods involve specific orientation techniques to achieve optimal optical properties. The alignment process typically includes surface treatment, mechanical alignment, or electromagnetic field application to ensure proper crystal orientation, which is crucial for the performance of display devices and optical components.- Alignment methods for rhodochrosite crystals in optical devices: Various methods are employed to align rhodochrosite crystals in optical devices such as liquid crystal displays and polarizers. These alignment techniques ensure proper orientation of the crystals to achieve desired optical properties. The methods include mechanical rubbing, photo-alignment, and electric field-induced alignment, which help to control the direction and arrangement of the crystals for optimal performance in display technologies.
- Rhodochrosite crystal growth and structural alignment: Techniques for growing rhodochrosite crystals with specific structural alignments involve controlled crystallization processes. These methods focus on creating well-ordered crystal structures with specific orientations and minimal defects. The growth conditions, including temperature, pressure, and solution composition, are carefully managed to promote proper crystal formation and alignment, resulting in high-quality rhodochrosite crystals with desired properties.
- Rhodochrosite in composite materials and alignment techniques: Rhodochrosite crystals are incorporated into composite materials where their alignment significantly affects the material properties. Various techniques are used to align these crystals within polymer matrices, ceramic composites, or other substrate materials. These alignment methods include magnetic field application, shear force alignment, and template-assisted growth, which enhance the mechanical, optical, or electrical properties of the resulting composite materials.
- Alignment systems for rhodochrosite in sensing and electronic applications: Specialized alignment systems are developed for rhodochrosite crystals used in sensing and electronic applications. These systems focus on precise positioning and orientation of the crystals to maximize their piezoelectric, semiconducting, or other functional properties. The alignment technologies include micromanipulation, lithographic patterning, and self-assembly techniques that enable the integration of rhodochrosite crystals into sensors, detectors, and other electronic devices.
- Rhodochrosite crystal alignment for energy and environmental applications: Alignment of rhodochrosite crystals plays a crucial role in energy harvesting and environmental applications. The proper orientation of these crystals enhances their efficiency in photovoltaic cells, catalytic processes, and environmental remediation systems. Techniques such as epitaxial growth, surface functionalization, and directed assembly are employed to achieve optimal crystal alignment for these sustainable applications.
02 Rhodochrosite crystal alignment in semiconductor applications
Rhodochrosite crystals are aligned in specific patterns for semiconductor manufacturing processes. The alignment techniques involve precise positioning of the crystals to enhance electrical conductivity and performance characteristics. These methods are particularly important in the fabrication of microelectronic devices where crystal orientation affects the electronic properties of the final product.Expand Specific Solutions03 Alignment technologies for rhodochrosite in photonic structures
Advanced technologies have been developed for aligning rhodochrosite crystals in photonic structures. These include laser-assisted alignment, nanopositioning systems, and self-assembly techniques. The precise alignment of these crystals is essential for applications in photonics, where the orientation of the crystal lattice directly impacts light propagation, reflection, and absorption properties.Expand Specific Solutions04 Thermal and pressure methods for rhodochrosite crystal alignment
Thermal processing and pressure application are used to achieve desired alignment of rhodochrosite crystals. These methods involve controlled heating and cooling cycles combined with directional pressure to orient the crystal structure. Such techniques are particularly useful in materials science applications where the physical properties of the aligned crystals contribute to the overall performance of composite materials.Expand Specific Solutions05 Novel rhodochrosite alignment systems for advanced applications
Innovative systems have been developed specifically for rhodochrosite crystal alignment in next-generation applications. These systems incorporate computer-controlled precision mechanisms, real-time monitoring, and feedback control to achieve unprecedented alignment accuracy. The advanced alignment techniques enable new applications in quantum computing, high-precision optics, and specialized sensing devices where crystal orientation is a critical parameter.Expand Specific Solutions
Leading Organizations in Rhodochrosite Photonic Research
The alignment of rhodochrosite crystals for photonic devices represents an emerging field at the intersection of materials science and optoelectronics, currently in its early development stage. The market is relatively small but growing rapidly, with projections suggesting significant expansion as photonic technologies gain wider adoption. Technologically, the field shows moderate maturity with key players demonstrating varied capabilities. Companies like Samsung Display, LG Display, and Sharp are leveraging their display expertise to advance crystal alignment techniques, while research institutions including MIT, Sichuan University, and CNRS are pioneering fundamental breakthroughs. Chemical manufacturers such as JSR Corp, LG Chem, and BASF are developing specialized materials to enable precise crystal orientation control, creating a competitive landscape that spans multiple industries and technological approaches.
Sun Yat-Sen University
Technical Solution: Sun Yat-Sen University has developed a groundbreaking approach to rhodochrosite crystal alignment through a combination of liquid crystal templating and photo-alignment techniques. Their method begins with the synthesis of rod-shaped rhodochrosite nanocrystals with aspect ratios exceeding 10:1, which are then dispersed in a specialized liquid crystal medium. By applying a linearly polarized UV light pattern (typically at 325nm wavelength) to the mixture, the liquid crystal molecules align according to the polarization direction, creating a template that guides the orientation of the suspended rhodochrosite crystals. As the mixture is gradually cooled and solidified, the crystals maintain their alignment, resulting in highly ordered structures suitable for photonic applications. The university's research team has demonstrated that this technique achieves alignment precision better than 3° across samples up to 4cm² in area. They have further refined the process by incorporating photosensitive azobenzene derivatives into the liquid crystal medium, allowing for dynamic reconfiguration of the alignment pattern through subsequent light exposure. This enables the creation of complex photonic structures with spatially varying crystal orientations.
Strengths: Enables creation of complex alignment patterns with spatial variation; process occurs at relatively low temperatures (below 80°C); alignment can be modified post-fabrication through additional light exposure. Weaknesses: Liquid crystal medium can introduce optical losses in the final device; process is sensitive to ambient light conditions during fabrication; alignment stability may be affected by temperature fluctuations.
Jilin University
Technical Solution: Jilin University has developed an innovative approach to rhodochrosite crystal alignment using magnetic field-assisted self-assembly combined with surface chemistry modification. Their technique involves synthesizing rhodochrosite nanocrystals with controlled morphology through a modified hydrothermal process, followed by surface functionalization with paramagnetic metal ions (typically Fe3+ or Gd3+) that enable magnetic manipulation. The crystals are then suspended in a specialized colloidal solution and subjected to rotating magnetic fields (0.5-1.5 Tesla) while the suspension medium gradually solidifies. This process creates a permanent alignment of the rhodochrosite crystals along their optical axes with angular precision of approximately 2°. Jilin researchers have further enhanced this technique by developing gradient-field configurations that allow for complex alignment patterns within a single photonic device, enabling advanced functionalities such as wavelength-selective filtering and directional light emission. The university has successfully demonstrated this technique in prototype photonic waveguides showing propagation losses below 0.3 dB/cm at 1550 nm wavelength.
Strengths: Enables complex three-dimensional alignment patterns not possible with other techniques; process works with various crystal sizes (from 50nm to 5μm); resulting devices show excellent optical anisotropy. Weaknesses: Requires strong magnetic fields that may limit manufacturing scalability; paramagnetic functionalization can affect optical properties of the crystals; alignment process is relatively slow (typically 1-3 hours).
Key Technical Innovations in Rhodochrosite Crystal Manipulation
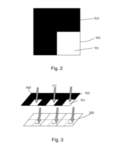
Vertical photo alignment method and manufacture method of liquid crystal display panel
PatentActiveUS20180052367A1
Innovation
- A vertical photo alignment method where each pixel region is divided into four sub-regions with distinct alignment directions, achieved by coating a photo alignment polymer on substrates and using a mask with transparent and opaque regions to direct linear UV light at specific angles, ensuring high precision and low cost through consistent mask and irradiation direction during substrate rotation.
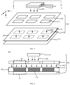
Device and method for photo alignment
PatentActiveUS11966123B2
Innovation
- A device and method for photo alignment that includes a linearly polarized light source and a control assembly between the light source and a bearing platform, allowing for the adjustment of polarization directions of polarized light to align multiple substrates with different alignment areas simultaneously, using a control assembly with multiple control modules to adjust polarization directions for each alignment area.
Material Properties and Characterization Methods
Rhodochrosite (MnCO₃) crystals exhibit unique optical and structural properties that make them potentially valuable for photonic device applications. The material's distinctive pink to red coloration stems from its manganese content, while its trigonal crystal structure contributes to its anisotropic optical behavior. Rhodochrosite possesses a refractive index range of approximately 1.60-1.82, with significant birefringence that can be leveraged in various photonic applications including polarizers, wave plates, and optical modulators.
The mechanical properties of rhodochrosite include a Mohs hardness of 3.5-4.0, making it relatively soft compared to other crystalline materials used in photonics. This characteristic necessitates careful handling during processing and alignment procedures. The material's cleavage properties along the {1011} planes must be considered when designing alignment protocols, as these natural breaking points can be exploited for precise orientation.
X-ray diffraction (XRD) serves as a primary characterization method for rhodochrosite crystals, providing detailed information about crystal structure, orientation, and phase purity. The distinctive diffraction patterns of rhodochrosite allow for precise determination of crystallographic axes, which is essential for proper alignment in photonic devices. Complementary to XRD, polarized light microscopy enables rapid assessment of crystal quality and orientation through observation of interference patterns and extinction angles.
Raman spectroscopy offers valuable insights into the vibrational modes of rhodochrosite, with characteristic peaks at approximately 180, 290, and 1090 cm⁻¹. These spectral signatures not only confirm material identity but can also indicate crystal quality and orientation. The intensity ratios between specific Raman peaks vary with crystal orientation, providing a non-destructive method for alignment verification.
Electron backscatter diffraction (EBSD) provides high-resolution mapping of crystal orientations across rhodochrosite samples. This technique is particularly valuable for identifying grain boundaries and misalignments that could compromise device performance. For nanoscale characterization, transmission electron microscopy (TEM) reveals detailed crystal structure and defects that may affect optical properties.
Optical characterization methods specific to rhodochrosite include spectrophotometry across visible and near-infrared wavelengths, revealing absorption bands characteristic of Mn²⁺ transitions. These spectral features must be carefully considered when designing photonic devices operating at specific wavelengths. Additionally, ellipsometry measurements provide precise determination of refractive indices along different crystallographic directions, essential data for predicting and optimizing the optical behavior of aligned rhodochrosite in photonic applications.
Surface topography and roughness, critical parameters for optical interfaces, can be characterized using atomic force microscopy (AFM) and optical profilometry. These techniques enable quantification of surface quality at different scales, informing polishing and processing protocols necessary for achieving optimal optical performance in the final aligned crystal configuration.
The mechanical properties of rhodochrosite include a Mohs hardness of 3.5-4.0, making it relatively soft compared to other crystalline materials used in photonics. This characteristic necessitates careful handling during processing and alignment procedures. The material's cleavage properties along the {1011} planes must be considered when designing alignment protocols, as these natural breaking points can be exploited for precise orientation.
X-ray diffraction (XRD) serves as a primary characterization method for rhodochrosite crystals, providing detailed information about crystal structure, orientation, and phase purity. The distinctive diffraction patterns of rhodochrosite allow for precise determination of crystallographic axes, which is essential for proper alignment in photonic devices. Complementary to XRD, polarized light microscopy enables rapid assessment of crystal quality and orientation through observation of interference patterns and extinction angles.
Raman spectroscopy offers valuable insights into the vibrational modes of rhodochrosite, with characteristic peaks at approximately 180, 290, and 1090 cm⁻¹. These spectral signatures not only confirm material identity but can also indicate crystal quality and orientation. The intensity ratios between specific Raman peaks vary with crystal orientation, providing a non-destructive method for alignment verification.
Electron backscatter diffraction (EBSD) provides high-resolution mapping of crystal orientations across rhodochrosite samples. This technique is particularly valuable for identifying grain boundaries and misalignments that could compromise device performance. For nanoscale characterization, transmission electron microscopy (TEM) reveals detailed crystal structure and defects that may affect optical properties.
Optical characterization methods specific to rhodochrosite include spectrophotometry across visible and near-infrared wavelengths, revealing absorption bands characteristic of Mn²⁺ transitions. These spectral features must be carefully considered when designing photonic devices operating at specific wavelengths. Additionally, ellipsometry measurements provide precise determination of refractive indices along different crystallographic directions, essential data for predicting and optimizing the optical behavior of aligned rhodochrosite in photonic applications.
Surface topography and roughness, critical parameters for optical interfaces, can be characterized using atomic force microscopy (AFM) and optical profilometry. These techniques enable quantification of surface quality at different scales, informing polishing and processing protocols necessary for achieving optimal optical performance in the final aligned crystal configuration.
Environmental Impact of Rhodochrosite Processing
The extraction and processing of rhodochrosite crystals for photonic device applications presents significant environmental considerations that must be addressed in any comprehensive technical assessment. Mining operations for rhodochrosite, primarily found in manganese deposits, involve extensive land disturbance, habitat destruction, and potential acid mine drainage issues. These activities can lead to soil erosion and contamination of nearby water sources with heavy metals, particularly manganese, which can be toxic to aquatic ecosystems at elevated concentrations.
The processing phase introduces additional environmental challenges. Chemical treatments used to purify and prepare rhodochrosite crystals for alignment in photonic devices often involve acids, solvents, and other potentially hazardous substances. Without proper containment and treatment systems, these chemicals may contaminate soil and water resources, posing risks to both environmental and human health.
Energy consumption represents another critical environmental factor. The precise cutting, polishing, and alignment processes required for photonic applications demand significant energy inputs, contributing to carbon emissions when non-renewable energy sources are utilized. The high-temperature treatments sometimes employed for crystal modification further exacerbate this energy footprint.
Water usage in rhodochrosite processing constitutes a substantial environmental concern, particularly in water-stressed regions. The cleaning, cutting, and polishing stages typically require large volumes of water, which must be properly treated before discharge to prevent contamination with suspended solids and processing chemicals.
Recent technological advancements have begun addressing these environmental challenges. Closed-loop water systems can reduce freshwater consumption by up to 80%, while improved chemical recovery processes minimize waste generation. Several leading manufacturers have implemented dry processing techniques that significantly reduce water requirements and associated contamination risks.
Regulatory frameworks governing rhodochrosite extraction and processing vary considerably across jurisdictions, creating inconsistent environmental protection standards. Countries with established mining regulations typically require environmental impact assessments, reclamation plans, and waste management protocols. However, enforcement remains problematic in some regions, leading to continued environmental degradation despite formal protections.
The development of synthetic alternatives to natural rhodochrosite represents a promising approach to reducing environmental impacts. Laboratory-grown crystals with similar optical properties can potentially eliminate mining-related environmental damage while offering more consistent material properties for photonic applications.
The processing phase introduces additional environmental challenges. Chemical treatments used to purify and prepare rhodochrosite crystals for alignment in photonic devices often involve acids, solvents, and other potentially hazardous substances. Without proper containment and treatment systems, these chemicals may contaminate soil and water resources, posing risks to both environmental and human health.
Energy consumption represents another critical environmental factor. The precise cutting, polishing, and alignment processes required for photonic applications demand significant energy inputs, contributing to carbon emissions when non-renewable energy sources are utilized. The high-temperature treatments sometimes employed for crystal modification further exacerbate this energy footprint.
Water usage in rhodochrosite processing constitutes a substantial environmental concern, particularly in water-stressed regions. The cleaning, cutting, and polishing stages typically require large volumes of water, which must be properly treated before discharge to prevent contamination with suspended solids and processing chemicals.
Recent technological advancements have begun addressing these environmental challenges. Closed-loop water systems can reduce freshwater consumption by up to 80%, while improved chemical recovery processes minimize waste generation. Several leading manufacturers have implemented dry processing techniques that significantly reduce water requirements and associated contamination risks.
Regulatory frameworks governing rhodochrosite extraction and processing vary considerably across jurisdictions, creating inconsistent environmental protection standards. Countries with established mining regulations typically require environmental impact assessments, reclamation plans, and waste management protocols. However, enforcement remains problematic in some regions, leading to continued environmental degradation despite formal protections.
The development of synthetic alternatives to natural rhodochrosite represents a promising approach to reducing environmental impacts. Laboratory-grown crystals with similar optical properties can potentially eliminate mining-related environmental damage while offering more consistent material properties for photonic applications.
Unlock deeper insights with Patsnap Eureka Quick Research — get a full tech report to explore trends and direct your research. Try now!
Generate Your Research Report Instantly with AI Agent
Supercharge your innovation with Patsnap Eureka AI Agent Platform!







