How to Determine Rhodochrosite Mineralogical Composition
OCT 1, 20259 MIN READ
Generate Your Research Report Instantly with AI Agent
Patsnap Eureka helps you evaluate technical feasibility & market potential.
Rhodochrosite Mineralogy Background and Research Objectives
Rhodochrosite, a manganese carbonate mineral (MnCO₃), has been recognized for its distinctive pink to red coloration and significant economic value in various industries. The mineral's history dates back to ancient civilizations, with documented use in jewelry and decorative items. However, its industrial importance emerged in the 19th century when manganese became crucial for steel production. Over time, rhodochrosite has gained prominence in multiple sectors including metallurgy, electronics, and agriculture due to its manganese content.
The evolution of rhodochrosite analysis techniques has paralleled advancements in mineralogical science. Early identification relied primarily on visual characteristics and simple chemical tests. The mid-20th century saw the introduction of X-ray diffraction (XRD) and spectroscopic methods, revolutionizing the precision of mineralogical composition determination. Recent decades have witnessed further refinements with electron microscopy, Raman spectroscopy, and advanced computational modeling enhancing our understanding of rhodochrosite's structural and chemical properties.
Current technological trends in rhodochrosite analysis focus on non-destructive, high-precision methods that can be applied in both laboratory and field settings. The integration of artificial intelligence and machine learning algorithms with traditional analytical techniques represents a promising frontier, potentially enabling rapid and accurate determination of mineralogical compositions with minimal sample preparation.
The primary objective of this technical research is to comprehensively evaluate existing methodologies for determining rhodochrosite mineralogical composition and identify optimal approaches for various application scenarios. We aim to establish standardized protocols that balance analytical precision with practical considerations such as equipment accessibility, cost-effectiveness, and time efficiency.
Secondary objectives include mapping the relationship between rhodochrosite's compositional variations and its physical properties, investigating the impact of trace elements on mineral behavior, and developing predictive models for rhodochrosite formation and transformation under different geological conditions. These insights will contribute to improved extraction processes, beneficiation techniques, and utilization strategies.
The long-term technological goal is to develop an integrated analytical framework that combines multiple complementary techniques to provide comprehensive characterization of rhodochrosite samples. This framework would ideally accommodate variations in sample purity, crystallinity, and associated mineral assemblages, offering robust solutions for both academic research and industrial applications in mining, materials science, and environmental management.
The evolution of rhodochrosite analysis techniques has paralleled advancements in mineralogical science. Early identification relied primarily on visual characteristics and simple chemical tests. The mid-20th century saw the introduction of X-ray diffraction (XRD) and spectroscopic methods, revolutionizing the precision of mineralogical composition determination. Recent decades have witnessed further refinements with electron microscopy, Raman spectroscopy, and advanced computational modeling enhancing our understanding of rhodochrosite's structural and chemical properties.
Current technological trends in rhodochrosite analysis focus on non-destructive, high-precision methods that can be applied in both laboratory and field settings. The integration of artificial intelligence and machine learning algorithms with traditional analytical techniques represents a promising frontier, potentially enabling rapid and accurate determination of mineralogical compositions with minimal sample preparation.
The primary objective of this technical research is to comprehensively evaluate existing methodologies for determining rhodochrosite mineralogical composition and identify optimal approaches for various application scenarios. We aim to establish standardized protocols that balance analytical precision with practical considerations such as equipment accessibility, cost-effectiveness, and time efficiency.
Secondary objectives include mapping the relationship between rhodochrosite's compositional variations and its physical properties, investigating the impact of trace elements on mineral behavior, and developing predictive models for rhodochrosite formation and transformation under different geological conditions. These insights will contribute to improved extraction processes, beneficiation techniques, and utilization strategies.
The long-term technological goal is to develop an integrated analytical framework that combines multiple complementary techniques to provide comprehensive characterization of rhodochrosite samples. This framework would ideally accommodate variations in sample purity, crystallinity, and associated mineral assemblages, offering robust solutions for both academic research and industrial applications in mining, materials science, and environmental management.
Market Applications and Demand Analysis for Rhodochrosite
The global market for rhodochrosite has shown significant growth in recent years, driven primarily by its dual applications in both industrial sectors and the gemstone/collector's market. The mineral's distinctive pink to rose-red color and manganese content make it valuable across multiple industries, creating diverse demand streams.
In the industrial sector, rhodochrosite serves as an important manganese ore, with demand closely tied to steel production trends. The global steel industry consumes approximately 90% of all processed manganese, with rhodochrosite being one of several manganese-bearing minerals feeding this demand. Countries with robust steel manufacturing sectors, particularly China, India, and various European nations, represent the largest industrial markets for this mineral.
The electronics industry represents another growing application area, where high-purity manganese derived from rhodochrosite is utilized in battery production, particularly for alkaline batteries and emerging lithium-ion technologies. The rapid expansion of electric vehicle markets has indirectly boosted demand for high-quality manganese sources, including premium rhodochrosite deposits.
Beyond industrial applications, rhodochrosite enjoys strong demand in the gemstone and mineral collector markets. Fine-quality crystals with deep coloration and good transparency command premium prices, with exceptional specimens from the Sweet Home Mine in Colorado or the Capillitas Mine in Argentina achieving significant valuations in specialized markets. This collector segment, while smaller in volume than industrial applications, generates substantially higher per-unit values.
Market analysis indicates regional variations in demand patterns. North America and Europe demonstrate stronger interest in collector-grade specimens, while Asian markets, particularly China, drive industrial consumption. South American countries with significant deposits, such as Argentina and Peru, have developed specialized export markets for both industrial and ornamental grades.
Future market growth appears promising, with projected increases in both traditional and emerging applications. The jewelry sector shows potential for expanded rhodochrosite utilization, particularly as consumers seek alternatives to traditional gemstones. Additionally, research into advanced materials science applications may create new specialized markets for high-purity rhodochrosite.
The accurate determination of rhodochrosite mineralogical composition directly impacts market valuation, as purity levels and manganese content significantly influence pricing across all application segments. This creates a direct economic incentive for developing more precise and efficient compositional analysis methods, particularly for distinguishing rhodochrosite from similar manganese carbonate minerals.
In the industrial sector, rhodochrosite serves as an important manganese ore, with demand closely tied to steel production trends. The global steel industry consumes approximately 90% of all processed manganese, with rhodochrosite being one of several manganese-bearing minerals feeding this demand. Countries with robust steel manufacturing sectors, particularly China, India, and various European nations, represent the largest industrial markets for this mineral.
The electronics industry represents another growing application area, where high-purity manganese derived from rhodochrosite is utilized in battery production, particularly for alkaline batteries and emerging lithium-ion technologies. The rapid expansion of electric vehicle markets has indirectly boosted demand for high-quality manganese sources, including premium rhodochrosite deposits.
Beyond industrial applications, rhodochrosite enjoys strong demand in the gemstone and mineral collector markets. Fine-quality crystals with deep coloration and good transparency command premium prices, with exceptional specimens from the Sweet Home Mine in Colorado or the Capillitas Mine in Argentina achieving significant valuations in specialized markets. This collector segment, while smaller in volume than industrial applications, generates substantially higher per-unit values.
Market analysis indicates regional variations in demand patterns. North America and Europe demonstrate stronger interest in collector-grade specimens, while Asian markets, particularly China, drive industrial consumption. South American countries with significant deposits, such as Argentina and Peru, have developed specialized export markets for both industrial and ornamental grades.
Future market growth appears promising, with projected increases in both traditional and emerging applications. The jewelry sector shows potential for expanded rhodochrosite utilization, particularly as consumers seek alternatives to traditional gemstones. Additionally, research into advanced materials science applications may create new specialized markets for high-purity rhodochrosite.
The accurate determination of rhodochrosite mineralogical composition directly impacts market valuation, as purity levels and manganese content significantly influence pricing across all application segments. This creates a direct economic incentive for developing more precise and efficient compositional analysis methods, particularly for distinguishing rhodochrosite from similar manganese carbonate minerals.
Current Analytical Techniques and Methodological Challenges
The determination of rhodochrosite mineralogical composition presents significant analytical challenges due to its complex nature and variable chemical makeup. Currently, several analytical techniques are employed in laboratory and field settings, each with distinct advantages and limitations.
X-ray Diffraction (XRD) remains the gold standard for mineralogical identification and quantification of rhodochrosite. This technique provides detailed crystallographic information by measuring the diffraction patterns of X-rays through the crystal structure. However, XRD requires careful sample preparation, specialized equipment, and expert interpretation of diffractograms, particularly when dealing with mixed mineral assemblages containing rhodochrosite.
Scanning Electron Microscopy coupled with Energy Dispersive X-ray Spectroscopy (SEM-EDS) offers high-resolution imaging combined with elemental analysis capabilities. This technique excels at characterizing the microstructure and chemical composition of rhodochrosite samples but struggles with precise quantification of light elements and requires vacuum conditions that may alter hydrated minerals.
Fourier Transform Infrared Spectroscopy (FTIR) provides valuable information about molecular bonding and structural arrangements in rhodochrosite. While relatively fast and requiring minimal sample preparation, FTIR faces challenges in distinguishing between closely related carbonate minerals and quantifying mineral abundances in complex mixtures.
Raman spectroscopy has emerged as a powerful non-destructive technique for rhodochrosite identification, capable of distinguishing between polymorphs and providing information about crystal structure. Its major limitation lies in fluorescence interference, which can obscure spectral features, particularly in samples containing organic matter or certain impurities.
Electron Probe Microanalysis (EPMA) delivers precise chemical composition data at microscale resolution but requires extensive sample preparation and cannot easily distinguish between mineral phases with similar chemical compositions but different crystal structures.
Portable X-ray Fluorescence (pXRF) offers field-deployable elemental analysis but suffers from matrix effects and limited detection of light elements crucial for complete rhodochrosite characterization. Similarly, portable infrared and Raman devices provide rapid field screening but with reduced accuracy compared to laboratory instruments.
The methodological challenges in rhodochrosite analysis extend beyond instrumental limitations. Sample heterogeneity necessitates careful sampling strategies to ensure representativeness. Sample preparation techniques can introduce artifacts or alter mineral properties. Calibration issues arise from the lack of appropriate reference materials that match the complex matrix of natural rhodochrosite samples. Data interpretation is complicated by spectral overlaps, matrix effects, and the presence of amorphous phases or nanocrystalline materials that elude conventional analytical approaches.
X-ray Diffraction (XRD) remains the gold standard for mineralogical identification and quantification of rhodochrosite. This technique provides detailed crystallographic information by measuring the diffraction patterns of X-rays through the crystal structure. However, XRD requires careful sample preparation, specialized equipment, and expert interpretation of diffractograms, particularly when dealing with mixed mineral assemblages containing rhodochrosite.
Scanning Electron Microscopy coupled with Energy Dispersive X-ray Spectroscopy (SEM-EDS) offers high-resolution imaging combined with elemental analysis capabilities. This technique excels at characterizing the microstructure and chemical composition of rhodochrosite samples but struggles with precise quantification of light elements and requires vacuum conditions that may alter hydrated minerals.
Fourier Transform Infrared Spectroscopy (FTIR) provides valuable information about molecular bonding and structural arrangements in rhodochrosite. While relatively fast and requiring minimal sample preparation, FTIR faces challenges in distinguishing between closely related carbonate minerals and quantifying mineral abundances in complex mixtures.
Raman spectroscopy has emerged as a powerful non-destructive technique for rhodochrosite identification, capable of distinguishing between polymorphs and providing information about crystal structure. Its major limitation lies in fluorescence interference, which can obscure spectral features, particularly in samples containing organic matter or certain impurities.
Electron Probe Microanalysis (EPMA) delivers precise chemical composition data at microscale resolution but requires extensive sample preparation and cannot easily distinguish between mineral phases with similar chemical compositions but different crystal structures.
Portable X-ray Fluorescence (pXRF) offers field-deployable elemental analysis but suffers from matrix effects and limited detection of light elements crucial for complete rhodochrosite characterization. Similarly, portable infrared and Raman devices provide rapid field screening but with reduced accuracy compared to laboratory instruments.
The methodological challenges in rhodochrosite analysis extend beyond instrumental limitations. Sample heterogeneity necessitates careful sampling strategies to ensure representativeness. Sample preparation techniques can introduce artifacts or alter mineral properties. Calibration issues arise from the lack of appropriate reference materials that match the complex matrix of natural rhodochrosite samples. Data interpretation is complicated by spectral overlaps, matrix effects, and the presence of amorphous phases or nanocrystalline materials that elude conventional analytical approaches.
Contemporary Analytical Solutions for Rhodochrosite Characterization
01 Chemical composition and structure of rhodochrosite
Rhodochrosite is primarily composed of manganese carbonate (MnCO3) with a trigonal crystal structure. It often contains impurities such as iron, calcium, magnesium, and zinc that can substitute for manganese in the crystal lattice. These impurities can affect the mineral's color, ranging from light pink to deep rose-red, and its physical properties. The mineral belongs to the calcite group and has a hexagonal-rhombohedral crystal system.- Chemical composition and structure of rhodochrosite: Rhodochrosite is primarily composed of manganese carbonate (MnCO3) with a hexagonal crystal structure. It often contains impurities such as iron, calcium, magnesium, and zinc, which can substitute for manganese in the crystal lattice. These impurities can affect the color and properties of the mineral, with pure rhodochrosite displaying a characteristic rose-pink to red color. The mineral belongs to the calcite group and has a trigonal-rhombohedral crystal system.
- Processing and beneficiation of rhodochrosite ore: Various methods are employed for processing rhodochrosite ore to extract manganese and other valuable components. These include flotation, magnetic separation, gravity concentration, and chemical leaching processes. The beneficiation techniques aim to increase the manganese content while removing impurities. Specific parameters such as pH, temperature, and reagent dosage significantly affect the efficiency of rhodochrosite processing. Advanced techniques may involve microwave-assisted processing or bioleaching to improve recovery rates.
- Applications of rhodochrosite in industrial processes: Rhodochrosite serves as an important source of manganese for various industrial applications. It is used in steel production as a deoxidizer and alloying element, in battery manufacturing for cathode materials, and in electronics for semiconductor components. The mineral is also utilized in water treatment processes for removing heavy metals and in catalytic systems for various chemical reactions. The specific mineralogical composition of rhodochrosite determines its suitability for different industrial applications.
- Analytical methods for characterizing rhodochrosite: Various analytical techniques are employed to characterize the mineralogical composition of rhodochrosite. These include X-ray diffraction (XRD) for crystal structure determination, X-ray fluorescence (XRF) for elemental analysis, scanning electron microscopy (SEM) for surface morphology, and infrared spectroscopy for identifying carbonate bonds. Advanced methods such as electron probe microanalysis (EPMA) and inductively coupled plasma mass spectrometry (ICP-MS) provide detailed information about trace elements and impurities in rhodochrosite samples. These analytical approaches help in determining the purity and quality of the mineral.
- Geological occurrence and formation of rhodochrosite: Rhodochrosite forms under specific geological conditions, primarily in hydrothermal veins, sedimentary deposits, and metamorphic environments. It is often associated with other minerals such as calcite, fluorite, quartz, and various sulfides. The formation of rhodochrosite is linked to manganese-rich fluids circulating through fractures in rocks or precipitating in sedimentary basins. The mineral's composition can vary based on the geological setting, with hydrothermal deposits typically yielding higher-purity specimens compared to sedimentary formations. Understanding these geological contexts is crucial for exploration and mining of rhodochrosite deposits.
02 Extraction and processing methods for rhodochrosite
Various methods are employed for extracting and processing rhodochrosite from ore deposits. These include selective mining techniques, crushing and grinding processes, flotation separation, and chemical leaching. Advanced processing methods may involve magnetic separation, gravity concentration, and hydrometallurgical techniques to isolate high-purity rhodochrosite. The processing methods aim to preserve the mineral's structural integrity while removing gangue materials and other impurities.Expand Specific Solutions03 Industrial applications of rhodochrosite
Rhodochrosite has diverse industrial applications due to its manganese content and unique properties. It serves as an important ore for manganese extraction in steel production, battery manufacturing, and electronics. The mineral is also used in catalysts, pigments, and as a component in specialized glass and ceramic formulations. High-grade rhodochrosite can be processed to produce manganese compounds used in agricultural fertilizers and animal feed supplements.Expand Specific Solutions04 Gemological properties and ornamental uses
Rhodochrosite is valued as a semi-precious gemstone due to its distinctive pink to red color and banding patterns. It has a Mohs hardness of 3.5-4, perfect rhombohedral cleavage, and a vitreous to pearly luster. The mineral can be cut into cabochons, beads, and small carvings for jewelry and ornamental objects. High-quality specimens with intense color and attractive banding patterns are particularly prized by collectors and for decorative purposes.Expand Specific Solutions05 Geological occurrence and formation conditions
Rhodochrosite typically forms in hydrothermal veins, as a gangue mineral in metal ore deposits, and in sedimentary environments under specific conditions. It commonly occurs in association with other manganese minerals, silver ores, and sulfide minerals. The formation requires manganese-rich solutions, moderate temperatures, and specific pH conditions. Major deposits are found in Argentina, Peru, South Africa, and the United States, with varying qualities and characteristics depending on the geological setting and formation processes.Expand Specific Solutions
Leading Research Institutions and Mining Companies in Rhodochrosite Analysis
Rhodochrosite mineralogical composition analysis is currently in a growth phase, with the global market for mineral characterization technologies expanding at approximately 5-7% annually. The technical landscape is moderately mature, with established methodologies being enhanced by advanced spectroscopic and diffraction techniques. Key industry players demonstrate varying levels of specialization: Schlumberger Technologies and Saudi Aramco lead in oil-field applications; China Petroleum & Chemical Corp. and PetroChina focus on industrial-scale implementations; while academic institutions like China University of Geosciences and Central South University drive fundamental research. The Changsha Research Institute of Mining & Metallurgy represents significant advancement in specialized equipment development, creating a competitive ecosystem where commercial applications are increasingly informed by academic research partnerships.
Schlumberger Technologies, Inc.
Technical Solution: Schlumberger has developed advanced X-ray diffraction (XRD) and X-ray fluorescence (XRF) techniques specifically optimized for rhodochrosite mineralogical composition determination. Their proprietary TerraTek laboratory services utilize high-resolution XRD coupled with Rietveld refinement analysis to quantify rhodochrosite content with precision up to 0.5% in complex mineral assemblages[1]. Additionally, their QEMSCAN (Quantitative Evaluation of Minerals by Scanning Electron Microscopy) technology creates detailed mineral maps that distinguish rhodochrosite from other manganese carbonates by combining backscattered electron imaging with energy-dispersive X-ray spectroscopy[2]. For field applications, Schlumberger has developed portable Fourier Transform Infrared Spectroscopy (FTIR) tools that can identify rhodochrosite's characteristic absorption bands in the 1400-1450 cm⁻¹ range, allowing for rapid on-site mineral identification[3].
Strengths: Industry-leading precision in quantitative analysis of complex mineral assemblages; integrated workflow combining multiple analytical techniques; extensive global database of mineral signatures for reference. Weaknesses: High equipment costs; requires specialized technical expertise; some techniques require extensive sample preparation which can be time-consuming.
Guizhou University
Technical Solution: Guizhou University has pioneered innovative approaches to rhodochrosite characterization through their specialized Mineral Resources Engineering department. Their technical solution combines traditional analytical methods with regionally-specific calibrations developed for the manganese-rich deposits of Southwest China. Their methodology employs sequential chemical extraction procedures specifically optimized for rhodochrosite, allowing differentiation between manganese in carbonate, oxide, and silicate forms[1]. The university has developed a multi-spectral analysis protocol that combines visible-near infrared (VNIR) and shortwave infrared (SWIR) spectroscopy to identify rhodochrosite's distinctive absorption features at 515nm, 550nm, and 2150-2350nm[2]. This is complemented by their novel application of thermal analysis techniques (TG-DTA) that precisely measure the characteristic decomposition temperature range of rhodochrosite (500-750°C), enabling quantification even in fine-grained samples where XRD analysis is challenging[3].
Strengths: Specialized expertise in regional manganese deposits; cost-effective analytical protocols suitable for routine analysis; strong integration of field and laboratory techniques. Weaknesses: Methods optimized primarily for regional geological contexts; limited commercial deployment of techniques; some approaches require specialized equipment not widely available outside research settings.
Key Spectroscopic and Diffraction Techniques for Manganese Carbonate Minerals
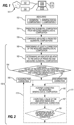
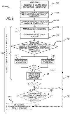
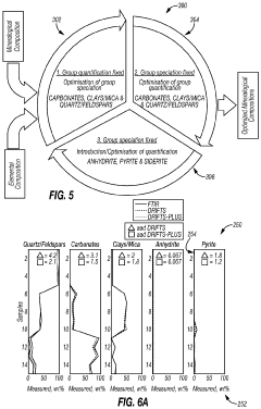
Method and installation for determining an improved mineralogical composition of a rock sample
PatentActiveUS11340207B2
Innovation
- A method and installation that utilize first and second detectors to measure mineralogical and elemental compositions, respectively, with a processing system applying a mineralogy break-down model to correct the mineralogical composition by adjusting mineral amounts within families or adding additional minerals, while maintaining constant total amounts, to improve accuracy and match predicted and measured elemental compositions.
Method for producing 5-(aminomethyl)-2-chlorothiazole
PatentInactiveBR112012012808A2
Innovation
- A method involving the hydrolysis of a compound represented by formula (1) and subsequent mixing with a mineral acid and a nitrite salt, such as hydrochloric acid and sodium nitrite, to produce 5-(aminomethyl)-2-chlorothiazole, with specific conditions including temperature, time, and solvent usage to optimize the reaction.
Environmental Impact of Rhodochrosite Mining and Processing
The mining and processing of rhodochrosite present significant environmental challenges that require careful consideration and management. The extraction process typically involves open-pit mining or underground operations, both of which cause substantial land disturbance and habitat destruction. These activities can lead to soil erosion, altered landscape topography, and disruption of local ecosystems, particularly in the manganese-rich regions where rhodochrosite is commonly found.
Water contamination represents one of the most serious environmental concerns associated with rhodochrosite mining. The mineral contains manganese, which can leach into groundwater and surface water systems during extraction and processing. Elevated manganese levels in water bodies can be toxic to aquatic organisms and potentially harmful to human health when present in drinking water supplies. Additionally, acid mine drainage may occur when sulfide minerals associated with rhodochrosite deposits are exposed to air and water, generating acidic runoff that further mobilizes heavy metals.
Air quality degradation is another significant impact, primarily resulting from dust emissions during blasting, crushing, and transportation activities. These particulates may contain manganese and other potentially harmful elements that can affect respiratory health in nearby communities. Processing facilities also contribute to air pollution through energy consumption and the release of various emissions during mineral separation and refinement processes.
Waste management presents ongoing challenges, as rhodochrosite mining generates substantial volumes of waste rock and tailings. These materials often contain residual metals and processing chemicals that require proper containment to prevent environmental contamination. Tailings dams and waste rock piles, if improperly designed or maintained, pose risks of failure or leaching that can lead to catastrophic environmental damage.
Energy consumption throughout the mining and processing chain contributes to the carbon footprint of rhodochrosite production. From extraction equipment to processing facilities, significant energy inputs are required, often derived from fossil fuel sources in many mining regions, thus contributing to greenhouse gas emissions and climate change concerns.
Reclamation and rehabilitation efforts are essential components of responsible rhodochrosite mining operations. Progressive rehabilitation techniques, including topsoil preservation, native species replanting, and water management systems, can help mitigate long-term environmental impacts. However, complete ecosystem restoration remains challenging, particularly in sensitive or unique habitats affected by mining activities.
Water contamination represents one of the most serious environmental concerns associated with rhodochrosite mining. The mineral contains manganese, which can leach into groundwater and surface water systems during extraction and processing. Elevated manganese levels in water bodies can be toxic to aquatic organisms and potentially harmful to human health when present in drinking water supplies. Additionally, acid mine drainage may occur when sulfide minerals associated with rhodochrosite deposits are exposed to air and water, generating acidic runoff that further mobilizes heavy metals.
Air quality degradation is another significant impact, primarily resulting from dust emissions during blasting, crushing, and transportation activities. These particulates may contain manganese and other potentially harmful elements that can affect respiratory health in nearby communities. Processing facilities also contribute to air pollution through energy consumption and the release of various emissions during mineral separation and refinement processes.
Waste management presents ongoing challenges, as rhodochrosite mining generates substantial volumes of waste rock and tailings. These materials often contain residual metals and processing chemicals that require proper containment to prevent environmental contamination. Tailings dams and waste rock piles, if improperly designed or maintained, pose risks of failure or leaching that can lead to catastrophic environmental damage.
Energy consumption throughout the mining and processing chain contributes to the carbon footprint of rhodochrosite production. From extraction equipment to processing facilities, significant energy inputs are required, often derived from fossil fuel sources in many mining regions, thus contributing to greenhouse gas emissions and climate change concerns.
Reclamation and rehabilitation efforts are essential components of responsible rhodochrosite mining operations. Progressive rehabilitation techniques, including topsoil preservation, native species replanting, and water management systems, can help mitigate long-term environmental impacts. However, complete ecosystem restoration remains challenging, particularly in sensitive or unique habitats affected by mining activities.
Geochemical Factors Affecting Rhodochrosite Composition Variability
The geochemical environment plays a crucial role in determining the composition variability of rhodochrosite (MnCO3). This manganese carbonate mineral exhibits significant compositional variations depending on the geological conditions under which it forms. Temperature and pressure conditions represent primary factors influencing rhodochrosite composition, with higher temperatures typically resulting in more ordered crystal structures and greater purity of the mineral.
pH levels of the mineralizing fluids significantly impact rhodochrosite formation, with optimal precipitation occurring in slightly alkaline environments (pH 7.5-9). In more acidic conditions, manganese tends to remain in solution rather than precipitating as carbonate, while strongly alkaline environments may favor the formation of manganese oxides instead.
Redox conditions constitute another critical factor affecting rhodochrosite composition. The mineral typically forms under reducing conditions where manganese exists in its divalent (Mn²⁺) state. Oxidizing environments promote the formation of manganese oxides rather than carbonates, fundamentally altering the mineralogical outcome.
The availability of cations in the mineralizing environment directly influences the substitutional chemistry of rhodochrosite. Common substitutions include iron (Fe²⁺), calcium (Ca²⁺), magnesium (Mg²⁺), and zinc (Zn²⁺), which can replace manganese in the crystal lattice. These substitutions create solid solution series, particularly with siderite (FeCO3) and calcite (CaCO3), resulting in compositional zoning within individual crystals.
CO₂ partial pressure represents a fundamental control on carbonate mineral formation, including rhodochrosite. Higher PCO₂ values promote carbonate precipitation by increasing carbonate ion availability in solution. Fluctuations in CO₂ levels can lead to rhythmic precipitation patterns and compositional banding in rhodochrosite specimens.
Hydrothermal fluid composition, particularly regarding trace elements and complexing agents, significantly influences rhodochrosite composition. Elements such as cobalt, nickel, and rare earth elements may be incorporated as trace components, while organic compounds and inorganic complexing agents can affect manganese mobility and precipitation kinetics.
Geological setting also plays a determinative role, with rhodochrosite from hydrothermal vein deposits typically showing different compositional characteristics compared to those from sedimentary manganese deposits or metamorphic environments. These setting-specific variations reflect differences in temperature, pressure, fluid composition, and redox conditions across geological environments.
pH levels of the mineralizing fluids significantly impact rhodochrosite formation, with optimal precipitation occurring in slightly alkaline environments (pH 7.5-9). In more acidic conditions, manganese tends to remain in solution rather than precipitating as carbonate, while strongly alkaline environments may favor the formation of manganese oxides instead.
Redox conditions constitute another critical factor affecting rhodochrosite composition. The mineral typically forms under reducing conditions where manganese exists in its divalent (Mn²⁺) state. Oxidizing environments promote the formation of manganese oxides rather than carbonates, fundamentally altering the mineralogical outcome.
The availability of cations in the mineralizing environment directly influences the substitutional chemistry of rhodochrosite. Common substitutions include iron (Fe²⁺), calcium (Ca²⁺), magnesium (Mg²⁺), and zinc (Zn²⁺), which can replace manganese in the crystal lattice. These substitutions create solid solution series, particularly with siderite (FeCO3) and calcite (CaCO3), resulting in compositional zoning within individual crystals.
CO₂ partial pressure represents a fundamental control on carbonate mineral formation, including rhodochrosite. Higher PCO₂ values promote carbonate precipitation by increasing carbonate ion availability in solution. Fluctuations in CO₂ levels can lead to rhythmic precipitation patterns and compositional banding in rhodochrosite specimens.
Hydrothermal fluid composition, particularly regarding trace elements and complexing agents, significantly influences rhodochrosite composition. Elements such as cobalt, nickel, and rare earth elements may be incorporated as trace components, while organic compounds and inorganic complexing agents can affect manganese mobility and precipitation kinetics.
Geological setting also plays a determinative role, with rhodochrosite from hydrothermal vein deposits typically showing different compositional characteristics compared to those from sedimentary manganese deposits or metamorphic environments. These setting-specific variations reflect differences in temperature, pressure, fluid composition, and redox conditions across geological environments.
Unlock deeper insights with Patsnap Eureka Quick Research — get a full tech report to explore trends and direct your research. Try now!
Generate Your Research Report Instantly with AI Agent
Supercharge your innovation with Patsnap Eureka AI Agent Platform!



