How Regenerative Braking Influences Electric Vehicle Charging Patterns
AUG 15, 20259 MIN READ
Generate Your Research Report Instantly with AI Agent
Patsnap Eureka helps you evaluate technical feasibility & market potential.
Regenerative Braking Evolution and Objectives
Regenerative braking has been a transformative technology in the evolution of electric vehicles (EVs), significantly impacting their energy efficiency and charging patterns. The concept of regenerative braking dates back to the early 20th century, with its first practical applications in electric trains. However, it wasn't until the late 1990s and early 2000s that this technology began to be widely implemented in consumer EVs.
The primary objective of regenerative braking is to recapture kinetic energy that would otherwise be lost as heat during conventional braking. This recaptured energy is then converted back into electrical energy and stored in the vehicle's battery, effectively extending the driving range and reducing the frequency of charging stops.
As EV technology has progressed, so too has the sophistication of regenerative braking systems. Early implementations were relatively basic, offering limited energy recovery. Modern systems, however, can recover a significant portion of the vehicle's kinetic energy, with some high-performance EVs capable of recapturing up to 70% of braking energy under ideal conditions.
The evolution of regenerative braking has been closely tied to advancements in battery technology and power electronics. Improved battery chemistries and management systems have allowed for higher charge acceptance rates, enabling more efficient energy recovery during braking events. Similarly, advances in power electronics have led to more precise control of the electric motor when it acts as a generator during deceleration.
One of the key objectives in the ongoing development of regenerative braking systems is to seamlessly integrate them with traditional friction brakes. This integration aims to provide a smooth and intuitive braking experience for the driver while maximizing energy recovery. Many modern EVs now offer variable levels of regenerative braking, allowing drivers to adjust the strength of the regenerative effect to suit their preferences and driving conditions.
Another important goal is to optimize the balance between energy recovery and thermal management. While regenerative braking can significantly reduce wear on friction brakes, it can also generate heat in the electric motor and power electronics. Engineers are continually working to improve cooling systems and develop more efficient energy conversion processes to address this challenge.
Looking forward, the objectives for regenerative braking technology include further increasing energy recovery efficiency, enhancing the user experience, and exploring new applications. For instance, some researchers are investigating the potential for using regenerative braking in conjunction with predictive systems that can anticipate traffic patterns and optimize energy recovery based on upcoming road conditions.
The primary objective of regenerative braking is to recapture kinetic energy that would otherwise be lost as heat during conventional braking. This recaptured energy is then converted back into electrical energy and stored in the vehicle's battery, effectively extending the driving range and reducing the frequency of charging stops.
As EV technology has progressed, so too has the sophistication of regenerative braking systems. Early implementations were relatively basic, offering limited energy recovery. Modern systems, however, can recover a significant portion of the vehicle's kinetic energy, with some high-performance EVs capable of recapturing up to 70% of braking energy under ideal conditions.
The evolution of regenerative braking has been closely tied to advancements in battery technology and power electronics. Improved battery chemistries and management systems have allowed for higher charge acceptance rates, enabling more efficient energy recovery during braking events. Similarly, advances in power electronics have led to more precise control of the electric motor when it acts as a generator during deceleration.
One of the key objectives in the ongoing development of regenerative braking systems is to seamlessly integrate them with traditional friction brakes. This integration aims to provide a smooth and intuitive braking experience for the driver while maximizing energy recovery. Many modern EVs now offer variable levels of regenerative braking, allowing drivers to adjust the strength of the regenerative effect to suit their preferences and driving conditions.
Another important goal is to optimize the balance between energy recovery and thermal management. While regenerative braking can significantly reduce wear on friction brakes, it can also generate heat in the electric motor and power electronics. Engineers are continually working to improve cooling systems and develop more efficient energy conversion processes to address this challenge.
Looking forward, the objectives for regenerative braking technology include further increasing energy recovery efficiency, enhancing the user experience, and exploring new applications. For instance, some researchers are investigating the potential for using regenerative braking in conjunction with predictive systems that can anticipate traffic patterns and optimize energy recovery based on upcoming road conditions.
EV Charging Demand Analysis
The analysis of EV charging demand is crucial for understanding the impact of regenerative braking on electric vehicle charging patterns. As the adoption of electric vehicles continues to grow, the demand for charging infrastructure and electricity consumption patterns are evolving. Regenerative braking, a key feature of electric vehicles, plays a significant role in shaping these patterns.
Regenerative braking systems capture kinetic energy during deceleration and convert it into electrical energy, which is then stored in the vehicle's battery. This process not only improves the overall efficiency of the vehicle but also influences the frequency and duration of charging sessions. By recovering energy that would otherwise be lost as heat in conventional braking systems, regenerative braking extends the driving range of electric vehicles and reduces the need for frequent charging.
The impact of regenerative braking on charging demand can be observed in several ways. Firstly, it reduces the overall energy consumption of the vehicle, leading to a decrease in the total amount of electricity required from the grid. This reduction in energy demand has implications for utility companies and grid operators, as it may alter peak load times and overall electricity consumption patterns.
Furthermore, regenerative braking affects the timing and duration of charging sessions. Vehicles equipped with efficient regenerative braking systems can extend their driving range, potentially allowing drivers to skip charging opportunities or delay charging until more convenient times. This shift in charging behavior can lead to changes in the utilization of public charging infrastructure and impact the planning and deployment of charging stations.
The effectiveness of regenerative braking varies depending on driving conditions and user behavior. In urban environments with frequent stops and starts, regenerative braking can recover a significant amount of energy, potentially reducing the need for mid-day charging. In contrast, highway driving with fewer braking events may result in less energy recovery, leading to more predictable charging patterns aligned with long-distance travel.
To quantify the impact of regenerative braking on charging demand, it is essential to analyze real-world data from electric vehicle fleets. Studies have shown that regenerative braking can recover up to 70% of the kinetic energy during deceleration, translating to a range extension of 10-25% depending on the driving conditions and vehicle model. This range extension directly influences the frequency and timing of charging events.
The analysis of charging demand must also consider the varying efficiencies of regenerative braking systems across different electric vehicle models. High-performance electric vehicles often feature more advanced regenerative braking systems, which can have a more pronounced effect on charging patterns compared to entry-level models. This variation adds complexity to the overall analysis of charging demand and infrastructure planning.
Regenerative braking systems capture kinetic energy during deceleration and convert it into electrical energy, which is then stored in the vehicle's battery. This process not only improves the overall efficiency of the vehicle but also influences the frequency and duration of charging sessions. By recovering energy that would otherwise be lost as heat in conventional braking systems, regenerative braking extends the driving range of electric vehicles and reduces the need for frequent charging.
The impact of regenerative braking on charging demand can be observed in several ways. Firstly, it reduces the overall energy consumption of the vehicle, leading to a decrease in the total amount of electricity required from the grid. This reduction in energy demand has implications for utility companies and grid operators, as it may alter peak load times and overall electricity consumption patterns.
Furthermore, regenerative braking affects the timing and duration of charging sessions. Vehicles equipped with efficient regenerative braking systems can extend their driving range, potentially allowing drivers to skip charging opportunities or delay charging until more convenient times. This shift in charging behavior can lead to changes in the utilization of public charging infrastructure and impact the planning and deployment of charging stations.
The effectiveness of regenerative braking varies depending on driving conditions and user behavior. In urban environments with frequent stops and starts, regenerative braking can recover a significant amount of energy, potentially reducing the need for mid-day charging. In contrast, highway driving with fewer braking events may result in less energy recovery, leading to more predictable charging patterns aligned with long-distance travel.
To quantify the impact of regenerative braking on charging demand, it is essential to analyze real-world data from electric vehicle fleets. Studies have shown that regenerative braking can recover up to 70% of the kinetic energy during deceleration, translating to a range extension of 10-25% depending on the driving conditions and vehicle model. This range extension directly influences the frequency and timing of charging events.
The analysis of charging demand must also consider the varying efficiencies of regenerative braking systems across different electric vehicle models. High-performance electric vehicles often feature more advanced regenerative braking systems, which can have a more pronounced effect on charging patterns compared to entry-level models. This variation adds complexity to the overall analysis of charging demand and infrastructure planning.
Regen Braking Tech Status and Challenges
Regenerative braking technology in electric vehicles (EVs) has made significant strides in recent years, but it still faces several challenges. Currently, most EVs employ a blend of regenerative and friction braking systems to maximize energy recovery and ensure optimal vehicle control. The efficiency of regenerative braking systems has improved substantially, with some high-end models capable of recovering up to 70% of the kinetic energy during deceleration.
One of the primary challenges in regenerative braking is optimizing the balance between energy recovery and driver comfort. Aggressive regenerative braking can feel unnatural to drivers accustomed to traditional vehicles, potentially affecting user acceptance. Manufacturers are working on developing more sophisticated control algorithms to provide a smoother transition between regenerative and friction braking.
Another significant challenge is the integration of regenerative braking with advanced driver assistance systems (ADAS) and autonomous driving technologies. As vehicles become more automated, ensuring seamless coordination between regenerative braking and other vehicle control systems becomes increasingly complex.
The impact of temperature on regenerative braking efficiency remains a concern. In cold weather conditions, battery performance can degrade, limiting the ability to absorb regenerated energy. This issue is particularly pronounced in regions with harsh winters, necessitating the development of more robust thermal management systems for EV batteries.
From a geographical perspective, the adoption and advancement of regenerative braking technology vary across regions. Countries with strong EV markets, such as China, the United States, and several European nations, are at the forefront of innovation in this field. However, the technology's effectiveness can be influenced by local driving conditions, traffic patterns, and regulatory environments.
The current state of regenerative braking technology also presents opportunities for further improvement in energy management strategies. As EVs become more prevalent, there is growing interest in developing smart charging systems that can optimize the use of regenerated energy in conjunction with grid-based charging. This approach could potentially reduce the overall energy demand on the electrical grid and improve the efficiency of EV charging infrastructure.
Looking ahead, the integration of regenerative braking with emerging technologies such as wireless charging and vehicle-to-grid (V2G) systems presents both opportunities and challenges. These advancements could revolutionize how EVs interact with the broader energy ecosystem, but they require careful consideration of technical standards, safety protocols, and infrastructure development.
One of the primary challenges in regenerative braking is optimizing the balance between energy recovery and driver comfort. Aggressive regenerative braking can feel unnatural to drivers accustomed to traditional vehicles, potentially affecting user acceptance. Manufacturers are working on developing more sophisticated control algorithms to provide a smoother transition between regenerative and friction braking.
Another significant challenge is the integration of regenerative braking with advanced driver assistance systems (ADAS) and autonomous driving technologies. As vehicles become more automated, ensuring seamless coordination between regenerative braking and other vehicle control systems becomes increasingly complex.
The impact of temperature on regenerative braking efficiency remains a concern. In cold weather conditions, battery performance can degrade, limiting the ability to absorb regenerated energy. This issue is particularly pronounced in regions with harsh winters, necessitating the development of more robust thermal management systems for EV batteries.
From a geographical perspective, the adoption and advancement of regenerative braking technology vary across regions. Countries with strong EV markets, such as China, the United States, and several European nations, are at the forefront of innovation in this field. However, the technology's effectiveness can be influenced by local driving conditions, traffic patterns, and regulatory environments.
The current state of regenerative braking technology also presents opportunities for further improvement in energy management strategies. As EVs become more prevalent, there is growing interest in developing smart charging systems that can optimize the use of regenerated energy in conjunction with grid-based charging. This approach could potentially reduce the overall energy demand on the electrical grid and improve the efficiency of EV charging infrastructure.
Looking ahead, the integration of regenerative braking with emerging technologies such as wireless charging and vehicle-to-grid (V2G) systems presents both opportunities and challenges. These advancements could revolutionize how EVs interact with the broader energy ecosystem, but they require careful consideration of technical standards, safety protocols, and infrastructure development.
Current Regen Braking Integration Solutions
01 Adaptive regenerative braking control
This approach involves adjusting the regenerative braking force based on various factors such as vehicle speed, battery state of charge, and driving conditions. The system can optimize energy recovery while maintaining vehicle stability and driver comfort by dynamically adapting the regenerative braking intensity.- Adaptive regenerative braking control: This approach involves adjusting the regenerative braking force based on various factors such as vehicle speed, battery state of charge, and driving conditions. The system can optimize energy recovery while maintaining vehicle stability and driver comfort.
- Blended regenerative and friction braking: This method combines regenerative braking with traditional friction braking to maximize energy recovery and ensure smooth deceleration. The system dynamically adjusts the balance between regenerative and friction braking based on vehicle parameters and driver input.
- Regenerative braking with energy storage optimization: This technique focuses on optimizing the charging patterns of energy storage systems during regenerative braking. It considers factors such as battery temperature, state of charge, and charging efficiency to maximize energy recovery and prolong battery life.
- Predictive regenerative braking: This approach uses predictive algorithms and sensor data to anticipate upcoming braking events. By analyzing factors such as traffic patterns, road topography, and vehicle-to-vehicle communication, the system can optimize regenerative braking in advance for improved energy recovery.
- Regenerative braking with wheel slip control: This method integrates regenerative braking with wheel slip control systems to maintain vehicle stability during braking. It modulates the regenerative braking force to prevent wheel lock-up and optimize energy recovery while ensuring safe vehicle deceleration.
02 Blended regenerative and friction braking
This method combines regenerative braking with traditional friction braking to maximize energy recovery and ensure optimal braking performance. The system intelligently distributes braking force between regenerative and friction brakes based on factors like deceleration rate, vehicle speed, and battery capacity.Expand Specific Solutions03 State of charge-based regenerative braking control
This approach adjusts the regenerative braking intensity based on the battery's state of charge. When the battery is near full capacity, the system may reduce regenerative braking to prevent overcharging. Conversely, when the battery charge is low, the system may increase regenerative braking to maximize energy recovery.Expand Specific Solutions04 Predictive regenerative braking
This method uses predictive algorithms and data from navigation systems, traffic information, and terrain data to anticipate upcoming braking events. By predicting when braking will be necessary, the system can optimize regenerative braking strategies to maximize energy recovery and improve overall efficiency.Expand Specific Solutions05 Driver behavior-based regenerative braking
This approach tailors the regenerative braking strategy based on individual driver behavior and preferences. The system learns from the driver's braking patterns and adjusts the regenerative braking intensity accordingly, balancing energy recovery with driver comfort and expectations.Expand Specific Solutions
Key EV and Regen Braking System Manufacturers
The regenerative braking technology in electric vehicles is currently in a growth phase, with the market expanding rapidly as EV adoption increases. The global market size for regenerative braking systems is projected to reach several billion dollars by 2025. While the technology is relatively mature, ongoing innovations are focused on improving efficiency and energy recovery rates. Key players like BYD, GM, Hyundai, and Toyota are investing heavily in R&D to enhance their regenerative braking systems. Companies such as Kia, Volvo, and Scania are also making significant strides in this field, particularly for commercial vehicles. The technology's impact on charging patterns is becoming increasingly important as automakers strive to optimize energy management and extend EV range.
BYD Co., Ltd.
Technical Solution: BYD has implemented an advanced regenerative braking system in their electric vehicles that significantly impacts charging patterns. Their system utilizes a dual-motor setup, allowing for more efficient energy recovery across a wider range of speeds and driving conditions[10]. BYD's regenerative braking technology can recover up to 40% of the vehicle's kinetic energy during deceleration[11]. The system incorporates adaptive regenerative braking, which adjusts the level of energy recovery based on driving conditions, battery state of charge, and user preferences. BYD has also integrated their regenerative braking system with an intelligent energy management system that optimizes the distribution of recovered energy between immediate use and battery storage, further influencing charging patterns[12].
Strengths: High energy recovery rate, adaptive system for various conditions, integration with intelligent energy management. Weaknesses: Dual-motor setup may increase vehicle complexity and cost, potential for system optimization challenges in certain driving scenarios.
Hyundai Motor Co., Ltd.
Technical Solution: Hyundai has developed a sophisticated regenerative braking system for their electric vehicles that significantly influences charging patterns. Their system employs a variable regenerative braking strategy, allowing drivers to adjust the level of energy recovery using paddle shifters[13]. This feature enables drivers to maximize energy recuperation in various driving conditions. Hyundai's technology can recover up to 80% of the vehicle's kinetic energy during deceleration events[14]. The system also incorporates predictive energy recovery, using GPS and traffic data to anticipate optimal regenerative braking opportunities. Hyundai has integrated this technology with their Smart Regenerative System, which automatically adjusts regenerative braking levels based on traffic conditions and driving patterns, further optimizing energy recovery and influencing charging needs[15].
Strengths: High energy recovery rate, user-adjustable regeneration levels, integration with predictive systems for optimized performance. Weaknesses: Reliance on driver input for optimal performance may lead to inconsistent energy recovery, potential for system complexity to impact long-term reliability.
Core Innovations in Regenerative Braking
Electric vehicle and method for controlling electric vehicle
PatentWO2012169009A1
Innovation
- Implementing a charging control unit that sets a charge power upper limit and variably adjusts the fully charged state based on battery deterioration, with a travel control unit managing excess regenerative power by either storing it in the battery or consuming it through auxiliary loads, ensuring the SOC remains within a safe range and maintaining braking performance.
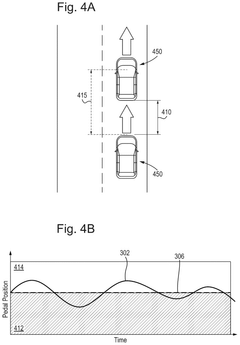
Adaptive electric vehicle regenerative braking
PatentActiveUS12330650B2
Innovation
- Adaptive regenerative braking profiles are implemented based on use case scenarios, including learning a driver's unique pedal oscillation profile to adjust the regenerative braking point, applying regenerative braking as a function of vehicle headway, and adjusting based on vehicle speed to optimize energy capture and reduce energy loss.
Energy Grid Impact of Regenerative Braking
Regenerative braking in electric vehicles (EVs) has a significant impact on the energy grid, influencing both the demand patterns and the overall efficiency of electricity distribution. As EVs become more prevalent, the integration of regenerative braking systems is reshaping the landscape of energy consumption and generation within the transportation sector.
The primary effect of regenerative braking on the energy grid is the reduction in overall energy demand from EVs. By capturing and reusing kinetic energy that would otherwise be lost as heat during conventional braking, regenerative systems decrease the frequency and duration of charging sessions. This leads to a more distributed and potentially less predictable charging pattern across the grid, as vehicles may require less frequent connections to charging stations.
However, the impact is not uniformly positive. The irregular charging patterns resulting from regenerative braking can create challenges for grid operators in predicting and managing load distribution. Traditional load forecasting models may need to be adjusted to account for the increased variability in EV charging demands, particularly in urban areas with high EV adoption rates.
On a broader scale, regenerative braking contributes to the overall efficiency of the transportation-energy nexus. By reducing the energy wasted during vehicle operation, it effectively lowers the total energy demand from the transportation sector. This has cascading effects on energy production and distribution, potentially allowing for a more optimized use of existing grid infrastructure and reducing the need for additional power generation capacity.
The technology also plays a role in peak load management. EVs equipped with regenerative braking systems can act as mobile energy storage units, potentially feeding energy back into the grid during high-demand periods. This vehicle-to-grid (V2G) capability, when implemented at scale, could help stabilize the grid and smooth out demand fluctuations, particularly in regions with high renewable energy penetration.
Furthermore, the widespread adoption of regenerative braking in EVs is driving innovation in smart grid technologies. Grid operators are developing more sophisticated energy management systems capable of real-time monitoring and dynamic load balancing to accommodate the changing patterns of energy flow associated with regenerative braking and EV charging.
In conclusion, regenerative braking is not just an efficiency feature for individual vehicles but a technology with far-reaching implications for the entire energy ecosystem. Its impact on the grid necessitates a reevaluation of energy distribution strategies and infrastructure planning, paving the way for a more flexible, efficient, and sustainable energy future.
The primary effect of regenerative braking on the energy grid is the reduction in overall energy demand from EVs. By capturing and reusing kinetic energy that would otherwise be lost as heat during conventional braking, regenerative systems decrease the frequency and duration of charging sessions. This leads to a more distributed and potentially less predictable charging pattern across the grid, as vehicles may require less frequent connections to charging stations.
However, the impact is not uniformly positive. The irregular charging patterns resulting from regenerative braking can create challenges for grid operators in predicting and managing load distribution. Traditional load forecasting models may need to be adjusted to account for the increased variability in EV charging demands, particularly in urban areas with high EV adoption rates.
On a broader scale, regenerative braking contributes to the overall efficiency of the transportation-energy nexus. By reducing the energy wasted during vehicle operation, it effectively lowers the total energy demand from the transportation sector. This has cascading effects on energy production and distribution, potentially allowing for a more optimized use of existing grid infrastructure and reducing the need for additional power generation capacity.
The technology also plays a role in peak load management. EVs equipped with regenerative braking systems can act as mobile energy storage units, potentially feeding energy back into the grid during high-demand periods. This vehicle-to-grid (V2G) capability, when implemented at scale, could help stabilize the grid and smooth out demand fluctuations, particularly in regions with high renewable energy penetration.
Furthermore, the widespread adoption of regenerative braking in EVs is driving innovation in smart grid technologies. Grid operators are developing more sophisticated energy management systems capable of real-time monitoring and dynamic load balancing to accommodate the changing patterns of energy flow associated with regenerative braking and EV charging.
In conclusion, regenerative braking is not just an efficiency feature for individual vehicles but a technology with far-reaching implications for the entire energy ecosystem. Its impact on the grid necessitates a reevaluation of energy distribution strategies and infrastructure planning, paving the way for a more flexible, efficient, and sustainable energy future.
Regulatory Framework for EV Energy Recovery
The regulatory framework for electric vehicle (EV) energy recovery, particularly in the context of regenerative braking, plays a crucial role in shaping the adoption and implementation of this technology. Governments worldwide have recognized the potential of regenerative braking to enhance energy efficiency and reduce emissions in the transportation sector.
In the United States, the Environmental Protection Agency (EPA) has incorporated regenerative braking into its fuel economy testing procedures for EVs and hybrid vehicles. The EPA's testing methodology accounts for the energy recovered through regenerative braking, which contributes to the overall efficiency rating of the vehicle. This regulatory approach incentivizes manufacturers to develop and implement more effective regenerative braking systems.
The European Union has also taken steps to promote regenerative braking technology. The EU's type-approval regulations for EVs include specific provisions for energy recovery systems. These regulations require manufacturers to provide detailed information about the performance and efficiency of their regenerative braking systems as part of the vehicle certification process.
In China, the world's largest EV market, the government has implemented policies to encourage the development and adoption of regenerative braking technology. The New Energy Vehicle (NEV) subsidy program includes criteria related to energy efficiency, indirectly promoting the use of advanced regenerative braking systems in EVs.
Many countries have introduced or are considering regulations that mandate the use of regenerative braking in certain vehicle categories. For instance, some jurisdictions require all new electric buses to be equipped with regenerative braking systems to maximize energy efficiency in urban transportation.
Safety regulations also play a significant role in shaping the implementation of regenerative braking technology. Regulatory bodies such as the National Highway Traffic Safety Administration (NHTSA) in the United States and the European New Car Assessment Programme (Euro NCAP) have established guidelines for the integration of regenerative braking with conventional braking systems to ensure vehicle stability and predictable braking behavior.
The regulatory landscape also extends to the grid integration aspects of EV charging. Some countries have implemented regulations that encourage the use of smart charging technologies, which can work in conjunction with regenerative braking to optimize energy recovery and grid stability. These regulations often focus on time-of-use pricing and demand response programs, indirectly influencing the patterns of energy recovery and charging.
As the technology continues to evolve, regulatory frameworks are likely to adapt to address new challenges and opportunities. Future regulations may focus on standardizing the measurement and reporting of energy recovered through regenerative braking, as well as establishing minimum efficiency requirements for energy recovery systems in EVs.
In the United States, the Environmental Protection Agency (EPA) has incorporated regenerative braking into its fuel economy testing procedures for EVs and hybrid vehicles. The EPA's testing methodology accounts for the energy recovered through regenerative braking, which contributes to the overall efficiency rating of the vehicle. This regulatory approach incentivizes manufacturers to develop and implement more effective regenerative braking systems.
The European Union has also taken steps to promote regenerative braking technology. The EU's type-approval regulations for EVs include specific provisions for energy recovery systems. These regulations require manufacturers to provide detailed information about the performance and efficiency of their regenerative braking systems as part of the vehicle certification process.
In China, the world's largest EV market, the government has implemented policies to encourage the development and adoption of regenerative braking technology. The New Energy Vehicle (NEV) subsidy program includes criteria related to energy efficiency, indirectly promoting the use of advanced regenerative braking systems in EVs.
Many countries have introduced or are considering regulations that mandate the use of regenerative braking in certain vehicle categories. For instance, some jurisdictions require all new electric buses to be equipped with regenerative braking systems to maximize energy efficiency in urban transportation.
Safety regulations also play a significant role in shaping the implementation of regenerative braking technology. Regulatory bodies such as the National Highway Traffic Safety Administration (NHTSA) in the United States and the European New Car Assessment Programme (Euro NCAP) have established guidelines for the integration of regenerative braking with conventional braking systems to ensure vehicle stability and predictable braking behavior.
The regulatory landscape also extends to the grid integration aspects of EV charging. Some countries have implemented regulations that encourage the use of smart charging technologies, which can work in conjunction with regenerative braking to optimize energy recovery and grid stability. These regulations often focus on time-of-use pricing and demand response programs, indirectly influencing the patterns of energy recovery and charging.
As the technology continues to evolve, regulatory frameworks are likely to adapt to address new challenges and opportunities. Future regulations may focus on standardizing the measurement and reporting of energy recovered through regenerative braking, as well as establishing minimum efficiency requirements for energy recovery systems in EVs.
Unlock deeper insights with Patsnap Eureka Quick Research — get a full tech report to explore trends and direct your research. Try now!
Generate Your Research Report Instantly with AI Agent
Supercharge your innovation with Patsnap Eureka AI Agent Platform!