Impact of Regenerative Braking Technologies on Public Transit Innovations
AUG 15, 20259 MIN READ
Generate Your Research Report Instantly with AI Agent
Patsnap Eureka helps you evaluate technical feasibility & market potential.
Regenerative Braking Evolution and Objectives
Regenerative braking technology has evolved significantly since its inception in the early 20th century. Initially developed for electric vehicles, this innovative system has found widespread application in public transit, particularly in hybrid and electric buses, trams, and trains. The primary objective of regenerative braking is to recover and store energy that would otherwise be lost as heat during conventional braking, thereby improving overall energy efficiency and reducing operational costs.
The evolution of regenerative braking in public transit can be traced through several key milestones. In the 1960s and 1970s, early experiments with regenerative braking in electric trains demonstrated the potential for energy recovery. However, limitations in energy storage technologies hindered widespread adoption. The 1990s saw a resurgence of interest in regenerative braking, driven by advancements in power electronics and energy storage systems. This period marked the beginning of practical implementations in light rail systems and hybrid buses.
As we entered the 21st century, regenerative braking technologies experienced rapid development, coinciding with the growing emphasis on sustainable transportation. The introduction of more efficient power converters, improved battery technologies, and sophisticated control systems has significantly enhanced the performance and reliability of regenerative braking systems in public transit vehicles.
The primary objectives of regenerative braking in public transit innovations are multifaceted. Firstly, it aims to substantially reduce energy consumption, thereby lowering operational costs for transit agencies and minimizing environmental impact. Secondly, it seeks to extend the range of electric and hybrid vehicles, making them more viable for longer routes and reducing the need for frequent charging or refueling stops.
Another critical objective is to improve the overall efficiency of public transit systems. By recovering energy during braking and using it for acceleration or auxiliary systems, regenerative braking helps to optimize energy utilization across the entire transit network. This not only contributes to sustainability goals but also enhances the performance and responsiveness of public transit vehicles.
Furthermore, regenerative braking technology aims to reduce wear on conventional braking systems, potentially lowering maintenance costs and increasing the lifespan of transit vehicles. This aspect is particularly significant for high-frequency urban transit systems where frequent stops and starts are common.
As the technology continues to evolve, emerging objectives include integrating regenerative braking with smart grid systems to enable bidirectional energy flow between vehicles and the power grid. This vision of vehicle-to-grid (V2G) technology could transform public transit vehicles into mobile energy storage units, contributing to grid stability and further enhancing the sustainability of urban transportation networks.
The evolution of regenerative braking in public transit can be traced through several key milestones. In the 1960s and 1970s, early experiments with regenerative braking in electric trains demonstrated the potential for energy recovery. However, limitations in energy storage technologies hindered widespread adoption. The 1990s saw a resurgence of interest in regenerative braking, driven by advancements in power electronics and energy storage systems. This period marked the beginning of practical implementations in light rail systems and hybrid buses.
As we entered the 21st century, regenerative braking technologies experienced rapid development, coinciding with the growing emphasis on sustainable transportation. The introduction of more efficient power converters, improved battery technologies, and sophisticated control systems has significantly enhanced the performance and reliability of regenerative braking systems in public transit vehicles.
The primary objectives of regenerative braking in public transit innovations are multifaceted. Firstly, it aims to substantially reduce energy consumption, thereby lowering operational costs for transit agencies and minimizing environmental impact. Secondly, it seeks to extend the range of electric and hybrid vehicles, making them more viable for longer routes and reducing the need for frequent charging or refueling stops.
Another critical objective is to improve the overall efficiency of public transit systems. By recovering energy during braking and using it for acceleration or auxiliary systems, regenerative braking helps to optimize energy utilization across the entire transit network. This not only contributes to sustainability goals but also enhances the performance and responsiveness of public transit vehicles.
Furthermore, regenerative braking technology aims to reduce wear on conventional braking systems, potentially lowering maintenance costs and increasing the lifespan of transit vehicles. This aspect is particularly significant for high-frequency urban transit systems where frequent stops and starts are common.
As the technology continues to evolve, emerging objectives include integrating regenerative braking with smart grid systems to enable bidirectional energy flow between vehicles and the power grid. This vision of vehicle-to-grid (V2G) technology could transform public transit vehicles into mobile energy storage units, contributing to grid stability and further enhancing the sustainability of urban transportation networks.
Public Transit Market Demand Analysis
The public transit market has been experiencing significant growth and transformation in recent years, driven by urbanization, environmental concerns, and technological advancements. The demand for efficient, sustainable, and cost-effective public transportation solutions has been steadily increasing, creating a fertile ground for innovations such as regenerative braking technologies.
Urban populations worldwide continue to expand, with the United Nations projecting that 68% of the global population will live in urban areas by 2050. This urbanization trend has led to increased congestion and pollution in cities, prompting governments and transit authorities to seek more sustainable transportation options. As a result, the global public transit market is expected to grow substantially in the coming years.
Environmental concerns, particularly related to air quality and carbon emissions, have become a major driver for public transit innovations. Many cities and countries have set ambitious targets for reducing greenhouse gas emissions, with transportation being a key focus area. This has created a strong demand for cleaner and more energy-efficient public transit solutions, including those that incorporate regenerative braking technologies.
The economic benefits of improved public transit systems are also contributing to market demand. Efficient public transportation can reduce traffic congestion, improve productivity, and stimulate economic growth in urban areas. Studies have shown that investments in public transit can generate significant returns through increased property values, job creation, and reduced transportation costs for individuals and businesses.
Technological advancements have opened up new possibilities for enhancing public transit systems. The integration of smart technologies, electrification, and energy recovery systems like regenerative braking has the potential to revolutionize the efficiency and sustainability of public transportation. Transit authorities and operators are increasingly looking for innovative solutions that can improve energy efficiency, reduce operating costs, and enhance the overall passenger experience.
The COVID-19 pandemic has had a significant impact on public transit ridership and operations, but it has also accelerated certain trends in the market. There is now a greater emphasis on hygiene, contactless systems, and flexible transit options. As cities recover from the pandemic, there is an opportunity to rebuild public transit systems with a focus on sustainability and resilience, which aligns well with the benefits offered by regenerative braking technologies.
In conclusion, the public transit market is primed for innovations that can address the growing demand for sustainable, efficient, and cost-effective transportation solutions. Regenerative braking technologies have the potential to play a crucial role in meeting these market needs by improving energy efficiency, reducing operating costs, and contributing to environmental goals. As cities and transit authorities look to modernize their fleets and infrastructure, the demand for such innovative technologies is expected to grow significantly in the coming years.
Urban populations worldwide continue to expand, with the United Nations projecting that 68% of the global population will live in urban areas by 2050. This urbanization trend has led to increased congestion and pollution in cities, prompting governments and transit authorities to seek more sustainable transportation options. As a result, the global public transit market is expected to grow substantially in the coming years.
Environmental concerns, particularly related to air quality and carbon emissions, have become a major driver for public transit innovations. Many cities and countries have set ambitious targets for reducing greenhouse gas emissions, with transportation being a key focus area. This has created a strong demand for cleaner and more energy-efficient public transit solutions, including those that incorporate regenerative braking technologies.
The economic benefits of improved public transit systems are also contributing to market demand. Efficient public transportation can reduce traffic congestion, improve productivity, and stimulate economic growth in urban areas. Studies have shown that investments in public transit can generate significant returns through increased property values, job creation, and reduced transportation costs for individuals and businesses.
Technological advancements have opened up new possibilities for enhancing public transit systems. The integration of smart technologies, electrification, and energy recovery systems like regenerative braking has the potential to revolutionize the efficiency and sustainability of public transportation. Transit authorities and operators are increasingly looking for innovative solutions that can improve energy efficiency, reduce operating costs, and enhance the overall passenger experience.
The COVID-19 pandemic has had a significant impact on public transit ridership and operations, but it has also accelerated certain trends in the market. There is now a greater emphasis on hygiene, contactless systems, and flexible transit options. As cities recover from the pandemic, there is an opportunity to rebuild public transit systems with a focus on sustainability and resilience, which aligns well with the benefits offered by regenerative braking technologies.
In conclusion, the public transit market is primed for innovations that can address the growing demand for sustainable, efficient, and cost-effective transportation solutions. Regenerative braking technologies have the potential to play a crucial role in meeting these market needs by improving energy efficiency, reducing operating costs, and contributing to environmental goals. As cities and transit authorities look to modernize their fleets and infrastructure, the demand for such innovative technologies is expected to grow significantly in the coming years.
Current Challenges in Regenerative Braking
Regenerative braking technology, while promising significant energy savings and environmental benefits for public transit systems, faces several critical challenges that hinder its widespread adoption and optimal performance. One of the primary obstacles is the complexity of integrating regenerative braking systems with existing transit infrastructure. Many older vehicles and power systems were not designed with regenerative braking in mind, making retrofitting a costly and technically challenging process.
The efficiency of regenerative braking systems in public transit applications is another significant concern. While the technology has shown promise in controlled environments, real-world performance can be inconsistent due to various factors such as traffic conditions, route profiles, and driver behavior. The stop-and-go nature of urban transit routes, while theoretically ideal for energy recovery, can also lead to increased wear on components and potential reliability issues.
Energy storage remains a critical challenge for regenerative braking systems in public transit. The ability to capture, store, and efficiently utilize recovered energy is limited by current battery and supercapacitor technologies. The weight and space requirements of these storage systems can offset some of the efficiency gains, particularly in older vehicle designs not optimized for such additions.
The variability of energy recovery in different operational scenarios poses another challenge. Factors such as vehicle load, speed, and braking intensity all affect the amount of energy that can be recovered. This variability makes it difficult to predict and optimize energy savings across diverse transit routes and schedules, complicating fleet management and energy planning.
Maintenance and reliability concerns also present significant challenges. The introduction of regenerative braking systems adds complexity to vehicle maintenance procedures and requires specialized training for technicians. The long-term durability of these systems in the demanding environment of public transit operations is still being evaluated, with concerns about increased maintenance costs and potential downtime.
Cost-effectiveness remains a major hurdle for many transit agencies considering the adoption of regenerative braking technologies. The initial investment in equipment and infrastructure upgrades can be substantial, and the return on investment period can be lengthy. This financial barrier is particularly challenging for smaller transit agencies or those operating in regions with lower energy costs.
Lastly, the regulatory and standardization landscape for regenerative braking in public transit is still evolving. The lack of uniform standards and regulations across different jurisdictions can complicate the development and implementation of these systems, potentially slowing innovation and market adoption.
The efficiency of regenerative braking systems in public transit applications is another significant concern. While the technology has shown promise in controlled environments, real-world performance can be inconsistent due to various factors such as traffic conditions, route profiles, and driver behavior. The stop-and-go nature of urban transit routes, while theoretically ideal for energy recovery, can also lead to increased wear on components and potential reliability issues.
Energy storage remains a critical challenge for regenerative braking systems in public transit. The ability to capture, store, and efficiently utilize recovered energy is limited by current battery and supercapacitor technologies. The weight and space requirements of these storage systems can offset some of the efficiency gains, particularly in older vehicle designs not optimized for such additions.
The variability of energy recovery in different operational scenarios poses another challenge. Factors such as vehicle load, speed, and braking intensity all affect the amount of energy that can be recovered. This variability makes it difficult to predict and optimize energy savings across diverse transit routes and schedules, complicating fleet management and energy planning.
Maintenance and reliability concerns also present significant challenges. The introduction of regenerative braking systems adds complexity to vehicle maintenance procedures and requires specialized training for technicians. The long-term durability of these systems in the demanding environment of public transit operations is still being evaluated, with concerns about increased maintenance costs and potential downtime.
Cost-effectiveness remains a major hurdle for many transit agencies considering the adoption of regenerative braking technologies. The initial investment in equipment and infrastructure upgrades can be substantial, and the return on investment period can be lengthy. This financial barrier is particularly challenging for smaller transit agencies or those operating in regions with lower energy costs.
Lastly, the regulatory and standardization landscape for regenerative braking in public transit is still evolving. The lack of uniform standards and regulations across different jurisdictions can complicate the development and implementation of these systems, potentially slowing innovation and market adoption.
Existing Regenerative Braking Solutions
01 Energy recovery and efficiency improvement
Regenerative braking technologies capture and convert kinetic energy into electrical energy during deceleration, significantly improving overall vehicle efficiency. This recovered energy can be stored in batteries or capacitors for later use, reducing fuel consumption and emissions in conventional and hybrid vehicles.- Energy recovery and efficiency improvement: Regenerative braking technologies capture and convert kinetic energy into electrical energy during deceleration, improving overall vehicle efficiency. This recovered energy can be stored in batteries or capacitors for later use, reducing fuel consumption and emissions in conventional and hybrid vehicles.
- Braking system integration and control: Advanced control systems integrate regenerative braking with conventional friction braking, optimizing energy recovery while maintaining vehicle stability and safety. These systems adjust the balance between regenerative and friction braking based on various factors such as vehicle speed, road conditions, and driver input.
- Vehicle dynamics and handling: Regenerative braking technologies can impact vehicle dynamics and handling characteristics. Proper implementation ensures smooth transitions between regenerative and friction braking, maintaining consistent pedal feel and vehicle stability during deceleration. This technology can also be used to enhance traction control and stability systems.
- Application in electric and hybrid vehicles: Regenerative braking is particularly beneficial in electric and hybrid vehicles, extending their driving range and reducing the frequency of battery charging. The technology can be optimized for different vehicle types and driving conditions, maximizing energy recovery and overall efficiency.
- Environmental and economic impact: The widespread adoption of regenerative braking technologies contributes to reduced fuel consumption and lower greenhouse gas emissions in the transportation sector. This technology also leads to decreased wear on conventional brake components, potentially reducing maintenance costs and extending the lifespan of brake systems.
02 Brake system integration and control
Advanced control systems are developed to seamlessly integrate regenerative braking with conventional friction braking. These systems optimize brake force distribution, ensure smooth transitions between regenerative and friction braking, and enhance vehicle stability and safety during braking events.Expand Specific Solutions03 Impact on electric and hybrid vehicle range
Regenerative braking technologies significantly extend the driving range of electric and hybrid vehicles by recapturing energy that would otherwise be lost as heat. This technology allows for more efficient use of battery power and reduces the frequency of charging, making electric vehicles more practical for everyday use.Expand Specific Solutions04 Wear reduction and maintenance benefits
The use of regenerative braking reduces wear on conventional friction brake components, leading to extended brake life and reduced maintenance costs. This technology also contributes to decreased brake dust emissions, positively impacting environmental and health concerns in urban areas.Expand Specific Solutions05 Adaptation to various vehicle types
Regenerative braking technologies are being adapted for use in a wide range of vehicle types, including passenger cars, commercial vehicles, and even trains. This widespread application contributes to overall transportation efficiency and supports the global shift towards more sustainable mobility solutions.Expand Specific Solutions
Key Players in Transit Braking Systems
The regenerative braking technology market in public transit is in a growth phase, driven by increasing demand for energy-efficient and sustainable transportation solutions. The market size is expanding as more cities adopt electric and hybrid buses equipped with regenerative braking systems. While the technology is maturing, there is still room for innovation and improvement. Key players like Hyundai Motor, Cummins, and ZF Active Safety are investing heavily in R&D to enhance efficiency and performance. Established automotive giants such as Ford, Renault, and Peugeot are also entering this space, intensifying competition. Universities and research institutions are contributing to technological advancements, indicating a collaborative ecosystem for further development.
Ford Global Technologies LLC
Technical Solution: Ford has developed an advanced regenerative braking system for public transit vehicles, particularly focusing on electric and hybrid buses. Their technology utilizes a combination of electromagnetic and friction braking to maximize energy recovery. The system employs a sophisticated control algorithm that adapts to various driving conditions and passenger loads, optimizing the balance between regenerative and conventional braking[1]. Ford's system can recover up to 70% of the kinetic energy during braking, which is then stored in high-capacity batteries or ultracapacitors[3]. This recovered energy is used to power auxiliary systems or assist in acceleration, significantly reducing fuel consumption and emissions in urban transit operations.
Strengths: High energy recovery rate, adaptive control system, and integration with existing bus platforms. Weaknesses: Initial implementation costs and potential complexity in maintenance for transit authorities.
Toyota Motor Engineering & Manufacturing North America, Inc.
Technical Solution: Toyota has developed a cutting-edge regenerative braking system for public transit vehicles, with a focus on fuel cell and hybrid electric buses. Their technology utilizes a dual-mode regenerative braking system that combines electric motor braking with hydraulic pressure control for maximum energy recovery. Toyota's system incorporates an intelligent brake force distribution algorithm that optimizes regenerative braking based on vehicle speed, deceleration rate, and road conditions[5]. The recovered energy is stored in a high-capacity battery or used to power the fuel cell system, depending on the vehicle configuration. Toyota's regenerative braking technology can recover up to 60% of the kinetic energy during braking events, significantly improving the overall energy efficiency of public transit vehicles[6].
Strengths: High energy recovery rate, versatile application in different powertrain types, and intelligent brake force distribution. Weaknesses: Potential for increased system cost and complexity in maintenance for transit operators.
Core Innovations in Energy Recovery
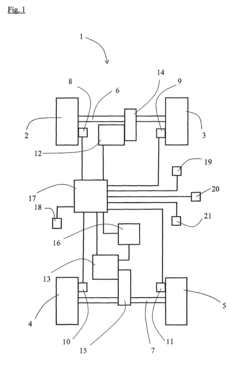
A method and device for regenerative braking in a vehicle
PatentActiveEP2172378A1
Innovation
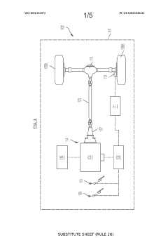
- A method and system that estimate the maximum braking force on the rear axle and determine vehicle instability, gradually shifting the braking force from the rear axle to the front axle based on the degree of instability, using a control unit to manage the electric motor and friction brakes, employing algorithms like Feed Forward, Extremum Seeking, and PID-regulator to optimize regenerative braking torque distribution.
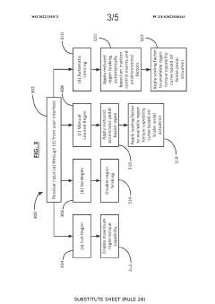
Method and system with selectable multimode control of regenerative braking torque limitation
PatentWO2022251072A1
Innovation
- A system with a user interface and controller that allows selectable modes for regenerative braking, including manually controlled and automatically controlled modes, enabling drivers to adjust regenerative torque capability based on user input, traction control events, and environmental factors, with the option to enable maximum or minimum regenerative braking, and incorporating machine learning for automatic adjustments.
Environmental Impact Assessment
The implementation of regenerative braking technologies in public transit systems has significant potential to reduce environmental impacts associated with urban transportation. This innovative approach to energy recovery during braking processes can lead to substantial reductions in energy consumption and greenhouse gas emissions.
Regenerative braking systems capture kinetic energy that would otherwise be lost as heat during conventional braking and convert it into electrical energy. This recovered energy can be stored in batteries or supercapacitors for later use, effectively reducing the overall energy demand of public transit vehicles. Studies have shown that regenerative braking can recover up to 30% of the energy used in urban transit operations, resulting in a proportional decrease in fuel consumption and associated emissions.
The environmental benefits of regenerative braking extend beyond direct energy savings. By reducing the reliance on fossil fuels, these systems contribute to improved air quality in urban areas. Particulate matter, nitrogen oxides, and other harmful pollutants associated with diesel-powered public transit vehicles can be significantly reduced. This improvement in air quality has cascading positive effects on public health, potentially lowering the incidence of respiratory diseases and other health issues related to air pollution.
Furthermore, the adoption of regenerative braking technologies can lead to a reduction in the carbon footprint of public transit systems. As cities worldwide strive to meet climate change mitigation targets, the implementation of such energy-efficient technologies becomes increasingly crucial. The reduced energy consumption translates directly into lower CO2 emissions, helping cities achieve their sustainability goals and comply with international climate agreements.
The environmental impact of regenerative braking also extends to noise pollution reduction. Traditional braking systems generate considerable noise, particularly in urban environments with frequent stops. Regenerative braking systems operate more quietly, contributing to a reduction in overall noise levels in city centers and residential areas served by public transit.
Additionally, the implementation of regenerative braking technologies can have positive impacts on the lifecycle of transit vehicles. By reducing wear on conventional braking systems, these technologies can extend the lifespan of brake components, leading to reduced maintenance requirements and less frequent replacement of parts. This, in turn, results in decreased resource consumption and waste generation associated with vehicle maintenance.
It is important to note that the full environmental benefits of regenerative braking technologies are realized when integrated with broader sustainable transit strategies. This includes the use of renewable energy sources to power electric transit vehicles, optimized route planning to maximize energy recovery opportunities, and the development of smart grid systems to efficiently utilize recovered energy.
Regenerative braking systems capture kinetic energy that would otherwise be lost as heat during conventional braking and convert it into electrical energy. This recovered energy can be stored in batteries or supercapacitors for later use, effectively reducing the overall energy demand of public transit vehicles. Studies have shown that regenerative braking can recover up to 30% of the energy used in urban transit operations, resulting in a proportional decrease in fuel consumption and associated emissions.
The environmental benefits of regenerative braking extend beyond direct energy savings. By reducing the reliance on fossil fuels, these systems contribute to improved air quality in urban areas. Particulate matter, nitrogen oxides, and other harmful pollutants associated with diesel-powered public transit vehicles can be significantly reduced. This improvement in air quality has cascading positive effects on public health, potentially lowering the incidence of respiratory diseases and other health issues related to air pollution.
Furthermore, the adoption of regenerative braking technologies can lead to a reduction in the carbon footprint of public transit systems. As cities worldwide strive to meet climate change mitigation targets, the implementation of such energy-efficient technologies becomes increasingly crucial. The reduced energy consumption translates directly into lower CO2 emissions, helping cities achieve their sustainability goals and comply with international climate agreements.
The environmental impact of regenerative braking also extends to noise pollution reduction. Traditional braking systems generate considerable noise, particularly in urban environments with frequent stops. Regenerative braking systems operate more quietly, contributing to a reduction in overall noise levels in city centers and residential areas served by public transit.
Additionally, the implementation of regenerative braking technologies can have positive impacts on the lifecycle of transit vehicles. By reducing wear on conventional braking systems, these technologies can extend the lifespan of brake components, leading to reduced maintenance requirements and less frequent replacement of parts. This, in turn, results in decreased resource consumption and waste generation associated with vehicle maintenance.
It is important to note that the full environmental benefits of regenerative braking technologies are realized when integrated with broader sustainable transit strategies. This includes the use of renewable energy sources to power electric transit vehicles, optimized route planning to maximize energy recovery opportunities, and the development of smart grid systems to efficiently utilize recovered energy.
Cost-Benefit Analysis for Transit Operators
The implementation of regenerative braking technologies in public transit systems presents a complex cost-benefit scenario for transit operators. Initial investment costs for retrofitting existing vehicles or purchasing new ones equipped with regenerative braking systems can be substantial. However, these upfront expenses are often offset by long-term operational savings and environmental benefits.
Energy recovery is a primary advantage of regenerative braking, leading to significant reductions in fuel consumption or electricity usage. Studies have shown that energy savings can range from 20% to 40% depending on the specific transit application and route characteristics. This translates to direct cost savings for operators, with the potential to recoup the initial investment within a few years of operation.
Maintenance costs are another crucial factor in the cost-benefit analysis. While regenerative braking systems introduce additional components that require maintenance, they also reduce wear on traditional friction braking systems. This results in extended brake life and decreased frequency of brake replacements, potentially leading to overall maintenance cost reductions.
The environmental impact of regenerative braking technologies contributes to the cost-benefit equation through indirect financial benefits. Reduced emissions and improved energy efficiency can help transit operators meet regulatory requirements and avoid potential fines or penalties associated with environmental non-compliance. Additionally, the adoption of green technologies can enhance the public image of transit agencies, potentially increasing ridership and associated revenue.
Operational efficiency improvements are another consideration. Regenerative braking can provide smoother deceleration and improved vehicle control, potentially reducing accidents and associated costs. This technology may also allow for optimized route planning and scheduling, further enhancing operational efficiency.
However, the cost-benefit analysis must also account for potential challenges. The complexity of regenerative braking systems may require specialized training for maintenance staff, incurring additional costs. Furthermore, the effectiveness of energy recovery can vary based on factors such as route topography and driving patterns, necessitating careful analysis of specific operational contexts.
In conclusion, while the initial investment in regenerative braking technologies can be significant, the long-term benefits in terms of energy savings, reduced maintenance costs, environmental compliance, and operational efficiency improvements often outweigh the upfront expenses for transit operators. A comprehensive cost-benefit analysis should consider both immediate financial impacts and long-term strategic advantages to fully assess the value proposition of implementing these innovative technologies in public transit systems.
Energy recovery is a primary advantage of regenerative braking, leading to significant reductions in fuel consumption or electricity usage. Studies have shown that energy savings can range from 20% to 40% depending on the specific transit application and route characteristics. This translates to direct cost savings for operators, with the potential to recoup the initial investment within a few years of operation.
Maintenance costs are another crucial factor in the cost-benefit analysis. While regenerative braking systems introduce additional components that require maintenance, they also reduce wear on traditional friction braking systems. This results in extended brake life and decreased frequency of brake replacements, potentially leading to overall maintenance cost reductions.
The environmental impact of regenerative braking technologies contributes to the cost-benefit equation through indirect financial benefits. Reduced emissions and improved energy efficiency can help transit operators meet regulatory requirements and avoid potential fines or penalties associated with environmental non-compliance. Additionally, the adoption of green technologies can enhance the public image of transit agencies, potentially increasing ridership and associated revenue.
Operational efficiency improvements are another consideration. Regenerative braking can provide smoother deceleration and improved vehicle control, potentially reducing accidents and associated costs. This technology may also allow for optimized route planning and scheduling, further enhancing operational efficiency.
However, the cost-benefit analysis must also account for potential challenges. The complexity of regenerative braking systems may require specialized training for maintenance staff, incurring additional costs. Furthermore, the effectiveness of energy recovery can vary based on factors such as route topography and driving patterns, necessitating careful analysis of specific operational contexts.
In conclusion, while the initial investment in regenerative braking technologies can be significant, the long-term benefits in terms of energy savings, reduced maintenance costs, environmental compliance, and operational efficiency improvements often outweigh the upfront expenses for transit operators. A comprehensive cost-benefit analysis should consider both immediate financial impacts and long-term strategic advantages to fully assess the value proposition of implementing these innovative technologies in public transit systems.
Unlock deeper insights with Patsnap Eureka Quick Research — get a full tech report to explore trends and direct your research. Try now!
Generate Your Research Report Instantly with AI Agent
Supercharge your innovation with Patsnap Eureka AI Agent Platform!