Quantum Computing's Role in Enhancing Decision Support Systems
JUL 17, 20259 MIN READ
Generate Your Research Report Instantly with AI Agent
Patsnap Eureka helps you evaluate technical feasibility & market potential.
Quantum Computing DSS Evolution and Objectives
Quantum computing has emerged as a revolutionary technology with the potential to transform various fields, including decision support systems (DSS). The evolution of quantum computing in DSS can be traced back to the early 2000s when researchers began exploring the theoretical applications of quantum algorithms in decision-making processes. Initially, the focus was on developing quantum algorithms that could outperform classical counterparts in specific computational tasks relevant to DSS.
As quantum hardware progressed, the field witnessed significant milestones. In 2011, D-Wave Systems introduced the first commercially available quantum annealer, marking a crucial step towards practical quantum computing for optimization problems in DSS. This development sparked interest in exploring quantum-enhanced optimization techniques for complex decision-making scenarios.
The subsequent years saw a rapid acceleration in quantum computing research and development. Major tech companies, including IBM, Google, and Microsoft, entered the quantum race, leading to breakthroughs in both hardware and software. These advancements paved the way for more sophisticated quantum algorithms applicable to DSS, such as quantum machine learning and quantum simulation techniques.
By 2019, Google's claim of achieving quantum supremacy further fueled interest in quantum computing's potential for DSS. This milestone demonstrated that quantum computers could solve certain problems exponentially faster than classical computers, opening new possibilities for handling complex decision-making tasks.
The current objectives of quantum computing in DSS are multifaceted. Primarily, researchers aim to develop quantum algorithms that can significantly enhance the speed and accuracy of decision-making processes, particularly in scenarios involving large-scale optimization, risk analysis, and predictive modeling. There is also a focus on creating hybrid quantum-classical systems that can leverage the strengths of both paradigms to improve DSS performance.
Another key objective is to address the scalability and error correction challenges in quantum systems, making them more reliable and practical for real-world DSS applications. Researchers are working on developing quantum error correction codes and fault-tolerant quantum computing architectures to achieve this goal.
Furthermore, there is a growing emphasis on exploring quantum-inspired algorithms that can run on classical hardware while incorporating principles from quantum computing. This approach aims to bridge the gap between current technological limitations and the potential of full-scale quantum computing in DSS.
As the field progresses, the ultimate objective is to integrate quantum computing seamlessly into existing DSS frameworks, enabling organizations to harness its power for more informed and efficient decision-making across various domains, including finance, healthcare, logistics, and environmental management.
As quantum hardware progressed, the field witnessed significant milestones. In 2011, D-Wave Systems introduced the first commercially available quantum annealer, marking a crucial step towards practical quantum computing for optimization problems in DSS. This development sparked interest in exploring quantum-enhanced optimization techniques for complex decision-making scenarios.
The subsequent years saw a rapid acceleration in quantum computing research and development. Major tech companies, including IBM, Google, and Microsoft, entered the quantum race, leading to breakthroughs in both hardware and software. These advancements paved the way for more sophisticated quantum algorithms applicable to DSS, such as quantum machine learning and quantum simulation techniques.
By 2019, Google's claim of achieving quantum supremacy further fueled interest in quantum computing's potential for DSS. This milestone demonstrated that quantum computers could solve certain problems exponentially faster than classical computers, opening new possibilities for handling complex decision-making tasks.
The current objectives of quantum computing in DSS are multifaceted. Primarily, researchers aim to develop quantum algorithms that can significantly enhance the speed and accuracy of decision-making processes, particularly in scenarios involving large-scale optimization, risk analysis, and predictive modeling. There is also a focus on creating hybrid quantum-classical systems that can leverage the strengths of both paradigms to improve DSS performance.
Another key objective is to address the scalability and error correction challenges in quantum systems, making them more reliable and practical for real-world DSS applications. Researchers are working on developing quantum error correction codes and fault-tolerant quantum computing architectures to achieve this goal.
Furthermore, there is a growing emphasis on exploring quantum-inspired algorithms that can run on classical hardware while incorporating principles from quantum computing. This approach aims to bridge the gap between current technological limitations and the potential of full-scale quantum computing in DSS.
As the field progresses, the ultimate objective is to integrate quantum computing seamlessly into existing DSS frameworks, enabling organizations to harness its power for more informed and efficient decision-making across various domains, including finance, healthcare, logistics, and environmental management.
Market Demand for Quantum-Enhanced DSS
The market demand for quantum-enhanced Decision Support Systems (DSS) is experiencing a significant surge as organizations across various sectors recognize the potential of quantum computing to revolutionize data analysis and decision-making processes. This growing interest is driven by the increasing complexity of business environments and the need for more sophisticated tools to handle vast amounts of data and intricate problem-solving scenarios.
In the financial sector, quantum-enhanced DSS are particularly sought after for portfolio optimization, risk assessment, and fraud detection. Major banks and investment firms are investing heavily in quantum technologies to gain a competitive edge in high-frequency trading and complex financial modeling. The ability of quantum computers to process multiple scenarios simultaneously offers a substantial advantage in predicting market trends and optimizing investment strategies.
The healthcare industry is another key driver of market demand for quantum-enhanced DSS. With the exponential growth of genomic data and the need for personalized medicine, quantum computing offers unprecedented capabilities in drug discovery, protein folding simulations, and patient data analysis. Healthcare providers and pharmaceutical companies are exploring quantum-enhanced systems to accelerate research and improve patient outcomes.
In the logistics and supply chain management sector, the demand for quantum-enhanced DSS is growing rapidly. Companies are looking to optimize complex routing problems, inventory management, and demand forecasting. The ability of quantum algorithms to solve combinatorial optimization problems more efficiently than classical computers makes them particularly attractive for these applications.
The energy sector is also showing increased interest in quantum-enhanced DSS for grid optimization, weather forecasting, and renewable energy integration. As the world moves towards more sustainable energy solutions, the complexity of managing distributed energy resources and predicting energy demand patterns requires more advanced computational capabilities.
Government and defense organizations are another significant market for quantum-enhanced DSS. These systems are being explored for cryptography, cybersecurity, and complex simulation scenarios. The potential of quantum computing in breaking current encryption methods and developing new, quantum-resistant cryptographic systems is driving substantial investment in this area.
Despite the growing demand, the market for quantum-enhanced DSS is still in its early stages. Many organizations are in the exploratory phase, conducting pilot projects and proof-of-concept studies. The high cost of quantum hardware and the scarcity of quantum computing expertise are current limiting factors. However, as quantum technologies continue to advance and become more accessible, the market is expected to expand rapidly in the coming years.
In the financial sector, quantum-enhanced DSS are particularly sought after for portfolio optimization, risk assessment, and fraud detection. Major banks and investment firms are investing heavily in quantum technologies to gain a competitive edge in high-frequency trading and complex financial modeling. The ability of quantum computers to process multiple scenarios simultaneously offers a substantial advantage in predicting market trends and optimizing investment strategies.
The healthcare industry is another key driver of market demand for quantum-enhanced DSS. With the exponential growth of genomic data and the need for personalized medicine, quantum computing offers unprecedented capabilities in drug discovery, protein folding simulations, and patient data analysis. Healthcare providers and pharmaceutical companies are exploring quantum-enhanced systems to accelerate research and improve patient outcomes.
In the logistics and supply chain management sector, the demand for quantum-enhanced DSS is growing rapidly. Companies are looking to optimize complex routing problems, inventory management, and demand forecasting. The ability of quantum algorithms to solve combinatorial optimization problems more efficiently than classical computers makes them particularly attractive for these applications.
The energy sector is also showing increased interest in quantum-enhanced DSS for grid optimization, weather forecasting, and renewable energy integration. As the world moves towards more sustainable energy solutions, the complexity of managing distributed energy resources and predicting energy demand patterns requires more advanced computational capabilities.
Government and defense organizations are another significant market for quantum-enhanced DSS. These systems are being explored for cryptography, cybersecurity, and complex simulation scenarios. The potential of quantum computing in breaking current encryption methods and developing new, quantum-resistant cryptographic systems is driving substantial investment in this area.
Despite the growing demand, the market for quantum-enhanced DSS is still in its early stages. Many organizations are in the exploratory phase, conducting pilot projects and proof-of-concept studies. The high cost of quantum hardware and the scarcity of quantum computing expertise are current limiting factors. However, as quantum technologies continue to advance and become more accessible, the market is expected to expand rapidly in the coming years.
Quantum Computing DSS Challenges
While quantum computing holds immense potential for enhancing decision support systems (DSS), several significant challenges must be addressed before its widespread adoption in this domain. One of the primary obstacles is the current limitation in quantum hardware. Existing quantum computers are still in their infancy, with limited qubit counts and high error rates. This restricts the complexity and scale of problems that can be effectively solved using quantum algorithms in DSS applications.
Another major challenge lies in the development of quantum algorithms specifically tailored for decision support tasks. While quantum algorithms have shown promise in certain areas, such as optimization and machine learning, their application to the diverse range of problems encountered in DSS is still limited. Researchers and developers face the daunting task of identifying which DSS problems are most suitable for quantum acceleration and designing efficient quantum algorithms to address them.
The integration of quantum computing with classical DSS infrastructure presents another hurdle. Most existing DSS are built on classical computing architectures, and seamlessly incorporating quantum components into these systems requires significant re-engineering. This includes developing hybrid quantum-classical algorithms, creating interfaces between quantum and classical hardware, and optimizing data flow between the two paradigms.
Data preparation and encoding for quantum systems pose additional challenges. Quantum computers operate on quantum states, which require careful encoding of classical data. Developing efficient methods for preparing large datasets for quantum processing and interpreting the results back into classical formats is crucial for practical DSS applications.
The lack of standardization in quantum computing hardware and software platforms further complicates the development of quantum-enhanced DSS. Different quantum computing approaches, such as superconducting qubits, trapped ions, and photonic systems, each have their own strengths and limitations. This diversity makes it challenging to develop universal quantum DSS solutions that can run across multiple platforms.
Error correction and fault tolerance remain critical issues in quantum computing. The fragile nature of quantum states makes them susceptible to environmental noise and decoherence. While error correction techniques exist, implementing them at scale for complex DSS applications is still a significant challenge. This impacts the reliability and accuracy of quantum-enhanced decision support systems, particularly for mission-critical applications.
Lastly, the shortage of skilled professionals with expertise in both quantum computing and decision support systems is a significant bottleneck. Developing a workforce capable of designing, implementing, and maintaining quantum-enhanced DSS requires extensive training and education programs, which are currently limited in availability and scope.
Another major challenge lies in the development of quantum algorithms specifically tailored for decision support tasks. While quantum algorithms have shown promise in certain areas, such as optimization and machine learning, their application to the diverse range of problems encountered in DSS is still limited. Researchers and developers face the daunting task of identifying which DSS problems are most suitable for quantum acceleration and designing efficient quantum algorithms to address them.
The integration of quantum computing with classical DSS infrastructure presents another hurdle. Most existing DSS are built on classical computing architectures, and seamlessly incorporating quantum components into these systems requires significant re-engineering. This includes developing hybrid quantum-classical algorithms, creating interfaces between quantum and classical hardware, and optimizing data flow between the two paradigms.
Data preparation and encoding for quantum systems pose additional challenges. Quantum computers operate on quantum states, which require careful encoding of classical data. Developing efficient methods for preparing large datasets for quantum processing and interpreting the results back into classical formats is crucial for practical DSS applications.
The lack of standardization in quantum computing hardware and software platforms further complicates the development of quantum-enhanced DSS. Different quantum computing approaches, such as superconducting qubits, trapped ions, and photonic systems, each have their own strengths and limitations. This diversity makes it challenging to develop universal quantum DSS solutions that can run across multiple platforms.
Error correction and fault tolerance remain critical issues in quantum computing. The fragile nature of quantum states makes them susceptible to environmental noise and decoherence. While error correction techniques exist, implementing them at scale for complex DSS applications is still a significant challenge. This impacts the reliability and accuracy of quantum-enhanced decision support systems, particularly for mission-critical applications.
Lastly, the shortage of skilled professionals with expertise in both quantum computing and decision support systems is a significant bottleneck. Developing a workforce capable of designing, implementing, and maintaining quantum-enhanced DSS requires extensive training and education programs, which are currently limited in availability and scope.
Current Quantum DSS Implementations
01 Quantum-enhanced decision support algorithms
Quantum computing techniques are applied to enhance decision support algorithms, improving their speed and accuracy. These algorithms leverage quantum superposition and entanglement to process complex data sets and provide more efficient solutions for decision-making processes in various fields.- Quantum-enhanced decision support systems: Quantum computing is applied to enhance decision support systems, leveraging quantum algorithms to process complex data and provide more accurate and faster insights. These systems can handle large-scale optimization problems and scenario analyses, offering superior performance compared to classical computing methods in decision-making processes.
- Quantum machine learning for decision support: Quantum machine learning techniques are integrated into decision support systems to improve pattern recognition, classification, and prediction capabilities. These quantum-powered machine learning models can process high-dimensional data more efficiently, leading to more accurate and robust decision recommendations in complex environments.
- Quantum-assisted risk analysis and management: Quantum computing is utilized to enhance risk analysis and management in decision support systems. By leveraging quantum algorithms, these systems can perform more comprehensive simulations, assess multiple risk factors simultaneously, and provide more accurate risk assessments, enabling better-informed decision-making in uncertain scenarios.
- Quantum-secure decision support systems: Quantum-resistant cryptography and security measures are implemented in decision support systems to protect sensitive data and decision-making processes from potential quantum computing threats. These systems ensure the confidentiality and integrity of critical information in the quantum era, maintaining trust in the decision support infrastructure.
- Hybrid quantum-classical decision support architectures: Hybrid architectures combining quantum and classical computing elements are developed for decision support systems. These systems leverage the strengths of both quantum and classical computing paradigms, optimizing performance and resource allocation for different types of decision-making tasks and enabling seamless integration with existing classical infrastructure.
02 Quantum-classical hybrid systems for decision support
Hybrid systems combining quantum and classical computing elements are developed to optimize decision support processes. These systems utilize the strengths of both quantum and classical computing to handle different aspects of decision-making tasks, resulting in more robust and versatile decision support systems.Expand Specific Solutions03 Quantum machine learning for decision support
Quantum machine learning algorithms are integrated into decision support systems to enhance their predictive capabilities and pattern recognition abilities. These quantum-enhanced machine learning techniques can process larger datasets and identify complex relationships more efficiently than classical approaches.Expand Specific Solutions04 Quantum-inspired optimization for decision-making
Quantum-inspired optimization techniques are developed to improve decision-making processes in various domains. These methods draw inspiration from quantum principles to create novel optimization algorithms that can efficiently solve complex decision problems and provide better solutions than traditional approaches.Expand Specific Solutions05 Quantum-secure decision support systems
Quantum-resistant cryptographic techniques are incorporated into decision support systems to ensure data security and privacy in the era of quantum computing. These systems are designed to protect sensitive information and maintain the integrity of decision-making processes against potential quantum-based attacks.Expand Specific Solutions
Key Players in Quantum DSS Development
The quantum computing landscape for enhancing decision support systems is in an early growth stage, with significant potential for market expansion. While the technology is still maturing, major players like Google, IBM, and Amazon are investing heavily in quantum research and development. The market size is projected to grow rapidly as quantum computing becomes more accessible and practical for business applications. Companies like Origin Quantum and Quantinuum are focusing on developing quantum hardware and software solutions, while established tech giants are integrating quantum capabilities into their existing cloud and AI offerings. The competition is intensifying as both startups and large corporations race to achieve quantum advantage in real-world decision support applications.
Google LLC
Technical Solution: Google's approach to quantum computing in decision support systems focuses on developing quantum algorithms and hardware that can significantly enhance computational capabilities. Their Sycamore processor demonstrated quantum supremacy by performing a specific task in 200 seconds that would take a classical supercomputer 10,000 years[1]. For decision support, Google is exploring quantum machine learning algorithms that could revolutionize data analysis and prediction models. They are also working on quantum-inspired algorithms that can run on classical hardware, providing a bridge between current systems and future quantum technologies[2]. Google's quantum neural networks show promise in processing complex datasets more efficiently than classical neural networks, potentially leading to more accurate and faster decision-making tools[3].
Strengths: Advanced quantum hardware, strong research team, and integration with existing cloud infrastructure. Weaknesses: Still in early stages of practical application for decision support systems, and facing competition from other tech giants.
International Business Machines Corp.
Technical Solution: IBM's quantum computing strategy for decision support systems leverages their IBM Q Experience platform and Qiskit development framework. They are focusing on creating quantum algorithms that can solve complex optimization problems crucial for decision-making in various industries. IBM's quantum volume metric, which reached 64 in 2020, demonstrates their progress in building high-quality quantum systems[4]. For decision support, IBM is developing quantum-enhanced machine learning models that can process high-dimensional data more efficiently than classical computers. Their quantum risk analysis algorithms show potential in financial modeling and portfolio optimization, offering faster and more accurate risk assessments[5]. IBM is also exploring quantum-inspired algorithms for supply chain optimization and logistics planning, which could significantly improve decision-making in these areas[6].
Strengths: Extensive experience in enterprise solutions, wide range of quantum applications, and strong partnerships with industry leaders. Weaknesses: Quantum hardware still needs scaling up for practical business applications, and there's a learning curve for traditional decision support system users.
Quantum Algorithms for Decision Support
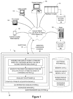
Cognitive Computer Assisted Attribute Acquisition Through Iterative Disclosure
PatentActiveUS20200151186A1
Innovation
- The implementation of an iterative attribute acquisition system using natural language processing and machine learning to identify and rank query attributes, which iteratively guides user submissions to reduce uncertainty in treatment recommendations by computing confidence volume metrics and prioritizing additional query attributes.
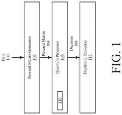
Object Detection Device Incorporating Quantum Computing and Game Theoretic Optimization and Related methods
PatentPendingUS20240355089A1
Innovation
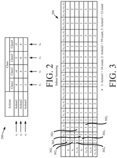
- A quantum computing system employing a variational autoencoder and a quantum computing circuit for quantum subset summing, which generates a game theory reward matrix, selects a deep learning model, and processes image data for object detection, utilizing quantum adder and comparator circuits to perform subset summing operations.
Quantum DSS Integration Strategies
The integration of quantum computing into Decision Support Systems (DSS) requires a strategic approach to harness the full potential of this revolutionary technology. One key strategy involves the development of hybrid quantum-classical architectures. These systems leverage the strengths of both quantum and classical computing paradigms, allowing for seamless integration of quantum algorithms into existing DSS frameworks.
Quantum-enhanced optimization algorithms form another crucial integration strategy. By utilizing quantum annealing or quantum approximate optimization algorithms, DSS can tackle complex optimization problems with unprecedented efficiency. This approach is particularly beneficial for supply chain management, financial portfolio optimization, and resource allocation scenarios.
Data preprocessing and feature selection strategies tailored for quantum systems are essential for effective integration. Quantum-inspired classical algorithms can be employed to prepare data for quantum processing, ensuring that the quantum advantage is maximized. This includes techniques such as quantum-inspired dimensionality reduction and quantum feature maps.
Quantum machine learning algorithms represent a promising avenue for enhancing DSS capabilities. Strategies such as quantum support vector machines, quantum neural networks, and quantum clustering algorithms can be integrated into DSS to improve pattern recognition, classification, and predictive modeling tasks.
Error mitigation and noise reduction strategies are critical for near-term quantum DSS integration. Implementing error correction codes, quantum error mitigation techniques, and noise-aware algorithm design can significantly improve the reliability and accuracy of quantum-enhanced decision support systems.
Quantum-classical interfacing strategies are necessary to ensure smooth communication between quantum processors and classical DSS components. This includes developing efficient quantum-classical data encoding schemes and optimizing the flow of information between quantum and classical subsystems.
Cloud-based quantum computing services offer a practical strategy for organizations to integrate quantum capabilities into their DSS without significant hardware investments. By leveraging quantum-as-a-service platforms, businesses can access quantum resources on-demand and scale their quantum DSS solutions as needed.
Lastly, developing quantum-ready software frameworks and APIs is crucial for seamless integration. These tools should provide abstraction layers that allow DSS developers to incorporate quantum algorithms without deep expertise in quantum physics, facilitating wider adoption and integration of quantum technologies in decision support systems.
Quantum-enhanced optimization algorithms form another crucial integration strategy. By utilizing quantum annealing or quantum approximate optimization algorithms, DSS can tackle complex optimization problems with unprecedented efficiency. This approach is particularly beneficial for supply chain management, financial portfolio optimization, and resource allocation scenarios.
Data preprocessing and feature selection strategies tailored for quantum systems are essential for effective integration. Quantum-inspired classical algorithms can be employed to prepare data for quantum processing, ensuring that the quantum advantage is maximized. This includes techniques such as quantum-inspired dimensionality reduction and quantum feature maps.
Quantum machine learning algorithms represent a promising avenue for enhancing DSS capabilities. Strategies such as quantum support vector machines, quantum neural networks, and quantum clustering algorithms can be integrated into DSS to improve pattern recognition, classification, and predictive modeling tasks.
Error mitigation and noise reduction strategies are critical for near-term quantum DSS integration. Implementing error correction codes, quantum error mitigation techniques, and noise-aware algorithm design can significantly improve the reliability and accuracy of quantum-enhanced decision support systems.
Quantum-classical interfacing strategies are necessary to ensure smooth communication between quantum processors and classical DSS components. This includes developing efficient quantum-classical data encoding schemes and optimizing the flow of information between quantum and classical subsystems.
Cloud-based quantum computing services offer a practical strategy for organizations to integrate quantum capabilities into their DSS without significant hardware investments. By leveraging quantum-as-a-service platforms, businesses can access quantum resources on-demand and scale their quantum DSS solutions as needed.
Lastly, developing quantum-ready software frameworks and APIs is crucial for seamless integration. These tools should provide abstraction layers that allow DSS developers to incorporate quantum algorithms without deep expertise in quantum physics, facilitating wider adoption and integration of quantum technologies in decision support systems.
Quantum DSS Security Considerations
As quantum computing technology advances, the integration of quantum capabilities into Decision Support Systems (DSS) introduces new security considerations that must be carefully addressed. The inherent properties of quantum systems, such as superposition and entanglement, while offering unprecedented computational power, also present unique challenges in maintaining the confidentiality, integrity, and availability of data and processes within quantum-enhanced DSS.
One primary security concern is the potential vulnerability of current encryption methods to quantum attacks. Many widely-used cryptographic algorithms, particularly those based on factorization and discrete logarithm problems, may become obsolete in the face of quantum computing. This necessitates the development and implementation of quantum-resistant cryptographic protocols to safeguard sensitive data and communications within quantum DSS environments.
Another critical aspect is the protection of quantum states and operations from decoherence and external interference. Quantum systems are highly sensitive to environmental factors, and maintaining quantum coherence is crucial for the accurate functioning of quantum DSS. Implementing robust error correction mechanisms and developing quantum-safe hardware architectures are essential steps in ensuring the reliability and security of quantum DSS operations.
The issue of quantum key distribution (QKD) emerges as both a solution and a potential vulnerability. While QKD offers theoretically unbreakable encryption, its practical implementation faces challenges such as limited range and susceptibility to side-channel attacks. Ensuring the secure integration of QKD within quantum DSS infrastructures requires careful consideration of these limitations and the development of countermeasures.
Data privacy in quantum DSS also raises new concerns. The ability of quantum algorithms to process vast amounts of data simultaneously could potentially lead to unintended information leakage or privacy breaches. Developing quantum-specific data anonymization techniques and privacy-preserving quantum algorithms is crucial to maintain user trust and comply with data protection regulations.
The concept of quantum-safe access control mechanisms is another area requiring attention. Traditional authentication methods may not suffice in a quantum computing environment. Exploring quantum-based authentication protocols, such as those leveraging quantum fingerprinting or quantum digital signatures, could provide enhanced security for user access and system integrity in quantum DSS.
Lastly, the challenge of quantum software verification and validation cannot be overlooked. Ensuring the correctness and security of quantum algorithms and their classical interfaces is a complex task that demands new methodologies and tools. Developing robust testing frameworks and formal verification techniques for quantum software is essential to guarantee the reliability and trustworthiness of quantum-enhanced decision support systems.
One primary security concern is the potential vulnerability of current encryption methods to quantum attacks. Many widely-used cryptographic algorithms, particularly those based on factorization and discrete logarithm problems, may become obsolete in the face of quantum computing. This necessitates the development and implementation of quantum-resistant cryptographic protocols to safeguard sensitive data and communications within quantum DSS environments.
Another critical aspect is the protection of quantum states and operations from decoherence and external interference. Quantum systems are highly sensitive to environmental factors, and maintaining quantum coherence is crucial for the accurate functioning of quantum DSS. Implementing robust error correction mechanisms and developing quantum-safe hardware architectures are essential steps in ensuring the reliability and security of quantum DSS operations.
The issue of quantum key distribution (QKD) emerges as both a solution and a potential vulnerability. While QKD offers theoretically unbreakable encryption, its practical implementation faces challenges such as limited range and susceptibility to side-channel attacks. Ensuring the secure integration of QKD within quantum DSS infrastructures requires careful consideration of these limitations and the development of countermeasures.
Data privacy in quantum DSS also raises new concerns. The ability of quantum algorithms to process vast amounts of data simultaneously could potentially lead to unintended information leakage or privacy breaches. Developing quantum-specific data anonymization techniques and privacy-preserving quantum algorithms is crucial to maintain user trust and comply with data protection regulations.
The concept of quantum-safe access control mechanisms is another area requiring attention. Traditional authentication methods may not suffice in a quantum computing environment. Exploring quantum-based authentication protocols, such as those leveraging quantum fingerprinting or quantum digital signatures, could provide enhanced security for user access and system integrity in quantum DSS.
Lastly, the challenge of quantum software verification and validation cannot be overlooked. Ensuring the correctness and security of quantum algorithms and their classical interfaces is a complex task that demands new methodologies and tools. Developing robust testing frameworks and formal verification techniques for quantum software is essential to guarantee the reliability and trustworthiness of quantum-enhanced decision support systems.
Unlock deeper insights with Patsnap Eureka Quick Research — get a full tech report to explore trends and direct your research. Try now!
Generate Your Research Report Instantly with AI Agent
Supercharge your innovation with Patsnap Eureka AI Agent Platform!







