How Throttle Body Design Improves Drone Performance
JUL 18, 20259 MIN READ
Generate Your Research Report Instantly with AI Agent
PatSnap Eureka helps you evaluate technical feasibility & market potential.
Throttle Body Evolution
The evolution of throttle body design in drones has been a critical factor in improving their overall performance. Initially, drones utilized simple carburetor systems for fuel delivery, which were prone to inefficiencies and inconsistencies in air-fuel mixture. As drone technology advanced, electronic fuel injection systems with basic throttle bodies were introduced, marking a significant leap in precision and control.
The next major milestone came with the development of fly-by-wire systems, which replaced mechanical linkages with electronic controls. This innovation allowed for more precise throttle management and opened the door for advanced throttle body designs. Manufacturers began experimenting with variable geometry throttle bodies, capable of adjusting their shape and airflow characteristics in real-time to optimize performance across different flight conditions.
As materials science progressed, lightweight yet durable materials such as carbon fiber and advanced polymers were incorporated into throttle body construction. This reduction in weight contributed to improved drone agility and extended flight times. Concurrently, the integration of sensors and microprocessors within the throttle body itself enabled real-time monitoring and adjustment of airflow, further enhancing efficiency and responsiveness.
Recent years have seen the emergence of 3D-printed throttle bodies, allowing for complex internal geometries that were previously impossible to manufacture. These designs can include intricate flow channels and variable cross-sections that optimize airflow dynamics, resulting in improved fuel efficiency and power output. Additionally, the ability to rapidly prototype and iterate designs has accelerated the pace of innovation in this field.
The latest advancements in throttle body technology for drones include the incorporation of active aerodynamic elements. These systems use small, movable vanes or flaps within the throttle body that can dynamically alter the airflow characteristics based on flight conditions. This adaptability ensures optimal performance across a wide range of speeds and altitudes, significantly enhancing the drone's versatility and efficiency.
Looking towards the future, research is being conducted on smart materials that can change their physical properties in response to electrical or thermal stimuli. These materials could potentially be used to create throttle bodies that autonomously adjust their shape and flow characteristics without the need for additional mechanical components, further reducing weight and complexity while improving responsiveness and efficiency.
The next major milestone came with the development of fly-by-wire systems, which replaced mechanical linkages with electronic controls. This innovation allowed for more precise throttle management and opened the door for advanced throttle body designs. Manufacturers began experimenting with variable geometry throttle bodies, capable of adjusting their shape and airflow characteristics in real-time to optimize performance across different flight conditions.
As materials science progressed, lightweight yet durable materials such as carbon fiber and advanced polymers were incorporated into throttle body construction. This reduction in weight contributed to improved drone agility and extended flight times. Concurrently, the integration of sensors and microprocessors within the throttle body itself enabled real-time monitoring and adjustment of airflow, further enhancing efficiency and responsiveness.
Recent years have seen the emergence of 3D-printed throttle bodies, allowing for complex internal geometries that were previously impossible to manufacture. These designs can include intricate flow channels and variable cross-sections that optimize airflow dynamics, resulting in improved fuel efficiency and power output. Additionally, the ability to rapidly prototype and iterate designs has accelerated the pace of innovation in this field.
The latest advancements in throttle body technology for drones include the incorporation of active aerodynamic elements. These systems use small, movable vanes or flaps within the throttle body that can dynamically alter the airflow characteristics based on flight conditions. This adaptability ensures optimal performance across a wide range of speeds and altitudes, significantly enhancing the drone's versatility and efficiency.
Looking towards the future, research is being conducted on smart materials that can change their physical properties in response to electrical or thermal stimuli. These materials could potentially be used to create throttle bodies that autonomously adjust their shape and flow characteristics without the need for additional mechanical components, further reducing weight and complexity while improving responsiveness and efficiency.
Drone Market Analysis
The drone market has experienced significant growth in recent years, driven by technological advancements and expanding applications across various industries. The global drone market size was valued at $26.3 billion in 2021 and is projected to reach $55.8 billion by 2030, growing at a CAGR of 9.4% during the forecast period. This robust growth is attributed to the increasing adoption of drones in commercial, military, and consumer sectors.
In the commercial sector, drones are finding applications in agriculture, construction, real estate, and delivery services. The agriculture drone market, in particular, is expected to grow rapidly, with a projected CAGR of 35.9% from 2022 to 2030. This growth is driven by the need for precision agriculture and crop monitoring. The construction industry is also embracing drone technology for site surveying and progress monitoring, with the construction drone market expected to reach $11.96 billion by 2027.
The military drone market continues to be a significant contributor to overall market growth, with increasing investments in unmanned aerial vehicles (UAVs) for reconnaissance, surveillance, and combat operations. The military drone market is expected to reach $26.12 billion by 2028, growing at a CAGR of 12.4% from 2021 to 2028.
Consumer drones, primarily used for photography, videography, and recreational purposes, represent a substantial portion of the market. The consumer drone market is projected to reach $4.5 billion by 2025, growing at a CAGR of 14.3% from 2020 to 2025. This growth is fueled by the increasing popularity of aerial photography and the development of more affordable and user-friendly drone models.
Geographically, North America dominates the drone market, accounting for approximately 40% of the global market share. However, the Asia-Pacific region is expected to witness the fastest growth, with countries like China, Japan, and India investing heavily in drone technology and applications.
The drone market is characterized by intense competition among key players such as DJI, Parrot, 3D Robotics, and Intel Corporation. These companies are continuously innovating to improve drone performance, including advancements in throttle body design to enhance flight efficiency and control. As the market matures, we can expect to see further consolidation and strategic partnerships among industry players.
In the commercial sector, drones are finding applications in agriculture, construction, real estate, and delivery services. The agriculture drone market, in particular, is expected to grow rapidly, with a projected CAGR of 35.9% from 2022 to 2030. This growth is driven by the need for precision agriculture and crop monitoring. The construction industry is also embracing drone technology for site surveying and progress monitoring, with the construction drone market expected to reach $11.96 billion by 2027.
The military drone market continues to be a significant contributor to overall market growth, with increasing investments in unmanned aerial vehicles (UAVs) for reconnaissance, surveillance, and combat operations. The military drone market is expected to reach $26.12 billion by 2028, growing at a CAGR of 12.4% from 2021 to 2028.
Consumer drones, primarily used for photography, videography, and recreational purposes, represent a substantial portion of the market. The consumer drone market is projected to reach $4.5 billion by 2025, growing at a CAGR of 14.3% from 2020 to 2025. This growth is fueled by the increasing popularity of aerial photography and the development of more affordable and user-friendly drone models.
Geographically, North America dominates the drone market, accounting for approximately 40% of the global market share. However, the Asia-Pacific region is expected to witness the fastest growth, with countries like China, Japan, and India investing heavily in drone technology and applications.
The drone market is characterized by intense competition among key players such as DJI, Parrot, 3D Robotics, and Intel Corporation. These companies are continuously innovating to improve drone performance, including advancements in throttle body design to enhance flight efficiency and control. As the market matures, we can expect to see further consolidation and strategic partnerships among industry players.
Throttle Body Challenges
The design of throttle bodies for drones presents several significant challenges that impact overall performance and efficiency. One primary issue is achieving precise airflow control in a compact form factor. Drones require lightweight components, but miniaturizing throttle bodies while maintaining optimal airflow characteristics is technically demanding. Engineers must balance size constraints with the need for smooth, consistent air delivery to the engine.
Another challenge lies in managing throttle response and sensitivity. Drones often require rapid acceleration and deceleration capabilities, necessitating throttle bodies that can quickly and accurately adjust airflow. However, overly sensitive throttle response can lead to control difficulties and instability in flight. Designers must carefully calibrate throttle body mechanics to provide responsive yet stable performance across various flight conditions.
Environmental factors pose additional hurdles for throttle body design. Drones operate in diverse atmospheric conditions, from high altitudes to dusty environments. Throttle bodies must maintain consistent performance and reliability despite temperature fluctuations, pressure changes, and potential contamination from airborne particles. This requires robust materials and sealing mechanisms to protect internal components while ensuring smooth operation.
Power efficiency is a critical consideration in drone throttle body design. Every gram of weight and watt of power consumption directly impacts flight time and payload capacity. Engineers strive to minimize internal friction and optimize airflow paths to reduce energy losses. However, achieving high efficiency often conflicts with other design goals, such as compact size and manufacturing cost-effectiveness.
Manufacturing precision presents another significant challenge. Throttle bodies require tight tolerances and smooth internal surfaces to maintain consistent airflow characteristics. Achieving this level of precision in mass production, especially for smaller drone models, can be technically challenging and cost-prohibitive. Designers must balance performance requirements with manufacturability to ensure viable production at scale.
Integration with electronic control systems adds complexity to throttle body design. Modern drones rely on sophisticated flight controllers and engine management systems. Throttle bodies must interface seamlessly with these electronic components, providing accurate feedback and responding precisely to control inputs. This necessitates the incorporation of sensors and actuators within the throttle body assembly, further complicating the design and potentially increasing failure points.
Lastly, regulatory compliance and standardization pose ongoing challenges for throttle body designers. As drone technology evolves, so do the regulations governing their performance and safety. Throttle body designs must adapt to meet changing standards while maintaining compatibility with existing drone platforms. This requires a flexible approach to design and a keen awareness of regulatory trends in the rapidly evolving drone industry.
Another challenge lies in managing throttle response and sensitivity. Drones often require rapid acceleration and deceleration capabilities, necessitating throttle bodies that can quickly and accurately adjust airflow. However, overly sensitive throttle response can lead to control difficulties and instability in flight. Designers must carefully calibrate throttle body mechanics to provide responsive yet stable performance across various flight conditions.
Environmental factors pose additional hurdles for throttle body design. Drones operate in diverse atmospheric conditions, from high altitudes to dusty environments. Throttle bodies must maintain consistent performance and reliability despite temperature fluctuations, pressure changes, and potential contamination from airborne particles. This requires robust materials and sealing mechanisms to protect internal components while ensuring smooth operation.
Power efficiency is a critical consideration in drone throttle body design. Every gram of weight and watt of power consumption directly impacts flight time and payload capacity. Engineers strive to minimize internal friction and optimize airflow paths to reduce energy losses. However, achieving high efficiency often conflicts with other design goals, such as compact size and manufacturing cost-effectiveness.
Manufacturing precision presents another significant challenge. Throttle bodies require tight tolerances and smooth internal surfaces to maintain consistent airflow characteristics. Achieving this level of precision in mass production, especially for smaller drone models, can be technically challenging and cost-prohibitive. Designers must balance performance requirements with manufacturability to ensure viable production at scale.
Integration with electronic control systems adds complexity to throttle body design. Modern drones rely on sophisticated flight controllers and engine management systems. Throttle bodies must interface seamlessly with these electronic components, providing accurate feedback and responding precisely to control inputs. This necessitates the incorporation of sensors and actuators within the throttle body assembly, further complicating the design and potentially increasing failure points.
Lastly, regulatory compliance and standardization pose ongoing challenges for throttle body designers. As drone technology evolves, so do the regulations governing their performance and safety. Throttle body designs must adapt to meet changing standards while maintaining compatibility with existing drone platforms. This requires a flexible approach to design and a keen awareness of regulatory trends in the rapidly evolving drone industry.
Current Throttle Designs
01 Improved throttle body design for enhanced performance
Advanced throttle body designs incorporate features such as optimized airflow passages, precision-engineered valve shapes, and innovative materials to improve engine performance. These enhancements can lead to better throttle response, increased power output, and improved fuel efficiency.- Throttle body design improvements: Various design improvements to throttle bodies can enhance performance. These include optimizing the shape and size of the throttle bore, improving airflow characteristics, and incorporating advanced materials for better durability and reduced weight. Such enhancements can lead to more precise control over air intake, improved throttle response, and overall better engine performance.
- Electronic throttle control systems: Electronic throttle control systems, also known as drive-by-wire systems, can significantly improve throttle body performance. These systems use sensors and actuators to precisely control throttle opening, allowing for better fuel efficiency, smoother acceleration, and improved engine response. They can also integrate with other vehicle systems for enhanced overall performance.
- Throttle body cleaning and maintenance: Regular cleaning and maintenance of throttle bodies can significantly impact their performance. This includes removing carbon deposits, cleaning sensors, and ensuring proper lubrication of moving parts. Proper maintenance can prevent issues such as sticking throttles, irregular idle, and poor acceleration, thus maintaining optimal throttle body performance over time.
- Integration with intake manifold design: The performance of a throttle body can be enhanced by optimizing its integration with the intake manifold design. This includes considerations such as the positioning of the throttle body, the shape and length of intake runners, and the use of variable geometry systems. Proper integration can improve airflow dynamics, leading to better throttle response and overall engine performance.
- Advanced throttle valve designs: Innovative throttle valve designs can significantly improve throttle body performance. This includes the use of butterfly valves with optimized shapes, multi-valve systems, and advanced materials. These designs aim to improve airflow characteristics, reduce turbulence, and provide more precise control over air intake, ultimately enhancing engine performance and efficiency.
02 Electronic throttle control systems
Integration of electronic throttle control systems in modern throttle bodies allows for more precise control of airflow into the engine. These systems use sensors and actuators to adjust throttle position based on various inputs, resulting in improved throttle response, better fuel economy, and reduced emissions.Expand Specific Solutions03 Throttle body cleaning and maintenance
Regular cleaning and maintenance of throttle bodies are crucial for maintaining optimal performance. Specialized cleaning methods and tools have been developed to remove carbon deposits and other contaminants that can accumulate over time, ensuring smooth operation and consistent performance.Expand Specific Solutions04 Throttle body modifications for performance enhancement
Aftermarket modifications and upgrades to throttle bodies can significantly improve engine performance. These modifications may include enlarging the throttle bore, polishing internal surfaces, or installing high-flow throttle plates to increase airflow and enhance overall engine output.Expand Specific Solutions05 Integration of sensors and diagnostic features
Modern throttle bodies incorporate various sensors and diagnostic features to monitor performance and detect potential issues. These may include position sensors, temperature sensors, and self-diagnostic capabilities, allowing for real-time adjustments and early detection of problems that could affect throttle body performance.Expand Specific Solutions
Drone Industry Leaders
The drone throttle body design market is in a growth phase, with increasing demand for improved drone performance across various sectors. The market size is expanding rapidly, driven by advancements in drone technology and applications. Technologically, the field is evolving, with companies like Xi'an ASN Technology Group, Doosan Mobility Innovation, and Aeronext leading innovation. Universities such as Beihang University and MIT contribute to research and development. Established players like Parrot SA and Skydio are also making significant strides in throttle body design, while aerospace giants like AVIC and JAXA are exploring applications in larger unmanned systems. The competitive landscape is diverse, with a mix of specialized drone manufacturers, aerospace companies, and research institutions driving progress in this critical component of drone performance.
Xi'an ASN Technology Group Co. Ltd.
Technical Solution: Xi'an ASN Technology Group has developed a throttle body design for drones that focuses on adaptability and performance in various atmospheric conditions. Their system incorporates a variable-pressure compensating mechanism that adjusts throttle response based on ambient air pressure, ensuring consistent performance at different altitudes[1]. The design features a dual-stage throttle plate system that provides finer control at low throttle openings while allowing for high airflow at full throttle[2]. Xi'an ASN has also implemented an advanced anti-icing system within the throttle body, using a combination of electrical heating elements and specially designed airflow channels to prevent ice formation in cold and humid conditions[3]. Additionally, the company has developed a smart diagnostic system that continuously monitors throttle body performance and can predict maintenance needs[4].
Strengths: Adaptable to various atmospheric conditions, fine control at low throttle, advanced anti-icing capabilities. Weaknesses: Potentially higher power consumption due to additional features, may require more complex calibration procedures.
Parrot SA
Technical Solution: Parrot SA has developed a unique throttle body design for drones that focuses on miniaturization and energy efficiency. Their approach utilizes a micro-electromechanical system (MEMS) based throttle body that significantly reduces size and weight compared to traditional designs[1]. The system incorporates piezoelectric actuators for precise control of airflow, allowing for rapid and accurate adjustments to engine power output[2]. Parrot's design also features an integrated air filter system that uses nanotechnology to remove particulates without significantly impacting airflow, enhancing engine longevity and performance[3]. Furthermore, the company has implemented a thermal management system within the throttle body to optimize operating temperatures and improve overall efficiency[4].
Strengths: Extremely compact and lightweight design, high precision control, integrated filtration system. Weaknesses: Potentially higher production costs, may require specialized maintenance.
Key Throttle Patents
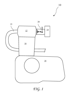
Throttle body spacer for use with internal combustion engines
PatentInactiveUS7690349B2
Innovation
- A throttle body spacer made of thermoset resin with a smooth bore hole and angled air fins that direct air in a spiral motion, reducing heat absorption and promoting efficient airflow and fuel mixture atomization, while minimizing carbon deposit buildup.
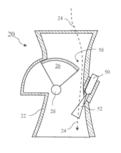
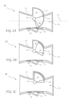
Throttle body with offset axis drum valve
PatentActiveUS9303567B2
Innovation
- An improved throttle body design featuring an offset axis drum valve with a shaped throat, providing a gradual initial opening, optimal air flow at full throttle, and increased volume in the intake tract, along with a fuel injector pocket for better mixing, addresses these issues by reducing tolerances and manufacturing costs while mimicking the air flow of butterfly throttles for compatibility.
Regulatory Compliance
Regulatory compliance plays a crucial role in the design and operation of drones, including the throttle body design that impacts drone performance. As the drone industry continues to evolve rapidly, manufacturers and operators must navigate a complex landscape of regulations to ensure their products meet safety standards and legal requirements.
In the United States, the Federal Aviation Administration (FAA) is the primary regulatory body overseeing drone operations. The FAA has established specific rules for drone design and performance, including requirements for throttle control systems. These regulations aim to ensure safe and controlled flight, minimize risks to people and property on the ground, and prevent interference with other aircraft.
The European Union Aviation Safety Agency (EASA) has also implemented comprehensive regulations for drones, including specific requirements for throttle body design and performance. These regulations focus on ensuring that drones can maintain stable flight and respond appropriately to pilot commands, which are directly influenced by the throttle body design.
Manufacturers must consider these regulatory requirements when designing throttle bodies for drones. This includes ensuring that the throttle response is smooth and predictable, allowing for precise control of the drone's speed and altitude. Additionally, fail-safe mechanisms must be incorporated to prevent sudden loss of power or uncontrolled acceleration in case of system malfunctions.
Compliance with electromagnetic compatibility (EMC) standards is another critical aspect of regulatory requirements for drone throttle body design. The electronic components used in throttle control systems must not emit electromagnetic interference that could affect other onboard systems or nearby electronic devices.
As drone technology advances, regulatory bodies are continuously updating their requirements to address new challenges and safety concerns. This dynamic regulatory environment necessitates ongoing collaboration between manufacturers, researchers, and regulatory agencies to develop throttle body designs that not only improve drone performance but also meet evolving compliance standards.
Internationally, the International Civil Aviation Organization (ICAO) provides guidelines for drone regulations, which many countries use as a basis for their national regulations. These guidelines include recommendations for throttle body design and performance standards, emphasizing the importance of reliability and precision in control systems.
In the United States, the Federal Aviation Administration (FAA) is the primary regulatory body overseeing drone operations. The FAA has established specific rules for drone design and performance, including requirements for throttle control systems. These regulations aim to ensure safe and controlled flight, minimize risks to people and property on the ground, and prevent interference with other aircraft.
The European Union Aviation Safety Agency (EASA) has also implemented comprehensive regulations for drones, including specific requirements for throttle body design and performance. These regulations focus on ensuring that drones can maintain stable flight and respond appropriately to pilot commands, which are directly influenced by the throttle body design.
Manufacturers must consider these regulatory requirements when designing throttle bodies for drones. This includes ensuring that the throttle response is smooth and predictable, allowing for precise control of the drone's speed and altitude. Additionally, fail-safe mechanisms must be incorporated to prevent sudden loss of power or uncontrolled acceleration in case of system malfunctions.
Compliance with electromagnetic compatibility (EMC) standards is another critical aspect of regulatory requirements for drone throttle body design. The electronic components used in throttle control systems must not emit electromagnetic interference that could affect other onboard systems or nearby electronic devices.
As drone technology advances, regulatory bodies are continuously updating their requirements to address new challenges and safety concerns. This dynamic regulatory environment necessitates ongoing collaboration between manufacturers, researchers, and regulatory agencies to develop throttle body designs that not only improve drone performance but also meet evolving compliance standards.
Internationally, the International Civil Aviation Organization (ICAO) provides guidelines for drone regulations, which many countries use as a basis for their national regulations. These guidelines include recommendations for throttle body design and performance standards, emphasizing the importance of reliability and precision in control systems.
Environmental Impact
The environmental impact of throttle body design in drones is a crucial consideration as the unmanned aerial vehicle (UAV) industry continues to grow. Improved throttle body design can significantly contribute to reducing the ecological footprint of drone operations through enhanced energy efficiency and reduced emissions.
One of the primary environmental benefits of optimized throttle body design is increased fuel efficiency. By precisely controlling the air-fuel mixture entering the engine, a well-designed throttle body can minimize fuel consumption, thereby reducing the overall carbon emissions associated with drone operations. This is particularly important for long-range or extended-duration missions where fuel efficiency directly translates to reduced environmental impact.
Noise pollution is another environmental concern addressed by advanced throttle body designs. By optimizing airflow and combustion processes, these designs can contribute to quieter drone operations. Reduced noise levels are especially beneficial in urban environments and sensitive ecological areas where wildlife disturbance is a concern.
The materials used in throttle body construction also play a role in environmental impact. Modern designs often incorporate lightweight, durable materials that contribute to overall weight reduction in drones. This weight reduction leads to improved energy efficiency and extended flight times, further reducing the frequency of refueling or recharging and associated environmental costs.
Additionally, improved throttle body design can enhance the longevity and reliability of drone engines. This increased durability translates to less frequent replacements and repairs, reducing the environmental impact associated with manufacturing and disposing of drone components.
The integration of smart technologies in throttle body systems can further contribute to environmental benefits. Sensors and electronic control units can optimize engine performance in real-time, adapting to various environmental conditions and flight parameters. This adaptive capability ensures that drones operate at peak efficiency across diverse scenarios, minimizing unnecessary fuel consumption and emissions.
Furthermore, the advancements in throttle body design contribute to the overall improvement of drone capabilities, potentially reducing the need for multiple vehicles to accomplish specific tasks. This consolidation of operations can lead to a decrease in the total number of drones required, thereby reducing the cumulative environmental impact of drone fleets.
In conclusion, the environmental impact of improved throttle body design in drones extends beyond immediate operational efficiencies. It encompasses a range of factors including reduced emissions, noise pollution mitigation, material sustainability, and the potential for more streamlined drone operations. As the industry continues to evolve, these environmental considerations will likely play an increasingly important role in shaping the future of drone technology and its integration into various sectors.
One of the primary environmental benefits of optimized throttle body design is increased fuel efficiency. By precisely controlling the air-fuel mixture entering the engine, a well-designed throttle body can minimize fuel consumption, thereby reducing the overall carbon emissions associated with drone operations. This is particularly important for long-range or extended-duration missions where fuel efficiency directly translates to reduced environmental impact.
Noise pollution is another environmental concern addressed by advanced throttle body designs. By optimizing airflow and combustion processes, these designs can contribute to quieter drone operations. Reduced noise levels are especially beneficial in urban environments and sensitive ecological areas where wildlife disturbance is a concern.
The materials used in throttle body construction also play a role in environmental impact. Modern designs often incorporate lightweight, durable materials that contribute to overall weight reduction in drones. This weight reduction leads to improved energy efficiency and extended flight times, further reducing the frequency of refueling or recharging and associated environmental costs.
Additionally, improved throttle body design can enhance the longevity and reliability of drone engines. This increased durability translates to less frequent replacements and repairs, reducing the environmental impact associated with manufacturing and disposing of drone components.
The integration of smart technologies in throttle body systems can further contribute to environmental benefits. Sensors and electronic control units can optimize engine performance in real-time, adapting to various environmental conditions and flight parameters. This adaptive capability ensures that drones operate at peak efficiency across diverse scenarios, minimizing unnecessary fuel consumption and emissions.
Furthermore, the advancements in throttle body design contribute to the overall improvement of drone capabilities, potentially reducing the need for multiple vehicles to accomplish specific tasks. This consolidation of operations can lead to a decrease in the total number of drones required, thereby reducing the cumulative environmental impact of drone fleets.
In conclusion, the environmental impact of improved throttle body design in drones extends beyond immediate operational efficiencies. It encompasses a range of factors including reduced emissions, noise pollution mitigation, material sustainability, and the potential for more streamlined drone operations. As the industry continues to evolve, these environmental considerations will likely play an increasingly important role in shaping the future of drone technology and its integration into various sectors.
Unlock deeper insights with PatSnap Eureka Quick Research — get a full tech report to explore trends and direct your research. Try now!
Generate Your Research Report Instantly with AI Agent
Supercharge your innovation with PatSnap Eureka AI Agent Platform!



