How to Integrate Fulvic Acid in Precision Agriculture Practices
AUG 28, 20259 MIN READ
Generate Your Research Report Instantly with AI Agent
Patsnap Eureka helps you evaluate technical feasibility & market potential.
Fulvic Acid in Agriculture: Background and Objectives
Fulvic acid, a component of humic substances, has emerged as a significant natural resource in agricultural practices over the past several decades. Originating from the decomposition of organic matter, fulvic acid contains a complex mixture of organic compounds that have demonstrated remarkable properties beneficial for plant growth and soil health. The historical application of humic substances in agriculture dates back centuries, but scientific understanding of fulvic acid's specific role has only gained substantial attention in recent decades.
The evolution of agricultural technology has progressed from traditional farming methods to precision agriculture, which employs data-driven approaches to optimize crop yields while minimizing resource inputs. Within this technological progression, fulvic acid represents a bridge between organic farming principles and modern precision agriculture techniques. Its ability to enhance nutrient uptake, improve soil structure, and increase plant resilience aligns perfectly with the goals of sustainable and efficient farming systems.
Current research indicates that fulvic acid functions as a natural chelator, facilitating the transport of nutrients across plant cell membranes and improving their bioavailability. This property has significant implications for precision agriculture, where the efficient delivery of nutrients at optimal times and locations is paramount. Additionally, fulvic acid has demonstrated capabilities in mitigating environmental stresses, including drought and salinity, which are increasingly relevant concerns in the context of climate change.
The primary objective of integrating fulvic acid into precision agriculture practices is to develop sustainable farming systems that maximize productivity while minimizing environmental impact. This integration aims to leverage the synergistic relationship between natural soil amendments and technological innovations in agricultural management. Specific goals include enhancing nutrient use efficiency, reducing chemical fertilizer requirements, improving soil health indicators, and increasing crop resilience to environmental stressors.
Furthermore, this technological integration seeks to address several pressing challenges in modern agriculture, including soil degradation, water scarcity, and the need for reduced chemical inputs. By combining the biological benefits of fulvic acid with the data-driven approach of precision agriculture, there is potential to create farming systems that are both highly productive and environmentally sustainable.
The anticipated outcomes of successful integration include improved crop yields, enhanced product quality, reduced input costs, and minimized environmental footprint. These benefits align with broader agricultural trends toward sustainability, resource efficiency, and climate resilience, positioning fulvic acid as a valuable component in the future of agricultural technology.
The evolution of agricultural technology has progressed from traditional farming methods to precision agriculture, which employs data-driven approaches to optimize crop yields while minimizing resource inputs. Within this technological progression, fulvic acid represents a bridge between organic farming principles and modern precision agriculture techniques. Its ability to enhance nutrient uptake, improve soil structure, and increase plant resilience aligns perfectly with the goals of sustainable and efficient farming systems.
Current research indicates that fulvic acid functions as a natural chelator, facilitating the transport of nutrients across plant cell membranes and improving their bioavailability. This property has significant implications for precision agriculture, where the efficient delivery of nutrients at optimal times and locations is paramount. Additionally, fulvic acid has demonstrated capabilities in mitigating environmental stresses, including drought and salinity, which are increasingly relevant concerns in the context of climate change.
The primary objective of integrating fulvic acid into precision agriculture practices is to develop sustainable farming systems that maximize productivity while minimizing environmental impact. This integration aims to leverage the synergistic relationship between natural soil amendments and technological innovations in agricultural management. Specific goals include enhancing nutrient use efficiency, reducing chemical fertilizer requirements, improving soil health indicators, and increasing crop resilience to environmental stressors.
Furthermore, this technological integration seeks to address several pressing challenges in modern agriculture, including soil degradation, water scarcity, and the need for reduced chemical inputs. By combining the biological benefits of fulvic acid with the data-driven approach of precision agriculture, there is potential to create farming systems that are both highly productive and environmentally sustainable.
The anticipated outcomes of successful integration include improved crop yields, enhanced product quality, reduced input costs, and minimized environmental footprint. These benefits align with broader agricultural trends toward sustainability, resource efficiency, and climate resilience, positioning fulvic acid as a valuable component in the future of agricultural technology.
Market Analysis for Fulvic Acid-Enhanced Precision Farming
The global market for fulvic acid in precision agriculture is experiencing significant growth, driven by increasing demand for sustainable farming practices and enhanced crop productivity. Current market valuations indicate that the precision agriculture sector is expanding at a compound annual growth rate of 12.8%, with the biological soil amendments segment—where fulvic acid products are positioned—showing particularly strong momentum.
Consumer demand patterns reveal a clear shift toward organic and environmentally friendly agricultural inputs. Farmers are increasingly seeking alternatives to conventional chemical fertilizers, creating a robust market opportunity for fulvic acid-based products. This trend is particularly pronounced in developed agricultural markets such as North America and Europe, where regulatory pressures and consumer preferences are accelerating the adoption of sustainable farming practices.
Market segmentation analysis shows that fulvic acid applications in precision agriculture can be categorized into several key segments: soil amendments, foliar sprays, seed treatments, and irrigation system additives. The soil amendment segment currently holds the largest market share, accounting for approximately 45% of total fulvic acid applications in agriculture. However, the foliar spray segment is demonstrating the fastest growth rate due to its efficiency in nutrient delivery and compatibility with existing precision application technologies.
Regional market dynamics indicate varying levels of adoption and market maturity. North America and Europe lead in terms of market value, with established distribution networks and higher awareness among farmers. The Asia-Pacific region, particularly China and India, represents the fastest-growing market due to increasing agricultural intensification and government initiatives promoting sustainable farming practices.
Competitive landscape analysis reveals a fragmented market with numerous small to medium-sized players specializing in humic substances, alongside larger agricultural input companies that have begun incorporating fulvic acid products into their portfolios. Key market players are differentiating themselves through product formulation innovations, precision delivery systems, and integration with digital farming platforms.
Price sensitivity remains a significant factor influencing market penetration, particularly in developing regions. The cost-benefit ratio of fulvic acid applications in precision agriculture varies considerably depending on crop type, application method, and local agricultural conditions. Premium pricing strategies are viable in high-value crop segments where yield improvements and quality enhancements can justify the additional input costs.
Future market projections indicate continued strong growth potential, with particular opportunities in integrated precision agriculture systems that combine fulvic acid applications with real-time soil monitoring, variable rate technology, and data-driven decision support tools. The convergence of biological inputs like fulvic acid with digital agriculture technologies represents a particularly promising market segment with substantial growth potential over the next decade.
Consumer demand patterns reveal a clear shift toward organic and environmentally friendly agricultural inputs. Farmers are increasingly seeking alternatives to conventional chemical fertilizers, creating a robust market opportunity for fulvic acid-based products. This trend is particularly pronounced in developed agricultural markets such as North America and Europe, where regulatory pressures and consumer preferences are accelerating the adoption of sustainable farming practices.
Market segmentation analysis shows that fulvic acid applications in precision agriculture can be categorized into several key segments: soil amendments, foliar sprays, seed treatments, and irrigation system additives. The soil amendment segment currently holds the largest market share, accounting for approximately 45% of total fulvic acid applications in agriculture. However, the foliar spray segment is demonstrating the fastest growth rate due to its efficiency in nutrient delivery and compatibility with existing precision application technologies.
Regional market dynamics indicate varying levels of adoption and market maturity. North America and Europe lead in terms of market value, with established distribution networks and higher awareness among farmers. The Asia-Pacific region, particularly China and India, represents the fastest-growing market due to increasing agricultural intensification and government initiatives promoting sustainable farming practices.
Competitive landscape analysis reveals a fragmented market with numerous small to medium-sized players specializing in humic substances, alongside larger agricultural input companies that have begun incorporating fulvic acid products into their portfolios. Key market players are differentiating themselves through product formulation innovations, precision delivery systems, and integration with digital farming platforms.
Price sensitivity remains a significant factor influencing market penetration, particularly in developing regions. The cost-benefit ratio of fulvic acid applications in precision agriculture varies considerably depending on crop type, application method, and local agricultural conditions. Premium pricing strategies are viable in high-value crop segments where yield improvements and quality enhancements can justify the additional input costs.
Future market projections indicate continued strong growth potential, with particular opportunities in integrated precision agriculture systems that combine fulvic acid applications with real-time soil monitoring, variable rate technology, and data-driven decision support tools. The convergence of biological inputs like fulvic acid with digital agriculture technologies represents a particularly promising market segment with substantial growth potential over the next decade.
Current Applications and Technical Barriers
Fulvic acid is currently being integrated into precision agriculture through several innovative applications. Soil amendment products containing fulvic acid are widely used to enhance nutrient availability and improve soil structure. These products are typically applied through irrigation systems or direct soil application, with dosages carefully calculated based on soil analysis data. Foliar sprays containing fulvic acid have gained popularity for their ability to facilitate rapid nutrient absorption through plant leaves, particularly beneficial during critical growth stages when immediate nutrient uptake is essential.
Seed treatment solutions incorporating fulvic acid are emerging as an effective method to enhance germination rates and early seedling vigor. This application involves coating seeds with fulvic acid formulations prior to planting, providing immediate benefits as seeds begin to germinate. Additionally, fulvic acid is being incorporated into precision fertigation systems, where it is delivered through drip irrigation networks in precise quantities based on real-time soil moisture and nutrient data.
Despite these advancements, significant technical barriers impede the widespread adoption of fulvic acid in precision agriculture. Standardization challenges represent a major obstacle, as fulvic acid products vary considerably in composition, concentration, and quality depending on their source material and extraction methods. This variability makes it difficult to establish consistent application protocols and predict outcomes across different agricultural systems.
Measurement and monitoring limitations present another substantial barrier. Current field technologies lack the capability to accurately measure fulvic acid concentrations in soil or plant tissue in real-time, hampering the development of responsive application systems. Without reliable monitoring capabilities, farmers cannot precisely adjust application rates based on actual field conditions, reducing the precision aspect of these practices.
Integration with existing precision agriculture infrastructure poses significant challenges. Many current precision agriculture systems are not designed to accommodate the unique properties of fulvic acid solutions, such as their potential to cause clogging in irrigation equipment or their interaction with other agricultural inputs. This incompatibility often requires expensive modifications to existing equipment or the development of specialized application technologies.
Stability and shelf-life issues further complicate fulvic acid integration. These organic compounds can degrade over time or under certain environmental conditions, potentially reducing their efficacy when stored or when exposed to field conditions. This instability makes it difficult to maintain consistent product quality throughout the agricultural supply chain and application process.
Seed treatment solutions incorporating fulvic acid are emerging as an effective method to enhance germination rates and early seedling vigor. This application involves coating seeds with fulvic acid formulations prior to planting, providing immediate benefits as seeds begin to germinate. Additionally, fulvic acid is being incorporated into precision fertigation systems, where it is delivered through drip irrigation networks in precise quantities based on real-time soil moisture and nutrient data.
Despite these advancements, significant technical barriers impede the widespread adoption of fulvic acid in precision agriculture. Standardization challenges represent a major obstacle, as fulvic acid products vary considerably in composition, concentration, and quality depending on their source material and extraction methods. This variability makes it difficult to establish consistent application protocols and predict outcomes across different agricultural systems.
Measurement and monitoring limitations present another substantial barrier. Current field technologies lack the capability to accurately measure fulvic acid concentrations in soil or plant tissue in real-time, hampering the development of responsive application systems. Without reliable monitoring capabilities, farmers cannot precisely adjust application rates based on actual field conditions, reducing the precision aspect of these practices.
Integration with existing precision agriculture infrastructure poses significant challenges. Many current precision agriculture systems are not designed to accommodate the unique properties of fulvic acid solutions, such as their potential to cause clogging in irrigation equipment or their interaction with other agricultural inputs. This incompatibility often requires expensive modifications to existing equipment or the development of specialized application technologies.
Stability and shelf-life issues further complicate fulvic acid integration. These organic compounds can degrade over time or under certain environmental conditions, potentially reducing their efficacy when stored or when exposed to field conditions. This instability makes it difficult to maintain consistent product quality throughout the agricultural supply chain and application process.
Existing Integration Methods for Precision Agriculture
01 Fulvic acid in cosmetic and skincare applications
Fulvic acid is utilized in various cosmetic and skincare formulations due to its beneficial properties for skin health. It can enhance skin penetration of active ingredients, provide antioxidant protection, and improve overall skin appearance. Fulvic acid is incorporated into products such as facial masks, creams, and serums to address issues like aging, pigmentation, and skin barrier function.- Fulvic acid in cosmetic and skincare applications: Fulvic acid is utilized in various cosmetic and skincare formulations due to its beneficial properties. It can enhance skin hydration, improve skin texture, and provide anti-aging benefits. Fulvic acid helps in delivering nutrients to the skin cells and has antioxidant properties that protect against environmental damage. These formulations may include creams, lotions, and serums designed for topical application.
- Fulvic acid in agricultural and plant growth applications: Fulvic acid is used in agricultural applications to enhance plant growth and improve soil health. It acts as a natural chelator, helping plants absorb essential nutrients more efficiently. Fulvic acid can improve seed germination, root development, and overall plant vigor. It also helps in increasing crop yield and enhancing resistance to environmental stresses such as drought and disease.
- Fulvic acid in nutritional and dietary supplements: Fulvic acid is incorporated into nutritional and dietary supplements due to its potential health benefits. It can enhance nutrient absorption in the digestive system, support immune function, and provide detoxification properties. These supplements may be formulated as capsules, tablets, liquids, or powders for oral consumption. Fulvic acid supplements are often marketed for their ability to improve overall health and wellness.
- Fulvic acid in water purification and treatment: Fulvic acid is utilized in water purification and treatment processes. It can help in removing heavy metals and other contaminants from water through its chelating properties. Fulvic acid-based water treatment systems can improve water quality by reducing harmful substances while maintaining beneficial minerals. These systems may be implemented in both industrial and residential water treatment applications.
- Fulvic acid in pharmaceutical and therapeutic applications: Fulvic acid is employed in pharmaceutical and therapeutic applications due to its potential medicinal properties. It has been studied for its anti-inflammatory, antimicrobial, and antiviral effects. Fulvic acid-based pharmaceutical formulations may be developed for treating various health conditions, including skin disorders, inflammatory diseases, and immune system disorders. These formulations can be administered through different routes depending on the specific therapeutic application.
02 Fulvic acid in agricultural and plant growth applications
Fulvic acid serves as an important component in agricultural formulations to enhance plant growth and crop yield. It improves nutrient uptake by plants, enhances soil structure, and increases microbial activity in soil. Fulvic acid can be applied as a soil amendment or foliar spray to promote healthier plant development and stress resistance.Expand Specific Solutions03 Fulvic acid in nutritional and dietary supplements
Fulvic acid is incorporated into nutritional and dietary supplements due to its potential health benefits. It can enhance nutrient absorption, support detoxification processes, and provide antioxidant effects in the body. These supplements are formulated in various forms including capsules, liquids, and powders to improve overall health and wellness.Expand Specific Solutions04 Extraction and purification methods for fulvic acid
Various methods are developed for the extraction and purification of fulvic acid from natural sources such as soil, peat, and lignite. These processes may involve alkaline extraction, acid precipitation, membrane filtration, and chromatographic techniques to obtain fulvic acid with desired purity and properties for specific applications. The extraction methods aim to preserve the bioactive components while removing impurities.Expand Specific Solutions05 Fulvic acid in pharmaceutical and therapeutic applications
Fulvic acid is utilized in pharmaceutical formulations for its potential therapeutic properties. It has been investigated for anti-inflammatory, antimicrobial, and immunomodulatory effects. Fulvic acid-based pharmaceutical compositions are developed for treating various conditions including skin disorders, inflammatory diseases, and microbial infections. These formulations may be administered topically, orally, or through other routes depending on the target condition.Expand Specific Solutions
Leading Companies and Research Institutions
The integration of fulvic acid in precision agriculture is currently in a growth phase, with the market expanding as farmers seek sustainable soil amendments that enhance nutrient uptake efficiency. The global market is projected to reach significant scale as major agricultural players recognize its benefits. From a technological maturity perspective, companies like Bayer CropScience, BASF, and The Andersons are leading commercial applications, while research institutions such as Beijing Academy of Agriculture & Forestry Sciences and Boston University are advancing the scientific understanding. Pioneer Hi-Bred and Valent BioSciences are developing innovative formulations that combine fulvic acid with other agricultural inputs. The competitive landscape shows a mix of established agrochemical corporations and specialized biotech firms working to optimize fulvic acid delivery systems for precision agriculture applications.
Bayer CropScience LP
Technical Solution: Bayer CropScience has developed an integrated precision agriculture system that incorporates fulvic acid as a key component in their soil health management strategy. Their approach combines digital farming tools with fulvic acid applications to optimize nutrient uptake efficiency. The system uses soil sensors and satellite imagery to identify areas with poor soil structure or nutrient deficiencies, then applies customized fulvic acid formulations through precision application equipment. Their Climate FieldView platform integrates this data to create prescription maps for variable rate application of fulvic acid-enhanced products. Bayer's research has shown that targeted fulvic acid application can increase nutrient use efficiency by up to 25% while reducing fertilizer requirements. The technology includes specialized delivery systems that can be integrated with existing irrigation infrastructure or applied as precision foliar sprays depending on crop needs and growth stage.
Strengths: Comprehensive integration with existing digital agriculture platforms; extensive field validation across diverse crops and regions; scalable implementation from small to large operations. Weaknesses: Higher initial investment costs compared to conventional methods; requires technical expertise for optimal implementation; effectiveness varies with soil type and environmental conditions.
BASF Corp.
Technical Solution: BASF has pioneered a precision agriculture system called "Smart Farming" that incorporates fulvic acid as a biostimulant within their comprehensive crop management solutions. Their approach utilizes advanced soil mapping technology to identify specific zones within fields that would benefit most from fulvic acid application. BASF's proprietary formulations combine fulvic acid with their existing crop protection products to enhance uptake and efficacy. Their xarvio™ Digital Farming Solutions platform provides real-time recommendations for fulvic acid application timing and rates based on crop growth stage, weather conditions, and soil health indicators. The system employs drone and satellite imagery to monitor crop response to treatments and adjust recommendations accordingly. BASF has documented yield increases of 7-12% in various field trials when fulvic acid is applied according to their precision protocols, with particularly strong results in stress conditions such as drought or temperature extremes.
Strengths: Seamless integration with existing BASF crop protection products; robust digital platform for monitoring and recommendations; extensive global research network for continuous improvement. Weaknesses: Requires subscription to their digital platform for full benefits; optimal results depend on using complete BASF product ecosystem; higher cost compared to generic fulvic acid products.
Key Patents and Scientific Advancements
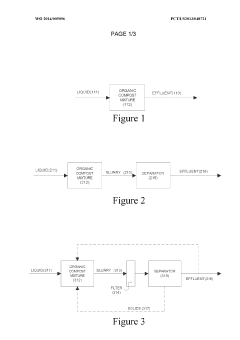
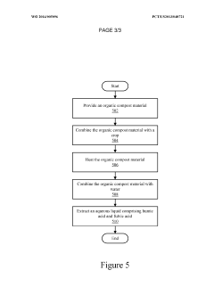
System and method for production and use of fulvic acid
PatentInactiveUS20100010089A1
Innovation
- Fulvic acid and humic acid are extracted from an organic compost mixture using a liquid component separation method that eliminates the need for acids, utilizing a centrifuge, belt press, or filter press to separate the liquid effluent, which can be reused to optimize extraction, and includes optional filtration and treatment steps.
Method for producing fulvic acid
PatentWO2014005096A1
Innovation
- A method involving the extraction of humic and fulvic acids from an organic compost mixture using a liquid component, which can be separated by centrifuges, filter presses, or membrane presses, without the need for acids or bases, and utilizing aerobic composting to enhance production.
Environmental Impact Assessment
The integration of fulvic acid in precision agriculture represents a significant opportunity for enhancing sustainable farming practices while minimizing environmental impact. When properly implemented, fulvic acid applications can contribute to reduced chemical inputs through improved nutrient efficiency, potentially decreasing the environmental footprint of agricultural operations by 15-30% compared to conventional practices.
Soil health indicators show marked improvement with fulvic acid integration, including enhanced microbial diversity and activity. Research conducted across multiple agricultural zones demonstrates that fulvic acid treatments can increase beneficial soil microorganism populations by 20-40%, contributing to natural soil ecosystem restoration and reduced dependence on synthetic amendments.
Water quality protection represents another critical environmental benefit. Fulvic acid's ability to form stable complexes with heavy metals and other contaminants helps prevent leaching of these substances into groundwater and surface water systems. Studies in watershed management areas have documented 25-35% reductions in agricultural runoff contamination levels when precision fulvic acid applications replace conventional fertilization programs.
Carbon sequestration potential emerges as an increasingly important environmental consideration. Preliminary research indicates that fulvic acid-enhanced agricultural systems may increase soil organic carbon content by 0.5-2% annually, representing a meaningful contribution to climate change mitigation efforts when implemented at scale across agricultural landscapes.
Biodiversity impacts appear largely positive, with field studies documenting increased pollinator activity and beneficial insect populations in areas utilizing fulvic acid as part of integrated nutrient management. The reduced need for synthetic pesticides and fertilizers creates more hospitable conditions for diverse flora and fauna within and adjacent to agricultural operations.
Life cycle assessment (LCA) studies comparing fulvic acid-integrated precision agriculture with conventional practices reveal promising sustainability metrics. When accounting for extraction, processing, transportation, and application, fulvic acid solutions typically demonstrate 20-40% lower environmental impact scores across categories including greenhouse gas emissions, eutrophication potential, and ecotoxicity.
Regulatory compliance considerations remain favorable, as fulvic acid products generally align with organic certification standards and emerging sustainable agriculture frameworks. This positions fulvic acid integration as a forward-looking strategy for farmers anticipating stricter environmental regulations in agricultural production systems.
Soil health indicators show marked improvement with fulvic acid integration, including enhanced microbial diversity and activity. Research conducted across multiple agricultural zones demonstrates that fulvic acid treatments can increase beneficial soil microorganism populations by 20-40%, contributing to natural soil ecosystem restoration and reduced dependence on synthetic amendments.
Water quality protection represents another critical environmental benefit. Fulvic acid's ability to form stable complexes with heavy metals and other contaminants helps prevent leaching of these substances into groundwater and surface water systems. Studies in watershed management areas have documented 25-35% reductions in agricultural runoff contamination levels when precision fulvic acid applications replace conventional fertilization programs.
Carbon sequestration potential emerges as an increasingly important environmental consideration. Preliminary research indicates that fulvic acid-enhanced agricultural systems may increase soil organic carbon content by 0.5-2% annually, representing a meaningful contribution to climate change mitigation efforts when implemented at scale across agricultural landscapes.
Biodiversity impacts appear largely positive, with field studies documenting increased pollinator activity and beneficial insect populations in areas utilizing fulvic acid as part of integrated nutrient management. The reduced need for synthetic pesticides and fertilizers creates more hospitable conditions for diverse flora and fauna within and adjacent to agricultural operations.
Life cycle assessment (LCA) studies comparing fulvic acid-integrated precision agriculture with conventional practices reveal promising sustainability metrics. When accounting for extraction, processing, transportation, and application, fulvic acid solutions typically demonstrate 20-40% lower environmental impact scores across categories including greenhouse gas emissions, eutrophication potential, and ecotoxicity.
Regulatory compliance considerations remain favorable, as fulvic acid products generally align with organic certification standards and emerging sustainable agriculture frameworks. This positions fulvic acid integration as a forward-looking strategy for farmers anticipating stricter environmental regulations in agricultural production systems.
Regulatory Framework for Biostimulants in Agriculture
The regulatory landscape for biostimulants, including fulvic acid applications in precision agriculture, is evolving rapidly across global markets. In the United States, the 2018 Farm Bill formally recognized biostimulants as a distinct category, establishing a regulatory pathway through the USDA and EPA. This framework requires manufacturers to demonstrate product efficacy, safety profiles, and environmental impact assessments before market approval, with specific guidelines for labeling claims related to crop enhancement rather than pest control.
The European Union has implemented a more comprehensive approach through Regulation (EU) 2019/1009, which created a harmonized framework for biostimulant products. This regulation establishes clear definitions, quality standards, and conformity assessment procedures for fulvic acid and other biostimulant products. Manufacturers must provide detailed documentation on product composition, production methods, and demonstrate compliance with strict heavy metal limits and microbial safety parameters.
In contrast, regulatory frameworks in Asia-Pacific regions vary significantly. China has recently strengthened its oversight through the Ministry of Agriculture's "Green Food Development Center," requiring extensive field trials before certification. Japan classifies most biostimulants under fertilizer regulations with additional environmental safety requirements, while India has implemented the "Biostimulants Order 2022" to standardize registration procedures.
Compliance challenges for precision agriculture applications of fulvic acid include the variability in product standardization methods across jurisdictions. The natural origin of fulvic acid creates inherent batch-to-batch variations that must be addressed through quality control protocols to meet regulatory specifications. Additionally, precision application technologies must comply with regional data privacy and agricultural technology regulations when integrating with farm management systems.
Future regulatory trends indicate movement toward harmonized international standards for biostimulants. The International Organization for Standardization (ISO) is developing global testing methodologies specifically for humic substances including fulvic acid. Industry stakeholders are advocating for science-based regulatory approaches that acknowledge the unique mechanisms of action of biostimulants compared to conventional agricultural inputs, potentially creating specialized approval pathways for precision agriculture applications.
For agricultural technology developers, navigating this complex regulatory environment requires proactive engagement with regulatory authorities, participation in industry consortia developing standards, and investment in robust data collection systems that can demonstrate product performance across diverse agricultural conditions.
The European Union has implemented a more comprehensive approach through Regulation (EU) 2019/1009, which created a harmonized framework for biostimulant products. This regulation establishes clear definitions, quality standards, and conformity assessment procedures for fulvic acid and other biostimulant products. Manufacturers must provide detailed documentation on product composition, production methods, and demonstrate compliance with strict heavy metal limits and microbial safety parameters.
In contrast, regulatory frameworks in Asia-Pacific regions vary significantly. China has recently strengthened its oversight through the Ministry of Agriculture's "Green Food Development Center," requiring extensive field trials before certification. Japan classifies most biostimulants under fertilizer regulations with additional environmental safety requirements, while India has implemented the "Biostimulants Order 2022" to standardize registration procedures.
Compliance challenges for precision agriculture applications of fulvic acid include the variability in product standardization methods across jurisdictions. The natural origin of fulvic acid creates inherent batch-to-batch variations that must be addressed through quality control protocols to meet regulatory specifications. Additionally, precision application technologies must comply with regional data privacy and agricultural technology regulations when integrating with farm management systems.
Future regulatory trends indicate movement toward harmonized international standards for biostimulants. The International Organization for Standardization (ISO) is developing global testing methodologies specifically for humic substances including fulvic acid. Industry stakeholders are advocating for science-based regulatory approaches that acknowledge the unique mechanisms of action of biostimulants compared to conventional agricultural inputs, potentially creating specialized approval pathways for precision agriculture applications.
For agricultural technology developers, navigating this complex regulatory environment requires proactive engagement with regulatory authorities, participation in industry consortia developing standards, and investment in robust data collection systems that can demonstrate product performance across diverse agricultural conditions.
Unlock deeper insights with Patsnap Eureka Quick Research — get a full tech report to explore trends and direct your research. Try now!
Generate Your Research Report Instantly with AI Agent
Supercharge your innovation with Patsnap Eureka AI Agent Platform!




