Hybrid-Electric Turbine Engine Technology
SEP 23, 20254 MIN READ
 Generate Your Research Report Instantly with AI Agent 
 Patsnap Eureka helps you evaluate technical feasibility & market potential. 
Hybrid-Electric Turbine Engine Technology Background and Goals
## Directory: 技术背景与目标
Hybrid-electric turbine engine technology represents a significant advancement in the aviation industry, combining traditional turbine engines with electric propulsion systems to enhance efficiency and reduce emissions. The primary goal is to leverage the strengths of both systems to achieve better fuel economy, lower operational costs, and reduced environmental impact. This technology has evolved from early experiments in hybrid propulsion to more sophisticated designs that integrate advanced materials, power electronics, and control systems. The development of hybrid-electric engines is driven by the need for sustainable aviation solutions, aligning with global efforts to reduce carbon footprints and meet stringent regulatory standards. The focus is on achieving a balance between performance, reliability, and environmental sustainability, paving the way for the next generation of aircraft propulsion systems.
Hybrid-Electric Turbine Engine Market Demand Analysis
- Market Demand Overview: The hybrid-electric turbine engine technology is gaining traction due to its potential to reduce fuel consumption and emissions, aligning with global environmental regulations and sustainability goals.
- Industry Trends: The aviation industry is increasingly focusing on hybrid-electric propulsion systems to enhance efficiency and reduce operational costs. This trend is driven by the need for greener technologies and the rising cost of conventional fuels.
- Potential Market Size: The market for hybrid-electric turbine engines is expected to grow significantly, with projections indicating substantial adoption in commercial aviation, regional jets, and urban air mobility sectors.
- Key Drivers: Key factors driving market demand include stringent emission regulations, advancements in battery technology, and the increasing emphasis on reducing the carbon footprint of the aviation industry.
- Challenges: Despite the promising outlook, challenges such as high initial investment costs, technological integration complexities, and the need for extensive infrastructure development may impact market growth.
- Competitive Landscape: Major aerospace companies and startups are actively investing in hybrid-electric propulsion research and development, indicating a competitive and rapidly evolving market landscape.
- Future Prospects: The hybrid-electric turbine engine market is poised for growth, with ongoing innovations and collaborations expected to overcome current challenges and drive widespread adoption in the coming years.
Hybrid-Electric Turbine Engine Technology Status and Challenges
### Hybrid-Electric Turbine Engine Technology Status and Challenges
**Current Development Status**:
- Hybrid-electric turbine engines combine traditional turbine engines with electric propulsion systems, aiming to enhance fuel efficiency and reduce emissions.
- Significant advancements have been made in integrating electric motors, batteries, and power electronics with turbine engines.
**Technical Challenges**:
- **Energy Density**: Current battery technology struggles to provide the necessary energy density for long-duration flights.
- **Thermal Management**: Managing the heat generated by both the turbine and electric components is complex.
- **Weight and Space**: Integrating electric systems adds weight and requires space, impacting overall aircraft design.
- **Reliability and Safety**: Ensuring the reliability and safety of hybrid systems under various operating conditions is critical.
**Geographical Distribution**:
- **North America and Europe**: Leading in research and development, with significant investments from both government and private sectors.
- **Asia**: Emerging as a strong player, focusing on commercial applications and regional transportation solutions.
Hybrid-Electric Turbine Engine Current Technical Solutions
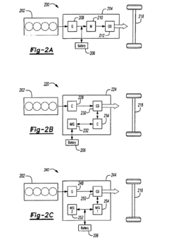
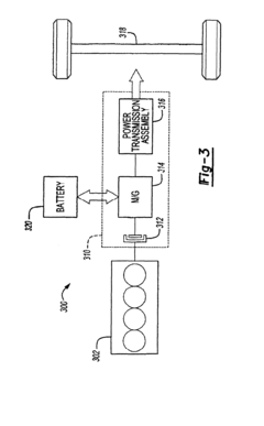
- 01 Optimization of hybrid-electric propulsion systemsHybrid-electric propulsion systems can be optimized by integrating advanced control algorithms and energy management strategies to balance power output, reducing fuel consumption and emissions.- Optimization of hybrid-electric propulsion systems: Optimize hybrid-electric propulsion systems by integrating electric motors with turbine engines to enhance performance, reduce fuel consumption, and lower emissions.
- Advanced energy storage solutions: Implement high-capacity batteries or supercapacitors to enhance efficiency by providing reliable power for electric components and reducing fuel reliance.
- Innovative thermal management techniques: Use advanced cooling systems and heat exchangers to manage heat, ensuring optimal operating temperatures and preventing overheating.
- Aerodynamic improvements: Optimize engine component design to reduce drag and improve airflow, enhancing fuel efficiency and overall performance.
- Integration of renewable energy sources: Integrate solar or wind power to provide additional power, reducing fuel dependency and emissions for sustainable propulsion systems.
 
- 02 Use of advanced materials and componentsEfficiency can be enhanced by using advanced materials and components to reduce engine weight and improve thermal efficiency.Expand Specific Solutions
- 03 Integration of regenerative braking systemsRegenerative braking systems recover energy during deceleration, storing it to power the electric motor and improve overall efficiency.Expand Specific Solutions
- 04 Implementation of variable geometry turbinesVariable geometry turbines optimize airflow and improve efficiency by adjusting geometry based on operating conditions.Expand Specific Solutions
- 05 Development of high-efficiency electric motorsHigh-efficiency electric motors improve system efficiency by providing better power output and reducing energy losses.Expand Specific Solutions
Hybrid-Electric Turbine Engine Main Player Analysis
The competitive landscape for Hybrid-Electric Turbine Engine Technology is currently in a growth phase, with significant advancements being made by key players. The market size is expanding as demand for more efficient and environmentally friendly propulsion systems increases. In terms of technology maturity, companies like General Electric Company, Safran Aircraft Engines SAS, and Pratt & Whitney Canada Corp. are leading the way with advanced research and development efforts. Other notable contributors include Ford Global Technologies LLC, Mazda Motor Corp., and Hyundai Motor Co., Ltd., which are also investing heavily in this technology. The involvement of academic institutions such as Nanjing University of Aeronautics & Astronautics and Northwestern Polytechnical University further underscores the collaborative efforts to push the boundaries of this technology.
General Electric Company
Technical Solution:  GE has developed the GE9X hybrid-electric turbine engine, combining traditional turbine technology with electric propulsion to reduce fuel consumption and emissions while maintaining high performance and reliability.
Strength: Advanced technology integration, high efficiency. Weakness: High development cost, complex maintenance.
Safran Aircraft Engines SAS
Technical Solution:  Safran is working on the Open Rotor hybrid-electric engine, using electric motors and traditional turbine engines to improve fuel efficiency and reduce noise levels.
Strength: Significant noise reduction, improved fuel efficiency. Weakness: Technological complexity, high initial investment.
Hybrid-Electric Turbine Engine Key Technology Interpretation
Method for changing fuel delivery rate for hydrogen fuelled internal combustion engine 
PatentInactiveEP1602817A2
 Innovation 
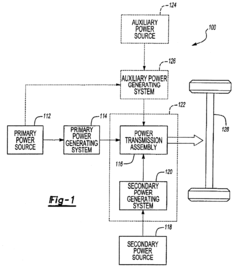
- Integration of a hydrogen-fuelled internal combustion engine with a lean hydrogen gas fuel mixture to achieve substantial reductions in tailpipe emissions while maintaining hybrid functionality.
- Utilization of at least one air charge boosting device to increase the primary drive torque at various operating speeds of the powertrain.
- Incorporation of a secondary power generating system with at least one electric torque generating device to complement the boosted primary drive torque at low operating speeds.
Hybrid-Electric Turbine Engine Environmental Impact Analysis
Hybrid-electric turbine engine technology offers significant potential for reducing environmental impact. By combining traditional turbine engines with electric propulsion, these systems can achieve higher fuel efficiency and lower emissions. The hybrid approach allows for optimized engine performance across different flight phases, reducing overall fuel consumption and greenhouse gas emissions. Additionally, the integration of electric components can lead to quieter operations, decreasing noise pollution. As the aviation industry seeks sustainable solutions, hybrid-electric turbine engines represent a promising direction, balancing performance with environmental responsibility.
Hybrid-Electric Turbine Engine Policy and Regulatory Impact
The hybrid-electric turbine engine technology is significantly influenced by policies and regulations. Governments worldwide are increasingly focusing on reducing carbon emissions and promoting sustainable aviation. Regulatory bodies are setting stringent emission standards and offering incentives for adopting cleaner technologies. These policies drive innovation and investment in hybrid-electric systems, encouraging manufacturers to develop more efficient and environmentally friendly engines. Compliance with these regulations is crucial for market entry and competitiveness. Additionally, international collaborations and standardizations are essential to ensure the technology's global applicability and acceptance, fostering a more sustainable aviation industry.
 Unlock deeper insights with  Patsnap Eureka Quick Research — get a full tech report to explore trends and direct your research. Try now! 
 Generate Your Research Report Instantly with AI Agent 
 Supercharge your innovation with Patsnap Eureka AI Agent Platform! 



