Fast charging protocols with advanced battery management systems
SEP 23, 20259 MIN READ
Generate Your Research Report Instantly with AI Agent
Patsnap Eureka helps you evaluate technical feasibility & market potential.
Fast Charging Technology Evolution and Objectives
Fast charging technology has evolved significantly over the past two decades, transforming from simple constant current charging methods to sophisticated protocols that balance charging speed with battery health and longevity. The initial development phase in the early 2000s focused primarily on reducing charging times without substantial consideration for battery degradation mechanisms. By 2010, researchers began recognizing the critical trade-off between charging speed and battery lifespan, leading to the emergence of multi-stage charging protocols that incorporated varying current and voltage profiles.
The evolution accelerated dramatically with the proliferation of electric vehicles (EVs) and portable electronics, creating market pressure for faster charging solutions. Between 2015 and 2020, significant breakthroughs occurred in understanding the electrochemical processes during rapid charging, particularly lithium plating, solid-electrolyte interphase (SEI) formation, and thermal management challenges. This knowledge catalyzed the development of adaptive charging algorithms that could respond to battery conditions in real-time.
Current fast charging protocols have progressed beyond simple CC-CV (Constant Current-Constant Voltage) methods to incorporate pulse charging, temperature-compensated algorithms, and machine learning-based predictive models. These advanced protocols can now achieve 80% charge in under 30 minutes for many commercial batteries while minimizing degradation effects. The integration with Battery Management Systems (BMS) represents a crucial evolutionary step, enabling dynamic adjustment of charging parameters based on cell-level monitoring.
The primary technical objectives in this field now center around several key areas. First, reducing charging times to under 15 minutes for 80% capacity without compromising battery cycle life beyond 10%. Second, developing universal protocols that can adapt to different battery chemistries and form factors automatically. Third, implementing predictive health management that can forecast and prevent degradation before it occurs.
Another critical objective involves thermal management integration, as temperature control remains one of the fundamental limitations to charging speed. Advanced BMS systems aim to maintain optimal temperature gradients across battery packs during high-current charging events. Additionally, there is growing focus on developing charging protocols that can rehabilitate partially degraded batteries, extending their useful life through adaptive maintenance routines.
The evolution trajectory points toward increasingly intelligent systems that leverage real-time electrochemical modeling and vast datasets of battery performance to optimize charging on an individual cell basis. The ultimate goal remains achieving charging speeds comparable to refueling conventional vehicles (under 5 minutes) while ensuring batteries maintain 80% of original capacity after 1000+ cycles – a benchmark that would revolutionize electric mobility and portable electronics.
The evolution accelerated dramatically with the proliferation of electric vehicles (EVs) and portable electronics, creating market pressure for faster charging solutions. Between 2015 and 2020, significant breakthroughs occurred in understanding the electrochemical processes during rapid charging, particularly lithium plating, solid-electrolyte interphase (SEI) formation, and thermal management challenges. This knowledge catalyzed the development of adaptive charging algorithms that could respond to battery conditions in real-time.
Current fast charging protocols have progressed beyond simple CC-CV (Constant Current-Constant Voltage) methods to incorporate pulse charging, temperature-compensated algorithms, and machine learning-based predictive models. These advanced protocols can now achieve 80% charge in under 30 minutes for many commercial batteries while minimizing degradation effects. The integration with Battery Management Systems (BMS) represents a crucial evolutionary step, enabling dynamic adjustment of charging parameters based on cell-level monitoring.
The primary technical objectives in this field now center around several key areas. First, reducing charging times to under 15 minutes for 80% capacity without compromising battery cycle life beyond 10%. Second, developing universal protocols that can adapt to different battery chemistries and form factors automatically. Third, implementing predictive health management that can forecast and prevent degradation before it occurs.
Another critical objective involves thermal management integration, as temperature control remains one of the fundamental limitations to charging speed. Advanced BMS systems aim to maintain optimal temperature gradients across battery packs during high-current charging events. Additionally, there is growing focus on developing charging protocols that can rehabilitate partially degraded batteries, extending their useful life through adaptive maintenance routines.
The evolution trajectory points toward increasingly intelligent systems that leverage real-time electrochemical modeling and vast datasets of battery performance to optimize charging on an individual cell basis. The ultimate goal remains achieving charging speeds comparable to refueling conventional vehicles (under 5 minutes) while ensuring batteries maintain 80% of original capacity after 1000+ cycles – a benchmark that would revolutionize electric mobility and portable electronics.
Market Demand Analysis for Rapid Charging Solutions
The global market for rapid charging solutions has witnessed exponential growth in recent years, primarily driven by the surge in electric vehicle (EV) adoption. As of 2023, the fast charging infrastructure market is valued at approximately $18 billion, with projections indicating a compound annual growth rate of 26% through 2030. This remarkable growth trajectory is underpinned by consumer demand for reduced charging times, which remains one of the most significant barriers to widespread EV adoption.
Consumer research indicates that charging anxiety has replaced range anxiety as the primary concern among potential EV buyers. A recent survey by McKinsey revealed that 63% of consumers consider charging time a critical factor in their purchasing decision, with 78% expressing willingness to pay a premium for vehicles equipped with advanced fast charging capabilities.
The automotive sector represents the largest market segment for fast charging protocols, but significant demand is also emerging in consumer electronics, where users increasingly expect devices to charge in minutes rather than hours. The smartphone fast charging market alone is expected to reach $13 billion by 2027, with manufacturers competing intensely on charging speed as a key differentiator.
Geographically, China leads the fast charging market with over 1.2 million public charging points, followed by Europe and North America. However, emerging markets in Southeast Asia and Latin America are showing the highest growth rates, with annual increases exceeding 40% in countries like India and Brazil.
From an industrial perspective, the demand for advanced battery management systems (BMS) that can safely facilitate fast charging is creating new market opportunities. The global BMS market is projected to reach $24 billion by 2028, with fast charging compatibility being a primary driver of innovation and investment.
Commercial fleet operators represent another significant market segment, with logistics companies and public transportation providers increasingly transitioning to electric vehicles. These commercial users prioritize minimized downtime, creating demand for ultra-fast charging solutions that can deliver 80% charge in under 20 minutes.
Regulatory factors are also shaping market demand, with several countries implementing policies to standardize charging protocols and mandate the installation of fast chargers. The European Union's Alternative Fuels Infrastructure Regulation, for instance, requires member states to install high-power charging stations every 60 kilometers along major highways by 2025, creating substantial market opportunities for technology providers.
Consumer research indicates that charging anxiety has replaced range anxiety as the primary concern among potential EV buyers. A recent survey by McKinsey revealed that 63% of consumers consider charging time a critical factor in their purchasing decision, with 78% expressing willingness to pay a premium for vehicles equipped with advanced fast charging capabilities.
The automotive sector represents the largest market segment for fast charging protocols, but significant demand is also emerging in consumer electronics, where users increasingly expect devices to charge in minutes rather than hours. The smartphone fast charging market alone is expected to reach $13 billion by 2027, with manufacturers competing intensely on charging speed as a key differentiator.
Geographically, China leads the fast charging market with over 1.2 million public charging points, followed by Europe and North America. However, emerging markets in Southeast Asia and Latin America are showing the highest growth rates, with annual increases exceeding 40% in countries like India and Brazil.
From an industrial perspective, the demand for advanced battery management systems (BMS) that can safely facilitate fast charging is creating new market opportunities. The global BMS market is projected to reach $24 billion by 2028, with fast charging compatibility being a primary driver of innovation and investment.
Commercial fleet operators represent another significant market segment, with logistics companies and public transportation providers increasingly transitioning to electric vehicles. These commercial users prioritize minimized downtime, creating demand for ultra-fast charging solutions that can deliver 80% charge in under 20 minutes.
Regulatory factors are also shaping market demand, with several countries implementing policies to standardize charging protocols and mandate the installation of fast chargers. The European Union's Alternative Fuels Infrastructure Regulation, for instance, requires member states to install high-power charging stations every 60 kilometers along major highways by 2025, creating substantial market opportunities for technology providers.
Current Fast Charging Protocols and Technical Limitations
The fast charging landscape is currently dominated by several key protocols, each with distinct technical approaches and market adoption. USB Power Delivery (USB-PD) has emerged as a widely adopted standard supporting power delivery up to 100W, with the latest PD 3.1 specification extending this to 240W. This protocol utilizes digital communication between devices to negotiate optimal voltage and current parameters, making it versatile across various device categories.
Qualcomm's Quick Charge technology remains prominent in the mobile sector, with its latest iteration (Quick Charge 5) supporting up to 100W charging while maintaining backward compatibility with previous versions. Its adaptive voltage adjustment capabilities allow for dynamic power management based on device temperature and battery state.
Chinese manufacturers have developed proprietary protocols that push technical boundaries further. OPPO's SuperVOOC, Xiaomi's HyperCharge, and Huawei's SuperCharge technologies have demonstrated charging speeds exceeding 100W, with some reaching 200W in controlled environments, enabling full smartphone battery charging in under 15 minutes.
Despite these advancements, significant technical limitations persist. Thermal management represents the foremost challenge, as high-power charging generates substantial heat that accelerates battery degradation. Current cooling solutions, including liquid cooling systems and advanced thermal materials, provide only partial mitigation of these effects.
Battery chemistry limitations also constrain fast charging capabilities. Traditional lithium-ion cells experience accelerated aging when repeatedly subjected to high charging currents, manifesting as capacity loss and increased internal resistance. While silicon-carbon composite anodes and advanced lithium-ion formulations show promise, they have not fully resolved the fundamental trade-off between charging speed and battery longevity.
Communication protocol standardization remains fragmented, creating interoperability challenges across devices and charging infrastructure. This fragmentation increases manufacturing complexity and consumer confusion, while limiting the potential for universal fast charging adoption.
Power conversion efficiency presents another significant barrier, with energy losses during high-power charging contributing to thermal issues and reduced overall system efficiency. Current GaN (Gallium Nitride) semiconductor implementations have improved efficiency but have not eliminated these losses entirely.
Safety mechanisms add further complexity, as protection circuits that prevent thermal runaway and other catastrophic failures must operate flawlessly under high-power conditions. These systems often necessitate charging speed reductions when anomalies are detected, creating inconsistent user experiences.
The infrastructure requirements for widespread deployment of ultra-fast charging also present limitations, particularly in regions with aging electrical grids or limited power distribution capabilities. The substantial power demands of multiple fast-charging devices can strain local electrical systems, necessitating significant infrastructure investments.
Qualcomm's Quick Charge technology remains prominent in the mobile sector, with its latest iteration (Quick Charge 5) supporting up to 100W charging while maintaining backward compatibility with previous versions. Its adaptive voltage adjustment capabilities allow for dynamic power management based on device temperature and battery state.
Chinese manufacturers have developed proprietary protocols that push technical boundaries further. OPPO's SuperVOOC, Xiaomi's HyperCharge, and Huawei's SuperCharge technologies have demonstrated charging speeds exceeding 100W, with some reaching 200W in controlled environments, enabling full smartphone battery charging in under 15 minutes.
Despite these advancements, significant technical limitations persist. Thermal management represents the foremost challenge, as high-power charging generates substantial heat that accelerates battery degradation. Current cooling solutions, including liquid cooling systems and advanced thermal materials, provide only partial mitigation of these effects.
Battery chemistry limitations also constrain fast charging capabilities. Traditional lithium-ion cells experience accelerated aging when repeatedly subjected to high charging currents, manifesting as capacity loss and increased internal resistance. While silicon-carbon composite anodes and advanced lithium-ion formulations show promise, they have not fully resolved the fundamental trade-off between charging speed and battery longevity.
Communication protocol standardization remains fragmented, creating interoperability challenges across devices and charging infrastructure. This fragmentation increases manufacturing complexity and consumer confusion, while limiting the potential for universal fast charging adoption.
Power conversion efficiency presents another significant barrier, with energy losses during high-power charging contributing to thermal issues and reduced overall system efficiency. Current GaN (Gallium Nitride) semiconductor implementations have improved efficiency but have not eliminated these losses entirely.
Safety mechanisms add further complexity, as protection circuits that prevent thermal runaway and other catastrophic failures must operate flawlessly under high-power conditions. These systems often necessitate charging speed reductions when anomalies are detected, creating inconsistent user experiences.
The infrastructure requirements for widespread deployment of ultra-fast charging also present limitations, particularly in regions with aging electrical grids or limited power distribution capabilities. The substantial power demands of multiple fast-charging devices can strain local electrical systems, necessitating significant infrastructure investments.
Current Fast Charging Implementation Approaches
01 Advanced Battery Management Systems for Fast Charging
Advanced battery management systems (BMS) incorporate sophisticated algorithms and control mechanisms to optimize fast charging while ensuring battery safety and longevity. These systems continuously monitor battery parameters such as temperature, voltage, and current to dynamically adjust charging rates. By implementing intelligent thermal management and state-of-charge estimation, these systems can maximize charging speed while preventing overheating and degradation of battery cells.- Advanced Battery Management Systems for Fast Charging: Advanced battery management systems (BMS) are essential for enabling fast charging while maintaining battery health and safety. These systems monitor and control various parameters such as temperature, voltage, and current during the charging process. By implementing sophisticated algorithms and control mechanisms, BMS can optimize the charging speed while preventing overheating, overcharging, and other conditions that could damage the battery or reduce its lifespan.
- Fast Charging Protocols and Standards: Various fast charging protocols and standards have been developed to increase charging speed while ensuring compatibility between devices and chargers. These protocols define communication methods between the charging device and the battery, allowing for negotiation of optimal charging parameters. They enable dynamic adjustment of voltage and current levels to achieve maximum charging speed while maintaining safety. Implementation of these protocols requires specialized hardware and software components in both the charging infrastructure and the battery-powered devices.
- Thermal Management in Fast Charging Systems: Effective thermal management is crucial for fast charging systems as high charging rates generate significant heat. Advanced cooling techniques and temperature monitoring systems are implemented to prevent battery degradation and ensure safety during rapid charging. These systems may include active cooling mechanisms, thermal sensors distributed throughout the battery pack, and algorithms that adjust charging parameters based on temperature readings. Proper thermal management allows for sustained high-power charging without compromising battery longevity.
- Cell Balancing and Voltage Regulation: Cell balancing and precise voltage regulation are essential components of fast charging systems. These technologies ensure that individual cells within a battery pack receive appropriate charging currents and maintain balanced voltage levels. Advanced battery management systems implement sophisticated cell balancing algorithms that monitor the state of each cell and redistribute charge as needed. This prevents overcharging of individual cells and enables the entire battery pack to charge at optimal rates, maximizing both charging speed and battery lifespan.
- Adaptive Charging Algorithms: Adaptive charging algorithms dynamically adjust charging parameters based on battery condition, usage patterns, and environmental factors. These intelligent systems learn from charging history and battery performance to optimize charging profiles for specific batteries. By analyzing factors such as battery age, temperature, and state of charge, these algorithms can apply the maximum safe charging rate at each stage of the charging process. This approach maximizes charging speed while minimizing stress on the battery, resulting in improved battery longevity without sacrificing charging performance.
02 Fast Charging Protocols and Standards
Various fast charging protocols have been developed to standardize and enhance charging speeds across different devices. These protocols define communication methods between chargers and devices, allowing for negotiation of optimal voltage and current parameters. Implementation of these protocols enables devices to receive the maximum safe charging power, significantly reducing charging times while maintaining compatibility across manufacturers and ensuring safety through standardized approaches.Expand Specific Solutions03 Thermal Management in Fast Charging Systems
Effective thermal management is crucial for fast charging systems to prevent overheating that can damage batteries or reduce their lifespan. Advanced cooling techniques, including active cooling systems and heat dissipation materials, are integrated into battery management systems to maintain optimal temperature ranges during high-current charging. These systems can dynamically adjust charging rates based on temperature feedback, ensuring maximum charging speed without compromising safety or battery longevity.Expand Specific Solutions04 Adaptive Charging Algorithms
Adaptive charging algorithms optimize the charging process by dynamically adjusting current and voltage based on real-time battery conditions. These algorithms analyze battery characteristics, usage patterns, and environmental factors to determine the optimal charging parameters at each stage of the charging cycle. By implementing multi-stage charging profiles and machine learning techniques, these systems can significantly increase charging speed while minimizing stress on battery cells, thereby extending battery life.Expand Specific Solutions05 Cell Balancing Techniques for Fast Charging
Cell balancing techniques ensure uniform charging across all cells in a battery pack, which is essential for maximizing charging speed and battery life. Advanced battery management systems implement active and passive balancing methods to equalize the state of charge between individual cells. This prevents overcharging of specific cells while allowing the entire battery pack to charge at the maximum safe rate, enabling faster overall charging times while maintaining the health and safety of the battery system.Expand Specific Solutions
Key Industry Players and Competitive Landscape
The fast charging protocols with advanced battery management systems market is currently in a growth phase, characterized by rapid technological advancements and increasing adoption across multiple sectors. The global market size is expanding significantly, driven by electric vehicle proliferation and consumer electronics demand for quicker charging solutions. In terms of technological maturity, industry leaders like LG Energy Solution, Huawei, and StoreDot are pioneering extreme fast charging technologies, while automotive players including Mercedes-Benz and Ford are integrating these systems into their electric vehicle platforms. Chinese manufacturers such as Xiaomi, OPPO, and vivo are advancing consumer electronics applications, while research institutions like Nanjing University of Aeronautics & Astronautics contribute to fundamental innovations. The competitive landscape features established battery manufacturers competing with technology startups and automotive OEMs developing proprietary solutions.
LG Energy Solution Ltd.
Technical Solution: LG Energy Solution has developed an advanced fast charging protocol that integrates AI-powered battery management systems (BMS) to optimize charging processes. Their technology employs a multi-stage charging algorithm that dynamically adjusts current and voltage parameters based on real-time battery state analysis. The system utilizes machine learning models trained on extensive battery cycling data to predict optimal charging parameters for different battery states and environmental conditions. Their protocol incorporates a unique cell balancing technique during fast charging that ensures uniform charging across all cells in a battery pack, significantly reducing degradation risks. Additionally, LG has implemented a thermal management system that works in conjunction with the BMS to maintain optimal temperature profiles during high-current charging, using predictive cooling activation to prevent thermal runaway while maximizing charging speed.
Strengths: Superior cell balancing technology that enables faster charging without compromising battery longevity; AI-driven predictive algorithms that adapt to battery aging patterns. Weaknesses: Higher implementation costs compared to conventional systems; requires more computational resources for the AI components of the BMS.
Huawei Technologies Co., Ltd.
Technical Solution: Huawei has pioneered SuperCharge technology with an integrated smart battery management system that enables extremely fast charging while maintaining battery health. Their solution employs a multi-layer safety architecture featuring 15 protection mechanisms across the charging adapter, USB cable, smartphone, and battery. The system utilizes real-time monitoring with over 300 detection points to analyze battery status and adjust charging parameters accordingly. Huawei's BMS incorporates machine learning algorithms that adapt charging strategies based on user behavior patterns and battery degradation models. Their latest protocols support up to 200W charging capabilities with a proprietary charging architecture that distributes current more efficiently across battery cells. The system features dynamic thermal management that uses graphene-based cooling solutions to dissipate heat during high-current charging phases, allowing sustained fast charging without thermal throttling.
Strengths: Comprehensive safety mechanisms with multi-layer protection; exceptional charging speeds (0-100% in under 20 minutes for some devices); proprietary cooling technology that enables sustained high-power charging. Weaknesses: Closed ecosystem that limits compatibility with third-party devices; higher manufacturing costs for the advanced thermal management components.
Core Patents and Innovations in Battery Management
Adaptive charging protocol for fast charging of batteries and fast charging system implementing this protocol
PatentActiveUS20210167620A1
Innovation
- An adaptive charging protocol (ACP) that detects historical data and state of charge variations to optimize charging, using Non-Linear Voltammetry (NLV) and Inverse of Polarization (IP) methods, dynamically adjusting charging parameters to balance charging speed and safety, applicable to various battery types.
Method for battery charging management
PatentWO2025026518A1
Innovation
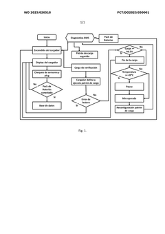
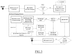
- A method that employs dynamic charge mini-cycles, managed by a BMS with AI, to divide the load cycle into high-power, low-voltage mini-cycles, allowing rapid charging from 0% to 98.5% in under 10 minutes without overheating, using a two-stage process with periodic reconfiguration to adapt to battery temperature and performance, ensuring customized charging tailored to each battery pack's profile.
Thermal Management Challenges and Solutions
Fast charging technologies generate significant heat during operation, creating complex thermal management challenges that must be addressed to ensure battery safety, longevity, and performance. The primary challenge stems from the high current inputs during fast charging, which can elevate battery temperatures beyond safe operating ranges (typically 15-45°C), potentially triggering thermal runaway events if left unmanaged.
Lithium-ion batteries experience accelerated degradation mechanisms at elevated temperatures, including SEI layer breakdown, lithium plating, and structural changes to electrode materials. These degradation processes are particularly pronounced during fast charging operations, where internal resistance generates substantial heat that compounds existing thermal issues.
Current thermal management solutions employ various approaches with distinct advantages and limitations. Passive cooling systems utilize phase change materials and heat sinks to absorb and dissipate heat without requiring power input. While cost-effective and reliable, these systems often prove insufficient for the intense thermal loads generated during ultra-fast charging sessions exceeding 100kW.
Active cooling technologies represent more sophisticated solutions, with liquid cooling emerging as the industry standard for high-performance applications. These systems circulate coolants through intricate channels surrounding battery cells, efficiently removing heat even during extreme fast charging scenarios. Tesla, Porsche, and other premium EV manufacturers have implemented advanced liquid cooling architectures that maintain optimal temperature profiles during 250kW+ charging sessions.
Air cooling systems, though less efficient than liquid alternatives, offer simpler implementation and lower maintenance requirements. Manufacturers like Nissan have employed forced-air cooling in earlier EV models, though the industry trend clearly favors liquid cooling for fast-charging applications due to its superior thermal performance.
Emerging thermal management innovations include direct immersion cooling, where cells are submerged in dielectric fluids, and integrated thermal-electrical management systems that dynamically adjust charging parameters based on real-time temperature monitoring. These advanced solutions enable more aggressive fast charging protocols while maintaining safe operating temperatures.
The integration of predictive thermal modeling with battery management systems represents a promising frontier, allowing charging protocols to anticipate thermal behavior and proactively adjust parameters before critical temperature thresholds are reached. This approach enables systems to maximize charging speeds while maintaining optimal thermal conditions throughout the charging cycle.
Lithium-ion batteries experience accelerated degradation mechanisms at elevated temperatures, including SEI layer breakdown, lithium plating, and structural changes to electrode materials. These degradation processes are particularly pronounced during fast charging operations, where internal resistance generates substantial heat that compounds existing thermal issues.
Current thermal management solutions employ various approaches with distinct advantages and limitations. Passive cooling systems utilize phase change materials and heat sinks to absorb and dissipate heat without requiring power input. While cost-effective and reliable, these systems often prove insufficient for the intense thermal loads generated during ultra-fast charging sessions exceeding 100kW.
Active cooling technologies represent more sophisticated solutions, with liquid cooling emerging as the industry standard for high-performance applications. These systems circulate coolants through intricate channels surrounding battery cells, efficiently removing heat even during extreme fast charging scenarios. Tesla, Porsche, and other premium EV manufacturers have implemented advanced liquid cooling architectures that maintain optimal temperature profiles during 250kW+ charging sessions.
Air cooling systems, though less efficient than liquid alternatives, offer simpler implementation and lower maintenance requirements. Manufacturers like Nissan have employed forced-air cooling in earlier EV models, though the industry trend clearly favors liquid cooling for fast-charging applications due to its superior thermal performance.
Emerging thermal management innovations include direct immersion cooling, where cells are submerged in dielectric fluids, and integrated thermal-electrical management systems that dynamically adjust charging parameters based on real-time temperature monitoring. These advanced solutions enable more aggressive fast charging protocols while maintaining safe operating temperatures.
The integration of predictive thermal modeling with battery management systems represents a promising frontier, allowing charging protocols to anticipate thermal behavior and proactively adjust parameters before critical temperature thresholds are reached. This approach enables systems to maximize charging speeds while maintaining optimal thermal conditions throughout the charging cycle.
Standardization Efforts and Interoperability Issues
The standardization landscape for fast charging protocols has evolved significantly over the past decade, with multiple competing standards creating a fragmented ecosystem. Key standards bodies including the International Electrotechnical Commission (IEC), Institute of Electrical and Electronics Engineers (IEEE), and the USB Implementers Forum have developed specifications that address various aspects of fast charging technologies. The IEC 62196 standard for EV charging connectors and the USB Power Delivery specification represent major milestones in establishing common frameworks for high-power charging implementations.
Interoperability challenges remain a significant barrier to widespread adoption of advanced fast charging technologies. The coexistence of proprietary protocols such as Qualcomm's Quick Charge, OPPO's VOOC, and Tesla's Supercharger network alongside open standards has created compatibility issues for both manufacturers and consumers. These challenges are particularly evident in the automotive sector, where different vehicle manufacturers have adopted varying charging interfaces and communication protocols, limiting cross-platform charging capabilities.
Recent industry initiatives have begun addressing these fragmentation issues through collaborative standardization efforts. The CharIN association's promotion of the Combined Charging System (CCS) represents a significant move toward unifying EV charging infrastructure. Similarly, the USB-IF's consolidation of various fast charging approaches under USB Power Delivery 3.0 with Programmable Power Supply (PPS) has helped establish more consistent implementations in consumer electronics.
Protocol handshaking and negotiation mechanisms present another layer of interoperability complexity. Advanced battery management systems must correctly identify charging capabilities and establish appropriate power delivery parameters across different protocol implementations. Failures in this negotiation process can result in suboptimal charging speeds or, in worst cases, safety hazards due to inappropriate power delivery profiles.
Regional variations in regulatory frameworks further complicate standardization efforts. The European Union's mandate for CCS connectors contrasts with China's promotion of GB/T standards and Japan's CHAdeMO system, creating market fragmentation along geographical lines. These regional differences impact global manufacturers who must adapt their battery management systems to accommodate multiple charging standards.
The emergence of wireless fast charging introduces additional standardization challenges. The Qi standard from the Wireless Power Consortium has gained significant traction, but competing approaches from the AirFuel Alliance and proprietary systems from major manufacturers have prevented full convergence on a single wireless fast charging standard. This diversity complicates the development of battery management systems that must accommodate multiple charging methods.
Interoperability challenges remain a significant barrier to widespread adoption of advanced fast charging technologies. The coexistence of proprietary protocols such as Qualcomm's Quick Charge, OPPO's VOOC, and Tesla's Supercharger network alongside open standards has created compatibility issues for both manufacturers and consumers. These challenges are particularly evident in the automotive sector, where different vehicle manufacturers have adopted varying charging interfaces and communication protocols, limiting cross-platform charging capabilities.
Recent industry initiatives have begun addressing these fragmentation issues through collaborative standardization efforts. The CharIN association's promotion of the Combined Charging System (CCS) represents a significant move toward unifying EV charging infrastructure. Similarly, the USB-IF's consolidation of various fast charging approaches under USB Power Delivery 3.0 with Programmable Power Supply (PPS) has helped establish more consistent implementations in consumer electronics.
Protocol handshaking and negotiation mechanisms present another layer of interoperability complexity. Advanced battery management systems must correctly identify charging capabilities and establish appropriate power delivery parameters across different protocol implementations. Failures in this negotiation process can result in suboptimal charging speeds or, in worst cases, safety hazards due to inappropriate power delivery profiles.
Regional variations in regulatory frameworks further complicate standardization efforts. The European Union's mandate for CCS connectors contrasts with China's promotion of GB/T standards and Japan's CHAdeMO system, creating market fragmentation along geographical lines. These regional differences impact global manufacturers who must adapt their battery management systems to accommodate multiple charging standards.
The emergence of wireless fast charging introduces additional standardization challenges. The Qi standard from the Wireless Power Consortium has gained significant traction, but competing approaches from the AirFuel Alliance and proprietary systems from major manufacturers have prevented full convergence on a single wireless fast charging standard. This diversity complicates the development of battery management systems that must accommodate multiple charging methods.
Unlock deeper insights with Patsnap Eureka Quick Research — get a full tech report to explore trends and direct your research. Try now!
Generate Your Research Report Instantly with AI Agent
Supercharge your innovation with Patsnap Eureka AI Agent Platform!