Fast charging protocols with wireless charging technologies
SEP 23, 20259 MIN READ
Generate Your Research Report Instantly with AI Agent
Patsnap Eureka helps you evaluate technical feasibility & market potential.
Wireless Fast Charging Evolution and Objectives
Wireless charging technology has evolved significantly since its inception in the late 19th century with Nikola Tesla's pioneering work on wireless power transmission. The modern era of wireless charging began in the early 2000s with the development of inductive charging systems for consumer electronics. By 2008, the Wireless Power Consortium established the Qi standard, marking a crucial milestone in standardizing wireless charging protocols. This evolution has accelerated dramatically in the past decade, with technological advancements enabling higher power transfer efficiency and faster charging capabilities.
The convergence of wireless charging with fast charging protocols represents a natural progression in charging technology development. Traditional wireless charging systems were limited by slow charging speeds, often delivering only 5-10W of power. However, recent innovations have pushed these boundaries significantly, with modern systems capable of delivering 30-50W or more, rivaling wired fast charging solutions. This progression has been driven by improvements in coil design, power management systems, and the development of resonant inductive coupling techniques.
The primary objective of wireless fast charging research is to achieve charging speeds comparable to or exceeding wired solutions while maintaining safety, efficiency, and compatibility across devices. Specific technical goals include increasing power transfer rates beyond 100W, reducing energy loss during transmission to under 10%, minimizing heat generation, and ensuring interoperability between different device manufacturers and charging systems.
Another critical objective is addressing the inherent challenges of wireless power transfer at high wattages, including electromagnetic interference, thermal management, and foreign object detection. Research aims to develop advanced algorithms and hardware solutions that can dynamically adjust power delivery based on device requirements and environmental conditions, optimizing both speed and safety.
Looking forward, the technology roadmap includes the development of multi-device charging solutions, extended charging distances beyond the current few millimeters, and integration with emerging technologies such as gallium nitride (GaN) semiconductors and advanced battery chemistries. The ultimate vision is to create ubiquitous wireless charging infrastructure that seamlessly powers devices in homes, offices, vehicles, and public spaces without user intervention.
Industry standardization efforts are also evolving, with organizations like the Wireless Power Consortium (Qi), AirFuel Alliance, and proprietary systems from major manufacturers all competing to establish dominant protocols. The harmonization of these standards represents a significant objective for ensuring widespread adoption and technological advancement in the wireless fast charging ecosystem.
The convergence of wireless charging with fast charging protocols represents a natural progression in charging technology development. Traditional wireless charging systems were limited by slow charging speeds, often delivering only 5-10W of power. However, recent innovations have pushed these boundaries significantly, with modern systems capable of delivering 30-50W or more, rivaling wired fast charging solutions. This progression has been driven by improvements in coil design, power management systems, and the development of resonant inductive coupling techniques.
The primary objective of wireless fast charging research is to achieve charging speeds comparable to or exceeding wired solutions while maintaining safety, efficiency, and compatibility across devices. Specific technical goals include increasing power transfer rates beyond 100W, reducing energy loss during transmission to under 10%, minimizing heat generation, and ensuring interoperability between different device manufacturers and charging systems.
Another critical objective is addressing the inherent challenges of wireless power transfer at high wattages, including electromagnetic interference, thermal management, and foreign object detection. Research aims to develop advanced algorithms and hardware solutions that can dynamically adjust power delivery based on device requirements and environmental conditions, optimizing both speed and safety.
Looking forward, the technology roadmap includes the development of multi-device charging solutions, extended charging distances beyond the current few millimeters, and integration with emerging technologies such as gallium nitride (GaN) semiconductors and advanced battery chemistries. The ultimate vision is to create ubiquitous wireless charging infrastructure that seamlessly powers devices in homes, offices, vehicles, and public spaces without user intervention.
Industry standardization efforts are also evolving, with organizations like the Wireless Power Consortium (Qi), AirFuel Alliance, and proprietary systems from major manufacturers all competing to establish dominant protocols. The harmonization of these standards represents a significant objective for ensuring widespread adoption and technological advancement in the wireless fast charging ecosystem.
Market Demand Analysis for Wireless Fast Charging
The wireless fast charging market is experiencing unprecedented growth driven by the rapid proliferation of mobile devices and electric vehicles. Current market research indicates that the global wireless charging market is projected to reach $40.24 billion by 2027, with fast charging protocols representing the fastest-growing segment within this space. Consumer demand for reduced charging times has become a critical factor in purchasing decisions, with surveys showing that 78% of smartphone users consider charging speed a decisive feature when selecting new devices.
The automotive sector presents particularly robust demand, as electric vehicle adoption accelerates globally. Wireless fast charging eliminates the inconvenience of cable management while addressing range anxiety through opportunistic charging scenarios. Fleet operators are increasingly seeking wireless fast charging solutions that can minimize vehicle downtime and maximize operational efficiency, creating a significant B2B market opportunity.
Consumer electronics continues to be the dominant application area, with smartphones, tablets, wearables, and laptops driving adoption. The integration of wireless fast charging capabilities has become a standard feature in premium devices and is rapidly expanding into mid-range products. Market analysis reveals that consumers are willing to pay a 15-20% premium for devices featuring advanced wireless fast charging capabilities compared to standard wireless charging.
Healthcare applications represent an emerging high-value market segment, where wireless fast charging enables better sealing of medical devices, improved infection control, and enhanced reliability in critical care environments. The need for rapid recharging of portable medical equipment during emergency situations further amplifies demand in this sector.
Public infrastructure deployment of wireless fast charging stations is gaining momentum in transportation hubs, hospitality venues, and retail environments. This expansion is supported by increasing consumer expectations for ubiquitous charging availability and the strategic advantage businesses gain by offering such amenities to customers.
Regional analysis shows Asia-Pacific leading market growth, driven by high smartphone penetration and aggressive electric vehicle adoption policies in China, South Korea, and Japan. North America follows closely, with strong demand from both consumer electronics and automotive sectors, while Europe shows accelerating adoption rates supported by stringent environmental regulations favoring electric mobility solutions.
The market exhibits strong seasonality patterns, with peak demand coinciding with new flagship device launches and holiday shopping seasons. This cyclical nature requires manufacturers to carefully time their product development and marketing strategies to capitalize on periods of heightened consumer interest and purchasing activity.
The automotive sector presents particularly robust demand, as electric vehicle adoption accelerates globally. Wireless fast charging eliminates the inconvenience of cable management while addressing range anxiety through opportunistic charging scenarios. Fleet operators are increasingly seeking wireless fast charging solutions that can minimize vehicle downtime and maximize operational efficiency, creating a significant B2B market opportunity.
Consumer electronics continues to be the dominant application area, with smartphones, tablets, wearables, and laptops driving adoption. The integration of wireless fast charging capabilities has become a standard feature in premium devices and is rapidly expanding into mid-range products. Market analysis reveals that consumers are willing to pay a 15-20% premium for devices featuring advanced wireless fast charging capabilities compared to standard wireless charging.
Healthcare applications represent an emerging high-value market segment, where wireless fast charging enables better sealing of medical devices, improved infection control, and enhanced reliability in critical care environments. The need for rapid recharging of portable medical equipment during emergency situations further amplifies demand in this sector.
Public infrastructure deployment of wireless fast charging stations is gaining momentum in transportation hubs, hospitality venues, and retail environments. This expansion is supported by increasing consumer expectations for ubiquitous charging availability and the strategic advantage businesses gain by offering such amenities to customers.
Regional analysis shows Asia-Pacific leading market growth, driven by high smartphone penetration and aggressive electric vehicle adoption policies in China, South Korea, and Japan. North America follows closely, with strong demand from both consumer electronics and automotive sectors, while Europe shows accelerating adoption rates supported by stringent environmental regulations favoring electric mobility solutions.
The market exhibits strong seasonality patterns, with peak demand coinciding with new flagship device launches and holiday shopping seasons. This cyclical nature requires manufacturers to carefully time their product development and marketing strategies to capitalize on periods of heightened consumer interest and purchasing activity.
Current Protocols and Technical Barriers
Wireless charging technology has evolved significantly over the past decade, with several standardized protocols emerging to address interoperability and efficiency challenges. The Qi standard, developed by the Wireless Power Consortium (WPC), remains the most widely adopted protocol, supporting power delivery up to 15W in its latest specifications. This protocol utilizes magnetic induction technology and has been integrated into numerous consumer electronics, establishing itself as the de facto standard for low-power wireless charging applications.
Competing with Qi is the AirFuel Alliance standard (formerly A4WP and PMA), which employs both magnetic resonance and inductive charging methods. AirFuel offers greater charging distance flexibility but has seen limited market adoption compared to Qi. For higher power applications, the Rezence standard supports up to 50W power transfer, though it faces challenges in thermal management and efficiency.
Despite these advancements, wireless fast charging protocols encounter significant technical barriers. Power transfer efficiency remains a primary concern, with most current solutions achieving only 70-80% efficiency compared to wired charging's 85-95%. This efficiency gap widens as power levels increase, creating substantial thermal management challenges that can affect device longevity and safety.
Electromagnetic interference presents another critical barrier, as higher power wireless charging systems generate stronger electromagnetic fields that can interfere with nearby electronic devices and potentially exceed regulatory limits for human exposure. This necessitates complex shielding solutions that add cost and bulk to charging systems.
Alignment sensitivity continues to impede user experience, with even minor misalignment between transmitter and receiver coils significantly reducing charging efficiency. While some systems incorporate multiple coils or magnetic alignment mechanisms, these solutions increase system complexity and cost.
Cross-compatibility between different protocols and devices remains limited, creating market fragmentation. Despite efforts toward universal standards, proprietary fast charging implementations often optimize for specific device ecosystems at the expense of broader compatibility.
Power regulation and communication protocols between charging base and device present additional challenges, particularly for fast charging where precise power management is crucial for battery health and safety. Current protocols struggle to dynamically adjust power delivery based on real-time battery conditions while maintaining high transfer rates.
These technical barriers collectively impede the widespread adoption of wireless fast charging technologies, particularly in applications requiring power delivery above 30W, where the efficiency and thermal management challenges become increasingly pronounced.
Competing with Qi is the AirFuel Alliance standard (formerly A4WP and PMA), which employs both magnetic resonance and inductive charging methods. AirFuel offers greater charging distance flexibility but has seen limited market adoption compared to Qi. For higher power applications, the Rezence standard supports up to 50W power transfer, though it faces challenges in thermal management and efficiency.
Despite these advancements, wireless fast charging protocols encounter significant technical barriers. Power transfer efficiency remains a primary concern, with most current solutions achieving only 70-80% efficiency compared to wired charging's 85-95%. This efficiency gap widens as power levels increase, creating substantial thermal management challenges that can affect device longevity and safety.
Electromagnetic interference presents another critical barrier, as higher power wireless charging systems generate stronger electromagnetic fields that can interfere with nearby electronic devices and potentially exceed regulatory limits for human exposure. This necessitates complex shielding solutions that add cost and bulk to charging systems.
Alignment sensitivity continues to impede user experience, with even minor misalignment between transmitter and receiver coils significantly reducing charging efficiency. While some systems incorporate multiple coils or magnetic alignment mechanisms, these solutions increase system complexity and cost.
Cross-compatibility between different protocols and devices remains limited, creating market fragmentation. Despite efforts toward universal standards, proprietary fast charging implementations often optimize for specific device ecosystems at the expense of broader compatibility.
Power regulation and communication protocols between charging base and device present additional challenges, particularly for fast charging where precise power management is crucial for battery health and safety. Current protocols struggle to dynamically adjust power delivery based on real-time battery conditions while maintaining high transfer rates.
These technical barriers collectively impede the widespread adoption of wireless fast charging technologies, particularly in applications requiring power delivery above 30W, where the efficiency and thermal management challenges become increasingly pronounced.
Existing Wireless Fast Charging Protocol Solutions
01 Wireless power transfer protocols for fast charging
Various protocols have been developed to optimize wireless power transfer for fast charging applications. These protocols establish communication between the charging device and receiver to negotiate power levels, monitor charging status, and adjust parameters in real-time. Advanced protocols incorporate features like authentication, foreign object detection, and thermal management to ensure safe and efficient charging at higher speeds.- Wireless power transfer protocols for fast charging: Various protocols have been developed to enable fast charging in wireless power transfer systems. These protocols optimize power delivery by adjusting parameters such as frequency, voltage, and current based on device requirements. They incorporate communication channels between the transmitter and receiver to negotiate optimal charging parameters, ensuring efficient and safe power delivery while maximizing charging speed.
- Resonant coupling techniques for improved charging efficiency: Resonant coupling technologies enhance wireless charging speed by improving power transfer efficiency. These systems utilize precisely tuned resonant circuits in both transmitter and receiver to create a strong electromagnetic coupling even at greater distances. By optimizing the resonant frequency and quality factor of the circuits, these technologies can deliver higher power levels while minimizing energy loss, resulting in faster charging times for compatible devices.
- Adaptive power management systems for wireless charging: Adaptive power management systems dynamically adjust charging parameters based on real-time conditions. These systems monitor battery state, temperature, and power availability to optimize charging speed while maintaining safety. By implementing intelligent algorithms that can detect device requirements and adjust power delivery accordingly, these technologies can provide the fastest possible charging rate under varying conditions without compromising battery health or system stability.
- Multi-coil array designs for position-flexible fast charging: Multi-coil array designs enable position-flexible fast charging by incorporating multiple transmitter coils that can be selectively activated. This approach allows the charging system to detect the position of the receiving device and activate only the most optimally positioned coils, ensuring maximum power transfer efficiency regardless of device placement. The technology reduces alignment constraints while maintaining high charging speeds, making wireless charging more convenient and efficient.
- Communication protocols for negotiating charging parameters: Advanced communication protocols enable wireless charging systems to negotiate optimal charging parameters between the power transmitter and receiver. These protocols facilitate the exchange of information about device capabilities, battery status, and power requirements, allowing the system to establish the most efficient charging profile. By implementing standardized communication methods, these technologies ensure compatibility across different devices while enabling the fastest possible charging speeds based on device-specific needs.
02 Resonant coupling techniques for improved charging efficiency
Resonant coupling technologies enhance wireless charging speed by improving power transfer efficiency across greater distances. By tuning transmitter and receiver coils to operate at the same resonant frequency, these systems can maintain high efficiency even with spatial freedom. Advanced implementations utilize adaptive frequency tuning, impedance matching networks, and optimized coil designs to maximize power transfer rates while minimizing energy losses during the charging process.Expand Specific Solutions03 Multi-coil array systems for position-flexible fast charging
Multi-coil array systems incorporate multiple transmitter and/or receiver coils to enable position-flexible fast charging. These systems can automatically detect device position and activate only the most efficient coil combinations, ensuring optimal power transfer regardless of device placement. Advanced implementations use intelligent switching algorithms, magnetic field shaping, and coil selection techniques to maintain high charging speeds without requiring precise alignment between charging pad and device.Expand Specific Solutions04 Communication protocols for charging negotiation and optimization
Specialized communication protocols enable charging devices and receivers to negotiate optimal charging parameters. These protocols facilitate the exchange of information about power capabilities, battery status, thermal conditions, and authentication credentials. By establishing reliable bidirectional communication channels, devices can dynamically adjust power levels, monitor charging progress, and implement safety measures while maintaining compatibility across different manufacturers and charging standards.Expand Specific Solutions05 Adaptive power control systems for maximizing charging speed
Adaptive power control systems continuously monitor and adjust charging parameters to maximize speed while ensuring safety. These systems incorporate real-time feedback mechanisms to detect changes in coupling efficiency, thermal conditions, and battery state. By dynamically optimizing power transfer based on current conditions, these technologies can deliver the maximum safe charging rate at any given moment, reducing overall charging time while protecting device components from damage due to overheating or electrical stress.Expand Specific Solutions
Leading Companies in Wireless Fast Charging Ecosystem
The wireless charging fast charging protocol market is currently in a growth phase, with increasing adoption across consumer electronics and automotive sectors. The market size is expanding rapidly, projected to reach significant value as major players invest in R&D. Technology maturity varies across implementations, with established companies like Samsung Electronics, Qualcomm, and LG Electronics leading standardization efforts through mature protocols. Chinese manufacturers including Xiaomi, OPPO, Huawei, and vivo are rapidly advancing their proprietary solutions. Specialized players like Aira are introducing innovative free-position charging technologies, while automotive companies such as Hyundai and Kia are integrating these protocols into vehicle systems. Intel and Microsoft are focusing on cross-platform compatibility, creating a competitive landscape where interoperability and charging efficiency are key differentiators.
Samsung Electronics Co., Ltd.
Technical Solution: Samsung has developed an advanced wireless fast charging protocol based on their Wireless Power Consortium (WPC) Qi certification. Their technology implements adaptive power control algorithms that dynamically adjust power delivery based on device temperature and battery status. Samsung's latest wireless fast charging solutions incorporate multi-coil designs with precise alignment systems that optimize power transfer efficiency up to 85%. Their protocol includes Foreign Object Detection (FOD) mechanisms that use both hardware and software solutions to prevent overheating. Samsung has also pioneered the implementation of dual-frequency operation (between 110-205 kHz and 80-300 kHz bands) to reduce electromagnetic interference while maintaining high power transfer rates of up to 15W for consumer devices and exploring 25W+ solutions for future applications.
Strengths: Industry-leading power transfer efficiency with multi-coil designs; comprehensive thermal management system; strong market penetration with Qi compatibility. Weaknesses: Higher manufacturing costs due to premium components; some solutions remain proprietary rather than open standard; thermal constraints still limit maximum charging speeds compared to wired alternatives.
Guangdong OPPO Mobile Telecommunications Corp., Ltd.
Technical Solution: OPPO has developed AirVOOC wireless flash charging technology that brings their VOOC fast charging expertise to wireless applications. Their protocol implements a twin-coil design with specialized ferrite materials that significantly reduce energy loss during transmission. OPPO's system incorporates real-time adjustment of charging parameters through a dedicated communication channel operating at 125-135 kHz frequency range. Their technology features a sophisticated thermal management system with multiple temperature sensors and cooling solutions including semiconductor cooling arrays and air cooling channels. OPPO's latest wireless charging implementations deliver up to 65W wireless charging capabilities with intelligent power management that can adjust output based on device temperature, battery health metrics, and environmental conditions. The system also incorporates advanced foreign object detection using both active and passive methods with specialized algorithms to distinguish between intentional and unintentional objects.
Strengths: Industry-leading wireless charging speeds (up to 65W); excellent thermal management with active cooling; comprehensive safety features with multiple redundancies. Weaknesses: Limited compatibility with non-OPPO devices; proprietary technology creates ecosystem dependency; higher manufacturing costs due to complex cooling requirements.
Key Patents and Innovations in Wireless Fast Charging
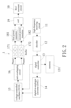
Wireless power transfer and rapid charging system and method with maximum power tracking
PatentInactiveUS20160336783A1
Innovation
- A wireless power transfer and rapid charging system with maximum power tracking, comprising a transmitter device with a high-frequency receiving circuit, decoder, digital controller, and RLC resonant circuit, and a receiver device with a voltage regulator and high-frequency signal transmitting circuit, which automatically searches for optimal resonant frequency and adjusts charging current to maximize power transfer efficiency.
Wireless charging method, emission end, receiving end and power management chip
PatentActiveCN107769306A
Innovation
- By detecting charger type and voltage and current capabilities, it performs certification detection and charging request optimization, supports fast wireless charging protocols, and dynamically adjusts voltage and current to adapt to different charger types and needs.
Thermal Management Challenges and Solutions
Thermal management represents one of the most critical challenges in the integration of fast charging protocols with wireless charging technologies. As power transfer rates increase to enable rapid charging, the heat generated during the process rises exponentially, creating significant thermal management concerns. Current wireless fast charging systems operating at 15W and above experience temperature increases that can reach 45°C or higher at the receiving coil, potentially damaging battery cells and reducing their lifespan and capacity.
The primary sources of heat generation in wireless fast charging systems include resistive losses in the transmitting and receiving coils, eddy current losses in nearby metallic components, and conversion losses in power electronics. These thermal issues become particularly pronounced when implementing protocols that push power levels beyond 25W, where efficiency typically decreases as power increases, resulting in greater heat dissipation requirements.
Several innovative approaches have emerged to address these thermal challenges. Active cooling systems incorporating miniaturized fans or liquid cooling channels have been implemented in commercial high-power wireless charging pads. These solutions, while effective, add complexity, cost, and power consumption to the charging system. Passive thermal management techniques utilizing advanced thermally conductive materials such as graphene-enhanced polymers and specialized heat-dissipating structures have shown promise in laboratory settings, offering up to 30% improvement in heat distribution.
Material science advancements have contributed significantly to thermal management solutions. Ferrite materials with lower core losses at high frequencies help reduce heat generation at the source. Similarly, litz wire configurations optimized for high-frequency operation minimize skin effect losses, thereby reducing heat generation in the coils. Thermal interface materials (TIMs) with conductivities exceeding 10 W/m·K have been developed specifically for wireless charging applications.
Intelligent thermal management systems represent the cutting edge of this field. These systems incorporate temperature sensors and dynamic power adjustment algorithms that modulate charging rates based on real-time thermal conditions. Leading manufacturers have implemented protocols that can reduce charging power by up to 40% when thermal thresholds are approached, then resume full power once temperatures normalize. This adaptive approach maximizes charging speed while maintaining safe operating temperatures.
The industry is moving toward standardized thermal testing protocols for wireless fast charging systems, with organizations like the Wireless Power Consortium developing thermal performance metrics and safety guidelines. These standards will be crucial for ensuring consistent performance and safety across different implementations of fast charging wireless technologies.
The primary sources of heat generation in wireless fast charging systems include resistive losses in the transmitting and receiving coils, eddy current losses in nearby metallic components, and conversion losses in power electronics. These thermal issues become particularly pronounced when implementing protocols that push power levels beyond 25W, where efficiency typically decreases as power increases, resulting in greater heat dissipation requirements.
Several innovative approaches have emerged to address these thermal challenges. Active cooling systems incorporating miniaturized fans or liquid cooling channels have been implemented in commercial high-power wireless charging pads. These solutions, while effective, add complexity, cost, and power consumption to the charging system. Passive thermal management techniques utilizing advanced thermally conductive materials such as graphene-enhanced polymers and specialized heat-dissipating structures have shown promise in laboratory settings, offering up to 30% improvement in heat distribution.
Material science advancements have contributed significantly to thermal management solutions. Ferrite materials with lower core losses at high frequencies help reduce heat generation at the source. Similarly, litz wire configurations optimized for high-frequency operation minimize skin effect losses, thereby reducing heat generation in the coils. Thermal interface materials (TIMs) with conductivities exceeding 10 W/m·K have been developed specifically for wireless charging applications.
Intelligent thermal management systems represent the cutting edge of this field. These systems incorporate temperature sensors and dynamic power adjustment algorithms that modulate charging rates based on real-time thermal conditions. Leading manufacturers have implemented protocols that can reduce charging power by up to 40% when thermal thresholds are approached, then resume full power once temperatures normalize. This adaptive approach maximizes charging speed while maintaining safe operating temperatures.
The industry is moving toward standardized thermal testing protocols for wireless fast charging systems, with organizations like the Wireless Power Consortium developing thermal performance metrics and safety guidelines. These standards will be crucial for ensuring consistent performance and safety across different implementations of fast charging wireless technologies.
Interoperability Standards and Industry Adoption
The wireless charging ecosystem faces significant fragmentation challenges that impede widespread adoption and user experience. Currently, three major standards dominate the market: Qi from the Wireless Power Consortium (WPC), AirFuel Alliance standards, and proprietary solutions from major manufacturers. This fragmentation creates compatibility issues where devices supporting one standard cannot charge on pads designed for another protocol, limiting consumer convenience and industry growth.
The Qi standard has emerged as the market leader, with over 3,700 certified products and integration into major smartphone brands including Apple, Samsung, and Xiaomi. The recent Qi2 standard introduction represents a significant advancement, incorporating Apple's MagSafe technology to improve alignment and efficiency. This collaboration between WPC and Apple demonstrates how industry partnerships can drive standardization forward.
Fast charging capabilities across wireless standards remain inconsistent, with power delivery ranging from 5W in basic implementations to 15W in advanced Qi devices, while some proprietary solutions reach 50W or higher. This disparity creates market confusion and hampers adoption of wireless charging as a primary charging method for high-power devices.
Industry adoption metrics reveal promising growth trajectories, with the wireless charging market projected to reach $40.24 billion by 2027, growing at 22.2% CAGR. Automotive sector integration represents a particularly strong growth area, with manufacturers increasingly incorporating wireless charging pads as standard features in premium vehicles and expanding to mid-range models.
Cross-industry collaboration initiatives are emerging as critical drivers of interoperability. The establishment of the Universal Wireless Charging Consortium in 2023 represents a significant step toward harmonizing fast charging protocols across device categories. This consortium brings together smartphone manufacturers, automotive companies, and consumer electronics producers to develop unified standards that support power delivery up to 65W while maintaining backward compatibility.
Regulatory bodies are increasingly involved in standardization efforts, with the European Commission proposing legislation similar to USB-C mandates that would require interoperable wireless charging standards for consumer electronics sold within the EU. Such regulatory pressure may accelerate industry consensus around unified protocols and certification processes.
The Qi standard has emerged as the market leader, with over 3,700 certified products and integration into major smartphone brands including Apple, Samsung, and Xiaomi. The recent Qi2 standard introduction represents a significant advancement, incorporating Apple's MagSafe technology to improve alignment and efficiency. This collaboration between WPC and Apple demonstrates how industry partnerships can drive standardization forward.
Fast charging capabilities across wireless standards remain inconsistent, with power delivery ranging from 5W in basic implementations to 15W in advanced Qi devices, while some proprietary solutions reach 50W or higher. This disparity creates market confusion and hampers adoption of wireless charging as a primary charging method for high-power devices.
Industry adoption metrics reveal promising growth trajectories, with the wireless charging market projected to reach $40.24 billion by 2027, growing at 22.2% CAGR. Automotive sector integration represents a particularly strong growth area, with manufacturers increasingly incorporating wireless charging pads as standard features in premium vehicles and expanding to mid-range models.
Cross-industry collaboration initiatives are emerging as critical drivers of interoperability. The establishment of the Universal Wireless Charging Consortium in 2023 represents a significant step toward harmonizing fast charging protocols across device categories. This consortium brings together smartphone manufacturers, automotive companies, and consumer electronics producers to develop unified standards that support power delivery up to 65W while maintaining backward compatibility.
Regulatory bodies are increasingly involved in standardization efforts, with the European Commission proposing legislation similar to USB-C mandates that would require interoperable wireless charging standards for consumer electronics sold within the EU. Such regulatory pressure may accelerate industry consensus around unified protocols and certification processes.
Unlock deeper insights with Patsnap Eureka Quick Research — get a full tech report to explore trends and direct your research. Try now!
Generate Your Research Report Instantly with AI Agent
Supercharge your innovation with Patsnap Eureka AI Agent Platform!