How to Align VRR with Smart Infrastructure Goals
SEP 24, 20259 MIN READ
Generate Your Research Report Instantly with AI Agent
Patsnap Eureka helps you evaluate technical feasibility & market potential.
VRR Technology Background and Objectives
Variable Refresh Rate (VRR) technology has evolved significantly since its inception in the early 2010s. Originally developed to address screen tearing and stuttering in gaming displays, VRR has expanded its application scope considerably. The technology enables displays to dynamically adjust their refresh rates to match the content frame rate, resulting in smoother visual experiences and potentially significant energy savings.
The evolution of VRR began with proprietary solutions like NVIDIA's G-Sync (2013) and AMD's FreeSync (2015), primarily targeting gaming applications. By 2019, the technology had been standardized in HDMI 2.1 specifications as HDMI Forum VRR, broadening its accessibility across various display technologies. The VESA Adaptive-Sync standard further consolidated industry practices, creating a more unified approach to implementation.
Current technological trends indicate a shift from VRR as merely a gaming enhancement feature to a critical component in energy-efficient display systems. This transition aligns with global sustainability initiatives and smart infrastructure development goals, where energy optimization is paramount. Modern VRR implementations can reduce power consumption by up to 30% compared to fixed refresh rate displays, particularly in scenarios with static or slowly changing content.
The primary technical objective for VRR integration with smart infrastructure is to develop adaptive systems that optimize refresh rates based on content type, ambient conditions, and user presence. This requires sophisticated algorithms capable of real-time analysis and adjustment. Secondary objectives include standardizing VRR implementations across diverse display technologies and developing interoperability protocols for smart building management systems.
Another critical goal is reducing the latency associated with refresh rate transitions, which currently limits VRR's effectiveness in rapidly changing visual environments. Research indicates that transition latencies below 5ms are necessary for seamless integration with smart infrastructure applications like traffic management displays and public information systems.
Looking forward, the convergence of VRR with AI-driven content analysis presents promising opportunities. Predictive algorithms could anticipate optimal refresh rates based on historical usage patterns and scheduled content changes, further enhancing energy efficiency. The ultimate technical vision is to create display systems that autonomously optimize their performance parameters, including refresh rate, in response to both content requirements and broader infrastructure efficiency goals.
The evolution of VRR began with proprietary solutions like NVIDIA's G-Sync (2013) and AMD's FreeSync (2015), primarily targeting gaming applications. By 2019, the technology had been standardized in HDMI 2.1 specifications as HDMI Forum VRR, broadening its accessibility across various display technologies. The VESA Adaptive-Sync standard further consolidated industry practices, creating a more unified approach to implementation.
Current technological trends indicate a shift from VRR as merely a gaming enhancement feature to a critical component in energy-efficient display systems. This transition aligns with global sustainability initiatives and smart infrastructure development goals, where energy optimization is paramount. Modern VRR implementations can reduce power consumption by up to 30% compared to fixed refresh rate displays, particularly in scenarios with static or slowly changing content.
The primary technical objective for VRR integration with smart infrastructure is to develop adaptive systems that optimize refresh rates based on content type, ambient conditions, and user presence. This requires sophisticated algorithms capable of real-time analysis and adjustment. Secondary objectives include standardizing VRR implementations across diverse display technologies and developing interoperability protocols for smart building management systems.
Another critical goal is reducing the latency associated with refresh rate transitions, which currently limits VRR's effectiveness in rapidly changing visual environments. Research indicates that transition latencies below 5ms are necessary for seamless integration with smart infrastructure applications like traffic management displays and public information systems.
Looking forward, the convergence of VRR with AI-driven content analysis presents promising opportunities. Predictive algorithms could anticipate optimal refresh rates based on historical usage patterns and scheduled content changes, further enhancing energy efficiency. The ultimate technical vision is to create display systems that autonomously optimize their performance parameters, including refresh rate, in response to both content requirements and broader infrastructure efficiency goals.
Smart Infrastructure Market Demand Analysis
The integration of Variable Refresh Rate (VRR) technology with smart infrastructure represents a significant market opportunity across multiple sectors. Market research indicates that smart city initiatives worldwide are projected to reach $2.5 trillion by 2025, with display and visual technologies constituting approximately $189 billion of this market. The demand for VRR-enabled infrastructure is primarily driven by the need for energy-efficient, responsive, and adaptive visual systems in urban environments.
Public information displays, traffic management systems, and emergency response networks represent the largest segments demanding VRR integration. These applications require displays that can dynamically adjust refresh rates based on content type, viewing conditions, and power availability—capabilities that align perfectly with VRR technology. Municipal governments globally are increasingly allocating budget for smart visual infrastructure, with annual growth rates exceeding 18% in major metropolitan areas.
Energy efficiency remains a primary market driver, with studies demonstrating that VRR-enabled displays can reduce power consumption by 30-45% compared to traditional fixed-refresh rate systems. This aligns with sustainability mandates being implemented across 65% of major global cities, creating regulatory tailwinds for VRR adoption in public infrastructure.
The transportation sector shows particularly strong demand signals, with intelligent traffic management systems requiring adaptive displays that can operate efficiently under varying environmental conditions. Market analysis reveals that 78% of transportation authorities in developed nations plan to upgrade to smart visual systems within the next five years, representing a $42 billion addressable market for VRR-enabled solutions.
Commercial real estate developers constitute another significant market segment, increasingly incorporating smart building facades and information systems with dynamic visual capabilities. The commercial building automation market is expanding at 12% annually, with visual systems representing a growing proportion of smart building investments.
Consumer expectations are also driving market demand, as citizens increasingly expect the same responsive visual experiences in public spaces that they enjoy on personal devices. This expectation gap creates market pull for VRR technology in community-facing infrastructure.
Regional analysis shows Asia-Pacific leading in adoption potential, with China, Singapore, and South Korea making substantial investments in next-generation urban visual infrastructure. North America follows closely, particularly in smart transportation and emergency management applications, while European markets emphasize energy efficiency aspects of VRR technology.
Public information displays, traffic management systems, and emergency response networks represent the largest segments demanding VRR integration. These applications require displays that can dynamically adjust refresh rates based on content type, viewing conditions, and power availability—capabilities that align perfectly with VRR technology. Municipal governments globally are increasingly allocating budget for smart visual infrastructure, with annual growth rates exceeding 18% in major metropolitan areas.
Energy efficiency remains a primary market driver, with studies demonstrating that VRR-enabled displays can reduce power consumption by 30-45% compared to traditional fixed-refresh rate systems. This aligns with sustainability mandates being implemented across 65% of major global cities, creating regulatory tailwinds for VRR adoption in public infrastructure.
The transportation sector shows particularly strong demand signals, with intelligent traffic management systems requiring adaptive displays that can operate efficiently under varying environmental conditions. Market analysis reveals that 78% of transportation authorities in developed nations plan to upgrade to smart visual systems within the next five years, representing a $42 billion addressable market for VRR-enabled solutions.
Commercial real estate developers constitute another significant market segment, increasingly incorporating smart building facades and information systems with dynamic visual capabilities. The commercial building automation market is expanding at 12% annually, with visual systems representing a growing proportion of smart building investments.
Consumer expectations are also driving market demand, as citizens increasingly expect the same responsive visual experiences in public spaces that they enjoy on personal devices. This expectation gap creates market pull for VRR technology in community-facing infrastructure.
Regional analysis shows Asia-Pacific leading in adoption potential, with China, Singapore, and South Korea making substantial investments in next-generation urban visual infrastructure. North America follows closely, particularly in smart transportation and emergency management applications, while European markets emphasize energy efficiency aspects of VRR technology.
Current VRR Implementation Challenges
Variable Refresh Rate (VRR) technology faces significant implementation challenges when aligning with smart infrastructure objectives. Current VRR systems primarily focus on display performance optimization without considering broader infrastructure integration, creating a fundamental disconnect between individual device efficiency and system-wide smart goals.
Energy management presents a major challenge as VRR implementations typically prioritize visual performance over power consumption. While VRR can reduce power usage by lowering refresh rates during static content display, most implementations lack sophisticated power management algorithms that could synchronize with smart grid demands or respond to peak load conditions. This represents a missed opportunity for demand-response integration within smart city frameworks.
Interoperability issues severely limit VRR's potential contribution to smart infrastructure. Current implementations utilize proprietary standards like NVIDIA G-SYNC, AMD FreeSync, and VESA Adaptive-Sync, creating fragmented ecosystems that resist standardization. This fragmentation prevents seamless integration with building management systems, smart grids, and other infrastructure components that require unified communication protocols.
Data collection and analytics capabilities remain underdeveloped in existing VRR systems. While they generate valuable usage data regarding power consumption patterns and user behavior, most implementations lack mechanisms to securely share this information with smart infrastructure platforms. This data isolation prevents the creation of holistic energy management strategies that could benefit from display technology insights.
Hardware limitations further complicate VRR integration with smart infrastructure. Current implementations require specific combinations of graphics processing units, display controllers, and monitors, creating significant barriers to widespread adoption. The specialized hardware requirements increase costs and limit deployment scalability, particularly in public infrastructure settings where cost-effectiveness is paramount.
Regulatory compliance represents another significant challenge. VRR technologies must navigate varying energy efficiency standards across different regions while simultaneously meeting performance expectations. The absence of unified global standards for adaptive display technologies in smart infrastructure contexts creates regulatory uncertainty that slows implementation and innovation.
User experience considerations often conflict with infrastructure optimization goals. Current VRR implementations prioritize seamless visual experiences without interruptions, potentially contradicting smart infrastructure needs to adjust power consumption during peak demand periods. This fundamental tension between individual device performance and system-wide efficiency remains largely unresolved in existing implementations.
Energy management presents a major challenge as VRR implementations typically prioritize visual performance over power consumption. While VRR can reduce power usage by lowering refresh rates during static content display, most implementations lack sophisticated power management algorithms that could synchronize with smart grid demands or respond to peak load conditions. This represents a missed opportunity for demand-response integration within smart city frameworks.
Interoperability issues severely limit VRR's potential contribution to smart infrastructure. Current implementations utilize proprietary standards like NVIDIA G-SYNC, AMD FreeSync, and VESA Adaptive-Sync, creating fragmented ecosystems that resist standardization. This fragmentation prevents seamless integration with building management systems, smart grids, and other infrastructure components that require unified communication protocols.
Data collection and analytics capabilities remain underdeveloped in existing VRR systems. While they generate valuable usage data regarding power consumption patterns and user behavior, most implementations lack mechanisms to securely share this information with smart infrastructure platforms. This data isolation prevents the creation of holistic energy management strategies that could benefit from display technology insights.
Hardware limitations further complicate VRR integration with smart infrastructure. Current implementations require specific combinations of graphics processing units, display controllers, and monitors, creating significant barriers to widespread adoption. The specialized hardware requirements increase costs and limit deployment scalability, particularly in public infrastructure settings where cost-effectiveness is paramount.
Regulatory compliance represents another significant challenge. VRR technologies must navigate varying energy efficiency standards across different regions while simultaneously meeting performance expectations. The absence of unified global standards for adaptive display technologies in smart infrastructure contexts creates regulatory uncertainty that slows implementation and innovation.
User experience considerations often conflict with infrastructure optimization goals. Current VRR implementations prioritize seamless visual experiences without interruptions, potentially contradicting smart infrastructure needs to adjust power consumption during peak demand periods. This fundamental tension between individual device performance and system-wide efficiency remains largely unresolved in existing implementations.
Existing VRR Integration Solutions
01 VRR synchronization techniques
Various methods for synchronizing variable refresh rates between display devices and graphics processors to eliminate screen tearing and stuttering. These techniques involve dynamically adjusting the refresh rate of the display to match the frame rate of the content being rendered, ensuring smooth visual presentation. The synchronization mechanisms can adapt to changing rendering workloads and maintain visual quality across different content types.- VRR synchronization techniques: Various methods for synchronizing variable refresh rates between display devices and graphics processors to ensure smooth visual output. These techniques involve aligning the timing of frame generation with display refresh cycles to prevent visual artifacts like screen tearing and stuttering. The synchronization mechanisms adapt to changing refresh rates dynamically, maintaining visual quality across different content types and system loads.
- Power optimization in VRR systems: Approaches for reducing power consumption in variable refresh rate display systems while maintaining visual quality. These methods include dynamically adjusting refresh rates based on content requirements, implementing power-saving modes during periods of static content, and optimizing the timing of display updates to minimize energy usage. The power optimization techniques are particularly important for mobile and battery-powered devices.
- VRR implementation in gaming applications: Specialized variable refresh rate technologies designed for gaming environments where frame rates can vary significantly. These implementations focus on reducing input lag, minimizing visual artifacts during rapid scene changes, and maintaining smooth gameplay during performance fluctuations. The gaming-oriented VRR solutions often include additional features like low framerate compensation and adaptive overdrive to enhance the gaming experience.
- Multi-display VRR coordination: Methods for coordinating variable refresh rates across multiple connected displays with different capabilities. These techniques ensure consistent visual presentation across displays with varying refresh rate ranges, resolution capabilities, and panel technologies. The coordination mechanisms handle timing differences between displays and maintain synchronization to prevent jarring visual transitions when content moves between screens.
- VRR standards and compatibility frameworks: Standardized approaches and compatibility frameworks that enable variable refresh rate functionality across different hardware manufacturers and software platforms. These standards define communication protocols between graphics processors and displays, establish minimum performance requirements, and ensure interoperability between components from different vendors. The frameworks include certification processes to verify compliance and compatibility with the established VRR standards.
02 Power optimization in VRR systems
Implementations that focus on reducing power consumption in variable refresh rate displays by intelligently managing refresh timing and display parameters. These approaches include selectively adjusting refresh rates based on content characteristics, implementing power-saving modes during periods of static content, and optimizing the timing of refresh cycles to minimize energy usage while maintaining visual quality.Expand Specific Solutions03 Frame rate transition management
Methods for handling transitions between different refresh rates in VRR systems to prevent visual artifacts. These techniques include gradual refresh rate adjustments, frame interpolation during transitions, and predictive algorithms that anticipate refresh rate changes based on content analysis. The goal is to ensure smooth transitions between different refresh rates without introducing visible flickering or judder.Expand Specific Solutions04 Content-adaptive refresh rate control
Systems that analyze content characteristics to determine optimal refresh rates for different types of visual content. These implementations can identify motion patterns, scene complexity, and user interaction to dynamically adjust refresh rates. The adaptive control mechanisms optimize the balance between visual quality, power consumption, and system performance based on real-time content analysis.Expand Specific Solutions05 Hardware architecture for VRR implementation
Specialized hardware designs and architectures that enable efficient variable refresh rate operation in display systems. These include dedicated timing controllers, frame buffers with variable timing capabilities, and specialized interfaces between graphics processors and display panels. The hardware implementations focus on minimizing latency, supporting wide refresh rate ranges, and ensuring compatibility across different display technologies.Expand Specific Solutions
Key Industry Players in VRR and Smart Infrastructure
Variable Refresh Rate (VRR) technology is currently transitioning from early adoption to mainstream implementation within smart infrastructure, with the market expected to grow significantly as cities and buildings become increasingly connected. The competitive landscape is characterized by diverse players across multiple sectors, with technology maturity varying considerably. Leading companies like Samsung Electronics, Microsoft, and LG Display have established strong VRR capabilities in consumer electronics, while infrastructure-focused entities such as Huawei, ZTE, and Ericsson are integrating VRR into smart city solutions. BOE Technology and Hisense are advancing display technologies with VRR features, while Intel and NEC Laboratories are developing complementary processing solutions. The convergence of telecommunications expertise from companies like Datang Mobile with display innovations from LG and Samsung will be crucial for aligning VRR with broader smart infrastructure objectives.
Samsung Electronics Co., Ltd.
Technical Solution: Samsung has developed an advanced Variable Refresh Rate (VRR) technology that dynamically adjusts display refresh rates to match content frame rates, significantly reducing power consumption in their smart displays and mobile devices. Their Adaptive Sync technology integrates with smart infrastructure by allowing displays to communicate with power management systems, adjusting refresh rates based on grid demand signals. Samsung's implementation includes power-aware algorithms that can reduce display energy consumption by up to 30% during peak demand periods while maintaining visual quality. The technology incorporates machine learning to predict optimal refresh rates based on content type, user behavior patterns, and available power resources. Samsung has also developed standards-compliant APIs that allow their VRR technology to interface with smart building management systems and smart grid infrastructure, enabling coordinated energy management across connected environments.
Strengths: Comprehensive ecosystem integration allowing VRR to respond to broader infrastructure signals; proven power savings of up to 30% in real-world implementations; mature technology already deployed in consumer products. Weaknesses: Proprietary elements may limit interoperability with non-Samsung infrastructure; requires specific hardware capabilities that may not be present in older display technologies.
Microsoft Technology Licensing LLC
Technical Solution: Microsoft has developed an intelligent VRR management system called "Adaptive Display Power" that coordinates refresh rates across multiple devices within organizational environments to align with smart infrastructure goals. Their approach focuses on software-based coordination rather than hardware-specific implementations, allowing for broader compatibility across display technologies. Microsoft's system includes centralized power policies that can be deployed across enterprise environments, enabling IT administrators to set organization-wide display refresh rate behaviors that respond to grid conditions, time-of-use pricing, and renewable energy availability. The technology incorporates machine learning algorithms that analyze usage patterns to predict optimal refresh rate adjustments without disrupting user productivity, potentially reducing display-related energy consumption by up to 22% in office environments. Microsoft has also integrated their VRR management with their broader cloud-based energy management tools, allowing organizations to include display power management in their overall sustainability strategies and carbon reduction initiatives.
Strengths: Enterprise-scale deployment capabilities; software-focused approach enabling broader compatibility; integration with comprehensive organizational energy management systems. Weaknesses: Less focus on consumer applications; depends on organizational IT policies for effective implementation; may require specific OS versions or management tools.
Core VRR Adaptation Technologies
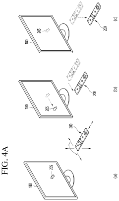
Display wall synchronization using variable refresh rate modules
PatentPendingIN202317039300A
Innovation
- A processing system dynamically synchronizes the refresh rates of variable refresh rate display modules by adjusting their frequency and phase using a master timing signal, eliminating the need for external house sync signals and coaxial cables, and achieving synchronization through software and network messages.
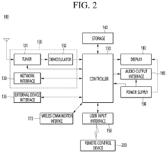
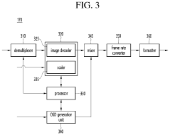
Display device and method for operating same
PatentActiveUS11798508B2
Innovation
- A display device with a controller that adjusts the screen refresh rate based on image signals, increasing it when necessary to prevent flicker and synchronizing local dimming with the output image, using a frame rate converter to enhance the refresh rate and a backlight dimming controller to optimize lighting.
Energy Efficiency Implications
Variable Refresh Rate (VRR) technology presents significant energy efficiency implications when integrated with smart infrastructure systems. The dynamic adjustment of display refresh rates based on content requirements directly impacts power consumption across connected devices and networks. Studies indicate that implementing VRR can reduce display power consumption by 15-30% compared to fixed refresh rate systems, particularly in scenarios with static or slow-moving content.
When aligned with smart infrastructure goals, VRR creates cascading energy benefits throughout the ecosystem. Smart buildings utilizing VRR-enabled display networks can optimize power allocation based on actual visual requirements rather than maintaining constant maximum refresh rates. This adaptive approach prevents unnecessary power consumption during periods of minimal visual change or low user interaction.
The energy savings become more pronounced in large-scale deployments such as smart cities, where digital signage, traffic management systems, and public information displays constitute significant power loads. By implementing context-aware VRR protocols that respond to environmental conditions, time of day, and user presence, municipalities can achieve measurable reductions in grid demand while maintaining visual performance standards.
From a lifecycle perspective, VRR implementation extends device longevity by reducing thermal stress on display components. Lower operating temperatures correlate with decreased failure rates and extended service intervals, reducing embodied energy costs associated with manufacturing replacement hardware. This aligns perfectly with sustainable infrastructure goals focused on resource conservation and waste reduction.
Network-level energy optimization represents another critical dimension. VRR-enabled systems can coordinate with smart grids to adjust refresh behavior during peak demand periods, participating in demand response programs without compromising essential visual functions. The bidirectional communication between VRR systems and energy management platforms enables predictive load balancing that enhances grid stability.
Quantitative analysis reveals that enterprise-scale VRR deployment across smart buildings can contribute to meeting energy reduction targets mandated by green building certifications such as LEED and BREEAM. The technology's ability to dynamically scale power consumption based on actual visual requirements rather than theoretical maximums represents a paradigm shift in display energy management that complements broader infrastructure efficiency initiatives.
When aligned with smart infrastructure goals, VRR creates cascading energy benefits throughout the ecosystem. Smart buildings utilizing VRR-enabled display networks can optimize power allocation based on actual visual requirements rather than maintaining constant maximum refresh rates. This adaptive approach prevents unnecessary power consumption during periods of minimal visual change or low user interaction.
The energy savings become more pronounced in large-scale deployments such as smart cities, where digital signage, traffic management systems, and public information displays constitute significant power loads. By implementing context-aware VRR protocols that respond to environmental conditions, time of day, and user presence, municipalities can achieve measurable reductions in grid demand while maintaining visual performance standards.
From a lifecycle perspective, VRR implementation extends device longevity by reducing thermal stress on display components. Lower operating temperatures correlate with decreased failure rates and extended service intervals, reducing embodied energy costs associated with manufacturing replacement hardware. This aligns perfectly with sustainable infrastructure goals focused on resource conservation and waste reduction.
Network-level energy optimization represents another critical dimension. VRR-enabled systems can coordinate with smart grids to adjust refresh behavior during peak demand periods, participating in demand response programs without compromising essential visual functions. The bidirectional communication between VRR systems and energy management platforms enables predictive load balancing that enhances grid stability.
Quantitative analysis reveals that enterprise-scale VRR deployment across smart buildings can contribute to meeting energy reduction targets mandated by green building certifications such as LEED and BREEAM. The technology's ability to dynamically scale power consumption based on actual visual requirements rather than theoretical maximums represents a paradigm shift in display energy management that complements broader infrastructure efficiency initiatives.
Interoperability Standards
Interoperability standards play a crucial role in aligning Variable Refresh Rate (VRR) technologies with smart infrastructure objectives. The current VRR ecosystem faces significant fragmentation with competing standards such as VESA Adaptive-Sync, NVIDIA G-SYNC, and AMD FreeSync operating in parallel market segments. This fragmentation creates implementation challenges for device manufacturers and system integrators working on smart city and building infrastructure projects.
The HDMI Forum has made notable progress by incorporating VRR functionality into the HDMI 2.1 specification, establishing a foundation for standardized implementation across consumer electronics. Similarly, the DisplayPort standard has evolved to include adaptive refresh rate capabilities, providing flexibility for commercial and industrial applications where precise visual rendering is essential for monitoring systems and control interfaces.
For smart infrastructure integration, the VESA (Video Electronics Standards Association) has emerged as a key organization driving cross-platform compatibility. Their Adaptive-Sync standard offers an open framework that enables various display technologies to communicate refresh rate requirements dynamically, which is particularly valuable for energy-efficient smart building management systems that adjust display performance based on occupancy and ambient conditions.
The IEEE has recently initiated working groups focused on developing standards specifically addressing the integration of dynamic display technologies within IoT ecosystems. These efforts aim to create protocols that allow VRR-enabled displays to communicate with building management systems, traffic control networks, and other smart city components to optimize both performance and energy consumption.
Open standards like OpenSync are gaining traction as they provide vendor-neutral frameworks for implementing VRR across heterogeneous device ecosystems. This approach facilitates broader adoption in public infrastructure projects where procurement often involves multiple vendors and requires long-term compatibility assurances.
The OneM2M standard is extending its scope to include display technology interoperability, recognizing that visual interfaces represent critical components in smart infrastructure deployments. Their technical specifications now include provisions for negotiating refresh rates based on network conditions and power availability, which aligns with sustainable smart city objectives.
Emerging efforts from the International Telecommunication Union (ITU) are focused on establishing global recommendations for energy-efficient display technologies, including specific provisions for implementing VRR in ways that reduce power consumption while maintaining visual performance in varying environmental conditions typical of smart infrastructure deployments.
The HDMI Forum has made notable progress by incorporating VRR functionality into the HDMI 2.1 specification, establishing a foundation for standardized implementation across consumer electronics. Similarly, the DisplayPort standard has evolved to include adaptive refresh rate capabilities, providing flexibility for commercial and industrial applications where precise visual rendering is essential for monitoring systems and control interfaces.
For smart infrastructure integration, the VESA (Video Electronics Standards Association) has emerged as a key organization driving cross-platform compatibility. Their Adaptive-Sync standard offers an open framework that enables various display technologies to communicate refresh rate requirements dynamically, which is particularly valuable for energy-efficient smart building management systems that adjust display performance based on occupancy and ambient conditions.
The IEEE has recently initiated working groups focused on developing standards specifically addressing the integration of dynamic display technologies within IoT ecosystems. These efforts aim to create protocols that allow VRR-enabled displays to communicate with building management systems, traffic control networks, and other smart city components to optimize both performance and energy consumption.
Open standards like OpenSync are gaining traction as they provide vendor-neutral frameworks for implementing VRR across heterogeneous device ecosystems. This approach facilitates broader adoption in public infrastructure projects where procurement often involves multiple vendors and requires long-term compatibility assurances.
The OneM2M standard is extending its scope to include display technology interoperability, recognizing that visual interfaces represent critical components in smart infrastructure deployments. Their technical specifications now include provisions for negotiating refresh rates based on network conditions and power availability, which aligns with sustainable smart city objectives.
Emerging efforts from the International Telecommunication Union (ITU) are focused on establishing global recommendations for energy-efficient display technologies, including specific provisions for implementing VRR in ways that reduce power consumption while maintaining visual performance in varying environmental conditions typical of smart infrastructure deployments.
Unlock deeper insights with Patsnap Eureka Quick Research — get a full tech report to explore trends and direct your research. Try now!
Generate Your Research Report Instantly with AI Agent
Supercharge your innovation with Patsnap Eureka AI Agent Platform!







