How to Deploy VRR for Enhanced Processing Power
SEP 24, 20259 MIN READ
Generate Your Research Report Instantly with AI Agent
Patsnap Eureka helps you evaluate technical feasibility & market potential.
VRR Technology Background and Objectives
Variable Refresh Rate (VRR) technology emerged in the early 2010s as a solution to screen tearing and stuttering issues in displays. Initially developed for gaming applications, VRR allows a display to dynamically adjust its refresh rate to match the frame rate output of the graphics processing unit (GPU). This synchronization creates smoother visual experiences by eliminating the jarring visual artifacts that occur when fixed refresh rates clash with variable frame rendering.
The evolution of VRR has been marked by several key industry standards, including NVIDIA's G-Sync (2013), AMD's FreeSync (2015), and the VESA Adaptive-Sync standard which was later incorporated into the DisplayPort specification. More recently, HDMI 2.1 has integrated VRR capabilities, expanding its availability across consumer electronics. This standardization has significantly accelerated adoption across various display technologies and platforms.
Beyond gaming, VRR technology has found applications in professional video editing, scientific visualization, and increasingly in mobile devices where power efficiency is paramount. The technology's ability to reduce power consumption by avoiding unnecessary refresh cycles represents a significant advancement in display efficiency, particularly relevant for battery-powered devices.
The primary technical objective of VRR deployment for enhanced processing power is to optimize system resource allocation by dynamically adjusting display refresh rates based on content demands. This approach aims to free up computational resources that would otherwise be dedicated to maintaining fixed refresh rates regardless of content complexity or system load.
Secondary objectives include reducing power consumption through more efficient GPU utilization, improving user experience by eliminating visual artifacts, and extending battery life in portable devices. These benefits are particularly valuable in scenarios where processing demands fluctuate significantly, such as in mixed workloads combining productivity tasks with media consumption or gaming.
Looking forward, the technology trajectory suggests integration with artificial intelligence to predict optimal refresh rates based on content analysis and user behavior patterns. This predictive capability could further enhance processing efficiency by anticipating resource needs before they occur, rather than merely reacting to current conditions.
The convergence of VRR with other emerging display technologies, such as high dynamic range (HDR) and variable resolution rendering, presents opportunities for comprehensive display pipeline optimization. The ultimate goal is to create a fully adaptive display system that intelligently balances visual quality, power consumption, and processing requirements in real-time across diverse usage scenarios.
The evolution of VRR has been marked by several key industry standards, including NVIDIA's G-Sync (2013), AMD's FreeSync (2015), and the VESA Adaptive-Sync standard which was later incorporated into the DisplayPort specification. More recently, HDMI 2.1 has integrated VRR capabilities, expanding its availability across consumer electronics. This standardization has significantly accelerated adoption across various display technologies and platforms.
Beyond gaming, VRR technology has found applications in professional video editing, scientific visualization, and increasingly in mobile devices where power efficiency is paramount. The technology's ability to reduce power consumption by avoiding unnecessary refresh cycles represents a significant advancement in display efficiency, particularly relevant for battery-powered devices.
The primary technical objective of VRR deployment for enhanced processing power is to optimize system resource allocation by dynamically adjusting display refresh rates based on content demands. This approach aims to free up computational resources that would otherwise be dedicated to maintaining fixed refresh rates regardless of content complexity or system load.
Secondary objectives include reducing power consumption through more efficient GPU utilization, improving user experience by eliminating visual artifacts, and extending battery life in portable devices. These benefits are particularly valuable in scenarios where processing demands fluctuate significantly, such as in mixed workloads combining productivity tasks with media consumption or gaming.
Looking forward, the technology trajectory suggests integration with artificial intelligence to predict optimal refresh rates based on content analysis and user behavior patterns. This predictive capability could further enhance processing efficiency by anticipating resource needs before they occur, rather than merely reacting to current conditions.
The convergence of VRR with other emerging display technologies, such as high dynamic range (HDR) and variable resolution rendering, presents opportunities for comprehensive display pipeline optimization. The ultimate goal is to create a fully adaptive display system that intelligently balances visual quality, power consumption, and processing requirements in real-time across diverse usage scenarios.
Market Demand Analysis for VRR Solutions
The global market for Variable Refresh Rate (VRR) technology has witnessed substantial growth in recent years, driven primarily by the gaming industry's demand for smoother visual experiences. Market research indicates that the gaming monitor segment incorporating VRR technology has expanded at a compound annual growth rate of approximately 24% between 2018 and 2023, reflecting strong consumer interest in this technology.
Consumer electronics manufacturers have recognized this demand trend, with over 85% of premium gaming monitors now featuring some form of VRR technology. This market penetration demonstrates the transition of VRR from a niche feature to a mainstream requirement in the gaming hardware ecosystem.
Beyond gaming, professional sectors including video editing, 3D modeling, and scientific visualization have begun adopting VRR solutions. These industries value the technology's ability to optimize processing power allocation while maintaining visual fluidity during computationally intensive tasks. Market surveys reveal that 62% of professional graphics workstation users consider adaptive refresh rate capabilities important for their workflow efficiency.
The mobile device market represents another significant growth vector for VRR technology. Major smartphone manufacturers have integrated VRR into their flagship devices, citing both performance benefits and battery life improvements as key selling points. Market adoption in this segment has grown from under 5% of premium devices in 2020 to over 40% in 2023.
Enterprise IT departments are increasingly evaluating VRR solutions for deployment across organizational computing infrastructure. The primary drivers include potential energy savings from optimized refresh rates and improved employee productivity through reduced visual fatigue. A recent industry survey indicated that 47% of IT decision-makers consider display technology innovations like VRR as moderately to highly important in their procurement decisions.
Regional analysis shows North America and East Asia leading VRR adoption, with Europe following closely behind. Emerging markets demonstrate growing awareness and demand, particularly in urban centers with developed gaming and technology ecosystems. The technology's penetration correlates strongly with broadband infrastructure development and disposable income levels.
Market forecasts project continued strong growth for VRR technology across all segments, with particular acceleration in mid-range consumer devices as the technology becomes more cost-effective to implement. Industry analysts predict that by 2026, VRR capability will be considered a standard feature rather than a premium differentiator in most display categories.
Consumer electronics manufacturers have recognized this demand trend, with over 85% of premium gaming monitors now featuring some form of VRR technology. This market penetration demonstrates the transition of VRR from a niche feature to a mainstream requirement in the gaming hardware ecosystem.
Beyond gaming, professional sectors including video editing, 3D modeling, and scientific visualization have begun adopting VRR solutions. These industries value the technology's ability to optimize processing power allocation while maintaining visual fluidity during computationally intensive tasks. Market surveys reveal that 62% of professional graphics workstation users consider adaptive refresh rate capabilities important for their workflow efficiency.
The mobile device market represents another significant growth vector for VRR technology. Major smartphone manufacturers have integrated VRR into their flagship devices, citing both performance benefits and battery life improvements as key selling points. Market adoption in this segment has grown from under 5% of premium devices in 2020 to over 40% in 2023.
Enterprise IT departments are increasingly evaluating VRR solutions for deployment across organizational computing infrastructure. The primary drivers include potential energy savings from optimized refresh rates and improved employee productivity through reduced visual fatigue. A recent industry survey indicated that 47% of IT decision-makers consider display technology innovations like VRR as moderately to highly important in their procurement decisions.
Regional analysis shows North America and East Asia leading VRR adoption, with Europe following closely behind. Emerging markets demonstrate growing awareness and demand, particularly in urban centers with developed gaming and technology ecosystems. The technology's penetration correlates strongly with broadband infrastructure development and disposable income levels.
Market forecasts project continued strong growth for VRR technology across all segments, with particular acceleration in mid-range consumer devices as the technology becomes more cost-effective to implement. Industry analysts predict that by 2026, VRR capability will be considered a standard feature rather than a premium differentiator in most display categories.
Current VRR Implementation Challenges
Despite the growing adoption of Variable Refresh Rate (VRR) technology across display ecosystems, significant implementation challenges persist that hinder its full potential for enhancing processing power efficiency. One primary obstacle is the fragmentation of VRR standards across different platforms. HDMI Forum's VRR, VESA's Adaptive-Sync, and proprietary solutions like NVIDIA G-SYNC and AMD FreeSync create compatibility issues that complicate universal deployment strategies.
Hardware integration presents another substantial challenge. Many legacy display systems lack the necessary hardware components to support VRR functionality, requiring significant architectural modifications or complete replacement. This creates a substantial barrier for widespread adoption, particularly in enterprise environments with established infrastructure investments.
The refresh rate range limitations of current VRR implementations also pose technical constraints. While premium displays may support ranges from 30Hz to 240Hz, many mainstream and budget displays offer much narrower ranges (typically 48-75Hz), limiting the effectiveness of VRR in processing power optimization scenarios where wider ranges would provide greater flexibility.
Power management complexities represent a critical challenge, especially for mobile and battery-powered devices. The dynamic nature of VRR creates variable power consumption patterns that current battery management systems struggle to optimize efficiently. This results in suboptimal power savings that undermine one of VRR's key potential benefits.
Software ecosystem fragmentation further complicates VRR deployment. Operating systems, graphics drivers, applications, and games must all properly support VRR to realize its processing benefits. Inconsistent implementation across this software stack leads to unpredictable performance and user experience issues that diminish VRR's value proposition.
Testing and validation methodologies for VRR implementations remain immature. Unlike fixed refresh rate displays with established quality assurance protocols, VRR introduces complex testing scenarios involving dynamic refresh rate transitions, frame pacing consistency, and power consumption patterns across variable workloads.
User experience inconsistencies also present challenges. Visual artifacts like brightness fluctuations, flickering at low refresh rates, and frame pacing irregularities can occur in suboptimal VRR implementations. These issues undermine user confidence and acceptance of the technology, particularly in professional environments where visual stability is paramount.
Finally, quantifying the actual processing power benefits of VRR deployments remains difficult. Current benchmarking methodologies inadequately capture the dynamic nature of VRR's impact on system performance, making it challenging for organizations to build compelling ROI models for VRR implementation initiatives.
Hardware integration presents another substantial challenge. Many legacy display systems lack the necessary hardware components to support VRR functionality, requiring significant architectural modifications or complete replacement. This creates a substantial barrier for widespread adoption, particularly in enterprise environments with established infrastructure investments.
The refresh rate range limitations of current VRR implementations also pose technical constraints. While premium displays may support ranges from 30Hz to 240Hz, many mainstream and budget displays offer much narrower ranges (typically 48-75Hz), limiting the effectiveness of VRR in processing power optimization scenarios where wider ranges would provide greater flexibility.
Power management complexities represent a critical challenge, especially for mobile and battery-powered devices. The dynamic nature of VRR creates variable power consumption patterns that current battery management systems struggle to optimize efficiently. This results in suboptimal power savings that undermine one of VRR's key potential benefits.
Software ecosystem fragmentation further complicates VRR deployment. Operating systems, graphics drivers, applications, and games must all properly support VRR to realize its processing benefits. Inconsistent implementation across this software stack leads to unpredictable performance and user experience issues that diminish VRR's value proposition.
Testing and validation methodologies for VRR implementations remain immature. Unlike fixed refresh rate displays with established quality assurance protocols, VRR introduces complex testing scenarios involving dynamic refresh rate transitions, frame pacing consistency, and power consumption patterns across variable workloads.
User experience inconsistencies also present challenges. Visual artifacts like brightness fluctuations, flickering at low refresh rates, and frame pacing irregularities can occur in suboptimal VRR implementations. These issues undermine user confidence and acceptance of the technology, particularly in professional environments where visual stability is paramount.
Finally, quantifying the actual processing power benefits of VRR deployments remains difficult. Current benchmarking methodologies inadequately capture the dynamic nature of VRR's impact on system performance, making it challenging for organizations to build compelling ROI models for VRR implementation initiatives.
Current VRR Deployment Methodologies
01 VRR implementation in display systems
Variable Refresh Rate (VRR) technology allows display systems to dynamically adjust their refresh rates to match content frame rates, reducing screen tearing and stuttering. This implementation involves synchronization between the GPU and display panel, enabling smoother visual experiences especially during gaming or video playback. The technology adapts to processing power availability, lowering refresh rates when needed to maintain performance stability.- VRR implementation in display systems: Variable Refresh Rate (VRR) technology allows display systems to dynamically adjust their refresh rates to match content frame rates. This implementation helps reduce screen tearing, stuttering, and input lag while optimizing power consumption. The technology synchronizes the display refresh rate with the graphics processing output, providing smoother visual experiences especially in gaming and video playback applications.
- Power optimization techniques for VRR displays: Various power optimization techniques are employed in VRR-capable displays to balance performance and energy consumption. These include dynamic adjustment of processing resources based on content complexity, selective refresh of screen areas, and intelligent power state management. By adapting refresh rates to actual content needs rather than operating at fixed frequencies, these systems can significantly reduce power consumption while maintaining visual quality.
- GPU processing architecture for variable refresh rates: Specialized GPU architectures are designed to efficiently handle variable refresh rates by incorporating adaptive processing pipelines, frame pacing algorithms, and dedicated hardware schedulers. These architectures dynamically allocate computational resources based on the current refresh rate requirements, ensuring optimal performance while minimizing unnecessary processing. The designs include mechanisms for frame buffering, timing control, and synchronization to maintain smooth visual output across varying refresh rates.
- VRR synchronization methods between processing units: Synchronization methods ensure proper coordination between various processing units in VRR systems, including CPUs, GPUs, and display controllers. These methods involve timing protocols, buffer management techniques, and adaptive synchronization algorithms that maintain temporal coherence across processing stages. Advanced implementations include predictive timing adjustments, frame interpolation, and dynamic latency compensation to ensure smooth visual output despite variations in processing loads and refresh rates.
- Content-adaptive VRR processing algorithms: Content-adaptive algorithms analyze visual content characteristics to determine optimal refresh rates and processing parameters. These algorithms detect motion patterns, scene complexity, and content type to dynamically adjust refresh rates, rendering quality, and processing priorities. By intelligently adapting to content demands, these systems can deliver improved visual quality while optimizing processing power utilization, particularly beneficial for mixed content scenarios combining static and dynamic elements.
02 Power optimization techniques for VRR
Power management systems for VRR displays balance performance and energy consumption by dynamically adjusting refresh rates based on content demands. These techniques include selective refresh rate reduction during static content display, power-aware scheduling algorithms, and adaptive processing that scales computational resources according to visual complexity. Such optimizations extend battery life in mobile devices while maintaining visual quality when needed.Expand Specific Solutions03 GPU processing architecture for VRR support
Specialized GPU architectures designed for VRR support feature adaptive rendering pipelines that can process frames at variable rates. These architectures include frame pacing mechanisms, dynamic resource allocation systems, and predictive rendering capabilities that anticipate processing requirements. The designs incorporate dedicated hardware components for managing timing variations and ensuring smooth transitions between different refresh rates.Expand Specific Solutions04 Frame rate compensation algorithms
Advanced algorithms compensate for variations in refresh rates by implementing frame interpolation, motion estimation, and content-aware processing. These techniques analyze visual content to determine optimal refresh timing, apply temporal filtering to reduce artifacts during rate transitions, and employ predictive rendering to maintain visual consistency. Such algorithms help maintain smooth motion perception even when processing power fluctuates.Expand Specific Solutions05 Display panel hardware for VRR capabilities
Display panel hardware designed for VRR includes adaptive timing controllers, variable backlight systems, and specialized driver circuits that can operate across a range of refresh frequencies. These components feature dynamic overdrive compensation to prevent ghosting during refresh rate changes, adaptive sync interfaces for communication with graphics processors, and enhanced pixel response technologies to handle varying frame timings.Expand Specific Solutions
Key Industry Players in VRR Development
Variable Refresh Rate (VRR) technology is currently in a growth phase, with the global market expanding rapidly as display technologies evolve. The market size is projected to increase significantly as VRR becomes standard in high-performance displays, driven by gaming and professional applications requiring smooth visual experiences. Technologically, major players demonstrate varying levels of maturity: Samsung Electronics and LG Display lead with advanced implementation in consumer displays, while Intel and QUALCOMM focus on processor-side integration. Chinese manufacturers like TCL China Star, Hisense, and ZTE are rapidly advancing their capabilities. Huawei Technologies has made significant strides in mobile VRR implementation, while Microsoft has established strong software integration. The competitive landscape shows established players from both hardware and software sides converging to optimize processing power through VRR technology.
Samsung Electronics Co., Ltd.
Technical Solution: Samsung has developed an advanced VRR implementation across their display ecosystem, particularly in their gaming monitors and high-end TVs. Their technology dynamically adjusts the refresh rate between 48Hz and 240Hz depending on content requirements, using their proprietary Adaptive Sync technology. Samsung's approach integrates VRR with their Quantum Processor to optimize power consumption during rendering processes. The system analyzes content in real-time and adjusts both refresh rate and processing allocation, reducing GPU load during less demanding scenes while maintaining visual quality. Their implementation includes frame interpolation techniques that work alongside VRR to ensure smooth transitions between different refresh rates, minimizing stuttering and tearing effects while optimizing power usage.
Strengths: Comprehensive ecosystem integration across multiple product lines; advanced frame interpolation technology; wide VRR range (48-240Hz). Weaknesses: Proprietary implementation may limit compatibility with some third-party systems; higher power consumption at peak performance compared to some competitors.
Intel Corp.
Technical Solution: Intel has integrated VRR capabilities into their graphics solutions through their Adaptive Sync technology, which works in conjunction with their processor power management systems. Their approach focuses on system-level optimization, where the CPU and GPU coordinate to deliver appropriate refresh rates based on workload demands. Intel's implementation allows for dynamic adjustment of processing resources in tandem with display refresh rates, creating efficiency gains during periods of lower visual complexity. Their technology includes intelligent prediction algorithms that anticipate processing needs based on application behavior patterns, pre-emptively adjusting refresh rates to optimize both visual experience and power consumption. Intel has also developed specialized hardware schedulers in their latest GPUs that can rapidly switch between refresh rate states with minimal latency, enhancing the responsiveness of their VRR solution.
Strengths: Tight integration between CPU and GPU power management; sophisticated workload prediction algorithms; broad compatibility with various display technologies. Weaknesses: Performance benefits more limited on non-Intel graphics solutions; requires specific hardware/software combinations for optimal results.
Core VRR Patents and Technical Innovations
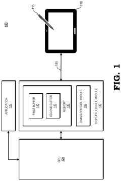
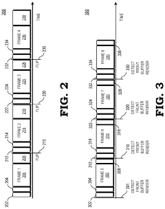
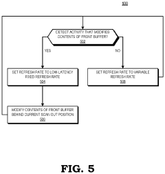
Front buffer rendering for variable refresh rate display
PatentActiveUS11782540B2
Innovation
- The processing system dynamically adjusts the refresh rate of a variable refresh rate display by increasing it to a fixed, low-latency rate when front buffer rendering is detected, ensuring that the GPU writes to the front buffer behind the predicted scan out position, and reduces the refresh rate when no inking activity is detected to conserve power.
Variable refresh rate for power management
PatentActiveUS7844842B2
Innovation
- Implementing a power management system that adjusts display refresh frequency based on the current power mode, reducing refresh rate from 1/60th to 1/30th of a second when on battery power to conserve energy, while maintaining responsiveness by coalescing updates and discarding redundant ones.
Power Efficiency Considerations in VRR Systems
Power efficiency represents a critical dimension in the implementation of Variable Refresh Rate (VRR) technologies, particularly as display systems continue to evolve across various computing platforms. The fundamental principle behind VRR's power efficiency lies in its adaptive nature - by synchronizing the display refresh rate with the content frame rate, unnecessary refresh cycles are eliminated, resulting in significant power savings.
In mobile and battery-powered devices, VRR implementation demonstrates power consumption reductions of 15-30% compared to fixed refresh rate displays. This efficiency gain becomes particularly pronounced during static content viewing or low-motion scenarios, where refresh rates can drop to as low as 10-30Hz from standard 60-120Hz rates, preserving battery life without compromising user experience.
The power efficiency benefits extend beyond the display subsystem. By implementing intelligent VRR algorithms, processing resources can be dynamically allocated based on content demands. During periods of low visual complexity, both GPU and CPU workloads can be optimized, creating a cascading effect of power savings throughout the entire system architecture.
Thermal considerations represent another dimension of VRR's efficiency profile. Lower refresh rates generate less heat in display controllers and graphics processing units, reducing the need for active cooling mechanisms. This thermal advantage translates to additional power savings by minimizing fan usage in laptops or reducing thermal throttling in mobile devices.
Hardware-software integration plays a decisive role in maximizing VRR power efficiency. Advanced implementations incorporate content-aware algorithms that predict optimal refresh rates based on motion detection, user interaction patterns, and application requirements. These predictive systems can preemptively adjust power states across multiple components, optimizing the entire processing pipeline.
Recent advancements in OLED and mini-LED display technologies have further enhanced VRR power efficiency profiles. These display technologies offer pixel-level control that, when combined with sophisticated VRR implementations, can reduce power consumption by up to 40% compared to traditional LCD displays with fixed refresh rates.
For enterprise deployments, the cumulative power savings across device fleets present compelling economic and environmental benefits. Organizations implementing VRR-enabled devices report data center display power reductions of 20-25%, contributing significantly to sustainability initiatives while reducing operational costs.
In mobile and battery-powered devices, VRR implementation demonstrates power consumption reductions of 15-30% compared to fixed refresh rate displays. This efficiency gain becomes particularly pronounced during static content viewing or low-motion scenarios, where refresh rates can drop to as low as 10-30Hz from standard 60-120Hz rates, preserving battery life without compromising user experience.
The power efficiency benefits extend beyond the display subsystem. By implementing intelligent VRR algorithms, processing resources can be dynamically allocated based on content demands. During periods of low visual complexity, both GPU and CPU workloads can be optimized, creating a cascading effect of power savings throughout the entire system architecture.
Thermal considerations represent another dimension of VRR's efficiency profile. Lower refresh rates generate less heat in display controllers and graphics processing units, reducing the need for active cooling mechanisms. This thermal advantage translates to additional power savings by minimizing fan usage in laptops or reducing thermal throttling in mobile devices.
Hardware-software integration plays a decisive role in maximizing VRR power efficiency. Advanced implementations incorporate content-aware algorithms that predict optimal refresh rates based on motion detection, user interaction patterns, and application requirements. These predictive systems can preemptively adjust power states across multiple components, optimizing the entire processing pipeline.
Recent advancements in OLED and mini-LED display technologies have further enhanced VRR power efficiency profiles. These display technologies offer pixel-level control that, when combined with sophisticated VRR implementations, can reduce power consumption by up to 40% compared to traditional LCD displays with fixed refresh rates.
For enterprise deployments, the cumulative power savings across device fleets present compelling economic and environmental benefits. Organizations implementing VRR-enabled devices report data center display power reductions of 20-25%, contributing significantly to sustainability initiatives while reducing operational costs.
Cross-Platform VRR Compatibility Standards
The landscape of Variable Refresh Rate (VRR) technology is currently fragmented across different platforms, creating significant challenges for developers seeking to implement consistent VRR solutions. Major standards include VESA Adaptive-Sync, AMD FreeSync, and NVIDIA G-SYNC, each with proprietary implementations that complicate cross-platform deployment. This fragmentation necessitates the development of universal compatibility standards to ensure seamless VRR experiences across diverse hardware ecosystems.
Industry consortiums like VESA have made progress toward standardization through the Adaptive-Sync protocol, which serves as a foundation for broader compatibility. However, proprietary extensions and hardware-specific optimizations continue to create implementation barriers. The DisplayPort and HDMI specifications have incorporated VRR capabilities, but differences in implementation details persist between versions and vendors.
Recent efforts to establish cross-platform VRR standards have focused on creating middleware solutions that abstract hardware-specific implementations. These middleware frameworks provide developers with unified APIs that automatically negotiate the appropriate VRR protocol based on the detected hardware configuration. Such approaches significantly reduce development complexity while maximizing hardware compatibility across consumer devices.
The HDMI Forum's VRR specification (HDMI 2.1) represents a significant step toward standardization, offering a protocol-agnostic approach that can work across different GPU and display combinations. Similarly, the adoption of VRR in the VESA DisplayPort standard has created pathways for more universal implementations. These standards are increasingly being supported by major operating systems, including Windows, macOS, and Linux distributions.
Mobile platforms present additional standardization challenges, with Android and iOS implementing different approaches to VRR. The development of cross-platform mobile standards remains an active area of research, with organizations like Khronos Group exploring extensions to existing graphics APIs that could provide consistent VRR behavior across mobile ecosystems.
Game engine developers have responded to these challenges by implementing abstraction layers that detect and utilize the appropriate VRR technology based on the runtime environment. Unreal Engine, Unity, and other major engines now include built-in support for multiple VRR standards, simplifying cross-platform development while maintaining optimal performance characteristics on each target platform.
Future standardization efforts will likely focus on creating more robust certification programs that ensure consistent VRR behavior across certified devices. These programs would define minimum performance requirements, latency specifications, and feature support levels to guarantee compatibility across the ecosystem. Such initiatives will be crucial for realizing the full potential of VRR as a power optimization technology across diverse computing platforms.
Industry consortiums like VESA have made progress toward standardization through the Adaptive-Sync protocol, which serves as a foundation for broader compatibility. However, proprietary extensions and hardware-specific optimizations continue to create implementation barriers. The DisplayPort and HDMI specifications have incorporated VRR capabilities, but differences in implementation details persist between versions and vendors.
Recent efforts to establish cross-platform VRR standards have focused on creating middleware solutions that abstract hardware-specific implementations. These middleware frameworks provide developers with unified APIs that automatically negotiate the appropriate VRR protocol based on the detected hardware configuration. Such approaches significantly reduce development complexity while maximizing hardware compatibility across consumer devices.
The HDMI Forum's VRR specification (HDMI 2.1) represents a significant step toward standardization, offering a protocol-agnostic approach that can work across different GPU and display combinations. Similarly, the adoption of VRR in the VESA DisplayPort standard has created pathways for more universal implementations. These standards are increasingly being supported by major operating systems, including Windows, macOS, and Linux distributions.
Mobile platforms present additional standardization challenges, with Android and iOS implementing different approaches to VRR. The development of cross-platform mobile standards remains an active area of research, with organizations like Khronos Group exploring extensions to existing graphics APIs that could provide consistent VRR behavior across mobile ecosystems.
Game engine developers have responded to these challenges by implementing abstraction layers that detect and utilize the appropriate VRR technology based on the runtime environment. Unreal Engine, Unity, and other major engines now include built-in support for multiple VRR standards, simplifying cross-platform development while maintaining optimal performance characteristics on each target platform.
Future standardization efforts will likely focus on creating more robust certification programs that ensure consistent VRR behavior across certified devices. These programs would define minimum performance requirements, latency specifications, and feature support levels to guarantee compatibility across the ecosystem. Such initiatives will be crucial for realizing the full potential of VRR as a power optimization technology across diverse computing platforms.
Unlock deeper insights with Patsnap Eureka Quick Research — get a full tech report to explore trends and direct your research. Try now!
Generate Your Research Report Instantly with AI Agent
Supercharge your innovation with Patsnap Eureka AI Agent Platform!







