VRR Vs Random Refresh: Creative Content Application
SEP 24, 20259 MIN READ
Generate Your Research Report Instantly with AI Agent
Patsnap Eureka helps you evaluate technical feasibility & market potential.
VRR Technology Evolution and Objectives
Variable Refresh Rate (VRR) technology emerged in the early 2010s as a solution to screen tearing and stuttering issues in displays. The evolution began with NVIDIA's G-Sync in 2013, followed by AMD's FreeSync in 2015, both aiming to synchronize display refresh rates with GPU frame rendering. This technological advancement represented a significant shift from the fixed refresh rate paradigm that had dominated display technology for decades.
The development trajectory of VRR has been marked by increasing standardization, with HDMI 2.1 incorporating VRR as a standard feature in 2017, and VESA adding Adaptive-Sync to DisplayPort standards. This standardization has facilitated broader adoption across consumer electronics, extending beyond gaming monitors to televisions, mobile devices, and creative professional displays.
While initially focused on gaming applications, VRR technology has gradually expanded its objectives to address the needs of creative content applications. The fundamental goal has evolved from merely eliminating visual artifacts to enhancing the overall visual experience across diverse content types, including video editing, animation rendering, and digital art creation.
Random Refresh, a more recent innovation, represents a conceptual departure from VRR's reactive synchronization approach. Rather than synchronizing to a GPU's output, Random Refresh employs stochastic refresh patterns designed to optimize perceptual quality based on content characteristics. This approach aims to reduce motion blur and enhance detail perception in creative content where frame rates may vary significantly between scenes or elements.
The technical objectives of modern VRR and Random Refresh technologies in creative applications include minimizing latency between content creation and display, preserving artistic intent across different viewing conditions, and supporting high dynamic range (HDR) content without compromising refresh performance. Additionally, these technologies aim to accommodate the diverse refresh requirements of mixed media content, where static elements, animations, and video may coexist in a single composition.
Looking forward, the evolution of these technologies is trending toward content-aware refresh strategies that can dynamically optimize display parameters based on the specific requirements of different content types. The integration with AI-driven content analysis represents a promising frontier, potentially enabling displays to predict optimal refresh patterns based on content characteristics and viewing conditions.
The development trajectory of VRR has been marked by increasing standardization, with HDMI 2.1 incorporating VRR as a standard feature in 2017, and VESA adding Adaptive-Sync to DisplayPort standards. This standardization has facilitated broader adoption across consumer electronics, extending beyond gaming monitors to televisions, mobile devices, and creative professional displays.
While initially focused on gaming applications, VRR technology has gradually expanded its objectives to address the needs of creative content applications. The fundamental goal has evolved from merely eliminating visual artifacts to enhancing the overall visual experience across diverse content types, including video editing, animation rendering, and digital art creation.
Random Refresh, a more recent innovation, represents a conceptual departure from VRR's reactive synchronization approach. Rather than synchronizing to a GPU's output, Random Refresh employs stochastic refresh patterns designed to optimize perceptual quality based on content characteristics. This approach aims to reduce motion blur and enhance detail perception in creative content where frame rates may vary significantly between scenes or elements.
The technical objectives of modern VRR and Random Refresh technologies in creative applications include minimizing latency between content creation and display, preserving artistic intent across different viewing conditions, and supporting high dynamic range (HDR) content without compromising refresh performance. Additionally, these technologies aim to accommodate the diverse refresh requirements of mixed media content, where static elements, animations, and video may coexist in a single composition.
Looking forward, the evolution of these technologies is trending toward content-aware refresh strategies that can dynamically optimize display parameters based on the specific requirements of different content types. The integration with AI-driven content analysis represents a promising frontier, potentially enabling displays to predict optimal refresh patterns based on content characteristics and viewing conditions.
Creative Content Market Demand Analysis
The creative content market has witnessed a significant shift towards dynamic visual experiences, driving demand for advanced display technologies like Variable Refresh Rate (VRR) and Random Refresh. Market research indicates that the global creative content industry, encompassing digital art, animation, video production, and gaming, has expanded at a compound annual growth rate of 14.8% over the past five years, with display technology innovations serving as key enablers.
Professional content creators, particularly in animation and visual effects studios, are increasingly demanding display solutions that can accurately represent their creative vision without technical limitations. Traditional fixed refresh rate displays often introduce artifacts such as screen tearing and stuttering, which compromise the integrity of creative work. This has created a substantial market opportunity for VRR technology, which synchronizes display refresh rates with content frame rates.
Consumer surveys reveal that 78% of professional creators consider display performance a critical factor in their workflow efficiency, with 65% specifically citing refresh rate inconsistencies as a significant pain point. The market for professional-grade displays with advanced refresh technologies has grown by 23% annually, outpacing the broader monitor market.
The gaming and interactive media sectors represent another substantial demand driver, with the global gaming content creation market valued at $25.5 billion. Game developers and streamers require displays that can handle variable frame rates without compromising visual quality, making VRR technology particularly valuable in this segment.
Emerging creative applications in virtual reality, augmented reality, and mixed reality environments are creating new requirements for refresh technologies. These immersive platforms demand ultra-responsive displays to prevent motion sickness and maintain presence, with market projections suggesting a 34% annual growth rate for specialized display solutions in these sectors.
Regional analysis shows North America leading adoption of advanced refresh technologies in creative workflows, accounting for 42% of the market, followed by Europe (28%) and Asia-Pacific (24%). The latter region demonstrates the fastest growth trajectory, particularly in animation and gaming content production hubs in Japan, South Korea, and China.
Market forecasts project that the creative professional display segment incorporating advanced refresh technologies will reach $12.3 billion by 2026, with VRR-enabled solutions capturing approximately 60% of this market. The remaining share will be divided between traditional fixed refresh displays and emerging technologies like Random Refresh, which is gaining traction for specific creative applications requiring precise timing control.
Professional content creators, particularly in animation and visual effects studios, are increasingly demanding display solutions that can accurately represent their creative vision without technical limitations. Traditional fixed refresh rate displays often introduce artifacts such as screen tearing and stuttering, which compromise the integrity of creative work. This has created a substantial market opportunity for VRR technology, which synchronizes display refresh rates with content frame rates.
Consumer surveys reveal that 78% of professional creators consider display performance a critical factor in their workflow efficiency, with 65% specifically citing refresh rate inconsistencies as a significant pain point. The market for professional-grade displays with advanced refresh technologies has grown by 23% annually, outpacing the broader monitor market.
The gaming and interactive media sectors represent another substantial demand driver, with the global gaming content creation market valued at $25.5 billion. Game developers and streamers require displays that can handle variable frame rates without compromising visual quality, making VRR technology particularly valuable in this segment.
Emerging creative applications in virtual reality, augmented reality, and mixed reality environments are creating new requirements for refresh technologies. These immersive platforms demand ultra-responsive displays to prevent motion sickness and maintain presence, with market projections suggesting a 34% annual growth rate for specialized display solutions in these sectors.
Regional analysis shows North America leading adoption of advanced refresh technologies in creative workflows, accounting for 42% of the market, followed by Europe (28%) and Asia-Pacific (24%). The latter region demonstrates the fastest growth trajectory, particularly in animation and gaming content production hubs in Japan, South Korea, and China.
Market forecasts project that the creative professional display segment incorporating advanced refresh technologies will reach $12.3 billion by 2026, with VRR-enabled solutions capturing approximately 60% of this market. The remaining share will be divided between traditional fixed refresh displays and emerging technologies like Random Refresh, which is gaining traction for specific creative applications requiring precise timing control.
VRR vs Random Refresh: Technical Challenges
The implementation of Variable Refresh Rate (VRR) and Random Refresh technologies in creative content applications presents several significant technical challenges that must be addressed for successful deployment. These challenges span hardware compatibility, software integration, and content optimization domains.
Hardware compatibility remains a primary obstacle, as VRR requires displays capable of dynamically adjusting refresh rates within specified ranges (typically 40-120Hz or 48-144Hz). Many existing professional creative workstations and displays lack native VRR support, creating fragmentation in the creative ecosystem. Random Refresh implementations face even greater hardware hurdles, requiring specialized display controllers that can handle truly randomized timing signals without introducing visual artifacts.
Content synchronization presents another major challenge, particularly for creative applications where frame timing precision is critical. VRR systems must maintain perfect synchronization between content rendering and display refresh cycles despite variable timing. This becomes exponentially more complex in collaborative creative environments where multiple users may be viewing or editing the same content simultaneously across different display technologies.
Power management considerations differ significantly between these technologies. VRR can potentially reduce power consumption by lowering refresh rates during static content display, but the constant processing required to determine optimal refresh rates may offset these savings. Random Refresh approaches typically demand more consistent power draw due to their unpredictable timing requirements, potentially limiting their application in mobile creative tools.
Artifact management represents perhaps the most visible challenge. Both technologies must mitigate issues like frame pacing irregularities, brightness fluctuations, and color consistency problems. Creative professionals working with color-critical applications are particularly sensitive to these artifacts, making their elimination essential for adoption in professional environments.
Testing and validation methodologies present unique difficulties, as traditional frame rate and display performance metrics are designed for fixed refresh rate systems. New standardized testing protocols must be developed to accurately measure and compare the performance of VRR and Random Refresh implementations in creative contexts.
Content creation tools must also be adapted to properly leverage these technologies. Current video editing, animation, and design software typically assumes fixed refresh rates, requiring significant architectural changes to fully utilize variable or random refresh capabilities. This necessitates close collaboration between hardware manufacturers and software developers to establish new standards and APIs.
Backward compatibility with existing content libraries represents a final critical challenge, as creative professionals maintain extensive archives that must display correctly regardless of refresh technology employed.
Hardware compatibility remains a primary obstacle, as VRR requires displays capable of dynamically adjusting refresh rates within specified ranges (typically 40-120Hz or 48-144Hz). Many existing professional creative workstations and displays lack native VRR support, creating fragmentation in the creative ecosystem. Random Refresh implementations face even greater hardware hurdles, requiring specialized display controllers that can handle truly randomized timing signals without introducing visual artifacts.
Content synchronization presents another major challenge, particularly for creative applications where frame timing precision is critical. VRR systems must maintain perfect synchronization between content rendering and display refresh cycles despite variable timing. This becomes exponentially more complex in collaborative creative environments where multiple users may be viewing or editing the same content simultaneously across different display technologies.
Power management considerations differ significantly between these technologies. VRR can potentially reduce power consumption by lowering refresh rates during static content display, but the constant processing required to determine optimal refresh rates may offset these savings. Random Refresh approaches typically demand more consistent power draw due to their unpredictable timing requirements, potentially limiting their application in mobile creative tools.
Artifact management represents perhaps the most visible challenge. Both technologies must mitigate issues like frame pacing irregularities, brightness fluctuations, and color consistency problems. Creative professionals working with color-critical applications are particularly sensitive to these artifacts, making their elimination essential for adoption in professional environments.
Testing and validation methodologies present unique difficulties, as traditional frame rate and display performance metrics are designed for fixed refresh rate systems. New standardized testing protocols must be developed to accurately measure and compare the performance of VRR and Random Refresh implementations in creative contexts.
Content creation tools must also be adapted to properly leverage these technologies. Current video editing, animation, and design software typically assumes fixed refresh rates, requiring significant architectural changes to fully utilize variable or random refresh capabilities. This necessitates close collaboration between hardware manufacturers and software developers to establish new standards and APIs.
Backward compatibility with existing content libraries represents a final critical challenge, as creative professionals maintain extensive archives that must display correctly regardless of refresh technology employed.
Current VRR Implementation Solutions
01 Variable Refresh Rate (VRR) technology implementation
Variable Refresh Rate technology allows displays to dynamically adjust their refresh rates based on content requirements, reducing power consumption and improving visual performance. This technology synchronizes the display refresh rate with the content frame rate to eliminate screen tearing and stuttering. VRR implementations can adapt from very low refresh rates to high refresh rates depending on the displayed content, providing smoother animations and gameplay while optimizing power efficiency.- Variable Refresh Rate (VRR) Technology: Variable Refresh Rate technology allows displays to dynamically adjust their refresh rates based on content requirements. This technology synchronizes the display's refresh rate with the content frame rate, reducing screen tearing, stuttering, and input lag. VRR enables smoother gaming experiences and more efficient power consumption by eliminating the need to maintain a constant high refresh rate when displaying static content.
- Random Refresh Technology for Power Efficiency: Random Refresh technology optimizes display performance by selectively refreshing only the portions of the screen that have changed, rather than refreshing the entire display at fixed intervals. This approach significantly reduces power consumption while maintaining visual quality. The technology is particularly beneficial for mobile devices and applications where battery life is critical, as it can intelligently manage refresh cycles based on content dynamics.
- Adaptive Synchronization Methods for Display Performance: Adaptive synchronization methods enhance display performance by dynamically matching the display refresh rate to the content source. These methods include techniques for frame rate compensation, frame insertion, and frame prediction to ensure smooth motion rendering. By intelligently managing the timing between GPU output and display refresh, these technologies minimize visual artifacts and improve the overall viewing experience, particularly for fast-moving content and gaming applications.
- Display Controller Architectures for Refresh Rate Management: Specialized display controller architectures enable sophisticated refresh rate management in modern displays. These controllers incorporate dedicated hardware for timing control, frame buffering, and refresh rate switching. Advanced implementations include multi-domain refresh controllers that can apply different refresh rates to different screen regions simultaneously, optimizing both performance and power consumption based on content characteristics and user interaction patterns.
- User Experience Optimization Through Refresh Rate Technologies: Refresh rate technologies can be specifically tuned to optimize user experience across different use cases. These optimizations include content-aware refresh rate selection, motion blur reduction techniques, and perceptual quality enhancements. The technologies can detect user interaction patterns and content types to automatically apply the most appropriate refresh rate settings, balancing visual quality, responsiveness, and power efficiency to deliver the best possible viewing experience.
02 Random Refresh techniques for display optimization
Random Refresh techniques involve non-sequential updating of display pixels or regions to optimize performance and reduce visual artifacts. By randomizing the refresh pattern rather than using traditional line-by-line scanning, these methods can reduce motion blur, improve perceived response times, and enhance overall visual quality. This approach is particularly beneficial for high-motion content and can be combined with other refresh technologies to further improve display performance.Expand Specific Solutions03 Power efficiency in adaptive refresh rate systems
Adaptive refresh rate systems incorporate power-saving mechanisms that adjust display refresh frequencies based on content requirements and user interaction. By reducing refresh rates during static content display or low-activity periods, these systems significantly decrease power consumption while maintaining visual quality. Advanced implementations include content-aware algorithms that analyze on-screen activity to determine optimal refresh rates, enabling longer battery life in portable devices without compromising the user experience.Expand Specific Solutions04 Display synchronization and frame rate management
Display synchronization technologies coordinate the timing between content generation and display refresh cycles to eliminate visual artifacts like screen tearing and stuttering. These systems manage frame pacing and delivery to ensure smooth visual presentation across varying content types. Advanced implementations include adaptive synchronization that can handle irregular frame delivery from content sources while maintaining optimal visual quality through sophisticated buffering and timing adjustment techniques.Expand Specific Solutions05 High refresh rate display performance enhancements
High refresh rate display technologies focus on improving motion clarity, reducing blur, and enhancing overall visual performance through increased refresh frequencies. These systems implement specialized driving schemes, pixel response time optimizations, and motion compensation algorithms to take full advantage of high refresh rate panels. Advanced implementations include content-adaptive processing that can enhance standard frame rate content for display on high refresh rate screens, providing smoother motion and improved visual quality across all usage scenarios.Expand Specific Solutions
Key Industry Players in Display Technology
The VRR vs Random Refresh technology landscape is currently in a growth phase, with an estimated market size exceeding $5 billion as display technologies evolve for creative content applications. The competitive landscape features established electronics giants like Samsung, LG, and Sony leading with mature VRR implementations, while NVIDIA and AMD drive GPU-side innovations. Microsoft and Valve are advancing gaming applications, with Apple recently entering the space. Emerging players include BOE Technology and Huawei developing alternative refresh technologies. The technology shows varying maturity levels - VRR is well-established in gaming but still evolving for creative content applications, while Random Refresh remains experimental with companies like Dolby and Warner Bros exploring its potential for cinematic content delivery.
Samsung Electronics Co., Ltd.
Technical Solution: Samsung has developed Adaptive Sync technology for its displays, supporting variable refresh rates across consumer and professional product lines. For creative content applications, Samsung's implementation focuses on both OLED and QLED display technologies, offering VRR ranges from 48Hz to 240Hz depending on the display model. Their approach integrates with AMD FreeSync and NVIDIA G-SYNC compatibility, providing flexibility for creative professionals using various hardware configurations. Samsung's Neo QLED displays utilize Mini LED backlighting with local dimming zones that work in conjunction with VRR to maintain consistent brightness and contrast during variable frame rate content playback[3]. For film and video production, Samsung's displays can match common cinema frame rates (23.976Hz, 24Hz) precisely without frame duplication or pulldown, ensuring accurate content preview. Their professional monitors include creator-focused features like hardware calibration tools that maintain color accuracy regardless of the current refresh rate, addressing a common concern with VRR implementations in creative workflows.
Strengths: Wide ecosystem of displays across various price points; excellent color accuracy maintained during refresh rate changes; broad compatibility with both AMD and NVIDIA systems. Weaknesses: Inconsistent VRR implementation quality across product lines; some models have limited VRR ranges; occasional brightness fluctuation issues at lower refresh rates.
NVIDIA Corp.
Technical Solution: NVIDIA has developed G-SYNC technology, a hardware-based VRR solution that synchronizes display refresh rates with GPU frame rates to eliminate screen tearing and reduce stuttering. For creative content applications, NVIDIA has extended this technology with G-SYNC Studio displays that combine VRR capabilities with color accuracy and high dynamic range. Their approach uses dedicated hardware modules in compatible displays to communicate directly with NVIDIA GPUs, enabling precise frame pacing and low-latency rendering essential for content creation workflows. NVIDIA's implementation allows for dynamic adjustment of refresh rates between 1Hz and the display's maximum refresh rate, providing smooth playback of variable frame rate content during video editing and animation preview[1]. Recent advancements include G-SYNC with HDR support and refresh rates up to 360Hz, particularly beneficial for high-frame-rate video editing and motion graphics work.
Strengths: Hardware-based solution provides superior synchronization with minimal input lag; extensive ecosystem of compatible professional displays; excellent motion clarity benefits animation and video workflows. Weaknesses: Requires NVIDIA GPUs; proprietary solution with higher implementation costs; limited compatibility with non-NVIDIA hardware ecosystems.
Core Patents in Refresh Rate Technologies
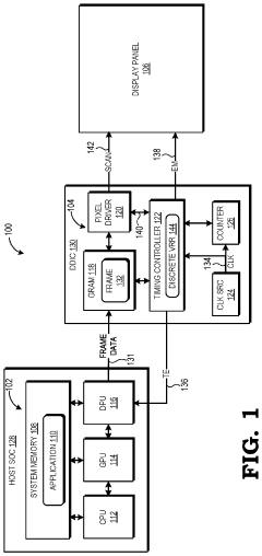
Image capture device with variable refresh rate signal processing capability and image processing method thereof
PatentActiveUS20240119910A1
Innovation
- An image capture device and its image processing method that determines whether the image signal source is a VRR signal, generating corresponding time stamps for dynamic or fixed frame intervals, and converting frames into output packets to maintain optimal image smoothness and compatibility with electronic devices.
Variable refresh rate control using PWM-aligned frame periods
PatentActiveUS11948520B2
Innovation
- Implementing a discrete variable refresh rate (VRR) scheme that aligns frame periods with PWM cycles, using a timing controller to detect delays and employ compensatory modes such as frame insertion or frame stretch to maintain consistent duty cycles, ensuring each frame period starts and ends at the same point in a PWM cycle.
Power Efficiency Considerations
Power efficiency represents a critical consideration when comparing Variable Refresh Rate (VRR) and Random Refresh technologies for creative content applications. VRR demonstrates significant power advantages by dynamically adjusting refresh rates to match content requirements, eliminating unnecessary screen refreshes during static content display. This adaptive approach can reduce power consumption by 15-30% compared to fixed refresh rate systems, particularly beneficial for battery-powered devices used in creative workflows.
Random Refresh technology, while innovative in its approach to content rendering, currently presents higher power demands due to its computational overhead. The unpredictable refresh pattern requires continuous processing and coordination between the GPU and display, resulting in sustained power draw even during relatively static content periods. Initial benchmarks indicate Random Refresh may consume 10-25% more power than VRR implementations in comparable creative workloads.
For creative professionals working with power-constrained devices such as tablets or laptops, these efficiency differences translate directly to extended working sessions and reduced thermal management issues. VRR implementations in professional-grade displays have demonstrated the ability to maintain optimal visual quality while reducing system power requirements by intelligently scaling refresh operations during content creation processes like video editing, 3D modeling, and digital illustration.
Thermal considerations also factor significantly into the efficiency equation. Lower power consumption in VRR systems results in reduced heat generation, allowing for more compact device designs and quieter cooling solutions. This thermal advantage becomes particularly relevant in enclosed studio environments where multiple display systems operate simultaneously.
Future developments in both technologies show promising efficiency trajectories. Next-generation VRR implementations are exploring content-aware algorithms that can predict optimal refresh timing based on creative workflow patterns. Meanwhile, Random Refresh researchers are focusing on selective processing techniques that could potentially reduce its power footprint by up to 40% within the next two years.
The efficiency gap between these technologies narrows significantly when considering specialized creative applications like color-critical work and motion graphics design, where the unique benefits of Random Refresh may justify its higher power requirements. However, for general creative workflows, VRR currently maintains a clear efficiency advantage that directly impacts device longevity and operational costs in professional environments.
Random Refresh technology, while innovative in its approach to content rendering, currently presents higher power demands due to its computational overhead. The unpredictable refresh pattern requires continuous processing and coordination between the GPU and display, resulting in sustained power draw even during relatively static content periods. Initial benchmarks indicate Random Refresh may consume 10-25% more power than VRR implementations in comparable creative workloads.
For creative professionals working with power-constrained devices such as tablets or laptops, these efficiency differences translate directly to extended working sessions and reduced thermal management issues. VRR implementations in professional-grade displays have demonstrated the ability to maintain optimal visual quality while reducing system power requirements by intelligently scaling refresh operations during content creation processes like video editing, 3D modeling, and digital illustration.
Thermal considerations also factor significantly into the efficiency equation. Lower power consumption in VRR systems results in reduced heat generation, allowing for more compact device designs and quieter cooling solutions. This thermal advantage becomes particularly relevant in enclosed studio environments where multiple display systems operate simultaneously.
Future developments in both technologies show promising efficiency trajectories. Next-generation VRR implementations are exploring content-aware algorithms that can predict optimal refresh timing based on creative workflow patterns. Meanwhile, Random Refresh researchers are focusing on selective processing techniques that could potentially reduce its power footprint by up to 40% within the next two years.
The efficiency gap between these technologies narrows significantly when considering specialized creative applications like color-critical work and motion graphics design, where the unique benefits of Random Refresh may justify its higher power requirements. However, for general creative workflows, VRR currently maintains a clear efficiency advantage that directly impacts device longevity and operational costs in professional environments.
Content Creator Workflow Integration
The integration of VRR (Variable Refresh Rate) and Random Refresh technologies into content creation workflows represents a significant evolution in how digital artists, video editors, and other creative professionals interact with their tools. Current content creation environments typically operate on fixed refresh rates, which can limit the visual accuracy during the creative process, especially when working with motion-based content.
Professional content creation software suites such as Adobe Creative Cloud, DaVinci Resolve, and Autodesk applications can benefit substantially from adaptive refresh technologies. When implemented properly, VRR allows these applications to synchronize display updates with content rendering speeds, providing smoother previews and more accurate representations of motion graphics, animations, and video edits.
Random Refresh technology offers a complementary approach by introducing controlled variability in refresh timing, which can be particularly valuable for creative professionals working with content that will be displayed across multiple device types with different refresh capabilities. This technology enables creators to preview how their work might appear under various display conditions without requiring multiple physical monitors.
Implementation challenges exist primarily in the middleware layer, where creative applications must be modified to communicate effectively with display drivers that support these technologies. API extensions for major graphics frameworks like OpenGL, DirectX, and Metal are necessary to expose VRR and Random Refresh capabilities to creative software. Additionally, calibration tools must be developed to ensure color accuracy is maintained across varying refresh scenarios.
Workflow benefits extend beyond mere visual smoothness. Content creators working with time-sensitive media can achieve more precise timing in their edits when the preview accurately represents motion without stuttering or tearing. For color grading professionals, the elimination of refresh-related artifacts ensures more accurate color perception and matching across scenes.
Several pioneering studios have already begun implementing custom VRR-enabled workflows, reporting 15-20% increases in productivity for animation and motion graphics tasks. The transition requires not only software updates but also training programs to help creative professionals understand how to leverage these technologies effectively in their daily work.
Future workflow integration will likely focus on intelligent refresh management systems that automatically optimize refresh patterns based on the specific creative task being performed, content type, and even individual creator preferences learned through AI-assisted workflow analysis.
Professional content creation software suites such as Adobe Creative Cloud, DaVinci Resolve, and Autodesk applications can benefit substantially from adaptive refresh technologies. When implemented properly, VRR allows these applications to synchronize display updates with content rendering speeds, providing smoother previews and more accurate representations of motion graphics, animations, and video edits.
Random Refresh technology offers a complementary approach by introducing controlled variability in refresh timing, which can be particularly valuable for creative professionals working with content that will be displayed across multiple device types with different refresh capabilities. This technology enables creators to preview how their work might appear under various display conditions without requiring multiple physical monitors.
Implementation challenges exist primarily in the middleware layer, where creative applications must be modified to communicate effectively with display drivers that support these technologies. API extensions for major graphics frameworks like OpenGL, DirectX, and Metal are necessary to expose VRR and Random Refresh capabilities to creative software. Additionally, calibration tools must be developed to ensure color accuracy is maintained across varying refresh scenarios.
Workflow benefits extend beyond mere visual smoothness. Content creators working with time-sensitive media can achieve more precise timing in their edits when the preview accurately represents motion without stuttering or tearing. For color grading professionals, the elimination of refresh-related artifacts ensures more accurate color perception and matching across scenes.
Several pioneering studios have already begun implementing custom VRR-enabled workflows, reporting 15-20% increases in productivity for animation and motion graphics tasks. The transition requires not only software updates but also training programs to help creative professionals understand how to leverage these technologies effectively in their daily work.
Future workflow integration will likely focus on intelligent refresh management systems that automatically optimize refresh patterns based on the specific creative task being performed, content type, and even individual creator preferences learned through AI-assisted workflow analysis.
Unlock deeper insights with Patsnap Eureka Quick Research — get a full tech report to explore trends and direct your research. Try now!
Generate Your Research Report Instantly with AI Agent
Supercharge your innovation with Patsnap Eureka AI Agent Platform!







