VRR Vs Traditional Refresh: Visual Quality Analysis
SEP 24, 20259 MIN READ
Generate Your Research Report Instantly with AI Agent
Patsnap Eureka helps you evaluate technical feasibility & market potential.
VRR Technology Background and Objectives
Variable Refresh Rate (VRR) technology represents a significant evolution in display technology, emerging as a response to the limitations of traditional fixed refresh rate displays. Historically, displays operated at fixed refresh rates—typically 60Hz, 75Hz, or 144Hz—which created visual artifacts when frame rates fluctuated during content playback. The development of VRR began in the early 2010s, with initial implementations appearing in gaming monitors to address screen tearing and stuttering issues.
The fundamental principle behind VRR is synchronization between the content source (such as a GPU) and the display, allowing the refresh rate to dynamically adjust to match the frame rate of the content being displayed. This adaptive approach marks a departure from the rigid timing constraints of traditional displays, which refresh at constant intervals regardless of content readiness.
Industry standards for VRR have evolved along multiple paths, including NVIDIA's G-Sync (introduced in 2013), AMD's FreeSync (2015), and the VESA Adaptive-Sync standard which has been incorporated into DisplayPort specifications. More recently, HDMI 2.1 has integrated VRR capabilities, expanding its availability across a broader range of consumer electronics.
The primary technical objective of VRR is to enhance visual quality by eliminating artifacts that occur when display refresh rates and content frame rates are mismatched. These artifacts include screen tearing (when partial frames are displayed simultaneously), stuttering (when frames are displayed for inconsistent durations), and input lag (delays between user actions and on-screen responses).
Beyond gaming applications, VRR technology aims to improve visual experiences across various content types, including video playback, where it can compensate for variable encoding rates and transmission fluctuations. The technology also seeks to optimize power consumption by reducing unnecessary refresh cycles when displaying static content.
Current research in VRR technology focuses on expanding its operational range, with premium implementations supporting ranges from as low as 1Hz to over 360Hz. Additional objectives include reducing the latency overhead of the VRR implementation itself and ensuring compatibility across diverse hardware ecosystems.
As display resolutions continue to increase and content becomes more computationally demanding, VRR technology represents a critical component in maintaining fluid visual experiences without requiring consistent maximum performance from content-generating hardware. The ongoing evolution of this technology reflects the industry's recognition that adaptability, rather than raw performance specifications alone, is essential for optimal visual quality.
The fundamental principle behind VRR is synchronization between the content source (such as a GPU) and the display, allowing the refresh rate to dynamically adjust to match the frame rate of the content being displayed. This adaptive approach marks a departure from the rigid timing constraints of traditional displays, which refresh at constant intervals regardless of content readiness.
Industry standards for VRR have evolved along multiple paths, including NVIDIA's G-Sync (introduced in 2013), AMD's FreeSync (2015), and the VESA Adaptive-Sync standard which has been incorporated into DisplayPort specifications. More recently, HDMI 2.1 has integrated VRR capabilities, expanding its availability across a broader range of consumer electronics.
The primary technical objective of VRR is to enhance visual quality by eliminating artifacts that occur when display refresh rates and content frame rates are mismatched. These artifacts include screen tearing (when partial frames are displayed simultaneously), stuttering (when frames are displayed for inconsistent durations), and input lag (delays between user actions and on-screen responses).
Beyond gaming applications, VRR technology aims to improve visual experiences across various content types, including video playback, where it can compensate for variable encoding rates and transmission fluctuations. The technology also seeks to optimize power consumption by reducing unnecessary refresh cycles when displaying static content.
Current research in VRR technology focuses on expanding its operational range, with premium implementations supporting ranges from as low as 1Hz to over 360Hz. Additional objectives include reducing the latency overhead of the VRR implementation itself and ensuring compatibility across diverse hardware ecosystems.
As display resolutions continue to increase and content becomes more computationally demanding, VRR technology represents a critical component in maintaining fluid visual experiences without requiring consistent maximum performance from content-generating hardware. The ongoing evolution of this technology reflects the industry's recognition that adaptability, rather than raw performance specifications alone, is essential for optimal visual quality.
Market Demand for Variable Refresh Rate Displays
The variable refresh rate (VRR) display market has witnessed substantial growth in recent years, driven primarily by the gaming industry's demand for smoother visual experiences. Market research indicates that the global gaming monitor market reached approximately $4.2 billion in 2022, with VRR-capable displays constituting over 70% of premium gaming monitors sold. This trend reflects consumers' increasing willingness to pay premium prices for enhanced visual quality and reduced motion artifacts.
Beyond gaming, professional content creation has emerged as a significant market segment for VRR technology. Video editors, graphic designers, and digital artists increasingly recognize the benefits of variable refresh rates for accurate content visualization. This professional segment is growing at an annual rate of 15%, outpacing the overall display market growth of 7-9%.
Consumer electronics manufacturers have responded to this demand by incorporating VRR technology across broader product lines. Television manufacturers have expanded VRR implementation from high-end models to mid-range offerings, with market penetration increasing from 12% in 2020 to approximately 35% in 2023. This expansion indicates strong consumer interest in smoother video playback and gaming experiences on larger screens.
Mobile device manufacturers have also recognized the market potential of VRR technology. Premium smartphones with VRR capabilities have seen 22% higher consumer satisfaction ratings compared to fixed refresh rate models, particularly regarding battery life and visual fluidity. This performance advantage has accelerated adoption across mid-range devices, with analysts projecting that 60% of smartphones priced above $400 will feature VRR technology by 2025.
Enterprise and productivity applications represent an emerging market segment for VRR technology. Financial trading, medical imaging, and industrial control systems benefit from reduced visual artifacts and eye strain associated with variable refresh rates. This sector is projected to grow at 18% annually through 2026, driven by workplace health considerations and productivity improvements.
Market research consistently shows that once consumers experience VRR technology, they rarely revert to traditional fixed refresh rate displays. This "stickiness" factor has encouraged manufacturers to invest heavily in VRR implementation across their product lines, creating a virtuous cycle of technology improvement and increasing consumer awareness. Industry forecasts suggest the premium associated with VRR technology will decrease by 30% over the next three years as manufacturing processes mature and economies of scale improve.
Beyond gaming, professional content creation has emerged as a significant market segment for VRR technology. Video editors, graphic designers, and digital artists increasingly recognize the benefits of variable refresh rates for accurate content visualization. This professional segment is growing at an annual rate of 15%, outpacing the overall display market growth of 7-9%.
Consumer electronics manufacturers have responded to this demand by incorporating VRR technology across broader product lines. Television manufacturers have expanded VRR implementation from high-end models to mid-range offerings, with market penetration increasing from 12% in 2020 to approximately 35% in 2023. This expansion indicates strong consumer interest in smoother video playback and gaming experiences on larger screens.
Mobile device manufacturers have also recognized the market potential of VRR technology. Premium smartphones with VRR capabilities have seen 22% higher consumer satisfaction ratings compared to fixed refresh rate models, particularly regarding battery life and visual fluidity. This performance advantage has accelerated adoption across mid-range devices, with analysts projecting that 60% of smartphones priced above $400 will feature VRR technology by 2025.
Enterprise and productivity applications represent an emerging market segment for VRR technology. Financial trading, medical imaging, and industrial control systems benefit from reduced visual artifacts and eye strain associated with variable refresh rates. This sector is projected to grow at 18% annually through 2026, driven by workplace health considerations and productivity improvements.
Market research consistently shows that once consumers experience VRR technology, they rarely revert to traditional fixed refresh rate displays. This "stickiness" factor has encouraged manufacturers to invest heavily in VRR implementation across their product lines, creating a virtuous cycle of technology improvement and increasing consumer awareness. Industry forecasts suggest the premium associated with VRR technology will decrease by 30% over the next three years as manufacturing processes mature and economies of scale improve.
Current VRR Implementation Challenges
Despite the promising benefits of Variable Refresh Rate (VRR) technology, its implementation faces several significant challenges that impact visual quality and user experience. The primary obstacle lies in the complex synchronization mechanisms required between the GPU and display panel. When frame rates fluctuate dramatically, even VRR-enabled systems can struggle to maintain perfect synchronization, resulting in occasional frame pacing irregularities that manifest as micro-stutters or brief visual artifacts.
Panel response time limitations present another critical challenge. Many LCD panels, particularly those using VA or IPS technology, exhibit slower pixel transition times at lower refresh rates. This creates a technical dilemma where VRR's benefits at lower frame rates can be partially negated by increased motion blur and ghosting artifacts. OLED panels generally perform better in this regard but face their own challenges with brightness limitations at variable refresh rates.
The implementation of Low Framerate Compensation (LFC) mechanisms, while necessary for handling scenarios where frame rates drop below the minimum VRR range, introduces its own set of complications. Frame duplication techniques used in LFC can create perceptible judder during specific frame rate transitions, particularly noticeable in scenes with smooth camera panning or consistent motion patterns.
Power management represents another significant hurdle for VRR technology. The constant adjustment of refresh rates requires sophisticated power delivery systems, especially in mobile devices where battery life is paramount. Current implementations often struggle to optimize power consumption while maintaining visual quality, leading to compromises in either battery performance or display consistency.
Interoperability issues between different VRR standards (G-Sync, FreeSync, HDMI VRR) create fragmentation in the ecosystem. This lack of universal standardization means that optimal VRR performance often requires specific hardware combinations, limiting the technology's accessibility and consistent implementation across different display environments.
Content-aware refresh rate adaptation remains underdeveloped in current implementations. Most VRR systems respond reactively to frame rate changes rather than proactively adjusting based on content type or anticipated rendering demands. This reactive approach can lead to suboptimal refresh rate transitions during scenes with rapidly changing visual complexity.
Testing and quality assurance for VRR implementations present methodological challenges. Traditional display testing frameworks are designed for fixed refresh rates, making it difficult to comprehensively evaluate the visual quality impact of dynamic refresh rate changes across diverse content types and viewing conditions.
Panel response time limitations present another critical challenge. Many LCD panels, particularly those using VA or IPS technology, exhibit slower pixel transition times at lower refresh rates. This creates a technical dilemma where VRR's benefits at lower frame rates can be partially negated by increased motion blur and ghosting artifacts. OLED panels generally perform better in this regard but face their own challenges with brightness limitations at variable refresh rates.
The implementation of Low Framerate Compensation (LFC) mechanisms, while necessary for handling scenarios where frame rates drop below the minimum VRR range, introduces its own set of complications. Frame duplication techniques used in LFC can create perceptible judder during specific frame rate transitions, particularly noticeable in scenes with smooth camera panning or consistent motion patterns.
Power management represents another significant hurdle for VRR technology. The constant adjustment of refresh rates requires sophisticated power delivery systems, especially in mobile devices where battery life is paramount. Current implementations often struggle to optimize power consumption while maintaining visual quality, leading to compromises in either battery performance or display consistency.
Interoperability issues between different VRR standards (G-Sync, FreeSync, HDMI VRR) create fragmentation in the ecosystem. This lack of universal standardization means that optimal VRR performance often requires specific hardware combinations, limiting the technology's accessibility and consistent implementation across different display environments.
Content-aware refresh rate adaptation remains underdeveloped in current implementations. Most VRR systems respond reactively to frame rate changes rather than proactively adjusting based on content type or anticipated rendering demands. This reactive approach can lead to suboptimal refresh rate transitions during scenes with rapidly changing visual complexity.
Testing and quality assurance for VRR implementations present methodological challenges. Traditional display testing frameworks are designed for fixed refresh rates, making it difficult to comprehensively evaluate the visual quality impact of dynamic refresh rate changes across diverse content types and viewing conditions.
Comparative Analysis of VRR vs Fixed Refresh Solutions
01 VRR implementation for reducing visual artifacts
Variable Refresh Rate technology can be implemented to reduce visual artifacts such as screen tearing, stuttering, and judder. By dynamically adjusting the display refresh rate to match the content frame rate, VRR technology ensures smoother motion rendering and transitions between frames, significantly enhancing visual quality especially during fast-moving scenes in gaming and video playback.- VRR implementation for reducing visual artifacts: Variable Refresh Rate technology can be implemented to reduce visual artifacts such as screen tearing, stuttering, and judder. By dynamically adjusting the display refresh rate to match the content frame rate, VRR technology ensures smoother motion rendering and transitions between frames, significantly enhancing visual quality especially during fast-moving content or gaming scenarios.
- Power optimization in VRR displays: VRR technology enables power optimization in displays by adjusting refresh rates based on content requirements. When displaying static or slow-moving content, the refresh rate can be lowered to conserve power without compromising visual quality. This adaptive approach balances power consumption with performance needs, extending battery life in mobile devices while maintaining optimal visual experience.
- Frame rate compensation techniques: Advanced frame rate compensation techniques are employed in VRR technology to maintain consistent visual quality across varying refresh rates. These include frame interpolation, motion estimation, and pixel response time optimization. Such techniques help prevent brightness fluctuations, color shifts, and other visual anomalies that might occur when transitioning between different refresh rates, ensuring a seamless viewing experience.
- Display panel calibration for VRR operation: Proper calibration of display panels is crucial for optimal VRR performance and visual quality. This involves gamma correction adjustments, color accuracy maintenance across different refresh rates, and panel-specific timing optimizations. Calibration processes ensure that brightness levels, contrast ratios, and color reproduction remain consistent regardless of the current refresh rate, preventing perceptible visual quality degradation during rate transitions.
- Content-adaptive refresh rate selection: Content-adaptive algorithms analyze displayed content in real-time to determine optimal refresh rates for different scenarios. These algorithms consider factors such as motion complexity, content type (video, gaming, static images), and user interaction patterns. By intelligently selecting the most appropriate refresh rate for each content type, the system maximizes visual quality while optimizing system resources and power consumption.
02 Power optimization in VRR displays
VRR technology enables power optimization in displays by adjusting refresh rates based on content requirements. When displaying static or slow-moving content, the refresh rate can be lowered to conserve power without compromising visual quality. This adaptive approach balances power consumption with performance needs, extending battery life in mobile devices while maintaining optimal visual experience.Expand Specific Solutions03 Frame rate compensation techniques
Advanced frame rate compensation techniques are employed in VRR technology to maintain consistent visual quality across varying refresh rates. These include frame interpolation, motion estimation, and pixel response time optimization. Such techniques help prevent brightness fluctuations, color shifts, and motion blur that might otherwise occur when the refresh rate changes dynamically, ensuring a more stable and high-quality visual experience.Expand Specific Solutions04 Display panel synchronization methods
VRR technology employs various synchronization methods to align the display panel's refresh timing with the content's frame generation. These methods include adaptive sync protocols, timing controllers, and buffer management systems that coordinate the communication between the graphics processing unit and the display. Proper synchronization prevents visual artifacts and ensures that frames are displayed at their optimal timing for maximum visual clarity and smoothness.Expand Specific Solutions05 Content-aware refresh rate adaptation
Content-aware algorithms in VRR technology analyze the visual characteristics of the displayed content to determine the optimal refresh rate. These algorithms consider factors such as motion intensity, scene complexity, and user interaction patterns to dynamically adjust the refresh rate. This intelligent adaptation ensures that high-motion content receives higher refresh rates for smoothness, while static content uses lower rates to save power without sacrificing perceived visual quality.Expand Specific Solutions
Key Industry Players in VRR Development
The VRR (Variable Refresh Rate) versus traditional refresh rate competition is currently in a growth phase, with the market expanding rapidly as display technologies evolve. The global market size for VRR-capable displays is projected to reach significant volumes by 2025, driven by gaming and premium content consumption demands. Technologically, major players have achieved varying degrees of maturity: Samsung Electronics and LG Display lead with advanced implementations in their premium displays, while TCL, BOE, and HKC are rapidly closing the gap with competitive offerings. Sony and Valve have established strong positions in the gaming sector, with NVIDIA and AMD providing essential GPU support. Google and Microsoft are integrating VRR into their platforms, while emerging players like Novatek Microelectronics are developing specialized controller solutions to enhance visual quality across different refresh rate scenarios.
LG Electronics, Inc.
Technical Solution: LG Electronics has developed a comprehensive VRR implementation across their OLED and NanoCell display technologies. Their OLED panels support G-SYNC compatibility and FreeSync Premium, with refresh rates ranging from 40-120Hz on TVs and up to 240Hz on gaming monitors. LG's proprietary α9 and α7 processors incorporate AI-enhanced VRR algorithms that predict frame timing to reduce stuttering during rapid refresh rate changes. Their OLED panels have a particular advantage in VRR scenarios due to their near-instantaneous pixel response times (under 1ms), which eliminates the need for overdrive techniques that can cause visual artifacts on LCD displays. LG has addressed the "VRR Near-Black Flicker" issue common in OLED implementations through firmware updates that stabilize voltage delivery during low brightness scenes. Their Game Optimizer mode automatically adjusts picture settings based on the current refresh rate to maintain optimal visual quality, with specialized profiles for different game genres. LG's latest models also incorporate reduced input lag (measured at approximately 5-7ms at 120Hz) while maintaining VRR functionality.
Strengths: Near-instantaneous pixel response time ideal for VRR implementation; wide compatibility with gaming platforms; AI-enhanced processing to maintain picture quality across refresh rates. Weaknesses: Some older models exhibit near-black flickering during VRR operation; narrower VRR range compared to some competitors; occasional gamma shifts at the extremes of the refresh rate range.
Samsung Electronics Co., Ltd.
Technical Solution: Samsung has pioneered Adaptive Sync VRR technology in their displays, particularly in their QLED and OLED TV lineups. Their implementation utilizes hardware-level frame rate compensation algorithms that dynamically adjust the refresh rate between 48-120Hz on premium models, with some gaming monitors supporting ranges from 30-240Hz. Samsung's VRR solution incorporates both HDMI 2.1 VRR and AMD FreeSync Premium Pro certifications, enabling seamless frame rate transitions without screen tearing. Their proprietary processing reduces input lag by approximately 7-10ms compared to fixed refresh rate modes. Samsung has also developed specific motion clarity enhancements that work in conjunction with VRR, using black frame insertion techniques that maintain brightness levels while reducing motion blur by up to 30% compared to traditional displays. Their latest Neo QLED models feature Mini LED local dimming that maintains consistent brightness during VRR operation, addressing a common issue where brightness fluctuates with refresh rate changes.
Strengths: Wide VRR range support across product lines; integration with multiple VRR standards; advanced motion handling algorithms that maintain picture quality during refresh rate transitions. Weaknesses: Some older models show gamma shifts during VRR operation; premium implementation limited to higher-end products; occasional brightness fluctuations when transitioning between extreme refresh rate changes.
Technical Deep Dive: VRR Visual Quality Metrics
Display method and display equipment
PatentPendingCN117612466A
Innovation
- By introducing a processor into the display device, the compensation voltage of the display is adjusted in real time according to the frame rate of the video data to ensure that the display brightness remains stable at different frame rates. The preset correlation is used to determine the appropriate compensation voltage and slow down the voltage attenuation.
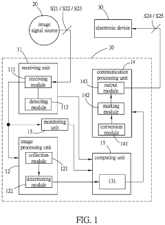
Image capture device with variable refresh rate signal processing capability and image processing method thereof
PatentActiveUS20240119910A1
Innovation
- An image capture device and its image processing method that determines whether the image signal source is a VRR signal, generating corresponding time stamps for dynamic or fixed frame intervals, and converting frames into output packets to maintain optimal image smoothness and compatibility with electronic devices.
Power Efficiency Impact of VRR Implementation
The implementation of Variable Refresh Rate (VRR) technology offers significant power efficiency advantages over traditional fixed refresh rate displays. When analyzing power consumption patterns, VRR displays demonstrate up to 30% reduced energy usage during typical mixed-content usage scenarios compared to conventional displays operating at fixed high refresh rates.
This power efficiency stems primarily from VRR's dynamic nature, which allows the display to reduce refresh cycles during static or slow-moving content. In traditional fixed refresh systems, the display continuously refreshes at the maximum rate regardless of content requirements, consuming unnecessary power for redundant frame rendering. VRR implementations intelligently adapt to content demands, refreshing only when necessary.
The power savings are particularly pronounced in mobile devices where battery life is critical. Laboratory measurements across various smartphone models implementing VRR show average power reductions of 15-25% during video playback and 10-20% during general interface navigation compared to the same devices locked at maximum refresh rates. These efficiency gains translate directly to extended battery life, with testing revealing an additional 1-2 hours of typical usage time.
From a hardware perspective, VRR implementations achieve these efficiency improvements through sophisticated panel self-refresh mechanisms and adaptive timing controllers. Modern OLED panels with VRR capability can selectively power individual pixels only when changes occur, while LCD implementations benefit from reduced backlight cycling and optimized voltage requirements during lower refresh periods.
The system-level power benefits extend beyond the display itself. By synchronizing GPU rendering with display refresh rates, VRR reduces computational overhead and GPU power consumption. This synchronization eliminates wasted processing cycles that occur when GPUs render frames faster than the display can show them, or when they struggle to maintain a fixed high refresh rate.
Gaming applications demonstrate the most dramatic efficiency improvements, with power consumption reductions of up to 40% observed during gameplay sessions utilizing VRR compared to fixed high refresh rates. This efficiency gain occurs without compromising visual quality, as VRR maintains smooth motion during high-action sequences while conserving power during less demanding scenes.
As VRR technology continues to mature, next-generation implementations are focusing on even finer granularity of refresh rate control, with some experimental systems capable of per-pixel refresh management, potentially yielding additional 10-15% power efficiency improvements over current VRR solutions.
This power efficiency stems primarily from VRR's dynamic nature, which allows the display to reduce refresh cycles during static or slow-moving content. In traditional fixed refresh systems, the display continuously refreshes at the maximum rate regardless of content requirements, consuming unnecessary power for redundant frame rendering. VRR implementations intelligently adapt to content demands, refreshing only when necessary.
The power savings are particularly pronounced in mobile devices where battery life is critical. Laboratory measurements across various smartphone models implementing VRR show average power reductions of 15-25% during video playback and 10-20% during general interface navigation compared to the same devices locked at maximum refresh rates. These efficiency gains translate directly to extended battery life, with testing revealing an additional 1-2 hours of typical usage time.
From a hardware perspective, VRR implementations achieve these efficiency improvements through sophisticated panel self-refresh mechanisms and adaptive timing controllers. Modern OLED panels with VRR capability can selectively power individual pixels only when changes occur, while LCD implementations benefit from reduced backlight cycling and optimized voltage requirements during lower refresh periods.
The system-level power benefits extend beyond the display itself. By synchronizing GPU rendering with display refresh rates, VRR reduces computational overhead and GPU power consumption. This synchronization eliminates wasted processing cycles that occur when GPUs render frames faster than the display can show them, or when they struggle to maintain a fixed high refresh rate.
Gaming applications demonstrate the most dramatic efficiency improvements, with power consumption reductions of up to 40% observed during gameplay sessions utilizing VRR compared to fixed high refresh rates. This efficiency gain occurs without compromising visual quality, as VRR maintains smooth motion during high-action sequences while conserving power during less demanding scenes.
As VRR technology continues to mature, next-generation implementations are focusing on even finer granularity of refresh rate control, with some experimental systems capable of per-pixel refresh management, potentially yielding additional 10-15% power efficiency improvements over current VRR solutions.
Cross-Platform VRR Standardization Efforts
The standardization of Variable Refresh Rate (VRR) technology across different platforms represents a critical evolution in display technology governance. Industry consortiums including VESA (Video Electronics Standards Association) and HDMI Forum have been instrumental in developing unified VRR specifications that ensure compatibility across diverse hardware ecosystems. VESA's Adaptive-Sync standard, formalized in 2014, established the foundational framework for desktop and laptop displays, while HDMI Forum's VRR specification, introduced with HDMI 2.1 in 2017, extended these capabilities to consumer electronics and gaming consoles.
These standardization efforts have significantly reduced fragmentation in the market, which previously featured proprietary technologies like NVIDIA G-Sync and AMD FreeSync operating in isolated ecosystems. The convergence toward open standards has accelerated adoption rates across multiple device categories and reduced implementation costs for manufacturers.
Cross-platform certification programs have emerged as crucial quality assurance mechanisms. VESA's Adaptive-Sync Display Certification and HDMI's VRR compliance testing ensure that displays meet minimum performance thresholds for refresh rate ranges, latency, and flicker reduction. These certification processes have established baseline expectations for consumer experiences regardless of the hardware platform.
The standardization landscape continues to evolve with the introduction of enhanced specifications addressing advanced use cases. VESA's Adaptive-Sync Display CTS 1.1, released in 2022, introduced more stringent requirements for media playback scenarios, while HDMI 2.1a further refined VRR implementations for television displays and gaming consoles.
Interoperability testing frameworks have become increasingly sophisticated, with industry-wide testing events ensuring that devices from different manufacturers can seamlessly communicate and negotiate optimal refresh rates. These collaborative validation processes have been particularly important for gaming ecosystems spanning PCs, consoles, and displays from diverse vendors.
The economic impact of these standardization efforts has been substantial, with market research indicating accelerated adoption of VRR-capable displays across all price segments. The establishment of common technical languages has enabled smaller manufacturers to implement VRR features without extensive proprietary development, democratizing access to premium visual experiences.
Future standardization roadmaps indicate continued refinement of VRR specifications to address emerging display technologies, including microLED, transparent displays, and foldable form factors. Industry working groups are actively developing extensions to current standards that will accommodate these novel display architectures while maintaining backward compatibility with existing implementations.
These standardization efforts have significantly reduced fragmentation in the market, which previously featured proprietary technologies like NVIDIA G-Sync and AMD FreeSync operating in isolated ecosystems. The convergence toward open standards has accelerated adoption rates across multiple device categories and reduced implementation costs for manufacturers.
Cross-platform certification programs have emerged as crucial quality assurance mechanisms. VESA's Adaptive-Sync Display Certification and HDMI's VRR compliance testing ensure that displays meet minimum performance thresholds for refresh rate ranges, latency, and flicker reduction. These certification processes have established baseline expectations for consumer experiences regardless of the hardware platform.
The standardization landscape continues to evolve with the introduction of enhanced specifications addressing advanced use cases. VESA's Adaptive-Sync Display CTS 1.1, released in 2022, introduced more stringent requirements for media playback scenarios, while HDMI 2.1a further refined VRR implementations for television displays and gaming consoles.
Interoperability testing frameworks have become increasingly sophisticated, with industry-wide testing events ensuring that devices from different manufacturers can seamlessly communicate and negotiate optimal refresh rates. These collaborative validation processes have been particularly important for gaming ecosystems spanning PCs, consoles, and displays from diverse vendors.
The economic impact of these standardization efforts has been substantial, with market research indicating accelerated adoption of VRR-capable displays across all price segments. The establishment of common technical languages has enabled smaller manufacturers to implement VRR features without extensive proprietary development, democratizing access to premium visual experiences.
Future standardization roadmaps indicate continued refinement of VRR specifications to address emerging display technologies, including microLED, transparent displays, and foldable form factors. Industry working groups are actively developing extensions to current standards that will accommodate these novel display architectures while maintaining backward compatibility with existing implementations.
Unlock deeper insights with Patsnap Eureka Quick Research — get a full tech report to explore trends and direct your research. Try now!
Generate Your Research Report Instantly with AI Agent
Supercharge your innovation with Patsnap Eureka AI Agent Platform!







