Mapping the Future Landscape of HEV Use Cases
AUG 14, 20259 MIN READ
Generate Your Research Report Instantly with AI Agent
Patsnap Eureka helps you evaluate technical feasibility & market potential.
HEV Technology Evolution
The evolution of Hybrid Electric Vehicle (HEV) technology has been marked by significant advancements and innovations over the past few decades. This progression has been driven by the increasing demand for more fuel-efficient and environmentally friendly transportation solutions.
In the early stages of HEV development, the focus was primarily on improving fuel economy through basic hybrid systems. These early models utilized a combination of internal combustion engines and small electric motors, with limited electric-only driving capabilities. The Toyota Prius, introduced in 1997, was a pioneering model that helped popularize HEV technology.
As the technology matured, manufacturers began to explore more sophisticated hybrid systems. The introduction of plug-in hybrid electric vehicles (PHEVs) in the mid-2000s represented a significant leap forward. These vehicles featured larger battery packs and the ability to charge from external power sources, allowing for extended electric-only driving ranges.
The next phase of HEV evolution saw the integration of more advanced power management systems and regenerative braking technologies. These improvements allowed for more efficient energy recovery and utilization, further enhancing fuel economy and reducing emissions. Additionally, the development of lighter and more energy-dense battery technologies contributed to improved performance and range.
Recent years have witnessed a shift towards more powerful and versatile HEV platforms. Manufacturers have begun to apply hybrid technology to a wider range of vehicle types, including SUVs, trucks, and high-performance sports cars. This expansion has been facilitated by the development of modular hybrid powertrains that can be adapted to various vehicle sizes and configurations.
Looking towards the future, HEV technology is expected to continue evolving in several key areas. One major focus is the development of more efficient and compact electric motors, which will allow for greater power output and improved packaging. Additionally, advancements in battery technology, particularly in the areas of energy density and charging speed, will likely lead to HEVs with longer electric-only ranges and faster charging times.
Another important trend is the integration of artificial intelligence and machine learning algorithms into HEV power management systems. These technologies have the potential to optimize energy usage based on driving conditions, route information, and user preferences, further improving efficiency and performance.
As the automotive industry moves towards greater electrification, HEV technology is expected to play a crucial role in bridging the gap between conventional internal combustion engines and fully electric vehicles. The continued evolution of HEV technology will likely focus on increasing the electric component of hybrid powertrains, potentially leading to the development of new hybrid architectures that blur the line between traditional HEVs and fully electric vehicles.
In the early stages of HEV development, the focus was primarily on improving fuel economy through basic hybrid systems. These early models utilized a combination of internal combustion engines and small electric motors, with limited electric-only driving capabilities. The Toyota Prius, introduced in 1997, was a pioneering model that helped popularize HEV technology.
As the technology matured, manufacturers began to explore more sophisticated hybrid systems. The introduction of plug-in hybrid electric vehicles (PHEVs) in the mid-2000s represented a significant leap forward. These vehicles featured larger battery packs and the ability to charge from external power sources, allowing for extended electric-only driving ranges.
The next phase of HEV evolution saw the integration of more advanced power management systems and regenerative braking technologies. These improvements allowed for more efficient energy recovery and utilization, further enhancing fuel economy and reducing emissions. Additionally, the development of lighter and more energy-dense battery technologies contributed to improved performance and range.
Recent years have witnessed a shift towards more powerful and versatile HEV platforms. Manufacturers have begun to apply hybrid technology to a wider range of vehicle types, including SUVs, trucks, and high-performance sports cars. This expansion has been facilitated by the development of modular hybrid powertrains that can be adapted to various vehicle sizes and configurations.
Looking towards the future, HEV technology is expected to continue evolving in several key areas. One major focus is the development of more efficient and compact electric motors, which will allow for greater power output and improved packaging. Additionally, advancements in battery technology, particularly in the areas of energy density and charging speed, will likely lead to HEVs with longer electric-only ranges and faster charging times.
Another important trend is the integration of artificial intelligence and machine learning algorithms into HEV power management systems. These technologies have the potential to optimize energy usage based on driving conditions, route information, and user preferences, further improving efficiency and performance.
As the automotive industry moves towards greater electrification, HEV technology is expected to play a crucial role in bridging the gap between conventional internal combustion engines and fully electric vehicles. The continued evolution of HEV technology will likely focus on increasing the electric component of hybrid powertrains, potentially leading to the development of new hybrid architectures that blur the line between traditional HEVs and fully electric vehicles.
Market Demand Analysis
The market demand for Hybrid Electric Vehicles (HEVs) has been steadily growing over the past decade, driven by increasing environmental concerns, stricter emissions regulations, and rising fuel costs. This trend is expected to continue in the foreseeable future, with the global HEV market projected to expand significantly.
Consumer awareness and acceptance of HEV technology have improved substantially, leading to a broader adoption across various vehicle segments. Initially limited to compact cars, HEVs are now available in a wide range of vehicle types, including sedans, SUVs, and even luxury vehicles. This diversification has expanded the potential customer base and market opportunities for HEV manufacturers.
One of the key drivers of HEV demand is the growing emphasis on reducing carbon emissions and improving air quality in urban areas. Many countries and cities have implemented or are planning to implement stricter emissions standards, which favor HEV adoption. Additionally, government incentives, such as tax credits and rebates, have played a crucial role in stimulating HEV sales in numerous markets.
The automotive industry's shift towards electrification has also contributed to the increased demand for HEVs. Many consumers view HEVs as a transitional technology between conventional internal combustion engine vehicles and fully electric vehicles. This perception has made HEVs an attractive option for consumers who are interested in reducing their environmental impact but are not yet ready to commit to a fully electric vehicle.
Fleet operators, including taxi companies, car rental agencies, and corporate fleets, have shown significant interest in HEVs due to their potential for reducing fuel costs and maintenance expenses. This sector represents a substantial market opportunity for HEV manufacturers, as fleet purchases can drive large-scale adoption and help establish HEVs in the mainstream market.
The future landscape of HEV use cases is likely to expand beyond personal transportation. There is growing potential for HEV technology in commercial vehicles, including light-duty trucks and vans used for last-mile delivery services. As e-commerce continues to grow, the demand for fuel-efficient delivery vehicles is expected to increase, creating new opportunities for HEV manufacturers.
Public transportation is another sector where HEV technology is gaining traction. Many cities are exploring or implementing hybrid buses to reduce emissions and operating costs. This trend is likely to continue, especially in urban areas with strict air quality regulations.
Despite the positive market outlook, challenges remain. The increasing competition from fully electric vehicles and the potential for battery technology advancements could impact the long-term growth of the HEV market. However, the immediate future appears promising, with HEVs well-positioned to meet the current market demand for more environmentally friendly and fuel-efficient vehicles.
Consumer awareness and acceptance of HEV technology have improved substantially, leading to a broader adoption across various vehicle segments. Initially limited to compact cars, HEVs are now available in a wide range of vehicle types, including sedans, SUVs, and even luxury vehicles. This diversification has expanded the potential customer base and market opportunities for HEV manufacturers.
One of the key drivers of HEV demand is the growing emphasis on reducing carbon emissions and improving air quality in urban areas. Many countries and cities have implemented or are planning to implement stricter emissions standards, which favor HEV adoption. Additionally, government incentives, such as tax credits and rebates, have played a crucial role in stimulating HEV sales in numerous markets.
The automotive industry's shift towards electrification has also contributed to the increased demand for HEVs. Many consumers view HEVs as a transitional technology between conventional internal combustion engine vehicles and fully electric vehicles. This perception has made HEVs an attractive option for consumers who are interested in reducing their environmental impact but are not yet ready to commit to a fully electric vehicle.
Fleet operators, including taxi companies, car rental agencies, and corporate fleets, have shown significant interest in HEVs due to their potential for reducing fuel costs and maintenance expenses. This sector represents a substantial market opportunity for HEV manufacturers, as fleet purchases can drive large-scale adoption and help establish HEVs in the mainstream market.
The future landscape of HEV use cases is likely to expand beyond personal transportation. There is growing potential for HEV technology in commercial vehicles, including light-duty trucks and vans used for last-mile delivery services. As e-commerce continues to grow, the demand for fuel-efficient delivery vehicles is expected to increase, creating new opportunities for HEV manufacturers.
Public transportation is another sector where HEV technology is gaining traction. Many cities are exploring or implementing hybrid buses to reduce emissions and operating costs. This trend is likely to continue, especially in urban areas with strict air quality regulations.
Despite the positive market outlook, challenges remain. The increasing competition from fully electric vehicles and the potential for battery technology advancements could impact the long-term growth of the HEV market. However, the immediate future appears promising, with HEVs well-positioned to meet the current market demand for more environmentally friendly and fuel-efficient vehicles.
Technical Challenges
The development of Hybrid Electric Vehicles (HEVs) faces several significant technical challenges that need to be addressed to fully realize their potential in various use cases. One of the primary hurdles is the optimization of energy management systems. These systems must efficiently balance power distribution between the internal combustion engine and the electric motor to maximize fuel economy and reduce emissions. This requires sophisticated control algorithms that can adapt to different driving conditions and user behaviors.
Battery technology remains a critical challenge for HEVs. While advancements have been made, there is still a need for batteries with higher energy density, faster charging capabilities, and longer lifespans. The current limitations in battery technology restrict the electric-only range of HEVs and impact their overall performance. Additionally, the high cost of advanced battery systems contributes to the higher price point of HEVs compared to conventional vehicles.
Thermal management is another significant technical challenge in HEV development. The complex powertrain system, including the battery pack, electric motor, and power electronics, generates substantial heat during operation. Efficient cooling systems are essential to maintain optimal performance and prevent component degradation. Developing compact, lightweight, and effective thermal management solutions is crucial for improving HEV reliability and longevity.
The integration of power electronics and electric motors presents its own set of challenges. Engineers must design compact, efficient, and cost-effective power conversion and motor drive systems that can withstand the harsh automotive environment. This includes developing high-performance inverters, DC-DC converters, and electric motors that meet stringent automotive standards for durability and reliability.
Weight reduction is a persistent challenge in HEV design. The addition of electric components, particularly the battery pack, increases the overall vehicle weight, which can negatively impact fuel efficiency and performance. Manufacturers are exploring advanced materials and innovative design techniques to offset this weight gain without compromising safety or functionality.
Regenerative braking systems, while beneficial for energy recovery, present technical challenges in terms of brake feel and consistency. Engineers must develop systems that seamlessly blend regenerative and friction braking to provide a natural and predictable braking experience for drivers. This requires sophisticated control algorithms and hardware integration.
As HEVs become more complex, the need for advanced diagnostics and prognostics systems grows. Developing robust onboard diagnostic capabilities to monitor the health of various components, predict potential failures, and optimize maintenance schedules is crucial for ensuring the long-term reliability and performance of HEVs.
Battery technology remains a critical challenge for HEVs. While advancements have been made, there is still a need for batteries with higher energy density, faster charging capabilities, and longer lifespans. The current limitations in battery technology restrict the electric-only range of HEVs and impact their overall performance. Additionally, the high cost of advanced battery systems contributes to the higher price point of HEVs compared to conventional vehicles.
Thermal management is another significant technical challenge in HEV development. The complex powertrain system, including the battery pack, electric motor, and power electronics, generates substantial heat during operation. Efficient cooling systems are essential to maintain optimal performance and prevent component degradation. Developing compact, lightweight, and effective thermal management solutions is crucial for improving HEV reliability and longevity.
The integration of power electronics and electric motors presents its own set of challenges. Engineers must design compact, efficient, and cost-effective power conversion and motor drive systems that can withstand the harsh automotive environment. This includes developing high-performance inverters, DC-DC converters, and electric motors that meet stringent automotive standards for durability and reliability.
Weight reduction is a persistent challenge in HEV design. The addition of electric components, particularly the battery pack, increases the overall vehicle weight, which can negatively impact fuel efficiency and performance. Manufacturers are exploring advanced materials and innovative design techniques to offset this weight gain without compromising safety or functionality.
Regenerative braking systems, while beneficial for energy recovery, present technical challenges in terms of brake feel and consistency. Engineers must develop systems that seamlessly blend regenerative and friction braking to provide a natural and predictable braking experience for drivers. This requires sophisticated control algorithms and hardware integration.
As HEVs become more complex, the need for advanced diagnostics and prognostics systems grows. Developing robust onboard diagnostic capabilities to monitor the health of various components, predict potential failures, and optimize maintenance schedules is crucial for ensuring the long-term reliability and performance of HEVs.
Current HEV Solutions
01 Powertrain and energy management systems
HEVs utilize advanced powertrain and energy management systems to optimize the use of electric and combustion engines. These systems control power distribution, manage battery charging, and improve overall vehicle efficiency. They often include sophisticated control algorithms and sensors to balance performance and fuel economy.- Powertrain and energy management systems for HEVs: Hybrid Electric Vehicles (HEVs) utilize advanced powertrain and energy management systems to optimize performance and efficiency. These systems integrate electric motors with internal combustion engines, manage power distribution, and control energy flow between various components. They often include sophisticated control algorithms to balance power sources, maximize fuel efficiency, and reduce emissions.
- Battery and thermal management in HEVs: Effective battery and thermal management are crucial for HEV performance and longevity. This includes advanced battery technologies, cooling systems, and temperature control mechanisms. Innovations in this area focus on improving battery life, enhancing charging efficiency, and maintaining optimal operating temperatures for both the battery pack and other powertrain components.
- Regenerative braking and energy recovery systems: HEVs employ regenerative braking systems to recover and store energy typically lost during deceleration. These systems convert kinetic energy into electrical energy, which is then stored in the vehicle's battery. This technology significantly improves overall energy efficiency and extends the electric driving range of hybrid vehicles.
- Electric drive systems and motor control: Advanced electric drive systems and motor control technologies are essential components of HEVs. These include high-efficiency electric motors, power electronics, and sophisticated control algorithms. Innovations in this area focus on improving motor performance, reducing energy losses, and enhancing overall vehicle drivability.
- Hybrid vehicle architecture and integration: The overall architecture and integration of hybrid components in HEVs are critical for optimal performance. This includes the design and layout of powertrain components, integration of electrical and mechanical systems, and optimization of weight distribution. Innovations in this area aim to improve vehicle packaging, reduce complexity, and enhance overall system efficiency.
02 Battery and thermal management
Efficient battery and thermal management are crucial for HEV performance. This includes advanced cooling systems for batteries and power electronics, as well as innovative battery designs to improve energy density and lifespan. Thermal management systems help maintain optimal operating temperatures for various components, enhancing overall efficiency and reliability.Expand Specific Solutions03 Regenerative braking and energy recovery
HEVs employ regenerative braking systems to recover kinetic energy during deceleration and convert it into electrical energy. This technology significantly improves overall vehicle efficiency by storing recovered energy in the battery for later use. Advanced regenerative braking systems can adapt to different driving conditions and user preferences.Expand Specific Solutions04 Electric drive system improvements
Continuous advancements in electric motor technology, power electronics, and control systems enhance the performance of HEV electric drive systems. This includes the development of more efficient and compact electric motors, improved inverters, and sophisticated control algorithms to optimize power delivery and reduce energy losses.Expand Specific Solutions05 Integration of renewable energy and smart charging
HEVs are increasingly being designed to integrate with renewable energy sources and smart charging infrastructure. This includes vehicle-to-grid (V2G) capabilities, solar panel integration, and intelligent charging systems that can optimize charging based on grid conditions and renewable energy availability. These advancements aim to reduce the overall carbon footprint of HEVs and improve their integration with smart energy systems.Expand Specific Solutions
Key Industry Players
The landscape of Hybrid Electric Vehicle (HEV) use cases is evolving rapidly, with the market in a growth phase characterized by increasing adoption and technological advancements. The global HEV market is expanding significantly, driven by environmental concerns and government incentives. Technologically, HEVs are maturing, with major players like Ford, Toyota, GM, and BYD leading innovation. Chinese manufacturers such as SAIC, Dongfeng, and Changan are also making significant strides, particularly in their domestic market. Established automakers are competing with newer entrants like Geely and Tesla, pushing the boundaries of HEV technology and applications. Universities and research institutions are contributing to advancements, indicating a collaborative ecosystem for future HEV developments.
Ford Global Technologies LLC
Technical Solution: Ford's HEV strategy includes the development of both traditional hybrids and plug-in hybrid electric vehicles. Their PowerSplit hybrid architecture, used in vehicles like the Ford Fusion Hybrid, allows for efficient operation in both city and highway driving. Ford is also exploring the use of predictive logic and real-time data to optimize hybrid powertrain performance based on driving conditions and routes. The company is investing in 48V mild hybrid systems for larger vehicles, which can provide up to 70% of the fuel economy benefit of a full hybrid system at a fraction of the cost[7]. Ford is also developing modular hybrid transmissions that can be easily adapted to different vehicle platforms, potentially reducing development and production costs[8].
Strengths: Strong presence in the light truck and SUV market, which could benefit from hybridization, established hybrid technology in popular models. Weaknesses: Less diverse hybrid portfolio compared to some competitors, potential challenges in scaling hybrid technology across all vehicle segments.
Nissan North America, Inc.
Technical Solution: Nissan's approach to HEVs is centered around their e-POWER system, which uses a small gasoline engine solely to charge the battery that powers an electric motor. This series hybrid configuration allows for EV-like driving characteristics with the convenience of gasoline refueling. Nissan is working on improving the efficiency of the e-POWER system, aiming to achieve 50% thermal efficiency in the gasoline engine[9]. The company is also exploring the integration of their ProPILOT autonomous driving technology with hybrid powertrains to further optimize energy management. Nissan is investing in the development of solid-state batteries, which could potentially be used in future HEV models to improve energy density and charging speeds[10].
Strengths: Unique e-POWER technology offering EV-like performance, strong brand recognition in electrified vehicles. Weaknesses: Limited variety of hybrid offerings compared to some competitors, potential challenges in adapting e-POWER technology to larger vehicles.
Innovative HEV Patents
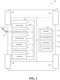
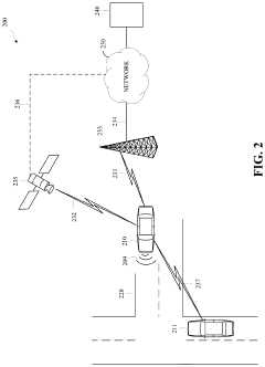
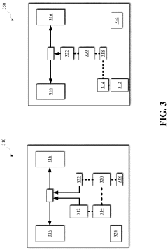
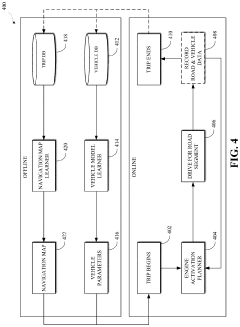
Navigation Map Learning for Intelligent Hybrid-Electric Vehicle Planning
PatentPendingUS20240159551A1
Innovation
- An engine activation planner that analyzes historical driving data to predict future scenarios, generating an optimized policy for battery charging and usage, dynamically adjusting engine activation based on real-time conditions, using a Markov decision process to minimize energy consumption and noise.
Ground fault detection system and method
PatentInactiveEP1336528A3
Innovation
- An AC ground fault detection system that uses a switching mechanism to alternate power conductor connections at a predetermined rate, coupled with capacitors and a detector circuit to sense voltage changes relative to a reference potential, generating a fault signal when an unintended electrical path is detected, and a controller to interrupt power to prevent damage.
Environmental Impact
The environmental impact of Hybrid Electric Vehicles (HEVs) is a critical consideration in mapping their future landscape. HEVs offer significant potential for reducing greenhouse gas emissions and improving air quality, particularly in urban areas. Compared to conventional internal combustion engine vehicles, HEVs can achieve up to 35% reduction in CO2 emissions, depending on the specific model and driving conditions. This reduction is primarily due to the improved fuel efficiency and the ability to operate in electric-only mode for short distances.
However, the environmental benefits of HEVs extend beyond tailpipe emissions. The production and disposal of batteries used in HEVs have raised concerns about their overall lifecycle environmental impact. While the manufacturing process of HEV batteries does contribute to increased carbon emissions compared to conventional vehicles, studies have shown that this initial environmental cost is offset within the first few years of operation through reduced fuel consumption and emissions.
The future landscape of HEV use cases will likely see an increased focus on optimizing their environmental performance. This includes advancements in battery technology to improve energy density and lifespan, reducing the need for frequent replacements and minimizing waste. Additionally, the development of more efficient recycling processes for HEV batteries will play a crucial role in mitigating their end-of-life environmental impact.
As the electricity grid continues to incorporate more renewable energy sources, the environmental benefits of HEVs are expected to increase. This transition will further reduce the carbon footprint associated with charging HEVs, making them an even more attractive option for environmentally conscious consumers and policymakers.
The integration of HEVs into smart city infrastructures and intelligent transportation systems presents another avenue for environmental improvement. By optimizing traffic flow and reducing congestion, these systems can help HEVs operate more efficiently, further reducing emissions and fuel consumption in urban environments.
In conclusion, the environmental impact of HEVs is a multifaceted issue that will continue to shape their future use cases. As technology advances and infrastructure evolves, HEVs are poised to play an increasingly important role in sustainable transportation strategies, offering a balance between improved environmental performance and practical driving range.
However, the environmental benefits of HEVs extend beyond tailpipe emissions. The production and disposal of batteries used in HEVs have raised concerns about their overall lifecycle environmental impact. While the manufacturing process of HEV batteries does contribute to increased carbon emissions compared to conventional vehicles, studies have shown that this initial environmental cost is offset within the first few years of operation through reduced fuel consumption and emissions.
The future landscape of HEV use cases will likely see an increased focus on optimizing their environmental performance. This includes advancements in battery technology to improve energy density and lifespan, reducing the need for frequent replacements and minimizing waste. Additionally, the development of more efficient recycling processes for HEV batteries will play a crucial role in mitigating their end-of-life environmental impact.
As the electricity grid continues to incorporate more renewable energy sources, the environmental benefits of HEVs are expected to increase. This transition will further reduce the carbon footprint associated with charging HEVs, making them an even more attractive option for environmentally conscious consumers and policymakers.
The integration of HEVs into smart city infrastructures and intelligent transportation systems presents another avenue for environmental improvement. By optimizing traffic flow and reducing congestion, these systems can help HEVs operate more efficiently, further reducing emissions and fuel consumption in urban environments.
In conclusion, the environmental impact of HEVs is a multifaceted issue that will continue to shape their future use cases. As technology advances and infrastructure evolves, HEVs are poised to play an increasingly important role in sustainable transportation strategies, offering a balance between improved environmental performance and practical driving range.
Policy and Regulations
The policy and regulatory landscape for Hybrid Electric Vehicles (HEVs) is rapidly evolving as governments worldwide seek to address climate change and reduce greenhouse gas emissions. Many countries have implemented or are considering policies to promote HEV adoption, including financial incentives, emissions standards, and infrastructure development.
In the United States, federal tax credits for HEVs have been a key driver of adoption. These credits, which can range from $2,500 to $7,500 depending on battery capacity, have made HEVs more financially attractive to consumers. However, these incentives are being phased out for some manufacturers as they reach sales thresholds, potentially impacting future adoption rates.
At the state level, policies vary widely. California, for example, has implemented a Zero Emission Vehicle (ZEV) mandate, requiring automakers to sell a certain percentage of electric and plug-in hybrid vehicles. This policy has been adopted by several other states and has significantly influenced HEV market development.
In Europe, the regulatory framework is largely driven by EU-wide emissions standards. The EU has set increasingly stringent CO2 emission targets for new cars, with penalties for manufacturers who fail to meet these targets. This has led to a surge in HEV development and sales as automakers seek to comply with these regulations.
China, the world's largest automotive market, has also implemented policies to promote HEV adoption. These include purchase subsidies, tax exemptions, and preferential licensing policies in major cities. However, China is gradually shifting its focus towards fully electric vehicles, which may impact future HEV policies.
Looking ahead, several policy trends are likely to shape the future of HEV use cases. Firstly, there is a growing emphasis on lifecycle emissions, which may lead to regulations that consider not just tailpipe emissions but also manufacturing and end-of-life disposal. This could potentially favor HEVs over fully electric vehicles in some scenarios.
Secondly, as HEV technology matures, policies are likely to shift from broad adoption incentives to more targeted measures. For example, there may be increased focus on promoting HEVs in specific use cases such as taxis, ride-sharing services, or commercial fleets where the benefits of hybridization are particularly pronounced.
Lastly, as countries strive to meet their Paris Agreement commitments, we can expect to see more aggressive policies aimed at phasing out conventional internal combustion engines. While these policies often favor fully electric vehicles, they are likely to create opportunities for HEVs as a transitional technology, particularly in markets where charging infrastructure is still developing.
In the United States, federal tax credits for HEVs have been a key driver of adoption. These credits, which can range from $2,500 to $7,500 depending on battery capacity, have made HEVs more financially attractive to consumers. However, these incentives are being phased out for some manufacturers as they reach sales thresholds, potentially impacting future adoption rates.
At the state level, policies vary widely. California, for example, has implemented a Zero Emission Vehicle (ZEV) mandate, requiring automakers to sell a certain percentage of electric and plug-in hybrid vehicles. This policy has been adopted by several other states and has significantly influenced HEV market development.
In Europe, the regulatory framework is largely driven by EU-wide emissions standards. The EU has set increasingly stringent CO2 emission targets for new cars, with penalties for manufacturers who fail to meet these targets. This has led to a surge in HEV development and sales as automakers seek to comply with these regulations.
China, the world's largest automotive market, has also implemented policies to promote HEV adoption. These include purchase subsidies, tax exemptions, and preferential licensing policies in major cities. However, China is gradually shifting its focus towards fully electric vehicles, which may impact future HEV policies.
Looking ahead, several policy trends are likely to shape the future of HEV use cases. Firstly, there is a growing emphasis on lifecycle emissions, which may lead to regulations that consider not just tailpipe emissions but also manufacturing and end-of-life disposal. This could potentially favor HEVs over fully electric vehicles in some scenarios.
Secondly, as HEV technology matures, policies are likely to shift from broad adoption incentives to more targeted measures. For example, there may be increased focus on promoting HEVs in specific use cases such as taxis, ride-sharing services, or commercial fleets where the benefits of hybridization are particularly pronounced.
Lastly, as countries strive to meet their Paris Agreement commitments, we can expect to see more aggressive policies aimed at phasing out conventional internal combustion engines. While these policies often favor fully electric vehicles, they are likely to create opportunities for HEVs as a transitional technology, particularly in markets where charging infrastructure is still developing.
Unlock deeper insights with Patsnap Eureka Quick Research — get a full tech report to explore trends and direct your research. Try now!
Generate Your Research Report Instantly with AI Agent
Supercharge your innovation with Patsnap Eureka AI Agent Platform!






