Coating Technologies For Turbine Engines
SEP 23, 20254 MIN READ
Generate Your Research Report Instantly with AI Agent
Patsnap Eureka helps you evaluate technical feasibility & market potential.
Coating Technologies Background And Goals
## Directory: 技术背景与目标
Coating technologies for turbine engines have evolved significantly over the past decades, driven by the need to enhance engine efficiency, durability, and performance under extreme conditions. The primary goal is to develop coatings that can withstand high temperatures, oxidation, and corrosion, thereby extending the lifespan of turbine components and improving overall engine reliability. Historically, advancements in materials science and engineering have led to the development of thermal barrier coatings (TBCs), oxidation-resistant coatings, and erosion-resistant coatings. These innovations have been crucial in meeting the demanding operational requirements of modern turbine engines. The focus now is on further enhancing these coatings' performance through advanced materials, novel application techniques, and improved understanding of coating-substrate interactions.
Coating Technologies Market Demand Analysis
- Market Demand Overview: The demand for coating technologies in turbine engines is driven by the need for enhanced performance, efficiency, and durability. These coatings protect engine components from extreme temperatures, oxidation, and corrosion, extending their lifespan and reducing maintenance costs.
- Industry Growth Drivers: The aerospace and energy sectors are the primary markets for turbine engine coatings. The increasing production of commercial and military aircraft, along with the expansion of power generation facilities, fuels the demand for advanced coating solutions.
- Technological Advancements: Innovations in materials science and coating application techniques are critical to meeting market demands. Developments in thermal barrier coatings (TBCs), environmental barrier coatings (EBCs), and advanced ceramic coatings are particularly significant.
- Market Size and Potential: The global market for turbine engine coatings is projected to grow steadily, driven by the rising adoption of high-performance coatings in new engine designs and the retrofitting of existing engines. The market potential is substantial, with significant opportunities for growth in emerging economies.
- Competitive Landscape: The market is highly competitive, with key players including Praxair Surface Technologies, Oerlikon Metco, and H.C. Starck. These companies invest heavily in R&D to develop innovative coating solutions and maintain their market positions.
- Regulatory and Environmental Considerations: Stringent environmental regulations and the need for sustainable practices influence the development and adoption of coating technologies. Companies must comply with regulations while striving to reduce the environmental impact of their products.
Coating Technologies Status And Challenges
### Coating Technologies Status And Challenges
Current Status:
- Turbine engine coatings are crucial for enhancing performance and durability.
- Advanced coatings like thermal barrier coatings (TBCs) and environmental barrier coatings (EBCs) are widely used.
- These coatings protect against high temperatures, oxidation, and corrosion.
Challenges:
- High-temperature stability: Coatings must withstand extreme temperatures without degrading.
- Oxidation and corrosion resistance: Ensuring long-term protection against harsh environmental conditions.
- Adhesion and compatibility: Coatings must adhere well to various substrate materials without causing adverse reactions.
- Cost and scalability: Developing cost-effective and scalable coating processes for mass production.
Geographical Distribution:
- Leading research and development are concentrated in the US, Europe, and Asia.
- Major players include aerospace and defense companies, as well as specialized coating manufacturers.
Coating Technologies Current Technical Solutions
01 Use of advanced coating materials
Advanced materials like nanocomposites and hybrid coatings enhance performance and durability, offering improved mechanical properties, corrosion resistance, and thermal stability.- Use of Nanocoatings: Nanocoatings enhance surface properties by providing resistance to wear, corrosion, and UV radiation. They extend the lifespan and maintain the appearance of various substrates.
- Application of Anti-corrosion Coatings: Anti-corrosion coatings protect metal surfaces from oxidation and rust by forming a barrier against moisture and corrosive elements, extending the material's life.
- Development of Self-healing Coatings: Self-healing coatings repair minor damages autonomously using microcapsules filled with healing agents that release upon damage, restoring the coating's integrity.
- Use of Hydrophobic Coatings: Hydrophobic coatings repel water and reduce dirt accumulation by creating a water-resistant layer, making surfaces easier to clean and maintain.
- Implementation of Thermal Barrier Coatings: Thermal barrier coatings provide thermal insulation to protect components from high temperatures, commonly applied to engine parts to improve performance and durability.
02 Application of environmentally friendly coatings
Environmentally friendly coatings, including water-based and low-VOC coatings, reduce environmental impact while providing effective protection.Expand Specific Solutions03 Development of multifunctional coatings
Multifunctional coatings offer benefits like self-cleaning, anti-fouling, and antimicrobial properties, enhancing surface longevity and performance.Expand Specific Solutions04 Innovations in coating application techniques
Innovative techniques like plasma spraying, electrospinning, and dip-coating improve coating uniformity and adhesion, allowing precise control over thickness and composition.Expand Specific Solutions05 Use of smart coatings
Smart coatings respond to environmental stimuli such as temperature, light, and humidity, providing adaptive protection and functionality.Expand Specific Solutions
Coating Technologies Main Player Analysis
The competitive landscape for turbine engine coating technologies includes established leaders and specialized firms. The industry is mature with significant advancements, driven by aerospace and energy sectors. Key players like United Technologies Corp., Honeywell International Technologies Ltd., General Electric Company, and Safran Aircraft Engines SAS lead with high technical maturity and robust R&D. Emerging players like Applied Materials, Inc. and Oerlikon Surface Solutions AG contribute to innovation.
United Technologies Corp.
Technical Solution: United Technologies Corp. has developed advanced thermal barrier coatings (TBCs) for turbine engines, enhancing efficiency and longevity.
Strength: High thermal resistance. Weakness: High cost of implementation.
Honeywell International Technologies Ltd.
Technical Solution: Honeywell offers oxidation-resistant and thermal barrier coatings to improve engine performance and reduce maintenance costs.
Strength: Comprehensive range of solutions. Weakness: Limited field testing data.
Coating Technologies Key Technology Interpretation
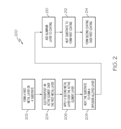
Methods of forming coatings on substrates
PatentInactiveUS20100243464A1
Innovation
- The method involves depositing layers of metal or other active elements on the substrate to form a diffusion-alloyed layer.
- The addition of aluminum to the diffusion-alloyed layer creates a modified precious metal aluminide coating or a nickel-yttrium-aluminide coating.
- The coating methods described improve the adhesion of the coating to the component and enhance the formation of an adherent protective alumina scale.
Coating Technologies For Turbine Engines Performance Enhancement
Coating technologies for turbine engines are crucial for enhancing performance and durability. These coatings protect engine components from extreme temperatures, oxidation, and corrosion, thereby extending their lifespan and efficiency. Current advancements focus on thermal barrier coatings (TBCs) and environmental barrier coatings (EBCs), which significantly improve thermal resistance and reduce maintenance costs. Key players in this field include GE Aviation, Rolls-Royce, and Pratt & Whitney, who are continuously innovating to meet the demanding requirements of modern turbine engines. Future research aims at developing more resilient and efficient coatings to further optimize engine performance and reliability.
Coating Technologies For Turbine Engines Environmental Impact
The environmental impact of coating technologies for turbine engines is significant. These coatings, designed to protect engine components from extreme temperatures and corrosion, often involve materials and processes that can be harmful to the environment. The production and application of these coatings may release volatile organic compounds (VOCs) and other pollutants. Additionally, the disposal of used coatings and related waste poses environmental challenges. Innovations in eco-friendly materials and sustainable application methods are crucial to mitigate these impacts. Future research should focus on developing coatings with reduced environmental footprints while maintaining or enhancing performance.
Unlock deeper insights with Patsnap Eureka Quick Research — get a full tech report to explore trends and direct your research. Try now!
Generate Your Research Report Instantly with AI Agent
Supercharge your innovation with Patsnap Eureka AI Agent Platform!


