Steering Wheel Design: Impact on Driver Health and Safety
JUL 18, 20259 MIN READ
Generate Your Research Report Instantly with AI Agent
Patsnap Eureka helps you evaluate technical feasibility & market potential.
Steering Wheel Evolution and Objectives
The steering wheel has undergone significant evolution since its inception in the automotive industry. Initially designed as a simple control mechanism, it has transformed into a complex interface that plays a crucial role in driver health and safety. The primary objective of steering wheel design has shifted from mere functionality to encompassing ergonomics, safety features, and driver comfort.
In the early days of automobiles, steering wheels were large, heavy, and required considerable physical effort to operate. As vehicle technology advanced, power steering systems were introduced, allowing for smaller, more manageable steering wheels. This shift marked the beginning of a new era in steering wheel design, where the focus expanded beyond basic control to include driver comfort and ease of use.
The advent of airbag technology in the 1980s brought about another significant change in steering wheel design. The integration of driver-side airbags into the steering wheel hub necessitated a complete redesign of the wheel's structure and materials. This development not only enhanced safety but also prompted designers to consider the steering wheel as a critical component of the vehicle's overall safety system.
Recent years have seen a surge in the incorporation of advanced technologies into steering wheel design. Multi-function steering wheels, equipped with controls for audio systems, cruise control, and communication devices, have become standard in many vehicles. This integration aims to reduce driver distraction by placing essential controls within easy reach, thereby improving overall safety.
Ergonomics has become a central focus in modern steering wheel design. Researchers and designers are now paying close attention to the impact of steering wheel shape, size, and material on driver comfort and fatigue. Studies have shown that poorly designed steering wheels can contribute to musculoskeletal disorders and driver fatigue, particularly during long journeys. As a result, adjustable steering wheels and telescoping steering columns have become common features, allowing drivers to customize their driving position for optimal comfort and control.
The future of steering wheel design is likely to be influenced by emerging technologies such as autonomous driving and advanced driver assistance systems (ADAS). While these technologies may reduce the driver's active role in vehicle control, the steering wheel is expected to evolve into a more sophisticated interface for human-machine interaction. Concepts such as steer-by-wire systems and haptic feedback mechanisms are being explored to enhance the driver's connection with the vehicle and provide critical information through tactile sensations.
As we move forward, the objectives of steering wheel design continue to expand. Beyond safety and comfort, designers are now considering sustainability, with a focus on using eco-friendly materials and manufacturing processes. Additionally, the potential for steering wheels to serve as health monitoring devices is being explored, with concepts for integrating sensors to detect driver fatigue, stress levels, and even vital signs.
In the early days of automobiles, steering wheels were large, heavy, and required considerable physical effort to operate. As vehicle technology advanced, power steering systems were introduced, allowing for smaller, more manageable steering wheels. This shift marked the beginning of a new era in steering wheel design, where the focus expanded beyond basic control to include driver comfort and ease of use.
The advent of airbag technology in the 1980s brought about another significant change in steering wheel design. The integration of driver-side airbags into the steering wheel hub necessitated a complete redesign of the wheel's structure and materials. This development not only enhanced safety but also prompted designers to consider the steering wheel as a critical component of the vehicle's overall safety system.
Recent years have seen a surge in the incorporation of advanced technologies into steering wheel design. Multi-function steering wheels, equipped with controls for audio systems, cruise control, and communication devices, have become standard in many vehicles. This integration aims to reduce driver distraction by placing essential controls within easy reach, thereby improving overall safety.
Ergonomics has become a central focus in modern steering wheel design. Researchers and designers are now paying close attention to the impact of steering wheel shape, size, and material on driver comfort and fatigue. Studies have shown that poorly designed steering wheels can contribute to musculoskeletal disorders and driver fatigue, particularly during long journeys. As a result, adjustable steering wheels and telescoping steering columns have become common features, allowing drivers to customize their driving position for optimal comfort and control.
The future of steering wheel design is likely to be influenced by emerging technologies such as autonomous driving and advanced driver assistance systems (ADAS). While these technologies may reduce the driver's active role in vehicle control, the steering wheel is expected to evolve into a more sophisticated interface for human-machine interaction. Concepts such as steer-by-wire systems and haptic feedback mechanisms are being explored to enhance the driver's connection with the vehicle and provide critical information through tactile sensations.
As we move forward, the objectives of steering wheel design continue to expand. Beyond safety and comfort, designers are now considering sustainability, with a focus on using eco-friendly materials and manufacturing processes. Additionally, the potential for steering wheels to serve as health monitoring devices is being explored, with concepts for integrating sensors to detect driver fatigue, stress levels, and even vital signs.
Driver Health and Safety Market Analysis
The market for driver health and safety solutions in the automotive industry has been experiencing significant growth in recent years. This trend is driven by increasing awareness of the importance of ergonomics and safety features in vehicle design, particularly in steering wheel technology. The global automotive steering system market, which includes steering wheels and related components, is projected to reach a substantial value by 2025, with a compound annual growth rate (CAGR) of over 6% during the forecast period.
The demand for advanced steering wheel designs that prioritize driver health and safety is being fueled by several factors. Firstly, the rising incidence of musculoskeletal disorders among drivers, particularly those who spend long hours behind the wheel, has led to a growing emphasis on ergonomic designs. This has created a market for steering wheels with adjustable features, improved grip, and materials that reduce strain on the hands and arms.
Additionally, the increasing focus on road safety and the implementation of stringent safety regulations by governments worldwide have propelled the market for steering wheels with integrated safety features. These include airbag systems, haptic feedback mechanisms, and sensors for detecting driver fatigue or distraction. The market for these advanced safety features is expected to grow at a faster rate than the overall steering wheel market.
The automotive industry's shift towards electric and autonomous vehicles is also influencing the steering wheel market. As these technologies evolve, there is a growing demand for steering wheels that can seamlessly integrate with advanced driver assistance systems (ADAS) and provide intuitive interfaces for semi-autonomous driving modes. This trend is creating new opportunities for innovative steering wheel designs that prioritize both health and safety aspects.
Geographically, the Asia-Pacific region is expected to witness the highest growth in the driver health and safety market, driven by the rapid expansion of the automotive industry in countries like China and India. North America and Europe continue to be significant markets, with a strong focus on technological advancements and stringent safety regulations.
Key players in the automotive steering wheel market are investing heavily in research and development to create innovative designs that address health and safety concerns. These companies are also forming strategic partnerships with technology firms to integrate advanced features into their steering wheel products. The competitive landscape is characterized by a mix of established automotive suppliers and emerging technology companies specializing in driver interface solutions.
In conclusion, the market analysis indicates a robust growth trajectory for steering wheel designs that prioritize driver health and safety. As consumer awareness grows and regulatory pressures increase, manufacturers that can deliver innovative, ergonomic, and safety-enhancing steering wheel solutions are likely to gain a competitive edge in this evolving market.
The demand for advanced steering wheel designs that prioritize driver health and safety is being fueled by several factors. Firstly, the rising incidence of musculoskeletal disorders among drivers, particularly those who spend long hours behind the wheel, has led to a growing emphasis on ergonomic designs. This has created a market for steering wheels with adjustable features, improved grip, and materials that reduce strain on the hands and arms.
Additionally, the increasing focus on road safety and the implementation of stringent safety regulations by governments worldwide have propelled the market for steering wheels with integrated safety features. These include airbag systems, haptic feedback mechanisms, and sensors for detecting driver fatigue or distraction. The market for these advanced safety features is expected to grow at a faster rate than the overall steering wheel market.
The automotive industry's shift towards electric and autonomous vehicles is also influencing the steering wheel market. As these technologies evolve, there is a growing demand for steering wheels that can seamlessly integrate with advanced driver assistance systems (ADAS) and provide intuitive interfaces for semi-autonomous driving modes. This trend is creating new opportunities for innovative steering wheel designs that prioritize both health and safety aspects.
Geographically, the Asia-Pacific region is expected to witness the highest growth in the driver health and safety market, driven by the rapid expansion of the automotive industry in countries like China and India. North America and Europe continue to be significant markets, with a strong focus on technological advancements and stringent safety regulations.
Key players in the automotive steering wheel market are investing heavily in research and development to create innovative designs that address health and safety concerns. These companies are also forming strategic partnerships with technology firms to integrate advanced features into their steering wheel products. The competitive landscape is characterized by a mix of established automotive suppliers and emerging technology companies specializing in driver interface solutions.
In conclusion, the market analysis indicates a robust growth trajectory for steering wheel designs that prioritize driver health and safety. As consumer awareness grows and regulatory pressures increase, manufacturers that can deliver innovative, ergonomic, and safety-enhancing steering wheel solutions are likely to gain a competitive edge in this evolving market.
Current Challenges in Steering Wheel Design
Steering wheel design faces several significant challenges in the context of driver health and safety. One of the primary concerns is ergonomics. As drivers spend extended periods behind the wheel, the design must accommodate a wide range of body types and sizes while maintaining optimal comfort and control. This challenge is compounded by the need to integrate an increasing number of controls and features into the steering wheel without compromising its primary function or driver comfort.
Another critical challenge is the integration of advanced driver assistance systems (ADAS) and autonomous driving technologies. Steering wheels must now incorporate sensors and actuators that can seamlessly transition between human and computer control. This integration must be achieved without adding excessive weight or bulk to the steering wheel, which could negatively impact handling and driver fatigue.
The materials used in steering wheel construction present another set of challenges. Manufacturers must balance durability, grip, and aesthetics while also considering the potential for allergic reactions and the need for easy cleaning and maintenance. Additionally, there is growing pressure to use sustainable and environmentally friendly materials without compromising on performance or safety.
Impact absorption and airbag integration continue to be significant challenges in steering wheel design. The steering wheel must be capable of effectively deploying airbags in milliseconds while also absorbing impact energy to protect the driver in the event of a collision. This requires a delicate balance between structural integrity and controlled deformation.
The increasing prevalence of electric and hybrid vehicles introduces new challenges related to regenerative braking and power steering systems. Steering wheel design must adapt to provide appropriate feedback and control in these new powertrain configurations, which can significantly differ from traditional internal combustion engine vehicles.
Lastly, the challenge of driver distraction looms large in modern steering wheel design. With the proliferation of in-vehicle infotainment systems and smartphone integration, steering wheels must incorporate controls that allow drivers to access necessary information and functions without taking their hands off the wheel or eyes off the road. This requires intuitive design and careful consideration of button placement and haptic feedback to minimize cognitive load on the driver.
Another critical challenge is the integration of advanced driver assistance systems (ADAS) and autonomous driving technologies. Steering wheels must now incorporate sensors and actuators that can seamlessly transition between human and computer control. This integration must be achieved without adding excessive weight or bulk to the steering wheel, which could negatively impact handling and driver fatigue.
The materials used in steering wheel construction present another set of challenges. Manufacturers must balance durability, grip, and aesthetics while also considering the potential for allergic reactions and the need for easy cleaning and maintenance. Additionally, there is growing pressure to use sustainable and environmentally friendly materials without compromising on performance or safety.
Impact absorption and airbag integration continue to be significant challenges in steering wheel design. The steering wheel must be capable of effectively deploying airbags in milliseconds while also absorbing impact energy to protect the driver in the event of a collision. This requires a delicate balance between structural integrity and controlled deformation.
The increasing prevalence of electric and hybrid vehicles introduces new challenges related to regenerative braking and power steering systems. Steering wheel design must adapt to provide appropriate feedback and control in these new powertrain configurations, which can significantly differ from traditional internal combustion engine vehicles.
Lastly, the challenge of driver distraction looms large in modern steering wheel design. With the proliferation of in-vehicle infotainment systems and smartphone integration, steering wheels must incorporate controls that allow drivers to access necessary information and functions without taking their hands off the wheel or eyes off the road. This requires intuitive design and careful consideration of button placement and haptic feedback to minimize cognitive load on the driver.
Existing Ergonomic Steering Solutions
01 Steering wheel-based health monitoring systems
Integration of health monitoring sensors into steering wheels to track driver vital signs such as heart rate, blood pressure, and stress levels. These systems can provide real-time health data and alert drivers or authorities in case of emergencies, enhancing overall driver safety.- Health monitoring systems integrated into steering wheels: Steering wheels equipped with sensors to monitor driver's vital signs such as heart rate, blood pressure, and stress levels. These systems can detect signs of fatigue, drowsiness, or health emergencies, enhancing driver safety by providing early warnings or initiating safety measures.
- Ergonomic steering wheel designs for driver comfort: Innovative steering wheel designs focusing on ergonomics to reduce driver fatigue and improve comfort during long drives. These designs may include adjustable grips, cushioned materials, and customizable shapes to accommodate different hand sizes and driving preferences.
- Steering wheel-integrated driver assistance systems: Integration of advanced driver assistance systems (ADAS) into steering wheels, including lane departure warnings, collision avoidance alerts, and adaptive cruise control interfaces. These systems enhance driver awareness and safety by providing tactile or visual feedback directly through the steering wheel.
- Steering wheel materials for improved hygiene and safety: Development of steering wheel materials with antimicrobial properties, enhanced grip in various weather conditions, and improved durability. These materials aim to reduce the spread of germs, prevent slippage, and maintain steering wheel integrity over time, contributing to overall driver safety.
- Adaptive steering systems for enhanced control and safety: Implementation of adaptive steering systems that adjust steering sensitivity and feedback based on driving conditions, vehicle speed, and driver preferences. These systems aim to improve vehicle handling, reduce driver fatigue, and enhance overall safety by providing optimal steering response in various situations.
02 Ergonomic steering wheel designs
Development of steering wheels with improved ergonomics to reduce driver fatigue and enhance comfort during long drives. These designs may include adjustable grips, cushioned surfaces, and optimized shapes to minimize strain on hands, wrists, and arms.Expand Specific Solutions03 Intelligent steering assistance systems
Implementation of advanced driver assistance systems that work in conjunction with the steering wheel to improve safety. These may include lane-keeping assistance, collision avoidance, and adaptive steering technologies that adjust based on driving conditions and driver behavior.Expand Specific Solutions04 Driver alertness monitoring
Integration of sensors and cameras in the steering wheel area to monitor driver alertness and detect signs of drowsiness or distraction. These systems can provide warnings or initiate corrective actions to prevent accidents caused by driver fatigue or inattention.Expand Specific Solutions05 Haptic feedback and warning systems
Incorporation of haptic feedback mechanisms in steering wheels to provide tactile warnings and alerts to drivers. These systems can communicate various safety-related information such as lane departures, potential collisions, or speed limit violations without requiring visual attention from the driver.Expand Specific Solutions
Key Automotive Ergonomics Players
The steering wheel design market is in a mature stage, with established players and ongoing innovation focused on driver health and safety. The global automotive steering system market size is projected to reach $36 billion by 2025, driven by increasing vehicle production and demand for advanced safety features. Technologically, steering wheel design is evolving rapidly, with companies like Mercedes-Benz, Volvo, and Nissan leading in integrating health monitoring sensors and advanced safety systems. Traditional automotive giants are competing with specialized safety equipment manufacturers like Autoliv and Joyson Safety Systems to develop steering wheels that enhance driver comfort, reduce fatigue, and improve overall safety through features like haptic feedback and biometric monitoring.
Autoliv Development AB
Technical Solution: Autoliv has developed an innovative steering wheel design that incorporates advanced safety features and ergonomic considerations. Their design includes a multi-function steering wheel with integrated airbag technology, which deploys in a fraction of a second during a collision[1]. The wheel's shape and grip have been optimized based on extensive biomechanical research to reduce driver fatigue and improve control[2]. Autoliv has also integrated haptic feedback systems into the steering wheel, providing drivers with tactile alerts for lane departure warnings and other safety notifications without requiring visual attention[3]. Additionally, their design incorporates health monitoring sensors embedded in the wheel's surface, capable of detecting driver stress levels and potential health issues through heart rate and skin conductivity measurements[4].
Strengths: Comprehensive safety features, ergonomic design, and health monitoring capabilities. Weaknesses: Potentially higher cost due to advanced technology integration, and possible complexity in maintenance and repair.
Mercedes-Benz Group AG
Technical Solution: Mercedes-Benz has pioneered a steering wheel design that focuses on both driver comfort and advanced functionality. Their latest design features a capacitive sensing technology that can detect whether the driver's hands are on the wheel, enhancing the effectiveness of driver assistance systems[5]. The wheel's shape is based on extensive ergonomic studies, with a variable diameter and thickness to provide optimal grip and reduce muscle strain during long drives[6]. Mercedes has also integrated touch-sensitive controls on the steering wheel surface, allowing drivers to manage various vehicle functions without removing their hands from the wheel[7]. Furthermore, their design incorporates a heating element for improved comfort in cold weather and uses sustainable materials in its construction to reduce environmental impact[8].
Strengths: Advanced driver monitoring capabilities, ergonomic design, and integrated controls for enhanced safety. Weaknesses: Potential for driver distraction with touch controls, and higher production costs.
Innovative Steering Wheel Patents
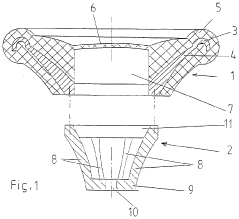
Energy absorbing steering wheel
PatentWO1999020515A1
Innovation
- The steering wheel is designed with a separable or integrated upper and lower part, where the upper part focuses on design aspects and the lower part, made of a deformable material like magnesium or aluminum alloy, absorbs energy by having a spoke-like structure that deforms upon impact, allowing for customizable energy absorption and reduced injury risk.
Steering wheel for a motor vehicle
PatentInactiveEP1807297A2
Innovation
- A steering wheel design where the cross-sectional contour of the rim changes along its circumference, allowing for a spatial orientation adjustment to match the driver's natural hand position, with features like adjustable sections and ergonomic spoke designs to enhance grip and comfort.
Regulatory Framework for Vehicle Safety
The regulatory framework for vehicle safety plays a crucial role in shaping the design and implementation of steering wheels in modern automobiles. Governments and regulatory bodies worldwide have established comprehensive guidelines and standards to ensure that steering wheel designs prioritize driver health and safety.
In the United States, the National Highway Traffic Safety Administration (NHTSA) oversees vehicle safety regulations. The Federal Motor Vehicle Safety Standards (FMVSS) include specific requirements for steering wheel design, such as impact protection, energy absorption, and airbag integration. These standards aim to minimize injuries during collisions and ensure optimal driver control.
The European Union has implemented similar regulations through the United Nations Economic Commission for Europe (UNECE). Regulation No. 12 specifically addresses the protection of drivers against the steering mechanism in the event of an impact. This regulation sets standards for steering wheel deformation and displacement during crashes, ensuring enhanced safety for drivers.
Japan's regulatory framework, overseen by the Ministry of Land, Infrastructure, Transport and Tourism (MLIT), also emphasizes steering wheel safety. Their regulations focus on impact absorption capabilities and ergonomic design to reduce driver fatigue and enhance overall safety.
Global harmonization efforts, such as the World Forum for Harmonization of Vehicle Regulations (WP.29), aim to standardize safety requirements across different regions. This initiative promotes the adoption of consistent safety standards for steering wheel design worldwide, facilitating international trade and ensuring uniform safety levels across markets.
Regulatory bodies also address emerging technologies in steering wheel design. For instance, regulations are being developed to govern the use of advanced driver assistance systems (ADAS) integrated into steering wheels. These regulations aim to ensure that new technologies enhance rather than compromise driver safety.
The impact of these regulations on steering wheel design is significant. Manufacturers must comply with stringent safety standards, influencing material selection, shape, size, and integrated features. For example, regulations have led to the widespread adoption of collapsible steering columns and energy-absorbing materials in steering wheel construction.
Ongoing research and technological advancements continue to inform regulatory updates. Agencies regularly review and revise standards to incorporate new safety findings and address evolving risks. This dynamic regulatory environment ensures that steering wheel designs evolve to meet the latest safety requirements and technological capabilities.
In the United States, the National Highway Traffic Safety Administration (NHTSA) oversees vehicle safety regulations. The Federal Motor Vehicle Safety Standards (FMVSS) include specific requirements for steering wheel design, such as impact protection, energy absorption, and airbag integration. These standards aim to minimize injuries during collisions and ensure optimal driver control.
The European Union has implemented similar regulations through the United Nations Economic Commission for Europe (UNECE). Regulation No. 12 specifically addresses the protection of drivers against the steering mechanism in the event of an impact. This regulation sets standards for steering wheel deformation and displacement during crashes, ensuring enhanced safety for drivers.
Japan's regulatory framework, overseen by the Ministry of Land, Infrastructure, Transport and Tourism (MLIT), also emphasizes steering wheel safety. Their regulations focus on impact absorption capabilities and ergonomic design to reduce driver fatigue and enhance overall safety.
Global harmonization efforts, such as the World Forum for Harmonization of Vehicle Regulations (WP.29), aim to standardize safety requirements across different regions. This initiative promotes the adoption of consistent safety standards for steering wheel design worldwide, facilitating international trade and ensuring uniform safety levels across markets.
Regulatory bodies also address emerging technologies in steering wheel design. For instance, regulations are being developed to govern the use of advanced driver assistance systems (ADAS) integrated into steering wheels. These regulations aim to ensure that new technologies enhance rather than compromise driver safety.
The impact of these regulations on steering wheel design is significant. Manufacturers must comply with stringent safety standards, influencing material selection, shape, size, and integrated features. For example, regulations have led to the widespread adoption of collapsible steering columns and energy-absorbing materials in steering wheel construction.
Ongoing research and technological advancements continue to inform regulatory updates. Agencies regularly review and revise standards to incorporate new safety findings and address evolving risks. This dynamic regulatory environment ensures that steering wheel designs evolve to meet the latest safety requirements and technological capabilities.
Human-Machine Interface Advancements
The evolution of steering wheel design has been significantly influenced by advancements in human-machine interface (HMI) technologies. These innovations aim to enhance driver safety, comfort, and overall driving experience while addressing potential health concerns associated with prolonged periods behind the wheel.
One of the most notable HMI advancements in steering wheel design is the integration of touch-sensitive controls. These allow drivers to access various vehicle functions without removing their hands from the wheel, reducing distractions and improving safety. The implementation of haptic feedback in these controls provides tactile confirmation of inputs, further minimizing the need for visual attention.
Voice recognition technology has also been incorporated into steering wheel designs, enabling drivers to control vehicle systems through voice commands. This hands-free approach not only enhances safety but also improves accessibility for drivers with limited mobility or those who experience fatigue during long journeys.
Biometric sensors embedded in steering wheels represent another significant HMI advancement. These sensors can monitor driver vital signs, such as heart rate and stress levels, potentially detecting signs of fatigue or health issues. This technology could be crucial in preventing accidents caused by driver incapacitation or drowsiness.
Adaptive steering systems have been developed to adjust steering resistance and responsiveness based on driving conditions and driver preferences. This customization can reduce physical strain on the driver, particularly during low-speed maneuvers or extended highway driving.
The introduction of augmented reality (AR) displays integrated into or projected near the steering wheel area has revolutionized the way information is presented to drivers. These systems can overlay navigation instructions, vehicle status information, and potential hazards directly in the driver's line of sight, reducing the need to look away from the road.
Ergonomic advancements have led to the development of steering wheels with adjustable shapes and grips. These designs can be customized to fit individual driver preferences and physical characteristics, potentially reducing the risk of repetitive strain injuries and improving overall comfort during long drives.
As autonomous driving technologies continue to evolve, steering wheel designs are adapting to accommodate both manual and autonomous modes. Retractable or folding steering wheels are being developed to provide more space and comfort when the vehicle is in autonomous mode, while still allowing for immediate manual control when necessary.
These HMI advancements in steering wheel design collectively contribute to a more intuitive, safe, and health-conscious driving experience. As technology continues to progress, we can expect further innovations that will reshape the traditional concept of the steering wheel and its role in the human-vehicle interface.
One of the most notable HMI advancements in steering wheel design is the integration of touch-sensitive controls. These allow drivers to access various vehicle functions without removing their hands from the wheel, reducing distractions and improving safety. The implementation of haptic feedback in these controls provides tactile confirmation of inputs, further minimizing the need for visual attention.
Voice recognition technology has also been incorporated into steering wheel designs, enabling drivers to control vehicle systems through voice commands. This hands-free approach not only enhances safety but also improves accessibility for drivers with limited mobility or those who experience fatigue during long journeys.
Biometric sensors embedded in steering wheels represent another significant HMI advancement. These sensors can monitor driver vital signs, such as heart rate and stress levels, potentially detecting signs of fatigue or health issues. This technology could be crucial in preventing accidents caused by driver incapacitation or drowsiness.
Adaptive steering systems have been developed to adjust steering resistance and responsiveness based on driving conditions and driver preferences. This customization can reduce physical strain on the driver, particularly during low-speed maneuvers or extended highway driving.
The introduction of augmented reality (AR) displays integrated into or projected near the steering wheel area has revolutionized the way information is presented to drivers. These systems can overlay navigation instructions, vehicle status information, and potential hazards directly in the driver's line of sight, reducing the need to look away from the road.
Ergonomic advancements have led to the development of steering wheels with adjustable shapes and grips. These designs can be customized to fit individual driver preferences and physical characteristics, potentially reducing the risk of repetitive strain injuries and improving overall comfort during long drives.
As autonomous driving technologies continue to evolve, steering wheel designs are adapting to accommodate both manual and autonomous modes. Retractable or folding steering wheels are being developed to provide more space and comfort when the vehicle is in autonomous mode, while still allowing for immediate manual control when necessary.
These HMI advancements in steering wheel design collectively contribute to a more intuitive, safe, and health-conscious driving experience. As technology continues to progress, we can expect further innovations that will reshape the traditional concept of the steering wheel and its role in the human-vehicle interface.
Unlock deeper insights with Patsnap Eureka Quick Research — get a full tech report to explore trends and direct your research. Try now!
Generate Your Research Report Instantly with AI Agent
Supercharge your innovation with Patsnap Eureka AI Agent Platform!