Steering Wheel Sensor Integration: Real-Time Environmental Analysis
JUL 18, 20259 MIN READ
Generate Your Research Report Instantly with AI Agent
Patsnap Eureka helps you evaluate technical feasibility & market potential.
Steering Wheel Sensing Evolution and Objectives
The evolution of steering wheel sensing technology has undergone significant advancements over the past decades, transforming from simple mechanical systems to sophisticated, multi-functional interfaces. Initially, steering wheels were designed solely for vehicle control, but as automotive technology progressed, they became platforms for integrating various sensors and controls.
In the 1980s, the introduction of airbags in steering wheels marked the beginning of sensor integration. This was followed by the incorporation of buttons for audio and cruise control in the 1990s, enhancing driver convenience. The early 2000s saw the emergence of steering wheel-mounted controls for infotainment systems and hands-free calling, reflecting the growing importance of connectivity in vehicles.
The current phase of steering wheel sensing evolution focuses on real-time environmental analysis and driver monitoring. Advanced sensors are being integrated to detect driver fatigue, stress levels, and even health parameters such as heart rate and blood oxygen levels. These developments align with the broader trend of creating more intelligent and responsive vehicles.
The primary objective of modern steering wheel sensor integration is to enhance safety, comfort, and overall driving experience. By continuously monitoring the driver's physical state and the immediate environment, these systems aim to prevent accidents caused by driver distraction or sudden health issues. Additionally, they seek to provide a more personalized driving experience by adjusting vehicle settings based on the driver's condition and preferences.
Another key goal is to improve the human-machine interface in vehicles. As cars become increasingly autonomous, steering wheels are evolving into comprehensive control centers. They are being designed to seamlessly transition between manual and autonomous driving modes, providing intuitive feedback and controls to the driver.
The integration of real-time environmental analysis capabilities in steering wheels represents a significant leap forward. These systems aim to process and interpret data from various sources, including external sensors and cameras, to provide the driver with immediate information about road conditions, weather changes, and potential hazards. This integration supports the broader objective of creating a more connected and aware driving experience.
Looking ahead, the future objectives of steering wheel sensing technology include further miniaturization of sensors, improved haptic feedback systems, and enhanced integration with other vehicle systems. There is also a focus on developing more advanced algorithms to interpret sensor data more accurately and provide more nuanced responses to driver inputs and environmental conditions.
In the 1980s, the introduction of airbags in steering wheels marked the beginning of sensor integration. This was followed by the incorporation of buttons for audio and cruise control in the 1990s, enhancing driver convenience. The early 2000s saw the emergence of steering wheel-mounted controls for infotainment systems and hands-free calling, reflecting the growing importance of connectivity in vehicles.
The current phase of steering wheel sensing evolution focuses on real-time environmental analysis and driver monitoring. Advanced sensors are being integrated to detect driver fatigue, stress levels, and even health parameters such as heart rate and blood oxygen levels. These developments align with the broader trend of creating more intelligent and responsive vehicles.
The primary objective of modern steering wheel sensor integration is to enhance safety, comfort, and overall driving experience. By continuously monitoring the driver's physical state and the immediate environment, these systems aim to prevent accidents caused by driver distraction or sudden health issues. Additionally, they seek to provide a more personalized driving experience by adjusting vehicle settings based on the driver's condition and preferences.
Another key goal is to improve the human-machine interface in vehicles. As cars become increasingly autonomous, steering wheels are evolving into comprehensive control centers. They are being designed to seamlessly transition between manual and autonomous driving modes, providing intuitive feedback and controls to the driver.
The integration of real-time environmental analysis capabilities in steering wheels represents a significant leap forward. These systems aim to process and interpret data from various sources, including external sensors and cameras, to provide the driver with immediate information about road conditions, weather changes, and potential hazards. This integration supports the broader objective of creating a more connected and aware driving experience.
Looking ahead, the future objectives of steering wheel sensing technology include further miniaturization of sensors, improved haptic feedback systems, and enhanced integration with other vehicle systems. There is also a focus on developing more advanced algorithms to interpret sensor data more accurately and provide more nuanced responses to driver inputs and environmental conditions.
Market Demand for Smart Steering Systems
The market demand for smart steering systems has been experiencing significant growth in recent years, driven by the increasing focus on vehicle safety, comfort, and autonomous driving capabilities. As automotive technologies continue to advance, steering wheel sensor integration for real-time environmental analysis has emerged as a crucial component in the development of intelligent transportation systems.
The global smart steering market is projected to expand rapidly, with a compound annual growth rate (CAGR) exceeding 10% over the next five years. This growth is primarily attributed to the rising consumer demand for advanced driver assistance systems (ADAS) and the automotive industry's push towards autonomous vehicles. Major automotive markets, including North America, Europe, and Asia-Pacific, are showing strong interest in smart steering technologies, with China and India emerging as particularly promising markets due to their rapidly growing automotive sectors.
One of the key drivers of market demand is the increasing emphasis on road safety. Governments and regulatory bodies worldwide are implementing stricter safety standards, which has led to a higher adoption rate of smart steering systems equipped with advanced sensors. These systems can detect potential hazards, analyze road conditions, and provide real-time feedback to drivers, significantly reducing the risk of accidents.
Consumer preferences are also shifting towards vehicles with enhanced comfort and convenience features. Smart steering systems with integrated sensors offer improved handling, reduced driver fatigue, and a more personalized driving experience. This trend is particularly evident in the luxury vehicle segment, where manufacturers are incorporating cutting-edge steering technologies to differentiate their products and meet the expectations of discerning customers.
The rise of electric and hybrid vehicles has further fueled the demand for smart steering systems. These vehicles often require more sophisticated steering control due to their unique powertrain configurations and weight distribution. As a result, manufacturers are investing heavily in developing steering technologies that can seamlessly integrate with electric vehicle architectures and optimize energy efficiency.
In the commercial vehicle sector, fleet operators are increasingly recognizing the benefits of smart steering systems in improving driver performance, reducing maintenance costs, and enhancing overall fleet efficiency. The integration of real-time environmental analysis capabilities in steering systems allows for better route optimization, predictive maintenance, and improved fuel economy, which are critical factors for commercial fleet operators.
As the automotive industry moves towards higher levels of vehicle autonomy, the demand for advanced steering systems with integrated sensors is expected to surge. These systems play a crucial role in enabling autonomous driving features by providing precise control and real-time environmental data. The ability to analyze road conditions, detect obstacles, and make split-second steering adjustments is essential for the safe operation of autonomous vehicles.
The global smart steering market is projected to expand rapidly, with a compound annual growth rate (CAGR) exceeding 10% over the next five years. This growth is primarily attributed to the rising consumer demand for advanced driver assistance systems (ADAS) and the automotive industry's push towards autonomous vehicles. Major automotive markets, including North America, Europe, and Asia-Pacific, are showing strong interest in smart steering technologies, with China and India emerging as particularly promising markets due to their rapidly growing automotive sectors.
One of the key drivers of market demand is the increasing emphasis on road safety. Governments and regulatory bodies worldwide are implementing stricter safety standards, which has led to a higher adoption rate of smart steering systems equipped with advanced sensors. These systems can detect potential hazards, analyze road conditions, and provide real-time feedback to drivers, significantly reducing the risk of accidents.
Consumer preferences are also shifting towards vehicles with enhanced comfort and convenience features. Smart steering systems with integrated sensors offer improved handling, reduced driver fatigue, and a more personalized driving experience. This trend is particularly evident in the luxury vehicle segment, where manufacturers are incorporating cutting-edge steering technologies to differentiate their products and meet the expectations of discerning customers.
The rise of electric and hybrid vehicles has further fueled the demand for smart steering systems. These vehicles often require more sophisticated steering control due to their unique powertrain configurations and weight distribution. As a result, manufacturers are investing heavily in developing steering technologies that can seamlessly integrate with electric vehicle architectures and optimize energy efficiency.
In the commercial vehicle sector, fleet operators are increasingly recognizing the benefits of smart steering systems in improving driver performance, reducing maintenance costs, and enhancing overall fleet efficiency. The integration of real-time environmental analysis capabilities in steering systems allows for better route optimization, predictive maintenance, and improved fuel economy, which are critical factors for commercial fleet operators.
As the automotive industry moves towards higher levels of vehicle autonomy, the demand for advanced steering systems with integrated sensors is expected to surge. These systems play a crucial role in enabling autonomous driving features by providing precise control and real-time environmental data. The ability to analyze road conditions, detect obstacles, and make split-second steering adjustments is essential for the safe operation of autonomous vehicles.
Current Challenges in Steering Wheel Sensor Integration
The integration of steering wheel sensors for real-time environmental analysis faces several significant challenges in the current technological landscape. One of the primary obstacles is the complexity of sensor fusion and data interpretation. Steering wheels equipped with multiple sensors, including touch sensors, pressure sensors, and biometric sensors, generate vast amounts of data that need to be processed and analyzed in real-time. Ensuring the accuracy and reliability of this data interpretation while maintaining low latency is a formidable task.
Another challenge lies in the power management and energy efficiency of these sensor systems. As steering wheels are not traditionally connected to a vehicle's power supply, integrating sensors that require continuous operation presents difficulties in terms of power consumption and battery life. Developing energy-efficient sensors and power management systems that can operate for extended periods without compromising performance is crucial.
The harsh automotive environment also poses significant challenges for sensor integration. Steering wheels are subject to various environmental factors such as temperature fluctuations, vibrations, and electromagnetic interference. Ensuring the durability and consistent performance of sensors under these conditions requires robust design and materials that can withstand the automotive environment while maintaining accuracy.
Miniaturization and seamless integration of sensors into the steering wheel without compromising ergonomics or safety is another critical challenge. The limited space available in steering wheels necessitates innovative design solutions to incorporate sensors without affecting the wheel's primary function or driver comfort.
Data privacy and security concerns also present significant challenges in steering wheel sensor integration. As these sensors collect potentially sensitive biometric data and driving behavior information, ensuring the protection of this data from unauthorized access or breaches is paramount. Implementing robust encryption and secure data transmission protocols while complying with various international data protection regulations adds complexity to the integration process.
Standardization and interoperability issues further complicate the landscape of steering wheel sensor integration. The lack of universal standards for sensor integration and data communication protocols across different vehicle manufacturers and models hinders widespread adoption and seamless integration with other vehicle systems.
Lastly, the cost-effectiveness of implementing advanced sensor systems in steering wheels remains a challenge. Balancing the integration of cutting-edge technology with the need to maintain competitive pricing in the automotive market requires careful consideration of manufacturing processes and material selection.
Another challenge lies in the power management and energy efficiency of these sensor systems. As steering wheels are not traditionally connected to a vehicle's power supply, integrating sensors that require continuous operation presents difficulties in terms of power consumption and battery life. Developing energy-efficient sensors and power management systems that can operate for extended periods without compromising performance is crucial.
The harsh automotive environment also poses significant challenges for sensor integration. Steering wheels are subject to various environmental factors such as temperature fluctuations, vibrations, and electromagnetic interference. Ensuring the durability and consistent performance of sensors under these conditions requires robust design and materials that can withstand the automotive environment while maintaining accuracy.
Miniaturization and seamless integration of sensors into the steering wheel without compromising ergonomics or safety is another critical challenge. The limited space available in steering wheels necessitates innovative design solutions to incorporate sensors without affecting the wheel's primary function or driver comfort.
Data privacy and security concerns also present significant challenges in steering wheel sensor integration. As these sensors collect potentially sensitive biometric data and driving behavior information, ensuring the protection of this data from unauthorized access or breaches is paramount. Implementing robust encryption and secure data transmission protocols while complying with various international data protection regulations adds complexity to the integration process.
Standardization and interoperability issues further complicate the landscape of steering wheel sensor integration. The lack of universal standards for sensor integration and data communication protocols across different vehicle manufacturers and models hinders widespread adoption and seamless integration with other vehicle systems.
Lastly, the cost-effectiveness of implementing advanced sensor systems in steering wheels remains a challenge. Balancing the integration of cutting-edge technology with the need to maintain competitive pricing in the automotive market requires careful consideration of manufacturing processes and material selection.
Existing Steering Wheel Sensor Integration Solutions
01 Steering wheel sensors for environmental analysis
Steering wheel sensors are used to analyze the surrounding environment of the vehicle. These sensors can detect various environmental factors such as temperature, humidity, and air quality. The data collected by these sensors can be used to adjust vehicle systems for optimal performance and safety.- Steering wheel sensors for environmental analysis: Steering wheel sensors are used to analyze the surrounding environment of the vehicle. These sensors can detect various environmental factors such as temperature, humidity, and air quality. The data collected by these sensors can be used to adjust vehicle systems for optimal performance and safety.
- Integration of environmental sensors with steering control systems: Environmental sensors are integrated with steering control systems to enhance vehicle safety and performance. These integrated systems can analyze road conditions, weather, and other environmental factors to adjust steering response and assist the driver in maintaining control of the vehicle.
- Adaptive steering systems based on environmental data: Adaptive steering systems use environmental data collected from sensors to adjust steering characteristics. These systems can modify steering sensitivity, assist force, and other parameters based on factors such as road surface conditions, vehicle speed, and weather conditions, improving overall driving experience and safety.
- Environmental analysis for autonomous and semi-autonomous vehicles: Steering wheel sensors and environmental analysis play a crucial role in autonomous and semi-autonomous vehicles. These systems use advanced sensors and data processing to continuously monitor the environment, make decisions, and control the vehicle's steering to navigate safely and efficiently.
- Driver alertness and safety systems based on environmental factors: Environmental analysis through steering wheel sensors contributes to driver alertness and safety systems. These systems can detect changes in environmental conditions that may affect driver performance, such as low visibility or slippery roads, and provide warnings or assistance to the driver to maintain safe operation of the vehicle.
02 Integration of environmental sensors with steering control systems
Environmental sensors are integrated with steering control systems to provide real-time data for improved vehicle handling and safety. These integrated systems can adjust steering response based on environmental conditions such as road surface, weather, and visibility.Expand Specific Solutions03 Adaptive steering systems based on environmental analysis
Adaptive steering systems use environmental analysis to adjust steering parameters automatically. These systems can modify steering ratio, assist level, and feedback based on factors such as vehicle speed, road conditions, and driver input, enhancing overall driving experience and safety.Expand Specific Solutions04 Environmental data collection for autonomous driving
Steering wheel sensors contribute to environmental data collection for autonomous driving systems. These sensors gather information about the vehicle's surroundings, which is then processed to make decisions about vehicle control and navigation in self-driving modes.Expand Specific Solutions05 Driver alertness monitoring through environmental sensors
Environmental sensors in the steering wheel can monitor driver alertness by analyzing factors such as grip pressure, hand position, and steering inputs. This data, combined with environmental analysis, can be used to detect driver fatigue or distraction and trigger appropriate safety measures.Expand Specific Solutions
Key Players in Automotive Sensor Industry
The steering wheel sensor integration for real-time environmental analysis is in an emerging stage, with a growing market driven by increasing demand for advanced driver assistance systems and autonomous vehicles. The technology's maturity is rapidly evolving, with major automotive players like Robert Bosch GmbH, Continental Automotive GmbH, and ZF Friedrichshafen AG leading the development. These companies are leveraging their expertise in automotive electronics and sensor technologies to create sophisticated integrated systems. Emerging players such as Tesla, Inc. and Joyson Safety Systems are also making significant contributions, pushing the boundaries of innovation in this field. The market is expected to expand as automakers increasingly prioritize safety features and environmental awareness in vehicle design.
Robert Bosch GmbH
Technical Solution: Bosch has developed an advanced Steering Wheel Sensor Integration system for real-time environmental analysis. Their solution incorporates multiple sensors, including capacitive touch sensors, optical sensors, and pressure sensors, integrated seamlessly into the steering wheel[1]. This multi-sensor approach allows for comprehensive driver monitoring and environmental data collection. The system uses AI-powered algorithms to process sensor data in real-time, providing insights on driver alertness, grip strength, and potential hazards[2]. Bosch's solution also includes a haptic feedback mechanism to alert drivers of potential dangers or required actions[3].
Strengths: Comprehensive sensor integration, real-time AI processing, and haptic feedback for enhanced safety. Weaknesses: Potentially higher cost due to multiple sensor types and complex integration.
Autoliv Development AB
Technical Solution: Autoliv has pioneered a Steering Wheel Sensor Integration system focusing on driver state monitoring and environmental awareness. Their solution incorporates advanced infrared cameras and capacitive sensors directly into the steering wheel rim[4]. These sensors work in tandem to monitor driver hand position, grip strength, and physiological signals such as heart rate and skin conductance. The system utilizes edge computing to process sensor data in real-time, enabling quick response to potential driver impairment or distraction[5]. Autoliv's technology also includes environmental sensors that detect air quality and temperature, providing a holistic approach to in-cabin safety and comfort[6].
Strengths: Comprehensive driver monitoring, edge computing for fast processing, and additional environmental sensing. Weaknesses: Potential privacy concerns due to continuous physiological monitoring.
Core Innovations in Real-Time Environmental Analysis
Vehicle operation with physiological monitoring
PatentWO2025071945A1
Innovation
- Integration of physiological sensor modules within the vehicle, specifically on the steering wheel, which include temperature sensors, pulse oximeters, and ECG electrodes, to monitor physiological data such as pulse rate, heart rate, and blood oxygen saturation, and adjust vehicle functions accordingly.
Sensor systems integrated with steering wheels
PatentInactiveUS20180015932A1
Innovation
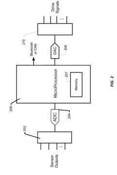
- A sensor system integrated with a steering wheel, comprising a flexible dielectric substrate, flexible piezoresistive material, and an array of sensors with conductive traces, configured to detect grip and swipe events by selectively energizing and recalculating calibration data, allowing for precise force data normalization and interpretation.
Safety and Regulatory Considerations
The integration of steering wheel sensors for real-time environmental analysis introduces significant safety and regulatory considerations that must be carefully addressed. As these systems become more prevalent in modern vehicles, regulatory bodies worldwide are developing and updating standards to ensure their safe implementation and operation.
One of the primary safety concerns is the potential for driver distraction. While these sensors aim to enhance safety by providing real-time environmental data, they must be designed and implemented in a way that does not divert the driver's attention from the road. Regulatory bodies, such as the National Highway Traffic Safety Administration (NHTSA) in the United States, have established guidelines for in-vehicle electronic devices to minimize driver distraction. Manufacturers must adhere to these guidelines when integrating steering wheel sensors and their associated displays or feedback mechanisms.
Another critical safety aspect is the reliability and accuracy of the sensor data. False positives or negatives in environmental analysis could lead to inappropriate driver responses or system interventions, potentially compromising vehicle safety. Regulatory standards are being developed to establish minimum performance requirements for these sensors, including accuracy thresholds, response times, and environmental tolerance ranges.
Cybersecurity is an increasingly important consideration as vehicles become more connected. Steering wheel sensors that analyze environmental conditions may be part of a larger network of vehicle systems, potentially vulnerable to hacking or malicious interference. Regulatory frameworks, such as the UN Regulation No. 155 on Cyber Security and Cyber Security Management System, are being adopted globally to address these risks and ensure the integrity of vehicle systems.
Data privacy is another regulatory concern, particularly when sensor data is transmitted or stored. Many jurisdictions have implemented data protection regulations, like the General Data Protection Regulation (GDPR) in the European Union, which may apply to the collection and processing of environmental data from steering wheel sensors. Manufacturers must ensure compliance with these regulations in their data handling practices.
Electromagnetic compatibility (EMC) is a crucial regulatory consideration for steering wheel sensors. These devices must not interfere with other vehicle electronic systems or external devices, and conversely, must be resistant to interference from other sources. Standards such as those set by the International Special Committee on Radio Interference (CISPR) provide guidelines for EMC compliance in automotive applications.
As the technology evolves, regulatory bodies are likely to introduce new standards specific to steering wheel sensor integration and real-time environmental analysis. Manufacturers and developers in this field must stay abreast of these evolving regulations and actively participate in industry discussions to shape future standards. This proactive approach will help ensure that safety and regulatory considerations are adequately addressed throughout the development and implementation of these innovative systems.
One of the primary safety concerns is the potential for driver distraction. While these sensors aim to enhance safety by providing real-time environmental data, they must be designed and implemented in a way that does not divert the driver's attention from the road. Regulatory bodies, such as the National Highway Traffic Safety Administration (NHTSA) in the United States, have established guidelines for in-vehicle electronic devices to minimize driver distraction. Manufacturers must adhere to these guidelines when integrating steering wheel sensors and their associated displays or feedback mechanisms.
Another critical safety aspect is the reliability and accuracy of the sensor data. False positives or negatives in environmental analysis could lead to inappropriate driver responses or system interventions, potentially compromising vehicle safety. Regulatory standards are being developed to establish minimum performance requirements for these sensors, including accuracy thresholds, response times, and environmental tolerance ranges.
Cybersecurity is an increasingly important consideration as vehicles become more connected. Steering wheel sensors that analyze environmental conditions may be part of a larger network of vehicle systems, potentially vulnerable to hacking or malicious interference. Regulatory frameworks, such as the UN Regulation No. 155 on Cyber Security and Cyber Security Management System, are being adopted globally to address these risks and ensure the integrity of vehicle systems.
Data privacy is another regulatory concern, particularly when sensor data is transmitted or stored. Many jurisdictions have implemented data protection regulations, like the General Data Protection Regulation (GDPR) in the European Union, which may apply to the collection and processing of environmental data from steering wheel sensors. Manufacturers must ensure compliance with these regulations in their data handling practices.
Electromagnetic compatibility (EMC) is a crucial regulatory consideration for steering wheel sensors. These devices must not interfere with other vehicle electronic systems or external devices, and conversely, must be resistant to interference from other sources. Standards such as those set by the International Special Committee on Radio Interference (CISPR) provide guidelines for EMC compliance in automotive applications.
As the technology evolves, regulatory bodies are likely to introduce new standards specific to steering wheel sensor integration and real-time environmental analysis. Manufacturers and developers in this field must stay abreast of these evolving regulations and actively participate in industry discussions to shape future standards. This proactive approach will help ensure that safety and regulatory considerations are adequately addressed throughout the development and implementation of these innovative systems.
Human-Machine Interface Advancements
The integration of advanced sensors into steering wheels represents a significant leap in human-machine interface technology for automotive applications. This innovation allows for real-time environmental analysis, enhancing both driver safety and vehicle performance. The steering wheel, traditionally a mechanical control device, is evolving into a sophisticated data collection and interaction point.
Recent advancements in sensor miniaturization and data processing have enabled the incorporation of multiple sensor types within the steering wheel structure. These include touch-sensitive surfaces, biometric sensors, and environmental monitors. Touch-sensitive surfaces can detect hand position and grip strength, providing valuable data on driver attentiveness and fatigue levels. Biometric sensors, such as those measuring heart rate and skin conductivity, offer insights into the driver's physiological state, potentially alerting to stress or medical emergencies.
Environmental sensors integrated into the steering wheel can monitor air quality, temperature, and humidity within the vehicle cabin. This data can be used to automatically adjust climate control systems for optimal comfort and safety. Additionally, these sensors can detect the presence of harmful gases or particulates, triggering alerts or activating air purification systems as needed.
The real-time data collected by these integrated sensors is processed by advanced algorithms, which can interpret the information to make predictive assessments about driver behavior and environmental conditions. This allows for proactive interventions, such as adjusting vehicle dynamics or initiating driver assistance features when potential risks are detected.
One of the most promising aspects of this technology is its potential for personalization. By recognizing individual driver patterns and preferences, the system can tailor the driving experience to each user. This may include adjusting steering sensitivity, customizing information displays, or even modifying the vehicle's performance characteristics based on the driver's current state and historical data.
The integration of these sensors also opens up new possibilities for human-machine interaction in vehicles. Gesture recognition technology, combined with the touch-sensitive surfaces, could allow drivers to control various vehicle functions without taking their hands off the wheel. This not only enhances convenience but also significantly improves safety by reducing driver distraction.
As this technology continues to evolve, we can expect to see even more sophisticated integration of steering wheel sensors with other vehicle systems. This may include seamless connectivity with smartphones and wearable devices, further expanding the range of data available for analysis and interaction. The future of steering wheel sensor integration promises to revolutionize the driving experience, making it safer, more comfortable, and more personalized than ever before.
Recent advancements in sensor miniaturization and data processing have enabled the incorporation of multiple sensor types within the steering wheel structure. These include touch-sensitive surfaces, biometric sensors, and environmental monitors. Touch-sensitive surfaces can detect hand position and grip strength, providing valuable data on driver attentiveness and fatigue levels. Biometric sensors, such as those measuring heart rate and skin conductivity, offer insights into the driver's physiological state, potentially alerting to stress or medical emergencies.
Environmental sensors integrated into the steering wheel can monitor air quality, temperature, and humidity within the vehicle cabin. This data can be used to automatically adjust climate control systems for optimal comfort and safety. Additionally, these sensors can detect the presence of harmful gases or particulates, triggering alerts or activating air purification systems as needed.
The real-time data collected by these integrated sensors is processed by advanced algorithms, which can interpret the information to make predictive assessments about driver behavior and environmental conditions. This allows for proactive interventions, such as adjusting vehicle dynamics or initiating driver assistance features when potential risks are detected.
One of the most promising aspects of this technology is its potential for personalization. By recognizing individual driver patterns and preferences, the system can tailor the driving experience to each user. This may include adjusting steering sensitivity, customizing information displays, or even modifying the vehicle's performance characteristics based on the driver's current state and historical data.
The integration of these sensors also opens up new possibilities for human-machine interaction in vehicles. Gesture recognition technology, combined with the touch-sensitive surfaces, could allow drivers to control various vehicle functions without taking their hands off the wheel. This not only enhances convenience but also significantly improves safety by reducing driver distraction.
As this technology continues to evolve, we can expect to see even more sophisticated integration of steering wheel sensors with other vehicle systems. This may include seamless connectivity with smartphones and wearable devices, further expanding the range of data available for analysis and interaction. The future of steering wheel sensor integration promises to revolutionize the driving experience, making it safer, more comfortable, and more personalized than ever before.
Unlock deeper insights with Patsnap Eureka Quick Research — get a full tech report to explore trends and direct your research. Try now!
Generate Your Research Report Instantly with AI Agent
Supercharge your innovation with Patsnap Eureka AI Agent Platform!