Alluvial Soil vs Peat Soil: Which Retains More Water
SEP 23, 20259 MIN READ
 Generate Your Research Report Instantly with AI Agent 
 Patsnap Eureka helps you evaluate technical feasibility & market potential. 
Soil Hydrology Background and Research Objectives
Soil hydrology represents a critical domain within soil science, focusing on the movement, retention, and interaction of water within soil systems. The comparative water retention capabilities of different soil types have profound implications for agriculture, environmental management, and civil engineering. Alluvial soils and peat soils represent two distinctly different soil classifications with potentially significant variations in hydrological properties, particularly water retention capacity.
Historically, soil hydrology research has evolved from basic observational studies to sophisticated modeling approaches incorporating multidisciplinary insights from physics, chemistry, and biology. The scientific understanding of soil-water relationships has accelerated significantly since the mid-20th century with the development of advanced measurement technologies and computational methods.
Alluvial soils, formed through sediment deposition by rivers and streams, typically feature layered structures with varying particle sizes. These soils are generally characterized by good drainage properties while maintaining moderate water retention capabilities. Their composition often includes significant proportions of silt and clay particles alongside sand, creating a complex matrix that influences water movement and storage.
In contrast, peat soils develop primarily from partially decomposed organic matter in waterlogged conditions. Their distinctive organic composition results in unique physical and chemical properties that dramatically affect water dynamics. The high organic content creates a sponge-like structure that has historically been associated with exceptional water retention capabilities.
The comparative water retention capacity between these soil types represents a complex interplay of factors including porosity, organic matter content, particle size distribution, and structural arrangement. Understanding these differences has become increasingly important in the context of climate change, where water management in agricultural systems faces growing challenges from extreme weather events.
This research aims to quantitatively assess and compare the water retention capabilities of alluvial and peat soils under controlled conditions, with specific focus on measuring field capacity, permanent wilting point, and available water capacity. The investigation will employ standardized laboratory methods alongside field measurements to establish reliable comparative data.
Additionally, this study seeks to analyze how various environmental factors—including temperature fluctuations, compaction levels, and organic matter decomposition rates—influence the water retention dynamics of both soil types over time. This temporal dimension is particularly relevant for agricultural planning and water resource management.
The ultimate objective is to develop a comprehensive comparative model that can predict water retention behavior in these soil types across different environmental conditions, providing valuable guidance for land use planning, irrigation system design, and sustainable water management practices in regions where these soil types predominate.
Historically, soil hydrology research has evolved from basic observational studies to sophisticated modeling approaches incorporating multidisciplinary insights from physics, chemistry, and biology. The scientific understanding of soil-water relationships has accelerated significantly since the mid-20th century with the development of advanced measurement technologies and computational methods.
Alluvial soils, formed through sediment deposition by rivers and streams, typically feature layered structures with varying particle sizes. These soils are generally characterized by good drainage properties while maintaining moderate water retention capabilities. Their composition often includes significant proportions of silt and clay particles alongside sand, creating a complex matrix that influences water movement and storage.
In contrast, peat soils develop primarily from partially decomposed organic matter in waterlogged conditions. Their distinctive organic composition results in unique physical and chemical properties that dramatically affect water dynamics. The high organic content creates a sponge-like structure that has historically been associated with exceptional water retention capabilities.
The comparative water retention capacity between these soil types represents a complex interplay of factors including porosity, organic matter content, particle size distribution, and structural arrangement. Understanding these differences has become increasingly important in the context of climate change, where water management in agricultural systems faces growing challenges from extreme weather events.
This research aims to quantitatively assess and compare the water retention capabilities of alluvial and peat soils under controlled conditions, with specific focus on measuring field capacity, permanent wilting point, and available water capacity. The investigation will employ standardized laboratory methods alongside field measurements to establish reliable comparative data.
Additionally, this study seeks to analyze how various environmental factors—including temperature fluctuations, compaction levels, and organic matter decomposition rates—influence the water retention dynamics of both soil types over time. This temporal dimension is particularly relevant for agricultural planning and water resource management.
The ultimate objective is to develop a comprehensive comparative model that can predict water retention behavior in these soil types across different environmental conditions, providing valuable guidance for land use planning, irrigation system design, and sustainable water management practices in regions where these soil types predominate.
Market Analysis of Water-Retentive Soils
The water-retentive soil market has experienced significant growth in recent years, driven by increasing concerns about water conservation in agriculture and landscaping. The global market for specialized soils, including water-retentive varieties, reached approximately $5.7 billion in 2022 and is projected to grow at a compound annual growth rate of 6.8% through 2028.
Within this broader market, alluvial and peat soils represent two distinct segments with different market dynamics. Peat soil currently dominates the water-retention soil market with roughly 60% market share due to its exceptional water-holding capacity, which can retain up to 20 times its weight in water. This makes it particularly valuable in drought-prone regions and for water-intensive crops.
The alluvial soil segment, while smaller at approximately 25% market share, is growing more rapidly at 8.2% annually compared to peat's 5.4%. This growth differential stems from increasing environmental concerns about peat harvesting, which has led to restrictions in several European countries and Canada, traditional sources of commercial peat.
Agricultural applications constitute the largest end-use segment for water-retentive soils at 45% of total demand, followed by landscaping (30%), horticulture (15%), and other applications (10%). Within agriculture, high-value crops such as fruits, vegetables, and nursery plants represent the primary demand drivers.
Geographically, North America leads consumption with 35% market share, followed by Europe (30%), Asia-Pacific (25%), and rest of world (10%). However, the fastest growth is occurring in Asia-Pacific markets, particularly China and India, where agricultural intensification and water scarcity are creating strong demand for water-efficient growing media.
Consumer preferences are shifting toward sustainable soil amendments, benefiting alluvial soil products which are generally considered more environmentally sustainable than peat. This shift is reflected in premium pricing for certified sustainable soil products, which command 15-20% higher prices than conventional alternatives.
Market research indicates that water retention capacity is the primary purchasing factor for 78% of commercial growers and 65% of residential consumers. This highlights the critical importance of comparative water retention performance between alluvial and peat soils in determining future market share dynamics.
The competitive landscape features both large agricultural input companies and specialized soil producers. Major players include Scotts Miracle-Gro, Premier Tech, Klasmann-Deilmann, and Sun Gro Horticulture, collectively controlling approximately 45% of the global market. Regional and specialized producers make up the remainder, with increasing consolidation through acquisitions.
Within this broader market, alluvial and peat soils represent two distinct segments with different market dynamics. Peat soil currently dominates the water-retention soil market with roughly 60% market share due to its exceptional water-holding capacity, which can retain up to 20 times its weight in water. This makes it particularly valuable in drought-prone regions and for water-intensive crops.
The alluvial soil segment, while smaller at approximately 25% market share, is growing more rapidly at 8.2% annually compared to peat's 5.4%. This growth differential stems from increasing environmental concerns about peat harvesting, which has led to restrictions in several European countries and Canada, traditional sources of commercial peat.
Agricultural applications constitute the largest end-use segment for water-retentive soils at 45% of total demand, followed by landscaping (30%), horticulture (15%), and other applications (10%). Within agriculture, high-value crops such as fruits, vegetables, and nursery plants represent the primary demand drivers.
Geographically, North America leads consumption with 35% market share, followed by Europe (30%), Asia-Pacific (25%), and rest of world (10%). However, the fastest growth is occurring in Asia-Pacific markets, particularly China and India, where agricultural intensification and water scarcity are creating strong demand for water-efficient growing media.
Consumer preferences are shifting toward sustainable soil amendments, benefiting alluvial soil products which are generally considered more environmentally sustainable than peat. This shift is reflected in premium pricing for certified sustainable soil products, which command 15-20% higher prices than conventional alternatives.
Market research indicates that water retention capacity is the primary purchasing factor for 78% of commercial growers and 65% of residential consumers. This highlights the critical importance of comparative water retention performance between alluvial and peat soils in determining future market share dynamics.
The competitive landscape features both large agricultural input companies and specialized soil producers. Major players include Scotts Miracle-Gro, Premier Tech, Klasmann-Deilmann, and Sun Gro Horticulture, collectively controlling approximately 45% of the global market. Regional and specialized producers make up the remainder, with increasing consolidation through acquisitions.
Current Understanding and Challenges in Soil Water Retention
The current understanding of soil water retention mechanisms reveals significant differences between alluvial and peat soils. Research indicates that soil water retention is primarily governed by physical properties including texture, structure, porosity, and organic matter content. These factors create a complex matrix that determines how water is held against gravitational forces and made available to plants.
Alluvial soils, formed from sediment deposition by rivers, typically exhibit a heterogeneous composition with varying particle sizes. Their water retention capacity is largely influenced by the distribution of sand, silt, and clay particles. Studies have demonstrated that alluvial soils with higher clay content can retain more water due to the increased surface area and stronger adhesive forces between water molecules and soil particles.
Peat soils, conversely, are characterized by their high organic matter content, often exceeding 65%. This organic composition creates a distinctive physical structure with numerous micropores that can hold substantial amounts of water. Research has shown that peat soils can retain water up to 20 times their dry weight, significantly higher than most mineral soils including alluvial deposits.
A major challenge in comparing these soil types stems from their dynamic nature. Alluvial soils undergo continuous transformation through flooding cycles, which alter their structure and composition over time. Similarly, peat soils experience significant physical changes when drained, leading to irreversible shrinkage and reduced water retention capacity.
Methodological inconsistencies in measuring water retention present another significant challenge. Traditional laboratory techniques like pressure plate apparatus may not accurately represent field conditions, particularly for organic-rich peat soils. Recent studies suggest that these methods may underestimate the actual water retention capacity of peat soils by failing to account for their hysteresis properties.
Climate change introduces additional complexity to soil water retention research. Rising temperatures accelerate organic matter decomposition in peat soils, potentially reducing their water-holding capacity. Simultaneously, changing precipitation patterns affect the formation and composition of alluvial soils, altering their hydrological properties.
The spatial variability within both soil types further complicates comparative analysis. Alluvial soils show considerable horizontal and vertical heterogeneity based on deposition patterns, while peat soils vary in decomposition stage and botanical composition, factors that significantly influence their water retention characteristics.
Current research gaps include limited understanding of the molecular interactions between water and organic compounds in peat soils, and insufficient data on how microbial activity affects water retention dynamics in both soil types. Additionally, there remains a need for standardized methodologies that can accurately assess and compare water retention across these fundamentally different soil systems.
Alluvial soils, formed from sediment deposition by rivers, typically exhibit a heterogeneous composition with varying particle sizes. Their water retention capacity is largely influenced by the distribution of sand, silt, and clay particles. Studies have demonstrated that alluvial soils with higher clay content can retain more water due to the increased surface area and stronger adhesive forces between water molecules and soil particles.
Peat soils, conversely, are characterized by their high organic matter content, often exceeding 65%. This organic composition creates a distinctive physical structure with numerous micropores that can hold substantial amounts of water. Research has shown that peat soils can retain water up to 20 times their dry weight, significantly higher than most mineral soils including alluvial deposits.
A major challenge in comparing these soil types stems from their dynamic nature. Alluvial soils undergo continuous transformation through flooding cycles, which alter their structure and composition over time. Similarly, peat soils experience significant physical changes when drained, leading to irreversible shrinkage and reduced water retention capacity.
Methodological inconsistencies in measuring water retention present another significant challenge. Traditional laboratory techniques like pressure plate apparatus may not accurately represent field conditions, particularly for organic-rich peat soils. Recent studies suggest that these methods may underestimate the actual water retention capacity of peat soils by failing to account for their hysteresis properties.
Climate change introduces additional complexity to soil water retention research. Rising temperatures accelerate organic matter decomposition in peat soils, potentially reducing their water-holding capacity. Simultaneously, changing precipitation patterns affect the formation and composition of alluvial soils, altering their hydrological properties.
The spatial variability within both soil types further complicates comparative analysis. Alluvial soils show considerable horizontal and vertical heterogeneity based on deposition patterns, while peat soils vary in decomposition stage and botanical composition, factors that significantly influence their water retention characteristics.
Current research gaps include limited understanding of the molecular interactions between water and organic compounds in peat soils, and insufficient data on how microbial activity affects water retention dynamics in both soil types. Additionally, there remains a need for standardized methodologies that can accurately assess and compare water retention across these fundamentally different soil systems.
Comparative Analysis of Alluvial and Peat Soil Properties
- 01 Composition of soil mixtures for improved water retentionSpecific combinations of alluvial soil, peat soil, and other materials can be formulated to optimize water retention properties. These mixtures often include precise ratios of components to balance drainage and moisture retention. The addition of organic matter to alluvial soil or the blending of peat with mineral soils creates growing media with enhanced water-holding capacity while maintaining adequate aeration for plant roots.- Composition of soil mixtures for improved water retention: Specific combinations of alluvial soil and peat soil can be formulated to optimize water retention properties. These mixtures often include precise ratios of peat, alluvial soil, and additional components such as sand or clay to create an ideal growing medium. The balanced composition helps maintain moisture while preventing waterlogging, providing optimal conditions for plant growth.
- Additives to enhance water retention in soil: Various additives can be incorporated into alluvial and peat soil mixtures to improve their water retention capabilities. These include hydrogels, organic polymers, and natural materials that absorb and slowly release moisture. Such additives help reduce irrigation frequency, prevent drought stress in plants, and improve the overall efficiency of water usage in agricultural and horticultural applications.
- Structural modifications for soil water management: Engineering approaches can be applied to alluvial and peat soil systems to manage water retention. These include layering techniques, drainage systems, and specialized containers or beds that control water movement. Such structural modifications help balance water retention with proper drainage, preventing issues like root rot while ensuring adequate moisture availability for plants.
- Sustainable management of peat and alluvial soils: Sustainable practices for managing water retention in peat and alluvial soils focus on conservation and environmental protection. These approaches include techniques to prevent soil degradation, reduce peat oxidation, and maintain the natural hydrological functions of these soil types. Sustainable management helps preserve the water retention capabilities of these valuable soil resources while minimizing environmental impact.
- Monitoring and control systems for soil moisture: Advanced technologies for monitoring and controlling moisture levels in alluvial and peat soils enable precise water management. These systems include sensors, automated irrigation controls, and data analysis tools that help maintain optimal water retention. By providing real-time information about soil moisture conditions, these technologies allow for efficient water use while maximizing the natural retention properties of the soils.
 
- 02 Water retention enhancement additives for soil systemsVarious additives can be incorporated into alluvial and peat soil systems to improve their water retention capabilities. These include hydrophilic polymers, biochar, clay minerals, and specialized organic compounds that can significantly increase the soil's ability to hold moisture. These additives work by forming water-binding structures within the soil matrix or by altering the soil's physical properties to reduce water loss through drainage or evaporation.Expand Specific Solutions
- 03 Engineered soil structures for water managementSpecialized layering and structural modifications of alluvial and peat soils can create engineered systems for optimal water retention and management. These systems often involve strategic placement of different soil types to create capillary barriers or water-holding zones. Such engineered structures can include drainage layers beneath water-retentive peat layers or the incorporation of alluvial materials at specific depths to create moisture gradients beneficial for plant growth.Expand Specific Solutions
- 04 Sustainable management practices for peat and alluvial soilsSpecific management techniques can be employed to maintain or enhance the natural water retention properties of alluvial and peat soils. These practices include controlled irrigation methods, surface mulching, and specialized tillage approaches that preserve soil structure. Sustainable management also involves techniques to prevent compaction of these soils, which can significantly reduce their water-holding capacity and natural drainage properties.Expand Specific Solutions
- 05 Restoration and enhancement of degraded soil water retentionMethods for rehabilitating degraded alluvial and peat soils to restore their water retention capabilities involve specific interventions such as organic matter incorporation, microbial inoculation, and structural remediation. These restoration techniques often focus on rebuilding soil aggregation, increasing organic carbon content, and reestablishing beneficial soil biology. For severely degraded peat soils, specialized approaches may include rewetting techniques and the introduction of peat-forming vegetation to regenerate the soil's natural water-holding properties.Expand Specific Solutions
Leading Research Institutions and Commercial Soil Providers
The water retention comparison between alluvial and peat soils exists within a growing market for soil management solutions, currently in a mature growth phase with increasing focus on sustainable alternatives. The global soil amendment market is estimated at $3-5 billion annually, with peat-based products facing sustainability challenges. Companies like PROFILE Products LLC and American Peat Technology are leading innovation in water retention technologies, while PittMoss LLC and Florentaise SAS are pioneering peat alternatives. Research institutions including Northeast Normal University and Hohai University contribute significant academic advancements. The competitive landscape shows a transition toward eco-friendly solutions as BASF Corp. and Croda International develop sustainable soil conditioners with enhanced water retention properties, reflecting the industry's evolution toward environmentally responsible soil management practices.
PROFILE Products LLC
Technical Solution:  PROFILE Products has developed advanced soil amendment technologies that enhance water retention properties of different soil types. Their ProGanics® Biotic Soil Media technology combines both organic matter and growth stimulants to create engineered soils with optimized water retention capabilities. For alluvial soils, they've developed specific formulations that complement the natural silty composition while addressing drainage issues. Their research shows that treated alluvial soils can increase water holding capacity by up to 30% while maintaining proper drainage. For peat-based applications, they've created HydroStraw® products that work synergistically with peat's natural properties to enhance moisture retention while preventing hydrophobic conditions that can develop in dried peat.
Strengths: Highly customizable solutions for specific soil types; products address both immediate and long-term water retention needs; extensive field testing across various climate conditions. Weaknesses: Solutions require proper application techniques; higher initial cost compared to untreated soils; performance varies based on local environmental conditions.
American Peat Technology LLC
Technical Solution:  American Peat Technology (APT) has pioneered innovative processing methods for peat soil that significantly enhance its water retention capabilities while addressing traditional limitations. Their patented Reed-Sedge peat processing technology creates a granular peat product that maintains peat's exceptional water holding capacity (up to 20 times its weight) while improving structural stability and reducing hydrophobic tendencies when dry. Their comparative studies between processed peat and alluvial soils demonstrate that their engineered peat products retain 40-60% more plant-available water than typical alluvial soils. APT's BioAPT™ technology further enhances peat's natural properties by creating stable micropore structures that optimize both water retention and aeration, addressing the oxygen deficiency issues that can occur in saturated peat systems.
Strengths: Exceptional water holding capacity; renewable resource with carbon sequestration benefits; consistent performance across varying environmental conditions. Weaknesses: Higher cost than unprocessed soils; requires specific handling and application methods; may need pH adjustment depending on application.
Key Scientific Studies on Soil Water Retention Capacity
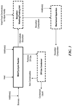
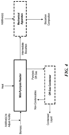
Biomedia compositions for peat-replacement products, and processes for producing biomedia compositions 
PatentPendingUS20240130308A1
 Innovation 
- A biomedia composition is developed, comprising 50-75 wt% total carbon, with at least 50% renewable carbon, and containing essential nutrients like nitrogen, phosphorus, and potassium, which is produced through a process involving biomass pyrolysis and optional additives to adjust acidity and enhance properties such as water absorbency and aeration.
Mechanical demoisturizing of partially-decomposed organic material 
PatentPendingUS20240091679A1
 Innovation 
- A process using a filter press with porous membranes to demisturize a peat slurry admixture without thermal heat or superheated steam, increasing the moisture content before dewatering to facilitate efficient water removal, resulting in a uniform filter cake with reduced moisture content, which can be further processed for specific end-use applications.
Environmental Impact of Soil Selection in Agriculture
The selection of soil type in agricultural practices has profound environmental implications that extend far beyond crop yield considerations. When comparing alluvial soil and peat soil for water retention capabilities, their environmental impacts must be carefully evaluated as they significantly affect ecosystem health, carbon sequestration, and water management systems.
Alluvial soils, formed by river deposits, typically contain balanced mineral compositions that support diverse microbial communities. Their moderate water retention capabilities reduce irrigation frequency, potentially decreasing water consumption by 15-30% compared to sandy soils. However, agricultural use of alluvial soils often involves floodplain development, which can disrupt natural flood mitigation systems and alter riparian habitats that serve as critical ecological corridors.
Peat soils, conversely, represent significant carbon sinks, storing approximately 30% of global soil carbon despite covering only 3% of Earth's land surface. Their exceptional water retention capacity—often holding 15-30 times their weight in water—creates natural wetland environments that filter pollutants and regulate water flow. Agricultural development of peatlands typically requires drainage, which triggers rapid carbon oxidation, releasing stored carbon as CO2 and contributing to greenhouse gas emissions.
The environmental trade-offs between these soil types are substantial. Converting peatlands to agricultural use can release 25-50 tons of CO2 equivalent per hectare annually, while alluvial soil cultivation may lead to increased sedimentation in waterways and reduced flood buffer capacity. Studies indicate that drained peatlands used for agriculture contribute approximately 5-10% of global anthropogenic greenhouse gas emissions despite their limited geographic extent.
Water quality considerations also differ markedly between these soil types. Alluvial soils generally provide better filtration of agricultural inputs, reducing nutrient leaching by up to 40% compared to sandy soils. Peat soils, while excellent at water retention, may release dissolved organic carbon and potentially harmful compounds when disturbed, affecting downstream water quality and aquatic ecosystems.
Biodiversity impacts further differentiate these soil types. Alluvial agricultural systems can maintain moderate biodiversity when managed with riparian buffers and conservation practices. Peatland conversion, however, typically results in 70-90% reduction in habitat-specific biodiversity, affecting specialized species that have evolved to thrive in these unique ecosystems.
Sustainable management approaches must therefore consider these environmental dimensions alongside water retention properties when selecting between alluvial and peat soils for agricultural purposes, emphasizing the need for context-specific decision-making that balances productivity with ecological preservation.
Alluvial soils, formed by river deposits, typically contain balanced mineral compositions that support diverse microbial communities. Their moderate water retention capabilities reduce irrigation frequency, potentially decreasing water consumption by 15-30% compared to sandy soils. However, agricultural use of alluvial soils often involves floodplain development, which can disrupt natural flood mitigation systems and alter riparian habitats that serve as critical ecological corridors.
Peat soils, conversely, represent significant carbon sinks, storing approximately 30% of global soil carbon despite covering only 3% of Earth's land surface. Their exceptional water retention capacity—often holding 15-30 times their weight in water—creates natural wetland environments that filter pollutants and regulate water flow. Agricultural development of peatlands typically requires drainage, which triggers rapid carbon oxidation, releasing stored carbon as CO2 and contributing to greenhouse gas emissions.
The environmental trade-offs between these soil types are substantial. Converting peatlands to agricultural use can release 25-50 tons of CO2 equivalent per hectare annually, while alluvial soil cultivation may lead to increased sedimentation in waterways and reduced flood buffer capacity. Studies indicate that drained peatlands used for agriculture contribute approximately 5-10% of global anthropogenic greenhouse gas emissions despite their limited geographic extent.
Water quality considerations also differ markedly between these soil types. Alluvial soils generally provide better filtration of agricultural inputs, reducing nutrient leaching by up to 40% compared to sandy soils. Peat soils, while excellent at water retention, may release dissolved organic carbon and potentially harmful compounds when disturbed, affecting downstream water quality and aquatic ecosystems.
Biodiversity impacts further differentiate these soil types. Alluvial agricultural systems can maintain moderate biodiversity when managed with riparian buffers and conservation practices. Peatland conversion, however, typically results in 70-90% reduction in habitat-specific biodiversity, affecting specialized species that have evolved to thrive in these unique ecosystems.
Sustainable management approaches must therefore consider these environmental dimensions alongside water retention properties when selecting between alluvial and peat soils for agricultural purposes, emphasizing the need for context-specific decision-making that balances productivity with ecological preservation.
Climate Change Effects on Soil Water Retention Properties
Climate change is significantly altering soil water retention properties worldwide, with particularly pronounced effects on alluvial and peat soils. Rising global temperatures are accelerating evaporation rates, fundamentally changing the water retention dynamics in both soil types. For alluvial soils, which typically contain a balanced mixture of sand, silt, and clay particles, increased temperatures are causing more rapid drying cycles, potentially reducing their natural water-holding capacity over time.
Peat soils, characterized by their high organic matter content, face even more dramatic challenges. As climate change intensifies, these carbon-rich soils become increasingly vulnerable to desiccation and oxidation. When dried, peat soils can develop hydrophobic properties that paradoxically reduce their exceptional water retention capabilities, creating a concerning feedback loop.
Changing precipitation patterns represent another critical factor affecting soil water retention. Many regions are experiencing more intense but less frequent rainfall events, which particularly impacts alluvial soils. These soils may struggle to absorb sudden heavy downpours, leading to increased runoff rather than moisture retention. Conversely, peat soils can become oversaturated during extreme precipitation events, potentially triggering decomposition processes that alter their physical structure.
Rising sea levels and saltwater intrusion present additional threats, especially to coastal alluvial soils. Increased salinity can disrupt soil structure by causing clay particles to flocculate, permanently altering water retention properties. While peat soils are generally less affected by salinity, their location in low-lying wetland areas makes them vulnerable to inundation and subsequent changes in hydrological regimes.
The frequency and severity of drought conditions are increasing globally, with differential impacts on these soil types. Alluvial soils may develop compaction and crusting under drought conditions, reducing infiltration capacity when rain eventually returns. Peat soils face more existential threats from prolonged drought, as severe drying can lead to irreversible physical changes, including shrinkage and structural collapse.
Climate-driven shifts in vegetation patterns further complicate soil water dynamics. Changes in plant communities alter root structures, organic matter inputs, and evapotranspiration rates, indirectly affecting how both soil types capture and retain moisture. Research indicates that peat soils may be more sensitive to these vegetation changes due to their close ecological relationship with specific plant communities that contribute to peat formation.
Peat soils, characterized by their high organic matter content, face even more dramatic challenges. As climate change intensifies, these carbon-rich soils become increasingly vulnerable to desiccation and oxidation. When dried, peat soils can develop hydrophobic properties that paradoxically reduce their exceptional water retention capabilities, creating a concerning feedback loop.
Changing precipitation patterns represent another critical factor affecting soil water retention. Many regions are experiencing more intense but less frequent rainfall events, which particularly impacts alluvial soils. These soils may struggle to absorb sudden heavy downpours, leading to increased runoff rather than moisture retention. Conversely, peat soils can become oversaturated during extreme precipitation events, potentially triggering decomposition processes that alter their physical structure.
Rising sea levels and saltwater intrusion present additional threats, especially to coastal alluvial soils. Increased salinity can disrupt soil structure by causing clay particles to flocculate, permanently altering water retention properties. While peat soils are generally less affected by salinity, their location in low-lying wetland areas makes them vulnerable to inundation and subsequent changes in hydrological regimes.
The frequency and severity of drought conditions are increasing globally, with differential impacts on these soil types. Alluvial soils may develop compaction and crusting under drought conditions, reducing infiltration capacity when rain eventually returns. Peat soils face more existential threats from prolonged drought, as severe drying can lead to irreversible physical changes, including shrinkage and structural collapse.
Climate-driven shifts in vegetation patterns further complicate soil water dynamics. Changes in plant communities alter root structures, organic matter inputs, and evapotranspiration rates, indirectly affecting how both soil types capture and retain moisture. Research indicates that peat soils may be more sensitive to these vegetation changes due to their close ecological relationship with specific plant communities that contribute to peat formation.
 Unlock deeper insights with  Patsnap Eureka Quick Research — get a full tech report to explore trends and direct your research. Try now! 
 Generate Your Research Report Instantly with AI Agent 
 Supercharge your innovation with Patsnap Eureka AI Agent Platform! 







