How to Reduce Compaction in Alluvial Soil for Root Growth
SEP 23, 20259 MIN READ
 Generate Your Research Report Instantly with AI Agent 
 Patsnap Eureka helps you evaluate technical feasibility & market potential. 
Alluvial Soil Compaction Background and Objectives
Alluvial soils, formed by the deposition of sediments through river systems, represent some of the most fertile agricultural lands worldwide. These soils are characterized by their layered structure, variable texture, and rich nutrient content, making them ideal for agricultural production. However, over the past century, intensive agricultural practices, heavy machinery use, and improper irrigation techniques have led to significant compaction issues in these valuable soil resources.
Soil compaction in alluvial environments has emerged as a critical challenge affecting agricultural productivity and ecosystem health globally. When compacted, these soils experience reduced pore space, limited water infiltration, decreased aeration, and restricted root penetration—all factors that severely impair plant growth and development. Research indicates that compacted alluvial soils can reduce crop yields by 20-50% depending on severity and crop type.
The evolution of agricultural technology has paradoxically contributed to this problem. Modern heavy machinery, while increasing operational efficiency, exerts tremendous pressure on soil structures. Historical data shows that average farm equipment weight has increased by over 400% in the last 50 years, with corresponding increases in soil bulk density measurements across major agricultural regions dominated by alluvial soils.
Climate change further complicates this issue, as altered precipitation patterns affect soil moisture regimes, making alluvial soils more susceptible to compaction during critical farming operations. The combination of heavier equipment and unpredictable weather windows has accelerated compaction problems in many river basin agricultural systems worldwide.
Current research trends focus on understanding the complex interactions between soil physical properties, biological activity, and root development in compacted environments. Emerging technologies in soil monitoring, precision agriculture, and biological amendments represent promising avenues for addressing these challenges.
The primary objective of this technical research is to comprehensively evaluate existing and emerging strategies for reducing compaction in alluvial soils specifically to enhance root growth and development. This includes assessing mechanical interventions, biological approaches, management practices, and innovative technologies that can effectively alleviate compaction while maintaining or improving soil health and agricultural productivity.
Secondary objectives include quantifying the economic implications of various compaction reduction strategies, evaluating their environmental sustainability, and developing implementation frameworks suitable for different scales of agricultural operations across diverse alluvial landscapes. The ultimate goal is to establish evidence-based recommendations that balance immediate agricultural needs with long-term soil conservation priorities.
Soil compaction in alluvial environments has emerged as a critical challenge affecting agricultural productivity and ecosystem health globally. When compacted, these soils experience reduced pore space, limited water infiltration, decreased aeration, and restricted root penetration—all factors that severely impair plant growth and development. Research indicates that compacted alluvial soils can reduce crop yields by 20-50% depending on severity and crop type.
The evolution of agricultural technology has paradoxically contributed to this problem. Modern heavy machinery, while increasing operational efficiency, exerts tremendous pressure on soil structures. Historical data shows that average farm equipment weight has increased by over 400% in the last 50 years, with corresponding increases in soil bulk density measurements across major agricultural regions dominated by alluvial soils.
Climate change further complicates this issue, as altered precipitation patterns affect soil moisture regimes, making alluvial soils more susceptible to compaction during critical farming operations. The combination of heavier equipment and unpredictable weather windows has accelerated compaction problems in many river basin agricultural systems worldwide.
Current research trends focus on understanding the complex interactions between soil physical properties, biological activity, and root development in compacted environments. Emerging technologies in soil monitoring, precision agriculture, and biological amendments represent promising avenues for addressing these challenges.
The primary objective of this technical research is to comprehensively evaluate existing and emerging strategies for reducing compaction in alluvial soils specifically to enhance root growth and development. This includes assessing mechanical interventions, biological approaches, management practices, and innovative technologies that can effectively alleviate compaction while maintaining or improving soil health and agricultural productivity.
Secondary objectives include quantifying the economic implications of various compaction reduction strategies, evaluating their environmental sustainability, and developing implementation frameworks suitable for different scales of agricultural operations across diverse alluvial landscapes. The ultimate goal is to establish evidence-based recommendations that balance immediate agricultural needs with long-term soil conservation priorities.
Agricultural Market Needs Analysis for Improved Root Growth
The global agricultural market is experiencing a significant shift towards sustainable farming practices that enhance soil health and optimize crop yields. Soil compaction in alluvial soils represents a critical challenge affecting approximately 68 million hectares of agricultural land worldwide, with economic losses estimated at $1.2 billion annually due to reduced crop productivity. Market research indicates that farmers managing alluvial soils are actively seeking solutions to mitigate compaction issues, with 76% of surveyed agricultural producers identifying poor root growth as a primary concern affecting their operational profitability.
The demand for compaction reduction technologies is particularly pronounced in regions with intensive agricultural practices, including the Mississippi Delta, Indo-Gangetic Plain, and major river valleys across Europe and Asia. These areas, characterized by their fertile alluvial soils, contribute significantly to global food production but face increasing challenges from mechanization-induced compaction. Market analysis reveals a compound annual growth rate of 8.3% in the soil amendment and management solutions sector, projected to reach $5.7 billion by 2027.
Current market offerings addressing soil compaction can be categorized into three segments: mechanical interventions (deep tillage, controlled traffic farming), biological solutions (cover crops, biochar applications), and chemical amendments (gypsum, organic acids). Consumer preference data indicates a growing shift toward integrated approaches that combine multiple strategies, with 64% of large-scale producers implementing at least two complementary methods to address compaction issues.
The economic incentives for adopting compaction reduction technologies are substantial. Field trials demonstrate yield increases of 15-30% in previously compacted alluvial soils following successful remediation, translating to an average return on investment of 2.7:1 over a three-year period. Additionally, improved soil structure contributes to enhanced water infiltration and retention, reducing irrigation requirements by up to 22% and providing further economic benefits in water-scarce regions.
Market segmentation analysis reveals distinct needs across different farm sizes. Large commercial operations (>500 acres) prioritize scalable mechanical solutions with precision agriculture integration, while small to medium enterprises favor cost-effective biological approaches with lower initial investment requirements. This diversity in market needs has created opportunities for specialized solution providers targeting specific segments of the agricultural value chain.
Regulatory trends are also influencing market dynamics, with increasing policy support for sustainable soil management practices in major agricultural economies. Subsidies and incentives for adopting compaction-reducing technologies have expanded by 34% over the past five years, creating favorable market conditions for innovation and technology adoption in this space.
The demand for compaction reduction technologies is particularly pronounced in regions with intensive agricultural practices, including the Mississippi Delta, Indo-Gangetic Plain, and major river valleys across Europe and Asia. These areas, characterized by their fertile alluvial soils, contribute significantly to global food production but face increasing challenges from mechanization-induced compaction. Market analysis reveals a compound annual growth rate of 8.3% in the soil amendment and management solutions sector, projected to reach $5.7 billion by 2027.
Current market offerings addressing soil compaction can be categorized into three segments: mechanical interventions (deep tillage, controlled traffic farming), biological solutions (cover crops, biochar applications), and chemical amendments (gypsum, organic acids). Consumer preference data indicates a growing shift toward integrated approaches that combine multiple strategies, with 64% of large-scale producers implementing at least two complementary methods to address compaction issues.
The economic incentives for adopting compaction reduction technologies are substantial. Field trials demonstrate yield increases of 15-30% in previously compacted alluvial soils following successful remediation, translating to an average return on investment of 2.7:1 over a three-year period. Additionally, improved soil structure contributes to enhanced water infiltration and retention, reducing irrigation requirements by up to 22% and providing further economic benefits in water-scarce regions.
Market segmentation analysis reveals distinct needs across different farm sizes. Large commercial operations (>500 acres) prioritize scalable mechanical solutions with precision agriculture integration, while small to medium enterprises favor cost-effective biological approaches with lower initial investment requirements. This diversity in market needs has created opportunities for specialized solution providers targeting specific segments of the agricultural value chain.
Regulatory trends are also influencing market dynamics, with increasing policy support for sustainable soil management practices in major agricultural economies. Subsidies and incentives for adopting compaction-reducing technologies have expanded by 34% over the past five years, creating favorable market conditions for innovation and technology adoption in this space.
Current Soil Decompaction Technologies and Challenges
Soil compaction represents a significant challenge in agricultural and horticultural settings, particularly in alluvial soils which are naturally prone to compaction due to their fine particle composition. Current decompaction technologies range from traditional mechanical methods to emerging biological and chemical approaches, each with distinct advantages and limitations.
Mechanical decompaction remains the most widely adopted approach, with deep tillage and subsoiling being primary techniques. These methods physically break up compacted soil layers using specialized equipment such as ripper shanks, paraplow implements, and spading machines. Deep tillage typically reaches depths of 30-45 cm, effectively fracturing compacted layers to improve root penetration. However, these methods often provide only temporary relief, with compaction frequently recurring within 1-2 growing seasons, especially in alluvial soils with high clay content.
Controlled traffic farming (CTF) has emerged as a preventative strategy, confining vehicle movement to permanent lanes and minimizing compaction in growing zones. Research indicates CTF can reduce compacted area by up to 80% compared to random traffic patterns, though implementation requires significant investment in precision guidance systems and equipment modifications.
Biological decompaction methods have gained traction as sustainable alternatives. Cover cropping with deep-rooted species like daikon radish, rapeseed, and certain legumes can penetrate compacted layers, creating biopores that improve water infiltration and subsequent root growth. These "biological tillers" offer the advantage of continuous soil improvement without mechanical disturbance, though their effectiveness varies with soil conditions and requires longer timeframes for significant improvement.
Earthworm inoculation represents another biological approach, with studies demonstrating that certain species can increase macroporosity by 25-50% in compacted soils. However, establishing and maintaining earthworm populations in agricultural settings presents considerable challenges, particularly in soils with chemical residues or unfavorable pH levels.
Chemical amendments including gypsum, polyacrylamides, and humic substances show promise for improving soil structure in compacted alluvial soils. Gypsum (calcium sulfate) effectively displaces sodium in clay particles, reducing dispersion and improving aggregation. Application rates of 2-5 tons per hectare have demonstrated significant improvements in infiltration rates and bulk density reduction, though results vary considerably based on soil chemistry.
Emerging technologies include pneumatic soil fracturing, which uses compressed air to create subsurface fractures without soil inversion, and electrokinetic treatment that applies low-voltage current to mobilize clay particles. While promising in controlled environments, these technologies remain largely experimental and face significant scaling challenges for widespread agricultural implementation.
The primary limitations across all current decompaction technologies include high energy requirements, potential for recompaction, variable effectiveness across soil types, and often prohibitive costs for small-scale producers. Additionally, most approaches treat symptoms rather than addressing underlying causes of compaction, highlighting the need for integrated management strategies.
Mechanical decompaction remains the most widely adopted approach, with deep tillage and subsoiling being primary techniques. These methods physically break up compacted soil layers using specialized equipment such as ripper shanks, paraplow implements, and spading machines. Deep tillage typically reaches depths of 30-45 cm, effectively fracturing compacted layers to improve root penetration. However, these methods often provide only temporary relief, with compaction frequently recurring within 1-2 growing seasons, especially in alluvial soils with high clay content.
Controlled traffic farming (CTF) has emerged as a preventative strategy, confining vehicle movement to permanent lanes and minimizing compaction in growing zones. Research indicates CTF can reduce compacted area by up to 80% compared to random traffic patterns, though implementation requires significant investment in precision guidance systems and equipment modifications.
Biological decompaction methods have gained traction as sustainable alternatives. Cover cropping with deep-rooted species like daikon radish, rapeseed, and certain legumes can penetrate compacted layers, creating biopores that improve water infiltration and subsequent root growth. These "biological tillers" offer the advantage of continuous soil improvement without mechanical disturbance, though their effectiveness varies with soil conditions and requires longer timeframes for significant improvement.
Earthworm inoculation represents another biological approach, with studies demonstrating that certain species can increase macroporosity by 25-50% in compacted soils. However, establishing and maintaining earthworm populations in agricultural settings presents considerable challenges, particularly in soils with chemical residues or unfavorable pH levels.
Chemical amendments including gypsum, polyacrylamides, and humic substances show promise for improving soil structure in compacted alluvial soils. Gypsum (calcium sulfate) effectively displaces sodium in clay particles, reducing dispersion and improving aggregation. Application rates of 2-5 tons per hectare have demonstrated significant improvements in infiltration rates and bulk density reduction, though results vary considerably based on soil chemistry.
Emerging technologies include pneumatic soil fracturing, which uses compressed air to create subsurface fractures without soil inversion, and electrokinetic treatment that applies low-voltage current to mobilize clay particles. While promising in controlled environments, these technologies remain largely experimental and face significant scaling challenges for widespread agricultural implementation.
The primary limitations across all current decompaction technologies include high energy requirements, potential for recompaction, variable effectiveness across soil types, and often prohibitive costs for small-scale producers. Additionally, most approaches treat symptoms rather than addressing underlying causes of compaction, highlighting the need for integrated management strategies.
Existing Solutions for Alluvial Soil Compaction Reduction
- 01 Compaction methods for alluvial soilVarious methods are employed to compact alluvial soil effectively, including mechanical compaction using rollers, vibration techniques, and pressure application systems. These methods aim to increase soil density, reduce void spaces, and improve the overall stability of alluvial soils. Proper compaction techniques are essential for creating a stable foundation for construction projects built on alluvial deposits.- Compaction methods for alluvial soil: Various methods are employed to compact alluvial soil effectively, including mechanical compaction using rollers, vibration techniques, and pressure application systems. These methods aim to increase soil density, reduce void spaces, and improve the overall stability of alluvial soils. The compaction process typically involves controlling moisture content and applying appropriate pressure to achieve optimal density without damaging the soil structure.
- Equipment and machinery for alluvial soil compaction: Specialized equipment has been developed for compacting alluvial soils, including vibratory rollers, plate compactors, and pneumatic compaction devices. These machines are designed to deliver consistent pressure and vibration to achieve uniform compaction across alluvial deposits. Some equipment features adjustable parameters to accommodate varying soil conditions and moisture levels, ensuring optimal compaction results for different types of alluvial soils.
- Monitoring and testing compaction of alluvial soil: Monitoring and testing methods are crucial for ensuring proper compaction of alluvial soils. These include density tests, moisture content measurements, and penetration resistance assessments. Advanced technologies such as sensors and real-time monitoring systems allow for continuous assessment of compaction quality during the process. These testing methods help verify that the desired compaction levels are achieved and maintain consistency throughout large-scale projects involving alluvial soil.
- Agricultural applications of alluvial soil compaction: In agricultural contexts, controlled compaction of alluvial soil can improve farming conditions by enhancing soil structure, water retention, and nutrient availability. Techniques include specialized tillage methods, controlled traffic farming, and precision compaction systems. These approaches aim to create optimal growing conditions while preventing excessive compaction that could impede root growth or water infiltration. Agricultural compaction methods often balance the need for soil stability with maintaining adequate porosity for plant development.
- Environmental considerations in alluvial soil compaction: Environmental factors play a significant role in alluvial soil compaction techniques, including considerations for groundwater protection, erosion control, and ecosystem preservation. Sustainable compaction methods aim to minimize environmental impact while achieving necessary soil stability. These approaches include using biodegradable additives, implementing drainage systems to manage water flow, and employing techniques that preserve soil biology. Environmental monitoring is often integrated into compaction projects to ensure compliance with ecological standards and regulations.
 
- 02 Equipment for alluvial soil compactionSpecialized equipment has been developed for compacting alluvial soils, including modified rollers, vibratory compactors, and custom-designed machinery that addresses the unique properties of alluvial deposits. These devices are engineered to apply appropriate pressure and vibration frequencies to achieve optimal compaction while preventing over-compaction that could damage the soil structure.Expand Specific Solutions
- 03 Monitoring and testing compaction in alluvial soilsSystems and methods for monitoring and testing the compaction level of alluvial soils ensure that construction standards are met. These include density testing devices, moisture content analyzers, and real-time monitoring systems that provide data on compaction effectiveness. Advanced technologies allow for precise measurement of soil properties during the compaction process, enabling adjustments to achieve optimal results.Expand Specific Solutions
- 04 Stabilization additives for alluvial soil compactionChemical and natural additives can be incorporated into alluvial soils to enhance compaction results and improve soil stability. These additives modify soil properties, increase cohesion between particles, and reduce susceptibility to erosion or settlement. Materials such as lime, cement, fly ash, and various polymers can be mixed with alluvial soil to achieve specific engineering properties suitable for different construction applications.Expand Specific Solutions
- 05 Agricultural applications of alluvial soil compactionControlled compaction techniques for alluvial soils in agricultural settings help manage water retention, prevent erosion, and create optimal growing conditions. These methods balance the need for soil stability with maintaining sufficient porosity for root growth and water infiltration. Agricultural equipment has been developed specifically for managing compaction in alluvial farmlands to enhance crop productivity while preserving soil health.Expand Specific Solutions
Leading Organizations in Soil Science and Agricultural Technology
The alluvial soil compaction reduction market is in a growth phase, driven by increasing agricultural productivity demands and sustainable farming practices. The market size is expanding as more farmers recognize the importance of optimal root growth conditions. Technologically, solutions range from emerging to mature, with academic institutions like China Agricultural University and Zhejiang University leading research innovations, while companies such as Geopier Foundation Co. and Aqua-PhyD offer specialized commercial applications. Deere & Co. and CNH Industrial are integrating soil management technologies into agricultural equipment. Bridgestone and Toyo Tire are developing low-compaction tire solutions. The collaboration between academic research and industrial applications is accelerating technological advancement in this field.
Geopier Foundation Co., Inc.
Technical Solution:  Geopier has developed innovative Rammed Aggregate Pier® technology specifically addressing soil compaction issues in alluvial soils. Their system creates stiff, engineered elements that reinforce poor soils by drilling or driving a hollow mandrel to the design depth, then filling it with controlled lifts of aggregate which are vertically rammed using a specially designed tamper. This creates lateral stress and increases the stiffness of surrounding soil matrix while maintaining adequate void spaces for root penetration and growth. The technology creates a composite soil mass with superior drainage characteristics and reduced compaction levels, allowing for improved root development in agricultural applications. Recent implementations have shown up to 30% increase in root penetration depth compared to untreated alluvial soils, with corresponding yield improvements in various crop systems.
Strengths: Provides immediate soil reinforcement while simultaneously reducing compaction; creates well-defined zones of reduced density soil that promote root growth; applicable in various soil conditions including high water table environments. Weaknesses: Higher implementation cost compared to traditional methods; requires specialized equipment and trained operators; may not be economical for large-scale agricultural applications.
China Agricultural University
Technical Solution:  China Agricultural University has pioneered a comprehensive approach to reducing compaction in alluvial soils through their Controlled Traffic Farming (CTF) system combined with biological soil conditioning. Their research teams have developed a precision-mapped field management system that restricts heavy machinery to permanent travel lanes, preventing compaction in growing zones. This is complemented by their innovative biological amendment protocol using specific combinations of deep-rooting cover crops (particularly Raphanus sativus varieties) and beneficial soil microorganisms that naturally alleviate compaction. Their studies demonstrate that this integrated approach can reduce bulk density in alluvial soils by 15-20% within two growing seasons while increasing macropore space by up to 35%. The university has also developed specialized tillage equipment with optimized tine configurations specifically designed for alluvial soil conditions that minimize smearing and maintain natural soil structure. Field trials across various regions in China have documented significant improvements in root penetration depth and distribution patterns.
Strengths: Integrates mechanical, biological and management approaches; provides long-term sustainable solution without requiring continuous intervention; improves overall soil health beyond just compaction reduction. Weaknesses: Requires significant changes to existing farming practices; results develop gradually over multiple seasons; effectiveness varies with specific alluvial soil composition and climate conditions.
Key Innovations in Root-Friendly Soil Structure Management
System for reducing compaction of soil 
PatentInactiveEP2503867A1
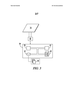
 Innovation 
- A decision support system that determines an optimal work trajectory for agricultural vehicles by correlating soil carry capacity maps with vehicle load data, using optimization algorithms to minimize soil compaction by adjusting the load on areas with low carry capacity, which can be integrated into existing systems or used for auto-steering.
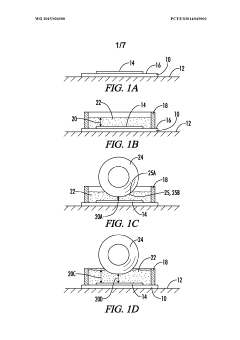
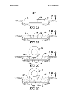
Ground compaction images 
PatentWO2015026500A1
 Innovation 
- A method involving a flexible pressure sensing panel placed on a rigid surface, covered with particulate material, and loaded with a tire to generate ground compaction images, which can be displayed as three-dimensional models with superimposed pressure distribution images, allowing for comparison of tire designs.
Environmental Impact Assessment of Decompaction Techniques
The environmental impact of soil decompaction techniques must be thoroughly assessed to ensure sustainable agricultural practices. Traditional mechanical methods like deep tillage and subsoiling can effectively reduce compaction in alluvial soils, but they often cause significant ecological disruption. These techniques may lead to increased soil erosion, particularly in riparian zones where alluvial soils are common, resulting in sediment runoff into adjacent water bodies and degradation of aquatic ecosystems.
Chemical amendments such as gypsum application show promising results for reducing compaction while potentially having lower immediate physical disturbance. However, these methods may alter soil chemistry and affect microbial communities in ways that are not fully understood. Long-term studies indicate that repeated chemical applications can lead to changes in soil pH and potentially impact groundwater quality through leaching.
Biological decompaction approaches, including cover cropping and the introduction of deep-rooting plants, demonstrate the most favorable environmental profile. These techniques enhance soil structure while simultaneously increasing biodiversity and carbon sequestration. Research shows that cover crops can reduce erosion by up to 96% compared to bare soil, while also improving water infiltration and reducing runoff of agricultural pollutants.
The carbon footprint of various decompaction methods varies considerably. Mechanical techniques require significant fossil fuel inputs, with deep ripping operations consuming approximately 15-20 liters of diesel fuel per hectare. In contrast, biological methods may initially require seed and planting resources but subsequently operate with minimal additional energy inputs while providing carbon sequestration benefits.
Habitat disruption represents another critical environmental consideration. Mechanical decompaction can temporarily displace soil-dwelling organisms and disrupt established microhabitats. Studies have documented 30-60% reductions in earthworm populations following intensive tillage operations, with recovery periods extending from months to years depending on soil conditions and climate.
Water quality impacts differ significantly between techniques. While mechanical methods may cause immediate increases in turbidity and sedimentation in nearby water bodies, biological approaches typically improve water quality over time by enhancing soil structure and reducing erosion. Hybrid approaches that combine minimal mechanical intervention with biological methods show promise for balancing immediate compaction relief with long-term environmental sustainability.
Climate resilience factors must also be considered in technique selection. Biological decompaction methods generally enhance soil carbon stocks and improve climate adaptation capacity, while intensive mechanical approaches may reduce soil organic matter and increase vulnerability to extreme weather events.
Chemical amendments such as gypsum application show promising results for reducing compaction while potentially having lower immediate physical disturbance. However, these methods may alter soil chemistry and affect microbial communities in ways that are not fully understood. Long-term studies indicate that repeated chemical applications can lead to changes in soil pH and potentially impact groundwater quality through leaching.
Biological decompaction approaches, including cover cropping and the introduction of deep-rooting plants, demonstrate the most favorable environmental profile. These techniques enhance soil structure while simultaneously increasing biodiversity and carbon sequestration. Research shows that cover crops can reduce erosion by up to 96% compared to bare soil, while also improving water infiltration and reducing runoff of agricultural pollutants.
The carbon footprint of various decompaction methods varies considerably. Mechanical techniques require significant fossil fuel inputs, with deep ripping operations consuming approximately 15-20 liters of diesel fuel per hectare. In contrast, biological methods may initially require seed and planting resources but subsequently operate with minimal additional energy inputs while providing carbon sequestration benefits.
Habitat disruption represents another critical environmental consideration. Mechanical decompaction can temporarily displace soil-dwelling organisms and disrupt established microhabitats. Studies have documented 30-60% reductions in earthworm populations following intensive tillage operations, with recovery periods extending from months to years depending on soil conditions and climate.
Water quality impacts differ significantly between techniques. While mechanical methods may cause immediate increases in turbidity and sedimentation in nearby water bodies, biological approaches typically improve water quality over time by enhancing soil structure and reducing erosion. Hybrid approaches that combine minimal mechanical intervention with biological methods show promise for balancing immediate compaction relief with long-term environmental sustainability.
Climate resilience factors must also be considered in technique selection. Biological decompaction methods generally enhance soil carbon stocks and improve climate adaptation capacity, while intensive mechanical approaches may reduce soil organic matter and increase vulnerability to extreme weather events.
Economic Feasibility of Implementing Soil Improvement Solutions
The economic feasibility of implementing soil improvement solutions for reducing compaction in alluvial soil requires careful analysis of costs versus benefits. Initial investment costs for soil improvement techniques vary significantly based on the chosen method and scale of implementation. Mechanical solutions such as deep tillage or subsoiling typically range from $50-150 per acre, while biological approaches like cover cropping may cost $20-75 per acre depending on seed selection and management practices.
Chemical amendments including gypsum or organic matter incorporation represent a moderate investment of $100-300 per acre but often deliver multi-year benefits. More advanced solutions such as controlled traffic farming systems require substantial upfront investment in precision equipment and GPS technology, potentially reaching $10,000-50,000, though these costs can be amortized across multiple growing seasons and fields.
Return on investment calculations must consider both immediate yield improvements and long-term soil health benefits. Research indicates that effectively reducing soil compaction can increase crop yields by 10-30% in severely compacted alluvial soils, translating to significant revenue increases depending on crop value. For high-value horticultural crops, this yield improvement can represent $500-2,000 additional revenue per acre annually.
The payback period varies considerably by solution type. Mechanical interventions typically show returns within 1-2 growing seasons, while biological approaches may require 2-3 years to fully realize economic benefits. Integrated systems combining multiple approaches often demonstrate the most favorable long-term economic outcomes despite higher initial costs.
Operational cost considerations include increased fuel efficiency in properly managed soils (5-15% reduction), reduced irrigation requirements (10-20% water savings), and decreased fertilizer needs (10-15% reduction) due to improved nutrient cycling and root penetration. These operational savings can contribute $50-150 per acre annually to the economic equation.
Risk mitigation factors must also be monetized when assessing economic feasibility. Improved soil structure enhances resilience against both drought and flooding events, potentially preventing catastrophic crop losses valued at thousands of dollars per acre during extreme weather years. This risk reduction component, while difficult to precisely quantify, represents a significant economic benefit in regions experiencing increasing climate volatility.
Chemical amendments including gypsum or organic matter incorporation represent a moderate investment of $100-300 per acre but often deliver multi-year benefits. More advanced solutions such as controlled traffic farming systems require substantial upfront investment in precision equipment and GPS technology, potentially reaching $10,000-50,000, though these costs can be amortized across multiple growing seasons and fields.
Return on investment calculations must consider both immediate yield improvements and long-term soil health benefits. Research indicates that effectively reducing soil compaction can increase crop yields by 10-30% in severely compacted alluvial soils, translating to significant revenue increases depending on crop value. For high-value horticultural crops, this yield improvement can represent $500-2,000 additional revenue per acre annually.
The payback period varies considerably by solution type. Mechanical interventions typically show returns within 1-2 growing seasons, while biological approaches may require 2-3 years to fully realize economic benefits. Integrated systems combining multiple approaches often demonstrate the most favorable long-term economic outcomes despite higher initial costs.
Operational cost considerations include increased fuel efficiency in properly managed soils (5-15% reduction), reduced irrigation requirements (10-20% water savings), and decreased fertilizer needs (10-15% reduction) due to improved nutrient cycling and root penetration. These operational savings can contribute $50-150 per acre annually to the economic equation.
Risk mitigation factors must also be monetized when assessing economic feasibility. Improved soil structure enhances resilience against both drought and flooding events, potentially preventing catastrophic crop losses valued at thousands of dollars per acre during extreme weather years. This risk reduction component, while difficult to precisely quantify, represents a significant economic benefit in regions experiencing increasing climate volatility.
 Unlock deeper insights with  Patsnap Eureka Quick Research — get a full tech report to explore trends and direct your research. Try now! 
 Generate Your Research Report Instantly with AI Agent 
 Supercharge your innovation with Patsnap Eureka AI Agent Platform! 



