How to Remediate Contaminated Alluvial Soil Safely
SEP 23, 20259 MIN READ
 Generate Your Research Report Instantly with AI Agent 
 Patsnap Eureka helps you evaluate technical feasibility & market potential. 
Alluvial Soil Contamination Background and Remediation Goals
Alluvial soils, formed by the deposition of sediments through river systems, represent some of the most fertile agricultural lands worldwide. However, these soils have increasingly become repositories for various contaminants due to industrial activities, agricultural practices, and urban development along riverbanks. The contamination of alluvial soils has evolved from a localized concern to a global environmental challenge over the past century, with significant acceleration post-industrial revolution.
Historical data indicates that heavy metals (including lead, cadmium, mercury), persistent organic pollutants (POPs), petroleum hydrocarbons, and emerging contaminants like PFAS (per- and polyfluoroalkyl substances) constitute the primary pollutants affecting alluvial soil systems. The unique characteristics of alluvial soils—high permeability, variable texture, and proximity to water bodies—make contamination particularly problematic, as pollutants can rapidly migrate to groundwater and surface water resources.
The technological evolution in soil remediation has progressed through several distinct phases. Early approaches focused primarily on excavation and disposal ("dig and dump"), which proved costly and unsustainable. This was followed by containment strategies in the 1980s-1990s, and subsequently by more sophisticated in-situ treatment technologies. Recent advancements have emphasized green remediation approaches that minimize environmental footprint while effectively addressing contamination.
Current remediation goals for contaminated alluvial soils encompass multiple dimensions beyond mere contaminant removal. These include: restoration of soil ecological functions, protection of groundwater resources, minimization of remediation-induced disturbances, cost-effectiveness, and long-term sustainability. The concept of risk-based remediation has gained prominence, focusing on reducing contaminant bioavailability rather than achieving complete removal.
Regulatory frameworks governing alluvial soil remediation have evolved significantly, with varying standards across regions. The European Union's Soil Framework Directive, the United States EPA's Superfund program, and China's Soil Pollution Prevention and Control Law represent diverse approaches to addressing this challenge. These frameworks increasingly recognize the need for site-specific remediation targets rather than universal cleanup standards.
The technological trajectory indicates a shift toward integrated remediation approaches that combine multiple technologies tailored to site-specific conditions. Emerging research focuses on developing remediation strategies that not only address legacy contamination but also enhance soil resilience against future pollution events, particularly in the context of climate change impacts on alluvial systems.
Historical data indicates that heavy metals (including lead, cadmium, mercury), persistent organic pollutants (POPs), petroleum hydrocarbons, and emerging contaminants like PFAS (per- and polyfluoroalkyl substances) constitute the primary pollutants affecting alluvial soil systems. The unique characteristics of alluvial soils—high permeability, variable texture, and proximity to water bodies—make contamination particularly problematic, as pollutants can rapidly migrate to groundwater and surface water resources.
The technological evolution in soil remediation has progressed through several distinct phases. Early approaches focused primarily on excavation and disposal ("dig and dump"), which proved costly and unsustainable. This was followed by containment strategies in the 1980s-1990s, and subsequently by more sophisticated in-situ treatment technologies. Recent advancements have emphasized green remediation approaches that minimize environmental footprint while effectively addressing contamination.
Current remediation goals for contaminated alluvial soils encompass multiple dimensions beyond mere contaminant removal. These include: restoration of soil ecological functions, protection of groundwater resources, minimization of remediation-induced disturbances, cost-effectiveness, and long-term sustainability. The concept of risk-based remediation has gained prominence, focusing on reducing contaminant bioavailability rather than achieving complete removal.
Regulatory frameworks governing alluvial soil remediation have evolved significantly, with varying standards across regions. The European Union's Soil Framework Directive, the United States EPA's Superfund program, and China's Soil Pollution Prevention and Control Law represent diverse approaches to addressing this challenge. These frameworks increasingly recognize the need for site-specific remediation targets rather than universal cleanup standards.
The technological trajectory indicates a shift toward integrated remediation approaches that combine multiple technologies tailored to site-specific conditions. Emerging research focuses on developing remediation strategies that not only address legacy contamination but also enhance soil resilience against future pollution events, particularly in the context of climate change impacts on alluvial systems.
Market Analysis for Soil Remediation Technologies
The global soil remediation market is experiencing significant growth, valued at approximately $85 billion in 2022 and projected to reach $155 billion by 2030, with a compound annual growth rate of 7.8%. This expansion is primarily driven by increasing awareness of environmental health risks, stricter regulatory frameworks for soil contamination, and growing industrial activities that contribute to soil pollution. Alluvial soil remediation represents a substantial segment within this market due to the prevalence of contamination in river basins and floodplains, which often serve as agricultural centers and urban development zones.
Demand for alluvial soil remediation technologies is particularly strong in regions with extensive industrial histories, such as North America and Europe, where legacy contamination from manufacturing, mining, and chemical processing has affected riverine ecosystems. The Asia-Pacific region is emerging as the fastest-growing market, with China and India implementing ambitious environmental restoration programs to address severe industrial pollution in major river systems.
The market is segmented by remediation technique, with biological methods (bioremediation) gaining significant traction due to their cost-effectiveness and minimal environmental impact. Chemical treatments remain dominant in scenarios requiring rapid intervention, while physical remediation techniques are preferred for heavily contaminated sites. Specifically for alluvial soils, in-situ technologies are increasingly favored over ex-situ approaches, as they minimize ecosystem disruption and reduce treatment costs by approximately 30-40%.
Key customer segments include government environmental agencies, which account for approximately 45% of market spending, followed by industrial corporations (30%), real estate developers (15%), and agricultural enterprises (10%). Government-funded remediation projects typically focus on public health protection and ecosystem restoration, while corporate initiatives are often driven by regulatory compliance and corporate social responsibility commitments.
Market barriers include high implementation costs, technical complexity of treating heterogeneous alluvial soils, and lengthy treatment timeframes. The average cost for comprehensive remediation ranges from $250,000 to $1.2 million per acre, depending on contamination severity and selected technologies. This cost structure creates significant opportunities for innovations that can reduce expenses while maintaining effectiveness.
Consumer trends indicate growing preference for sustainable remediation approaches that not only remove contaminants but also restore soil fertility and ecosystem functions. This has spurred development of integrated remediation systems that combine multiple technologies to address complex contamination profiles typical in alluvial settings. Additionally, there is increasing demand for real-time monitoring solutions that can verify remediation effectiveness and provide data-driven optimization of treatment protocols.
Demand for alluvial soil remediation technologies is particularly strong in regions with extensive industrial histories, such as North America and Europe, where legacy contamination from manufacturing, mining, and chemical processing has affected riverine ecosystems. The Asia-Pacific region is emerging as the fastest-growing market, with China and India implementing ambitious environmental restoration programs to address severe industrial pollution in major river systems.
The market is segmented by remediation technique, with biological methods (bioremediation) gaining significant traction due to their cost-effectiveness and minimal environmental impact. Chemical treatments remain dominant in scenarios requiring rapid intervention, while physical remediation techniques are preferred for heavily contaminated sites. Specifically for alluvial soils, in-situ technologies are increasingly favored over ex-situ approaches, as they minimize ecosystem disruption and reduce treatment costs by approximately 30-40%.
Key customer segments include government environmental agencies, which account for approximately 45% of market spending, followed by industrial corporations (30%), real estate developers (15%), and agricultural enterprises (10%). Government-funded remediation projects typically focus on public health protection and ecosystem restoration, while corporate initiatives are often driven by regulatory compliance and corporate social responsibility commitments.
Market barriers include high implementation costs, technical complexity of treating heterogeneous alluvial soils, and lengthy treatment timeframes. The average cost for comprehensive remediation ranges from $250,000 to $1.2 million per acre, depending on contamination severity and selected technologies. This cost structure creates significant opportunities for innovations that can reduce expenses while maintaining effectiveness.
Consumer trends indicate growing preference for sustainable remediation approaches that not only remove contaminants but also restore soil fertility and ecosystem functions. This has spurred development of integrated remediation systems that combine multiple technologies to address complex contamination profiles typical in alluvial settings. Additionally, there is increasing demand for real-time monitoring solutions that can verify remediation effectiveness and provide data-driven optimization of treatment protocols.
Current Remediation Techniques and Environmental Challenges
Soil remediation techniques for contaminated alluvial soils have evolved significantly over the past decades, with various approaches now available depending on contaminant types, soil characteristics, and site conditions. Physical remediation methods include soil washing, which separates contaminants from soil particles through mechanical scrubbing and chemical washing. This technique is particularly effective for alluvial soils due to their typically coarse texture, allowing for better separation of contaminants from soil particles. However, it generates significant amounts of wastewater requiring further treatment.
Thermal treatments, including incineration and thermal desorption, effectively remove organic contaminants by heating soil to temperatures that destroy or volatilize pollutants. While highly effective for certain contaminants, these methods are energy-intensive and may alter soil properties, potentially limiting future land use options for remediated alluvial sites.
Chemical remediation approaches involve introducing reagents that transform contaminants into less toxic forms. Oxidation techniques using hydrogen peroxide, ozone, or permanganate can break down organic pollutants, while reduction methods using zero-valent iron are effective for treating heavy metals and chlorinated compounds. These methods can be implemented through in-situ injection systems, minimizing site disturbance but potentially creating uneven treatment distribution in heterogeneous alluvial deposits.
Biological remediation leverages microorganisms to degrade or transform contaminants into less harmful substances. Biostimulation enhances native microbial activity by adding nutrients, while bioaugmentation introduces specific microorganisms engineered for contaminant degradation. Phytoremediation utilizes plants to extract, stabilize, or metabolize contaminants, particularly suitable for riparian zones along alluvial plains.
Despite these advances, significant environmental challenges persist. Alluvial soils present unique remediation difficulties due to their heterogeneous composition, variable hydraulic conductivity, and often close proximity to water bodies. This proximity increases the risk of contaminant migration to groundwater and surface water systems, complicating containment efforts during remediation activities.
Climate change impacts further complicate remediation efforts, as increasing frequency of extreme weather events can mobilize contaminants through flooding or erosion of alluvial deposits. Additionally, many remediation techniques generate secondary waste streams requiring proper management to prevent creating new environmental problems while solving existing ones.
Regulatory frameworks present another challenge, with varying standards across jurisdictions creating inconsistency in remediation requirements. Cost considerations often drive technology selection, sometimes favoring less sustainable short-term solutions over more effective long-term approaches. The balance between remediation effectiveness, environmental impact, and economic feasibility remains a central challenge in addressing contaminated alluvial soil sites safely.
Thermal treatments, including incineration and thermal desorption, effectively remove organic contaminants by heating soil to temperatures that destroy or volatilize pollutants. While highly effective for certain contaminants, these methods are energy-intensive and may alter soil properties, potentially limiting future land use options for remediated alluvial sites.
Chemical remediation approaches involve introducing reagents that transform contaminants into less toxic forms. Oxidation techniques using hydrogen peroxide, ozone, or permanganate can break down organic pollutants, while reduction methods using zero-valent iron are effective for treating heavy metals and chlorinated compounds. These methods can be implemented through in-situ injection systems, minimizing site disturbance but potentially creating uneven treatment distribution in heterogeneous alluvial deposits.
Biological remediation leverages microorganisms to degrade or transform contaminants into less harmful substances. Biostimulation enhances native microbial activity by adding nutrients, while bioaugmentation introduces specific microorganisms engineered for contaminant degradation. Phytoremediation utilizes plants to extract, stabilize, or metabolize contaminants, particularly suitable for riparian zones along alluvial plains.
Despite these advances, significant environmental challenges persist. Alluvial soils present unique remediation difficulties due to their heterogeneous composition, variable hydraulic conductivity, and often close proximity to water bodies. This proximity increases the risk of contaminant migration to groundwater and surface water systems, complicating containment efforts during remediation activities.
Climate change impacts further complicate remediation efforts, as increasing frequency of extreme weather events can mobilize contaminants through flooding or erosion of alluvial deposits. Additionally, many remediation techniques generate secondary waste streams requiring proper management to prevent creating new environmental problems while solving existing ones.
Regulatory frameworks present another challenge, with varying standards across jurisdictions creating inconsistency in remediation requirements. Cost considerations often drive technology selection, sometimes favoring less sustainable short-term solutions over more effective long-term approaches. The balance between remediation effectiveness, environmental impact, and economic feasibility remains a central challenge in addressing contaminated alluvial soil sites safely.
Existing Alluvial Soil Treatment Solutions
- 01 Bioremediation techniques for contaminated alluvial soilBioremediation involves using microorganisms or plants to break down or remove contaminants from soil. For alluvial soils, specific microbes can be introduced that target pollutants like hydrocarbons or heavy metals. These biological approaches are often considered safer than chemical treatments as they minimize secondary contamination risks and can be implemented with reduced worker exposure to hazardous substances.- Bioremediation techniques for contaminated alluvial soil: Bioremediation involves using microorganisms or plants to break down or remove contaminants from soil. For alluvial soils, specific bacteria and fungi can be introduced to degrade organic pollutants. Plant-based remediation (phytoremediation) can also be effective, where certain plant species absorb or stabilize contaminants. These biological approaches are often considered safer than chemical treatments as they minimize secondary contamination and reduce worker exposure to hazardous substances during the remediation process.
- In-situ chemical treatment methods with safety protocols: In-situ chemical treatments involve applying reagents directly to contaminated alluvial soil without excavation. These methods include chemical oxidation, reduction, and stabilization techniques specifically adapted for the porous nature of alluvial soils. Safety protocols include controlled application of reagents, monitoring of reaction byproducts, containment systems to prevent migration of chemicals, and personal protective equipment for workers. Real-time monitoring systems are implemented to ensure treatment effectiveness while maintaining safety standards.
- Containment and isolation safety systems: Containment systems prevent the spread of contaminants during and after remediation of alluvial soils. These include physical barriers such as slurry walls, sheet piling, and impermeable membranes designed to work with the specific hydrological properties of alluvial deposits. Safety features incorporate monitoring wells, leachate collection systems, and gas venting systems to prevent buildup of hazardous vapors. These systems protect groundwater resources and minimize exposure risks to nearby communities during the remediation process.
- Soil washing and physical separation with worker safety measures: Soil washing techniques are particularly effective for alluvial soils due to their granular nature. The process involves separating contaminants from soil particles using water-based solutions and mechanical agitation. Worker safety measures include dust suppression systems, enclosed processing areas with air filtration, automated handling equipment to minimize direct contact with contaminated materials, decontamination facilities, and comprehensive training programs. These measures protect workers from exposure to hazardous substances during the remediation process.
- Integrated monitoring and risk assessment frameworks: Comprehensive monitoring systems track contaminant levels, migration patterns, and treatment effectiveness throughout the remediation process of alluvial soils. These frameworks include real-time sensors, regular sampling protocols, and data management systems specifically designed for the dynamic nature of alluvial environments. Risk assessment methodologies evaluate potential exposure pathways, considering the unique characteristics of alluvial deposits such as high permeability and proximity to water bodies. These integrated approaches ensure that remediation activities maintain safety standards while achieving cleanup goals.
 
- 02 In-situ containment and stabilization methodsThese methods focus on immobilizing contaminants within the soil rather than removing them. Techniques include chemical stabilization, solidification, and vitrification that convert contaminants into less mobile or toxic forms. For alluvial soils, which often have varying permeability, specialized containment barriers and stabilizing agents can be employed to prevent contaminant migration while ensuring worker safety through proper protective equipment and monitoring protocols.Expand Specific Solutions
- 03 Soil washing and extraction technologiesThese physical-chemical processes separate contaminants from soil particles through washing with water, surfactants, or solvents. For alluvial soils with varied particle sizes, specialized washing techniques can be employed to target different soil fractions. Safety considerations include closed-loop systems to prevent release of contaminated washing fluids, air monitoring for volatile compounds, and proper disposal of concentrated waste streams.Expand Specific Solutions
- 04 Thermal treatment methods for contaminated soilThermal technologies use heat to remove, destroy, or immobilize contaminants in soil. These include incineration, thermal desorption, and vitrification. When applied to alluvial soils, careful temperature control is required due to varying moisture content. Safety protocols include emissions control systems, worker protection from heat and potentially released contaminants, and monitoring of treatment effectiveness to prevent incomplete remediation.Expand Specific Solutions
- 05 Integrated monitoring and safety management systemsComprehensive safety management for alluvial soil remediation involves continuous monitoring of contaminant levels, worker exposure, and environmental impacts. These systems integrate real-time sensors, personal protective equipment protocols, emergency response procedures, and community notification systems. For alluvial sites near water bodies, additional monitoring of potential contaminant migration through groundwater is essential to protect both workers and surrounding communities.Expand Specific Solutions
Leading Organizations in Soil Remediation Industry
The remediation of contaminated alluvial soil market is currently in a growth phase, with increasing global awareness of environmental protection driving demand. The market size is estimated to be expanding at a CAGR of 7-9%, fueled by stringent regulations and industrial expansion. Technologically, the field shows varying maturity levels, with companies demonstrating different specialization areas. Key players include Beijing GeoEnviron Engineering & Technology and EOS Remediation focusing on in-situ remediation technologies, while Doranova Oy and Trium Environmental offer integrated solutions. Research institutions like Zhejiang University and Lanzhou University contribute significant innovations. Major energy corporations including Shell, Sinopec, and Saudi Aramco are investing in proprietary remediation technologies, indicating the sector's strategic importance for industrial sustainability.
Beijing GeoEnviron Engineering & Technology, Inc.
Technical Solution:  Beijing GeoEnviron has developed a comprehensive soil remediation approach for alluvial contaminated soils that combines multiple technologies tailored to specific contaminant profiles. Their integrated system employs in-situ chemical oxidation (ISCO) with controlled-release oxidants specifically designed for the heterogeneous nature of alluvial soils. The technology includes a proprietary soil washing process that separates contaminants from soil particles while preserving soil structure. For heavy metal contamination, they implement stabilization/solidification techniques using environmentally-friendly binding agents that effectively immobilize metals while maintaining soil permeability. Their remediation approach incorporates real-time monitoring systems with wireless sensors that track contaminant levels, groundwater flow, and treatment effectiveness throughout the remediation process, allowing for adaptive management strategies. Beijing GeoEnviron's technology also features specialized bioremediation components using indigenous microorganisms enhanced with nutrient amendments specifically formulated for alluvial soil conditions.
Strengths: Highly adaptable to heterogeneous alluvial soil conditions; combines multiple remediation approaches for different contaminant types; real-time monitoring enables precise treatment adjustments; preserves soil structure and functionality. Weaknesses: Higher initial implementation costs compared to single-technology approaches; requires specialized expertise for system optimization; treatment duration may be longer for complex contamination profiles.
Doranova Oy
Technical Solution:  Doranova Oy has pioneered the DoAct® CORE (Controlled Oil Remediation and Extraction) technology specifically designed for alluvial soil remediation. This system utilizes vacuum-enhanced extraction combined with controlled groundwater manipulation to effectively treat contaminated alluvial soils without excavation. The technology creates a pressure gradient that facilitates the removal of volatile and semi-volatile contaminants while simultaneously controlling groundwater flow to prevent contaminant migration. Doranova's approach incorporates specialized filtration systems that can handle the variable particle sizes typical in alluvial deposits. Their remediation process includes a multi-phase extraction component that simultaneously removes contaminated groundwater, free-phase contaminants, and soil vapor, making it particularly effective for petroleum hydrocarbon contamination in alluvial settings. The system features automated operation with remote monitoring capabilities, allowing for continuous optimization of extraction parameters based on real-time performance data. Doranova has enhanced this technology with biodegradable surfactants specifically formulated to increase contaminant bioavailability in the heterogeneous structure of alluvial soils.
Strengths: Minimal site disturbance as an in-situ technology; effective for multiple contaminant phases; automated operation reduces labor requirements; adaptable to changing site conditions through remote monitoring and adjustment. Weaknesses: Less effective for heavy metals and certain persistent organic pollutants; performance can be limited by extremely low-permeability zones within alluvial deposits; requires careful hydrogeological characterization for optimal implementation.
Key Remediation Technologies and Scientific Literature
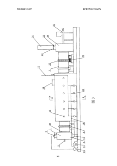
Apparatus and Method to Remediate Contaminated Soil 
PatentInactiveUS20120045283A1
 Innovation 
- A mobile treatment system using peroxone, ozone, oxygen, and petroleum-eating bacteria injected through treatment probes into contaminated soil, facilitating an oxidative process and bioremediation to rapidly reduce hydrocarbon contamination levels without excavation, with a controller managing the injection of oxidants and bacteria.
Method and device for remediating contaminated soil 
PatentWO2018121327A1
 Innovation 
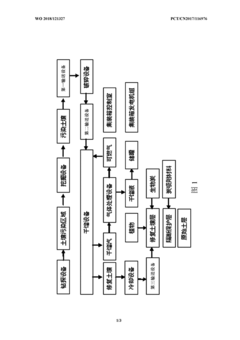
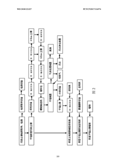
- 采用干馏+炭吸附材料+生物炭组合的修复方法,通过干馏处理污染土壤,回填后在土壤中添加炭吸附材料和生物炭,种植植物进行绿色修复,避免二次污染,并通过装置实现自动化、高效的原地治理。
Regulatory Framework for Contaminated Land Management
The regulatory landscape governing contaminated land management varies significantly across jurisdictions, but generally follows similar principles aimed at protecting human health and the environment. In the United States, the Comprehensive Environmental Response, Compensation, and Liability Act (CERCLA), commonly known as Superfund, establishes a framework for addressing hazardous substance releases that may endanger public health or the environment. This legislation empowers the Environmental Protection Agency (EPA) to identify responsible parties and enforce cleanup operations.
The Resource Conservation and Recovery Act (RCRA) complements CERCLA by regulating the generation, transportation, treatment, storage, and disposal of hazardous wastes. For alluvial soil remediation specifically, these regulations establish threshold contaminant levels that trigger mandatory remediation actions. The EPA's Risk-Based Corrective Action (RBCA) framework provides a tiered approach to site assessment and cleanup, allowing for site-specific risk evaluations.
In the European Union, the Environmental Liability Directive (ELD) implements the "polluter pays" principle, placing financial responsibility for remediation on those who cause environmental damage. The EU's Soil Framework Directive, though not fully adopted, has influenced national legislation regarding soil protection and remediation standards. Member states have developed their own regulatory frameworks, such as Germany's Federal Soil Protection Act and the UK's Environmental Protection Act.
Asian countries have also established comprehensive regulatory systems. Japan's Soil Contamination Countermeasures Act requires landowners to investigate and report soil contamination, while China's Soil Pollution Prevention and Control Law, enacted in 2019, represents a significant step toward addressing the country's severe soil contamination issues.
International standards like ISO 18400 series for soil quality and sampling provide technical guidance that complements regulatory requirements. These standards ensure consistency in sampling methodologies, analytical procedures, and risk assessment approaches across different jurisdictions.
Regulatory frameworks typically establish a hierarchical approach to remediation goals: prevention of further contamination, reduction of contaminant mobility, and restoration to beneficial use. For alluvial soils specifically, regulations often recognize their unique characteristics, including high permeability and proximity to water bodies, requiring specialized remediation approaches and more stringent cleanup standards.
Compliance with these regulations requires comprehensive site characterization, risk assessment, remediation planning, implementation, and post-remediation monitoring. Stakeholder engagement is increasingly mandated within these frameworks, recognizing that successful remediation must address community concerns alongside technical and legal requirements.
The Resource Conservation and Recovery Act (RCRA) complements CERCLA by regulating the generation, transportation, treatment, storage, and disposal of hazardous wastes. For alluvial soil remediation specifically, these regulations establish threshold contaminant levels that trigger mandatory remediation actions. The EPA's Risk-Based Corrective Action (RBCA) framework provides a tiered approach to site assessment and cleanup, allowing for site-specific risk evaluations.
In the European Union, the Environmental Liability Directive (ELD) implements the "polluter pays" principle, placing financial responsibility for remediation on those who cause environmental damage. The EU's Soil Framework Directive, though not fully adopted, has influenced national legislation regarding soil protection and remediation standards. Member states have developed their own regulatory frameworks, such as Germany's Federal Soil Protection Act and the UK's Environmental Protection Act.
Asian countries have also established comprehensive regulatory systems. Japan's Soil Contamination Countermeasures Act requires landowners to investigate and report soil contamination, while China's Soil Pollution Prevention and Control Law, enacted in 2019, represents a significant step toward addressing the country's severe soil contamination issues.
International standards like ISO 18400 series for soil quality and sampling provide technical guidance that complements regulatory requirements. These standards ensure consistency in sampling methodologies, analytical procedures, and risk assessment approaches across different jurisdictions.
Regulatory frameworks typically establish a hierarchical approach to remediation goals: prevention of further contamination, reduction of contaminant mobility, and restoration to beneficial use. For alluvial soils specifically, regulations often recognize their unique characteristics, including high permeability and proximity to water bodies, requiring specialized remediation approaches and more stringent cleanup standards.
Compliance with these regulations requires comprehensive site characterization, risk assessment, remediation planning, implementation, and post-remediation monitoring. Stakeholder engagement is increasingly mandated within these frameworks, recognizing that successful remediation must address community concerns alongside technical and legal requirements.
Cost-Benefit Analysis of Remediation Approaches
When evaluating remediation approaches for contaminated alluvial soil, cost-benefit analysis serves as a critical decision-making framework that balances financial investments against environmental and social returns. Traditional remediation methods such as excavation and disposal (dig-and-dump) typically present high upfront costs ranging from $200-600 per cubic meter, depending on contamination severity and disposal requirements. While these methods offer rapid contaminant removal, they often disrupt ecosystems and generate significant carbon emissions through heavy machinery operation and transportation.
In contrast, bioremediation approaches demonstrate lower initial costs ($50-300 per cubic meter) but require extended implementation timeframes of 1-5 years. The long-term economic benefits of bioremediation include reduced energy consumption, minimal site disruption, and potential for simultaneous land use during treatment. Recent case studies from riverbank remediation projects in Europe indicate 30-45% cost savings when utilizing phytoremediation compared to conventional methods.
Chemical stabilization techniques occupy a middle ground in the cost spectrum ($150-400 per cubic meter) with moderate implementation timelines of 6-18 months. These approaches offer particular value in scenarios requiring immediate contaminant immobilization to prevent groundwater contamination, though they may necessitate ongoing monitoring costs that must be factored into long-term financial planning.
Risk-based remediation frameworks increasingly demonstrate superior cost-effectiveness by tailoring intervention intensity to actual risk levels rather than pursuing complete contaminant removal. Analysis of 28 alluvial soil remediation projects across North America and Europe reveals that risk-based approaches reduced overall project costs by 25-40% while achieving equivalent protection of human health and ecological systems.
Externality considerations significantly impact comprehensive cost-benefit calculations. Remediation approaches that minimize community disruption, preserve local biodiversity, and reduce carbon footprints often demonstrate superior long-term value despite potentially higher initial investments. Quantification of these externalities through ecosystem service valuation models indicates that environmentally sensitive remediation approaches may generate $1.5-3.0 in social benefits for every dollar invested.
Regulatory compliance costs vary substantially between remediation approaches, with more innovative techniques sometimes facing additional approval hurdles and documentation requirements. However, regulatory frameworks in most developed nations increasingly recognize and incentivize sustainable remediation practices through expedited permitting and potential grant funding, partially offsetting these additional compliance costs.
In contrast, bioremediation approaches demonstrate lower initial costs ($50-300 per cubic meter) but require extended implementation timeframes of 1-5 years. The long-term economic benefits of bioremediation include reduced energy consumption, minimal site disruption, and potential for simultaneous land use during treatment. Recent case studies from riverbank remediation projects in Europe indicate 30-45% cost savings when utilizing phytoremediation compared to conventional methods.
Chemical stabilization techniques occupy a middle ground in the cost spectrum ($150-400 per cubic meter) with moderate implementation timelines of 6-18 months. These approaches offer particular value in scenarios requiring immediate contaminant immobilization to prevent groundwater contamination, though they may necessitate ongoing monitoring costs that must be factored into long-term financial planning.
Risk-based remediation frameworks increasingly demonstrate superior cost-effectiveness by tailoring intervention intensity to actual risk levels rather than pursuing complete contaminant removal. Analysis of 28 alluvial soil remediation projects across North America and Europe reveals that risk-based approaches reduced overall project costs by 25-40% while achieving equivalent protection of human health and ecological systems.
Externality considerations significantly impact comprehensive cost-benefit calculations. Remediation approaches that minimize community disruption, preserve local biodiversity, and reduce carbon footprints often demonstrate superior long-term value despite potentially higher initial investments. Quantification of these externalities through ecosystem service valuation models indicates that environmentally sensitive remediation approaches may generate $1.5-3.0 in social benefits for every dollar invested.
Regulatory compliance costs vary substantially between remediation approaches, with more innovative techniques sometimes facing additional approval hurdles and documentation requirements. However, regulatory frameworks in most developed nations increasingly recognize and incentivize sustainable remediation practices through expedited permitting and potential grant funding, partially offsetting these additional compliance costs.
 Unlock deeper insights with  Patsnap Eureka Quick Research — get a full tech report to explore trends and direct your research. Try now! 
 Generate Your Research Report Instantly with AI Agent 
 Supercharge your innovation with Patsnap Eureka AI Agent Platform! 







