Quantifying Alluvial Soil’s Electrical Conductivity Function
SEP 23, 20259 MIN READ
 Generate Your Research Report Instantly with AI Agent 
 Patsnap Eureka helps you evaluate technical feasibility & market potential. 
Alluvial Soil EC Measurement Background and Objectives
Electrical conductivity (EC) measurement in alluvial soils has evolved significantly over the past several decades, transitioning from basic laboratory methods to sophisticated in-situ sensing technologies. Alluvial soils, formed by sediment deposition from flowing water systems, possess unique electrical properties due to their heterogeneous composition, varying particle sizes, and layered structures. The quantification of EC in these soils has become increasingly important across multiple disciplines including agriculture, environmental monitoring, and civil engineering.
Historically, soil EC measurement began with simple conductivity cells in laboratory settings, requiring soil sampling and preparation. The 1970s saw the introduction of four-electrode methods, while the 1980s-1990s brought time-domain reflectometry (TDR) techniques that allowed for simultaneous measurement of soil moisture and EC. The early 2000s marked a significant advancement with electromagnetic induction (EMI) technologies enabling non-invasive field measurements across larger areas.
The technological progression has been driven by the need to understand soil properties at different scales and under varying conditions. Current research focuses on developing more accurate models that account for the complex relationship between EC measurements and soil properties specific to alluvial environments, where traditional models often fail due to the inherent heterogeneity of these soils.
The primary objective of quantifying alluvial soil's electrical conductivity function is to establish reliable mathematical relationships between measured EC values and critical soil parameters such as salinity, texture, moisture content, and nutrient availability. This quantification aims to provide a non-destructive method for assessing soil quality and monitoring changes over time, particularly in agricultural and environmental applications.
Secondary objectives include developing standardized protocols for EC measurement in alluvial soils, creating spatial mapping techniques that account for the unique layered structure of these soils, and integrating EC data with other soil sensing technologies to provide comprehensive soil health assessments.
The technological trend is moving toward real-time monitoring systems with wireless connectivity, allowing for continuous data collection and integration with precision agriculture systems. Machine learning algorithms are increasingly being applied to interpret complex EC patterns in alluvial soils, improving prediction accuracy and enabling automated decision-making processes.
Future developments are expected to focus on miniaturization of sensors, increased durability for long-term field deployment, and improved calibration methods specific to alluvial soil conditions. The ultimate goal is to create a robust, universally applicable methodology for quantifying EC functions in alluvial soils that can be implemented across various geographical regions and applications.
Historically, soil EC measurement began with simple conductivity cells in laboratory settings, requiring soil sampling and preparation. The 1970s saw the introduction of four-electrode methods, while the 1980s-1990s brought time-domain reflectometry (TDR) techniques that allowed for simultaneous measurement of soil moisture and EC. The early 2000s marked a significant advancement with electromagnetic induction (EMI) technologies enabling non-invasive field measurements across larger areas.
The technological progression has been driven by the need to understand soil properties at different scales and under varying conditions. Current research focuses on developing more accurate models that account for the complex relationship between EC measurements and soil properties specific to alluvial environments, where traditional models often fail due to the inherent heterogeneity of these soils.
The primary objective of quantifying alluvial soil's electrical conductivity function is to establish reliable mathematical relationships between measured EC values and critical soil parameters such as salinity, texture, moisture content, and nutrient availability. This quantification aims to provide a non-destructive method for assessing soil quality and monitoring changes over time, particularly in agricultural and environmental applications.
Secondary objectives include developing standardized protocols for EC measurement in alluvial soils, creating spatial mapping techniques that account for the unique layered structure of these soils, and integrating EC data with other soil sensing technologies to provide comprehensive soil health assessments.
The technological trend is moving toward real-time monitoring systems with wireless connectivity, allowing for continuous data collection and integration with precision agriculture systems. Machine learning algorithms are increasingly being applied to interpret complex EC patterns in alluvial soils, improving prediction accuracy and enabling automated decision-making processes.
Future developments are expected to focus on miniaturization of sensors, increased durability for long-term field deployment, and improved calibration methods specific to alluvial soil conditions. The ultimate goal is to create a robust, universally applicable methodology for quantifying EC functions in alluvial soils that can be implemented across various geographical regions and applications.
Market Applications for Soil Electrical Conductivity Analysis
Soil electrical conductivity (EC) analysis has emerged as a critical technology across multiple market sectors, with applications extending far beyond traditional agriculture. The precision agriculture market represents the primary application area, where EC measurements enable variable rate applications of fertilizers, irrigation water, and other inputs. This technology allows farmers to optimize resource allocation based on soil variability, resulting in significant input cost reductions while maintaining or improving yields. The global precision agriculture market, which heavily utilizes soil EC analysis, continues to expand rapidly as farmers seek data-driven solutions to maximize profitability.
Environmental monitoring and remediation constitute another substantial market segment. Soil EC measurements provide valuable data for tracking contaminant movement, assessing soil salinity levels, and monitoring remediation progress at polluted sites. Environmental consulting firms and government agencies regularly employ this technology to evaluate site conditions and develop effective remediation strategies. The ability to rapidly assess large areas makes EC analysis particularly valuable for preliminary site investigations.
The construction and civil engineering sector has adopted soil EC analysis for site characterization prior to development projects. By identifying variations in subsurface conditions, engineers can optimize foundation designs, drainage systems, and earthwork operations. This application reduces project risks by revealing potential problem areas before construction begins, potentially saving millions in unforeseen remediation costs.
Research institutions and agricultural extension services represent another significant market segment. These organizations utilize soil EC technology to conduct large-scale soil surveys, develop improved management recommendations, and advance understanding of soil-plant interactions. The data collected supports policy development and educational programs aimed at sustainable land management practices.
Equipment manufacturers have developed specialized instruments for soil EC measurement, ranging from handheld probes to sophisticated vehicle-mounted systems with GPS integration. This equipment market continues to evolve with technological advancements in sensor technology, data processing capabilities, and integration with other precision agriculture tools.
Software developers have created specialized platforms for processing, visualizing, and interpreting soil EC data. These systems often integrate with broader farm management software or environmental monitoring platforms, adding value through enhanced data interpretation capabilities. The software market segment is experiencing particularly rapid growth as artificial intelligence and machine learning techniques are applied to soil data analysis.
Consulting services focused on interpreting soil EC data and developing management recommendations represent a growing market segment, particularly as the technology becomes more accessible to smaller operations that may lack in-house expertise for data interpretation.
Environmental monitoring and remediation constitute another substantial market segment. Soil EC measurements provide valuable data for tracking contaminant movement, assessing soil salinity levels, and monitoring remediation progress at polluted sites. Environmental consulting firms and government agencies regularly employ this technology to evaluate site conditions and develop effective remediation strategies. The ability to rapidly assess large areas makes EC analysis particularly valuable for preliminary site investigations.
The construction and civil engineering sector has adopted soil EC analysis for site characterization prior to development projects. By identifying variations in subsurface conditions, engineers can optimize foundation designs, drainage systems, and earthwork operations. This application reduces project risks by revealing potential problem areas before construction begins, potentially saving millions in unforeseen remediation costs.
Research institutions and agricultural extension services represent another significant market segment. These organizations utilize soil EC technology to conduct large-scale soil surveys, develop improved management recommendations, and advance understanding of soil-plant interactions. The data collected supports policy development and educational programs aimed at sustainable land management practices.
Equipment manufacturers have developed specialized instruments for soil EC measurement, ranging from handheld probes to sophisticated vehicle-mounted systems with GPS integration. This equipment market continues to evolve with technological advancements in sensor technology, data processing capabilities, and integration with other precision agriculture tools.
Software developers have created specialized platforms for processing, visualizing, and interpreting soil EC data. These systems often integrate with broader farm management software or environmental monitoring platforms, adding value through enhanced data interpretation capabilities. The software market segment is experiencing particularly rapid growth as artificial intelligence and machine learning techniques are applied to soil data analysis.
Consulting services focused on interpreting soil EC data and developing management recommendations represent a growing market segment, particularly as the technology becomes more accessible to smaller operations that may lack in-house expertise for data interpretation.
Current Challenges in Quantifying Alluvial Soil EC
Despite significant advancements in soil science, quantifying the electrical conductivity (EC) function of alluvial soils presents several persistent challenges that impede accurate characterization and modeling. The heterogeneous nature of alluvial deposits, formed through complex fluvial processes over time, creates inherent spatial variability that is difficult to capture with conventional sampling methods. This variability occurs both horizontally and vertically, often changing dramatically within short distances, making representative sampling problematic.
Temperature fluctuations significantly impact EC measurements, with studies showing variations of up to 25% in readings for the same soil under different temperature conditions. Current temperature compensation algorithms remain inadequate for the complex mineral compositions typical of alluvial environments, leading to inconsistent data interpretation across seasons and geographical locations.
Moisture content presents another critical challenge, as the relationship between water content and EC in alluvial soils follows non-linear patterns that vary with soil texture and mineralogy. The dynamic nature of moisture in these soils, particularly in response to precipitation events and groundwater fluctuations, creates temporal instability in EC measurements that complicates long-term monitoring efforts.
The presence of dissolved salts in alluvial soils further complicates EC quantification. These soils often contain variable concentrations of ions from diverse sources, including weathered parent material, agricultural inputs, and groundwater interactions. Current models struggle to differentiate between EC contributions from soil particles, pore water solution, and exchangeable ions, leading to ambiguous interpretations of measured values.
Instrumentation limitations represent a significant technical barrier. While advances in sensor technology have improved field measurement capabilities, most devices remain calibrated for "typical" agricultural soils rather than the unique characteristics of alluvial deposits. Multi-depth EC sensors often fail to account for the layered structure common in alluvial profiles, resulting in averaged readings that mask important stratigraphic variations.
Data integration challenges persist when attempting to correlate EC measurements with other soil properties. Researchers have documented poor correlation coefficients (r² < 0.6) between EC and critical parameters like hydraulic conductivity in alluvial environments, compared to much stronger relationships in more homogeneous soils. This suggests current pedotransfer functions may be inadequate for these complex systems.
Standardization issues further complicate cross-study comparisons, with different research groups employing varied methodologies for EC measurement, including different probe configurations, extraction ratios, and reporting units. This methodological inconsistency creates barriers to developing unified models and reference databases for alluvial soil EC characterization.
Temperature fluctuations significantly impact EC measurements, with studies showing variations of up to 25% in readings for the same soil under different temperature conditions. Current temperature compensation algorithms remain inadequate for the complex mineral compositions typical of alluvial environments, leading to inconsistent data interpretation across seasons and geographical locations.
Moisture content presents another critical challenge, as the relationship between water content and EC in alluvial soils follows non-linear patterns that vary with soil texture and mineralogy. The dynamic nature of moisture in these soils, particularly in response to precipitation events and groundwater fluctuations, creates temporal instability in EC measurements that complicates long-term monitoring efforts.
The presence of dissolved salts in alluvial soils further complicates EC quantification. These soils often contain variable concentrations of ions from diverse sources, including weathered parent material, agricultural inputs, and groundwater interactions. Current models struggle to differentiate between EC contributions from soil particles, pore water solution, and exchangeable ions, leading to ambiguous interpretations of measured values.
Instrumentation limitations represent a significant technical barrier. While advances in sensor technology have improved field measurement capabilities, most devices remain calibrated for "typical" agricultural soils rather than the unique characteristics of alluvial deposits. Multi-depth EC sensors often fail to account for the layered structure common in alluvial profiles, resulting in averaged readings that mask important stratigraphic variations.
Data integration challenges persist when attempting to correlate EC measurements with other soil properties. Researchers have documented poor correlation coefficients (r² < 0.6) between EC and critical parameters like hydraulic conductivity in alluvial environments, compared to much stronger relationships in more homogeneous soils. This suggests current pedotransfer functions may be inadequate for these complex systems.
Standardization issues further complicate cross-study comparisons, with different research groups employing varied methodologies for EC measurement, including different probe configurations, extraction ratios, and reporting units. This methodological inconsistency creates barriers to developing unified models and reference databases for alluvial soil EC characterization.
Existing Methodologies for Alluvial Soil EC Quantification
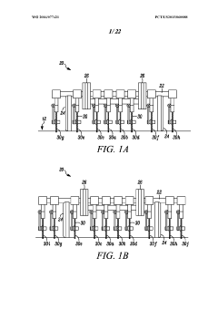
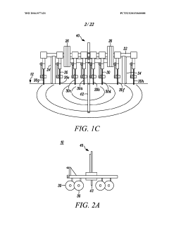
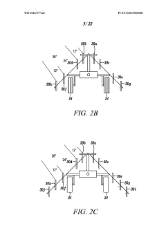
- 01 Methods for measuring electrical conductivity in alluvial soilVarious methods and devices have been developed to measure the electrical conductivity of alluvial soil. These include probes, sensors, and electrodes that can be inserted into the soil to obtain accurate readings. The measurements help in understanding soil properties, moisture content, and nutrient levels, which are crucial for agricultural and environmental assessments. These methods often involve direct contact with the soil and can provide real-time data for analysis.- Measurement methods for soil electrical conductivity: Various methods and devices are used to measure the electrical conductivity of alluvial soil, including electromagnetic induction, electrical resistivity, and time-domain reflectometry. These techniques help in assessing soil properties such as salinity, moisture content, and nutrient levels. The measurements can be conducted in-situ or through laboratory analysis of soil samples, providing valuable data for agricultural management and environmental monitoring.
- Portable devices for field measurement of soil conductivity: Portable and handheld devices have been developed for on-site measurement of alluvial soil electrical conductivity. These devices allow for rapid assessment of soil properties in agricultural fields, river basins, and other alluvial deposits. Features include wireless data transmission, GPS integration for mapping, and real-time analysis capabilities. Such portable systems enable farmers and researchers to make immediate decisions regarding irrigation, fertilization, and soil management practices.
- Relationship between soil conductivity and agricultural productivity: Research has established correlations between alluvial soil electrical conductivity and agricultural productivity. By monitoring soil conductivity, farmers can identify areas with different fertility levels, optimize irrigation schedules, and apply precision agriculture techniques. The electrical conductivity measurements help in understanding nutrient distribution, salinity issues, and water retention capacity of alluvial soils, ultimately leading to improved crop yields and sustainable farming practices.
- Automated monitoring systems for soil conductivity: Automated systems have been developed for continuous monitoring of alluvial soil electrical conductivity. These systems incorporate sensor networks, data logging capabilities, and remote monitoring features. They can track temporal changes in soil properties, detect anomalies, and provide alerts when conductivity values exceed predetermined thresholds. Such automated monitoring helps in early detection of soil degradation, salinization, or contamination in alluvial plains and agricultural lands.
- Soil conductivity mapping and spatial analysis techniques: Advanced techniques for mapping and analyzing the spatial distribution of electrical conductivity in alluvial soils have been developed. These include geographic information systems (GIS), geostatistical methods, and machine learning algorithms that process conductivity data to create detailed soil maps. The spatial analysis helps in identifying soil variability, delineating management zones, and understanding the influence of topography and hydrology on alluvial soil properties. These maps serve as valuable tools for precision agriculture, land use planning, and environmental assessment.
 
- 02 Monitoring systems for soil electrical conductivityComprehensive monitoring systems have been designed to continuously track electrical conductivity in alluvial soils. These systems often integrate multiple sensors, data loggers, and wireless communication technologies to provide ongoing measurements across large areas. The monitoring systems help in understanding temporal variations in soil properties and can be used for precision agriculture, environmental monitoring, and land management. Some systems include automated alerts when conductivity levels exceed certain thresholds.Expand Specific Solutions
- 03 Correlation between soil electrical conductivity and agricultural productivityResearch has established relationships between the electrical conductivity of alluvial soil and its agricultural productivity. By measuring electrical conductivity, farmers and researchers can assess soil fertility, salinity levels, and other properties that affect crop growth. This information can be used to optimize irrigation, fertilization, and crop selection strategies. Studies have shown that monitoring electrical conductivity can lead to improved crop yields and more sustainable farming practices in alluvial soil regions.Expand Specific Solutions
- 04 Influence of environmental factors on soil electrical conductivityEnvironmental factors significantly impact the electrical conductivity of alluvial soils. These factors include rainfall, temperature, groundwater levels, and seasonal variations. Understanding these influences is crucial for interpreting electrical conductivity measurements correctly. Research has shown that conductivity can change rapidly in response to precipitation events or changes in water table levels. Long-term monitoring of these relationships helps in developing predictive models for soil behavior under different environmental conditions.Expand Specific Solutions
- 05 Advanced technologies for mapping soil electrical conductivityInnovative technologies have been developed for mapping electrical conductivity across alluvial soil landscapes. These include ground-penetrating radar, electromagnetic induction, and drone-based remote sensing systems. These technologies allow for non-invasive assessment of soil properties over large areas, creating detailed maps of electrical conductivity variations. The resulting maps can be integrated with geographic information systems to support precision agriculture, land use planning, and environmental management decisions.Expand Specific Solutions
Leading Organizations in Soil Conductivity Research
The electrical conductivity function of alluvial soil represents a niche yet growing research area, currently in its developmental phase with increasing market applications in precision agriculture and environmental monitoring. The market is expanding as agricultural technology advances, with companies like WaterBit and Pioneer Hi-Bred International driving innovation in soil monitoring solutions. Academic institutions, particularly Zhejiang University, China Agricultural University, and Purdue Research Foundation, lead research efforts, while commercial entities such as Vaisala Oyj and Shell contribute practical applications. The technology is approaching maturity with standardization efforts from China National Institute of Standardization, though challenges remain in creating universally applicable models across diverse soil conditions. Collaboration between academic and industrial players is accelerating technological advancement in this specialized field.
China Agricultural University
Technical Solution:  China Agricultural University has developed comprehensive soil electrical conductivity (EC) measurement systems specifically designed for alluvial soils. Their approach combines time-domain reflectometry (TDR) with frequency-domain reflectometry (FDR) techniques to accurately quantify the electrical conductivity function across different soil moisture conditions. The university's research teams have created mathematical models that account for the unique properties of alluvial deposits, including particle size distribution, organic matter content, and cation exchange capacity. Their technology includes portable field sensors capable of real-time EC mapping with GPS integration, allowing for spatial variability analysis across alluvial plains. The university has validated their methods through extensive field trials in major Chinese river basins, demonstrating strong correlations between measured EC values and actual soil salinity levels in alluvial environments.
Strengths: Specialized expertise in diverse Chinese alluvial soil types; integration of multiple measurement technologies; extensive field validation data. Weaknesses: Some models may be regionally calibrated for Chinese soil conditions; potential challenges in technology transfer to different geological contexts.
Vaisala Oyj
Technical Solution:  Vaisala has engineered specialized soil moisture and conductivity sensors designed specifically for challenging alluvial soil environments. Their technology employs advanced capacitance and impedance measurement techniques that operate across multiple frequencies (50-150 MHz) to accurately characterize the electrical conductivity function of alluvial soils with varying textures and water contents. Vaisala's sensors feature temperature compensation algorithms that automatically adjust EC readings based on soil temperature profiles, ensuring consistent measurements throughout seasonal changes. Their systems include wireless sensor networks that can be deployed across alluvial plains to create continuous monitoring systems with cloud-based data integration. Vaisala has also developed specialized calibration protocols for different alluvial soil types, accounting for variations in mineralogy and organic content that influence the EC function. Their equipment has been validated in numerous river delta regions worldwide, demonstrating reliable performance even in flood-prone alluvial environments.
Strengths: Industrial-grade sensor durability; comprehensive wireless networking capabilities; excellent temperature compensation. Weaknesses: Higher initial investment compared to academic solutions; may require specific calibration for unusual alluvial soil compositions.
Key Technologies for Accurate EC Function Determination
Systems and methods for high resolution plant root zone soil mapping and crop modeling 
PatentInactiveUS20180292339A1
 Innovation 
- A system using soil electrical conductivity and moisture measurements, combined with temperature, compaction, organic matter, and salinity data, to calculate soil texture at multiple depths, enabling high-resolution mapping and improved crop modeling accuracy.
Systems and methods for soil mapping and crop modeling 
PatentWO2016077421A1
 Innovation 
- A system and method using soil electrical conductivity and moisture measurements, combined with temperature, compaction, organic matter, and salinity data, to calculate soil texture at multiple depths, enabling high-resolution soil mapping and improved crop modeling.
Environmental Factors Affecting Alluvial Soil EC
The electrical conductivity (EC) of alluvial soils is significantly influenced by a complex interplay of environmental factors that can vary both spatially and temporally. Temperature stands as one of the most critical environmental variables affecting EC measurements, with research indicating that EC values typically increase by approximately 1.9% per degree Celsius rise in temperature. This temperature dependency necessitates standardization of EC readings to a reference temperature (commonly 25°C) for meaningful comparisons across different measurement conditions.
Moisture content represents another fundamental environmental factor with profound effects on alluvial soil EC. As water content increases in soil pores, it creates continuous pathways for electrical current, dramatically enhancing conductivity. Studies have demonstrated that EC values can increase exponentially as soil approaches saturation, with particularly pronounced effects in fine-textured alluvial deposits where capillary action maintains higher moisture levels.
Seasonal variations in precipitation and evapotranspiration rates introduce temporal dynamics to alluvial soil EC. During wet seasons, increased soil moisture elevates EC values, while prolonged dry periods concentrate soil solutes, potentially causing either increases in EC (due to concentration effects) or decreases (due to reduced conductive pathways). These seasonal fluctuations can be particularly pronounced in alluvial floodplains subject to periodic inundation and drying cycles.
Atmospheric conditions, including barometric pressure and relative humidity, exert subtle but measurable influences on EC measurements. Higher atmospheric humidity can affect surface soil moisture through vapor exchange, while barometric pressure changes may influence soil gas composition and indirectly affect EC readings through alterations in soil solution chemistry.
Biological activity within alluvial soils introduces another dimension of environmental influence. Microbial communities modify soil chemistry through decomposition processes, nutrient cycling, and production of organic acids. Root exudates from vegetation similarly alter the ionic composition of soil solutions. These biological processes exhibit seasonal patterns that correlate with temperature and moisture availability, creating feedback loops that further complicate EC dynamics.
Anthropogenic factors, including irrigation practices, fertilizer application, and land management decisions, represent significant environmental influences on alluvial soil EC. Agricultural activities in particular can introduce substantial temporal variability in EC measurements through the periodic addition of soluble salts and alteration of soil structure. Urban development near alluvial deposits may contribute pollutants that modify soil solution conductivity through runoff and atmospheric deposition.
Moisture content represents another fundamental environmental factor with profound effects on alluvial soil EC. As water content increases in soil pores, it creates continuous pathways for electrical current, dramatically enhancing conductivity. Studies have demonstrated that EC values can increase exponentially as soil approaches saturation, with particularly pronounced effects in fine-textured alluvial deposits where capillary action maintains higher moisture levels.
Seasonal variations in precipitation and evapotranspiration rates introduce temporal dynamics to alluvial soil EC. During wet seasons, increased soil moisture elevates EC values, while prolonged dry periods concentrate soil solutes, potentially causing either increases in EC (due to concentration effects) or decreases (due to reduced conductive pathways). These seasonal fluctuations can be particularly pronounced in alluvial floodplains subject to periodic inundation and drying cycles.
Atmospheric conditions, including barometric pressure and relative humidity, exert subtle but measurable influences on EC measurements. Higher atmospheric humidity can affect surface soil moisture through vapor exchange, while barometric pressure changes may influence soil gas composition and indirectly affect EC readings through alterations in soil solution chemistry.
Biological activity within alluvial soils introduces another dimension of environmental influence. Microbial communities modify soil chemistry through decomposition processes, nutrient cycling, and production of organic acids. Root exudates from vegetation similarly alter the ionic composition of soil solutions. These biological processes exhibit seasonal patterns that correlate with temperature and moisture availability, creating feedback loops that further complicate EC dynamics.
Anthropogenic factors, including irrigation practices, fertilizer application, and land management decisions, represent significant environmental influences on alluvial soil EC. Agricultural activities in particular can introduce substantial temporal variability in EC measurements through the periodic addition of soluble salts and alteration of soil structure. Urban development near alluvial deposits may contribute pollutants that modify soil solution conductivity through runoff and atmospheric deposition.
Data Processing Algorithms for EC Function Modeling
The processing of electrical conductivity (EC) data from alluvial soils requires sophisticated algorithms to transform raw measurements into meaningful models. Current data processing approaches can be categorized into three primary methodologies: statistical regression techniques, machine learning algorithms, and physics-based modeling approaches. Each offers distinct advantages depending on the specific characteristics of the alluvial soil being analyzed.
Statistical regression techniques remain the foundation of EC function modeling, with multiple linear regression and polynomial fitting being widely implemented. These methods excel at identifying correlations between EC measurements and soil properties such as moisture content, temperature, and salinity. Advanced regression techniques incorporating spatial autocorrelation have shown improved accuracy by accounting for the inherent spatial variability of alluvial deposits.
Machine learning algorithms have emerged as powerful tools for EC data processing, particularly when dealing with complex, non-linear relationships. Neural networks, support vector machines, and random forest algorithms have demonstrated superior performance in predicting EC functions across heterogeneous alluvial landscapes. Recent innovations in deep learning architectures have enabled the integration of multi-source data, including remote sensing imagery and topographic variables, enhancing model robustness.
Physics-based models incorporate theoretical understanding of electrical current flow through porous media, often utilizing finite element methods to solve Maxwell's equations within the soil matrix. These models explicitly account for soil texture, pore geometry, and fluid dynamics, providing mechanistic insights beyond purely statistical approaches. The integration of Archie's Law with modifications for clay content has proven particularly effective for alluvial soils with varying textural compositions.
Data preprocessing remains critical regardless of the modeling approach selected. Noise reduction techniques, including wavelet transforms and Savitzky-Golay filtering, have become standard practice for improving signal quality from field EC sensors. Outlier detection algorithms based on Mahalanobis distance and modified Z-scores help identify anomalous measurements that could otherwise compromise model integrity.
Validation protocols for EC function models have evolved to include cross-validation techniques specifically designed for spatiotemporal data. These methods account for the non-independence of observations in both space and time, providing more realistic assessments of model performance when applied to new alluvial environments. Ensemble approaches combining multiple algorithms have demonstrated enhanced prediction stability across diverse soil conditions.
Statistical regression techniques remain the foundation of EC function modeling, with multiple linear regression and polynomial fitting being widely implemented. These methods excel at identifying correlations between EC measurements and soil properties such as moisture content, temperature, and salinity. Advanced regression techniques incorporating spatial autocorrelation have shown improved accuracy by accounting for the inherent spatial variability of alluvial deposits.
Machine learning algorithms have emerged as powerful tools for EC data processing, particularly when dealing with complex, non-linear relationships. Neural networks, support vector machines, and random forest algorithms have demonstrated superior performance in predicting EC functions across heterogeneous alluvial landscapes. Recent innovations in deep learning architectures have enabled the integration of multi-source data, including remote sensing imagery and topographic variables, enhancing model robustness.
Physics-based models incorporate theoretical understanding of electrical current flow through porous media, often utilizing finite element methods to solve Maxwell's equations within the soil matrix. These models explicitly account for soil texture, pore geometry, and fluid dynamics, providing mechanistic insights beyond purely statistical approaches. The integration of Archie's Law with modifications for clay content has proven particularly effective for alluvial soils with varying textural compositions.
Data preprocessing remains critical regardless of the modeling approach selected. Noise reduction techniques, including wavelet transforms and Savitzky-Golay filtering, have become standard practice for improving signal quality from field EC sensors. Outlier detection algorithms based on Mahalanobis distance and modified Z-scores help identify anomalous measurements that could otherwise compromise model integrity.
Validation protocols for EC function models have evolved to include cross-validation techniques specifically designed for spatiotemporal data. These methods account for the non-independence of observations in both space and time, providing more realistic assessments of model performance when applied to new alluvial environments. Ensemble approaches combining multiple algorithms have demonstrated enhanced prediction stability across diverse soil conditions.
 Unlock deeper insights with  Patsnap Eureka Quick Research — get a full tech report to explore trends and direct your research. Try now! 
 Generate Your Research Report Instantly with AI Agent 
 Supercharge your innovation with Patsnap Eureka AI Agent Platform! 







