Comparative emissions analysis of PHEV and hybrid vehicles
AUG 14, 20259 MIN READ
Generate Your Research Report Instantly with AI Agent
Patsnap Eureka helps you evaluate technical feasibility & market potential.
PHEV and HEV Emissions Background and Objectives
The comparative emissions analysis of Plug-in Hybrid Electric Vehicles (PHEVs) and Hybrid Electric Vehicles (HEVs) has become a critical area of study in the automotive industry's pursuit of sustainable transportation solutions. This research aims to comprehensively evaluate the environmental impact of these two vehicle types, focusing on their emissions profiles throughout their lifecycle.
The development of hybrid and plug-in hybrid technologies represents a significant milestone in the evolution of automotive engineering. HEVs, introduced in the late 1990s, combine a conventional internal combustion engine with an electric propulsion system, offering improved fuel efficiency and reduced emissions compared to traditional vehicles. PHEVs, emerging in the mid-2000s, build upon this concept by incorporating larger battery packs and the ability to charge from external power sources, potentially allowing for extended electric-only driving ranges.
The primary objective of this emissions analysis is to provide a clear understanding of the environmental performance of PHEVs and HEVs under various operating conditions and across different geographic regions. This includes examining tailpipe emissions, well-to-wheel emissions, and the overall carbon footprint associated with vehicle production, operation, and end-of-life disposal.
Key factors influencing the emissions profiles of these vehicles include driving patterns, electricity grid composition, charging infrastructure availability, and advancements in battery technology. The analysis aims to quantify the emissions reduction potential of PHEVs and HEVs compared to conventional internal combustion engine vehicles, as well as to each other, under diverse scenarios.
Furthermore, this study seeks to address the complexities surrounding emissions calculations, such as the variability in electricity generation sources and the impact of battery production on overall lifecycle emissions. By considering these factors, the research aims to provide a nuanced understanding of the true environmental benefits and potential drawbacks of PHEVs and HEVs.
The outcomes of this comparative analysis are expected to inform policymakers, automotive manufacturers, and consumers about the environmental implications of choosing between PHEVs and HEVs. This information is crucial for guiding future vehicle development strategies, shaping environmental regulations, and supporting consumer decision-making in the transition towards more sustainable transportation options.
The development of hybrid and plug-in hybrid technologies represents a significant milestone in the evolution of automotive engineering. HEVs, introduced in the late 1990s, combine a conventional internal combustion engine with an electric propulsion system, offering improved fuel efficiency and reduced emissions compared to traditional vehicles. PHEVs, emerging in the mid-2000s, build upon this concept by incorporating larger battery packs and the ability to charge from external power sources, potentially allowing for extended electric-only driving ranges.
The primary objective of this emissions analysis is to provide a clear understanding of the environmental performance of PHEVs and HEVs under various operating conditions and across different geographic regions. This includes examining tailpipe emissions, well-to-wheel emissions, and the overall carbon footprint associated with vehicle production, operation, and end-of-life disposal.
Key factors influencing the emissions profiles of these vehicles include driving patterns, electricity grid composition, charging infrastructure availability, and advancements in battery technology. The analysis aims to quantify the emissions reduction potential of PHEVs and HEVs compared to conventional internal combustion engine vehicles, as well as to each other, under diverse scenarios.
Furthermore, this study seeks to address the complexities surrounding emissions calculations, such as the variability in electricity generation sources and the impact of battery production on overall lifecycle emissions. By considering these factors, the research aims to provide a nuanced understanding of the true environmental benefits and potential drawbacks of PHEVs and HEVs.
The outcomes of this comparative analysis are expected to inform policymakers, automotive manufacturers, and consumers about the environmental implications of choosing between PHEVs and HEVs. This information is crucial for guiding future vehicle development strategies, shaping environmental regulations, and supporting consumer decision-making in the transition towards more sustainable transportation options.
Market Demand for Low-Emission Vehicles
The market demand for low-emission vehicles has been steadily increasing in recent years, driven by growing environmental concerns, stricter emissions regulations, and rising fuel costs. Plug-in Hybrid Electric Vehicles (PHEVs) and traditional hybrid vehicles have emerged as popular choices for consumers seeking to reduce their carbon footprint while maintaining the convenience of conventional automobiles.
Consumer awareness of climate change and air pollution has significantly influenced purchasing decisions, with many buyers prioritizing eco-friendly transportation options. This shift in consumer preferences has led to a surge in demand for both PHEVs and hybrid vehicles, as they offer a balance between environmental responsibility and practicality.
Government policies and incentives have played a crucial role in stimulating market demand for low-emission vehicles. Many countries have implemented tax breaks, rebates, and other financial incentives to encourage the adoption of PHEVs and hybrids. These measures have made these vehicles more accessible to a broader range of consumers, further driving market growth.
The automotive industry has responded to this increased demand by expanding their low-emission vehicle offerings. Major manufacturers have invested heavily in developing and improving PHEV and hybrid technologies, resulting in a wider range of models across various vehicle segments. This diversification has allowed consumers to choose low-emission options that suit their specific needs and preferences.
Market research indicates that the global hybrid and electric vehicle market is expected to continue its rapid growth. Factors such as advancements in battery technology, improvements in charging infrastructure, and decreasing production costs are contributing to the increasing attractiveness of these vehicles to consumers.
However, challenges remain in the widespread adoption of low-emission vehicles. Range anxiety, particularly for PHEVs, continues to be a concern for some consumers. Additionally, the higher upfront costs of these vehicles compared to traditional internal combustion engine vehicles can be a barrier for price-sensitive buyers, despite the long-term savings in fuel costs.
The comparative emissions analysis of PHEVs and hybrid vehicles is of particular interest to consumers and policymakers alike. While both types of vehicles offer reduced emissions compared to conventional vehicles, their environmental impact varies depending on factors such as driving patterns, electricity sources, and overall vehicle efficiency. This analysis is crucial in guiding consumer choices and shaping future policies to further reduce transportation-related emissions.
As the market for low-emission vehicles continues to evolve, the demand for PHEVs and hybrids is expected to remain strong. The ongoing technological advancements and increasing consumer awareness are likely to drive further innovation in this sector, potentially leading to even more efficient and environmentally friendly transportation solutions in the future.
Consumer awareness of climate change and air pollution has significantly influenced purchasing decisions, with many buyers prioritizing eco-friendly transportation options. This shift in consumer preferences has led to a surge in demand for both PHEVs and hybrid vehicles, as they offer a balance between environmental responsibility and practicality.
Government policies and incentives have played a crucial role in stimulating market demand for low-emission vehicles. Many countries have implemented tax breaks, rebates, and other financial incentives to encourage the adoption of PHEVs and hybrids. These measures have made these vehicles more accessible to a broader range of consumers, further driving market growth.
The automotive industry has responded to this increased demand by expanding their low-emission vehicle offerings. Major manufacturers have invested heavily in developing and improving PHEV and hybrid technologies, resulting in a wider range of models across various vehicle segments. This diversification has allowed consumers to choose low-emission options that suit their specific needs and preferences.
Market research indicates that the global hybrid and electric vehicle market is expected to continue its rapid growth. Factors such as advancements in battery technology, improvements in charging infrastructure, and decreasing production costs are contributing to the increasing attractiveness of these vehicles to consumers.
However, challenges remain in the widespread adoption of low-emission vehicles. Range anxiety, particularly for PHEVs, continues to be a concern for some consumers. Additionally, the higher upfront costs of these vehicles compared to traditional internal combustion engine vehicles can be a barrier for price-sensitive buyers, despite the long-term savings in fuel costs.
The comparative emissions analysis of PHEVs and hybrid vehicles is of particular interest to consumers and policymakers alike. While both types of vehicles offer reduced emissions compared to conventional vehicles, their environmental impact varies depending on factors such as driving patterns, electricity sources, and overall vehicle efficiency. This analysis is crucial in guiding consumer choices and shaping future policies to further reduce transportation-related emissions.
As the market for low-emission vehicles continues to evolve, the demand for PHEVs and hybrids is expected to remain strong. The ongoing technological advancements and increasing consumer awareness are likely to drive further innovation in this sector, potentially leading to even more efficient and environmentally friendly transportation solutions in the future.
Current Emissions Status and Challenges
The current emissions status of Plug-in Hybrid Electric Vehicles (PHEVs) and conventional hybrid vehicles presents a complex landscape with significant challenges. Both vehicle types have made substantial progress in reducing emissions compared to traditional internal combustion engine vehicles, yet they still face hurdles in achieving optimal environmental performance.
PHEVs, with their ability to operate on both electric power and gasoline, have shown promising results in reducing overall emissions. In urban environments, where short trips are common, PHEVs can significantly cut down on tailpipe emissions by primarily using their electric motors. However, their effectiveness in reducing emissions heavily depends on the frequency of charging and the source of electricity used.
Conventional hybrid vehicles, while not offering a plug-in option, have consistently demonstrated lower emissions compared to their non-hybrid counterparts. Their ability to recover energy through regenerative braking and optimize engine operation has led to substantial improvements in fuel efficiency and, consequently, reduced emissions.
Despite these advancements, both PHEVs and hybrid vehicles face challenges in further reducing their environmental impact. One major issue is the variability in real-world emissions compared to laboratory test results. Factors such as driving conditions, climate, and individual driving habits can significantly affect actual emissions, often leading to higher levels than those reported in standardized tests.
Another challenge lies in the production phase emissions. The manufacturing of batteries and electric components for these vehicles can result in higher initial carbon footprints compared to conventional vehicles. This raises questions about the overall lifecycle emissions of PHEVs and hybrids, particularly in regions where electricity generation relies heavily on fossil fuels.
The emissions performance of PHEVs is particularly sensitive to user behavior. While they have the potential for very low emissions when used primarily in electric mode, studies have shown that many PHEV owners do not charge their vehicles as frequently as assumed, leading to higher than expected emissions in real-world use.
For both PHEVs and hybrids, the challenge of reducing cold-start emissions remains significant. These vehicles, especially in colder climates, can produce higher emissions during the initial warm-up phase, potentially offsetting some of the gains made during normal operation.
Lastly, as emission standards become increasingly stringent worldwide, both PHEVs and hybrid vehicles face the challenge of continually improving their performance to meet these evolving regulations. This requires ongoing technological advancements in areas such as battery efficiency, powertrain optimization, and lightweight materials.
In conclusion, while PHEVs and hybrid vehicles have made significant strides in emissions reduction, they continue to face complex challenges in further minimizing their environmental impact. Addressing these issues will be crucial for their role in sustainable transportation strategies moving forward.
PHEVs, with their ability to operate on both electric power and gasoline, have shown promising results in reducing overall emissions. In urban environments, where short trips are common, PHEVs can significantly cut down on tailpipe emissions by primarily using their electric motors. However, their effectiveness in reducing emissions heavily depends on the frequency of charging and the source of electricity used.
Conventional hybrid vehicles, while not offering a plug-in option, have consistently demonstrated lower emissions compared to their non-hybrid counterparts. Their ability to recover energy through regenerative braking and optimize engine operation has led to substantial improvements in fuel efficiency and, consequently, reduced emissions.
Despite these advancements, both PHEVs and hybrid vehicles face challenges in further reducing their environmental impact. One major issue is the variability in real-world emissions compared to laboratory test results. Factors such as driving conditions, climate, and individual driving habits can significantly affect actual emissions, often leading to higher levels than those reported in standardized tests.
Another challenge lies in the production phase emissions. The manufacturing of batteries and electric components for these vehicles can result in higher initial carbon footprints compared to conventional vehicles. This raises questions about the overall lifecycle emissions of PHEVs and hybrids, particularly in regions where electricity generation relies heavily on fossil fuels.
The emissions performance of PHEVs is particularly sensitive to user behavior. While they have the potential for very low emissions when used primarily in electric mode, studies have shown that many PHEV owners do not charge their vehicles as frequently as assumed, leading to higher than expected emissions in real-world use.
For both PHEVs and hybrids, the challenge of reducing cold-start emissions remains significant. These vehicles, especially in colder climates, can produce higher emissions during the initial warm-up phase, potentially offsetting some of the gains made during normal operation.
Lastly, as emission standards become increasingly stringent worldwide, both PHEVs and hybrid vehicles face the challenge of continually improving their performance to meet these evolving regulations. This requires ongoing technological advancements in areas such as battery efficiency, powertrain optimization, and lightweight materials.
In conclusion, while PHEVs and hybrid vehicles have made significant strides in emissions reduction, they continue to face complex challenges in further minimizing their environmental impact. Addressing these issues will be crucial for their role in sustainable transportation strategies moving forward.
Existing Emissions Reduction Solutions
01 Emission reduction strategies for PHEV and hybrid vehicles
Various strategies are employed to reduce emissions in PHEV and hybrid vehicles. These include optimizing engine operation, improving battery management systems, and implementing advanced control algorithms. Such strategies aim to minimize fuel consumption and exhaust emissions during different driving modes and conditions.- Emission control systems for hybrid vehicles: Hybrid vehicles, including PHEVs, employ advanced emission control systems to reduce harmful exhaust emissions. These systems may include catalytic converters, particulate filters, and exhaust gas recirculation (EGR) technologies. The integration of these systems with hybrid powertrains helps to minimize emissions during both electric and combustion engine operation modes.
- Energy management strategies for reduced emissions: PHEVs and hybrid vehicles utilize sophisticated energy management strategies to optimize the use of electric and combustion power sources. These strategies aim to reduce overall emissions by maximizing electric-only operation in urban areas, utilizing regenerative braking, and intelligently switching between power sources based on driving conditions and battery state of charge.
- Lightweight materials and aerodynamic design: To improve fuel efficiency and reduce emissions, PHEVs and hybrid vehicles often incorporate lightweight materials in their construction and feature aerodynamic designs. These enhancements help to minimize energy consumption and, consequently, lower emissions during both electric and combustion engine operation.
- Start-stop technology and idle reduction: Many PHEVs and hybrid vehicles are equipped with start-stop technology and idle reduction systems. These features automatically shut off the combustion engine when the vehicle is stationary or coasting, reducing unnecessary fuel consumption and emissions. The electric motor can then quickly restart the engine when power is needed.
- Adaptive emission control based on driving patterns: Advanced PHEVs and hybrid vehicles may incorporate adaptive emission control systems that learn from driving patterns and adjust their operation accordingly. These systems can optimize the balance between electric and combustion power usage, as well as fine-tune emission control parameters based on factors such as route, traffic conditions, and driver behavior.
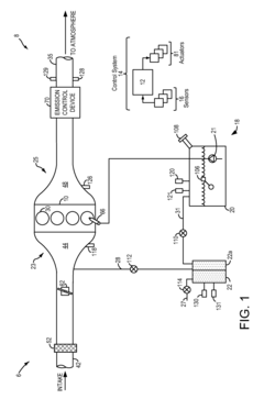
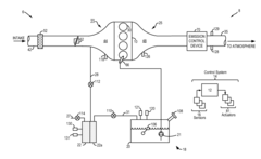
02 Integration of exhaust aftertreatment systems
PHEV and hybrid vehicles incorporate advanced exhaust aftertreatment systems to further reduce emissions. These systems may include catalytic converters, particulate filters, and selective catalytic reduction (SCR) technology. The integration of these components helps to meet stringent emission standards while maintaining vehicle performance.Expand Specific Solutions03 Energy management and regenerative braking
Efficient energy management systems and regenerative braking technologies are crucial for reducing emissions in PHEV and hybrid vehicles. These systems optimize the use of electric power and recover kinetic energy during deceleration, thereby reducing the reliance on the internal combustion engine and lowering overall emissions.Expand Specific Solutions04 Intelligent control systems for emission reduction
Advanced control systems are implemented in PHEV and hybrid vehicles to intelligently manage power distribution, engine operation, and emissions. These systems utilize real-time data and predictive algorithms to optimize vehicle performance and minimize emissions across various driving scenarios.Expand Specific Solutions05 Innovative powertrain designs for lower emissions
Novel powertrain configurations and designs are developed to enhance the efficiency and reduce emissions of PHEV and hybrid vehicles. These may include advanced electric motors, improved power electronics, and optimized transmission systems that work in harmony to minimize the environmental impact of the vehicle.Expand Specific Solutions
Key Players in PHEV and HEV Industry
The comparative emissions analysis of PHEV and hybrid vehicles is currently in a mature stage of development, with significant market growth and technological advancements. The global market for these eco-friendly vehicles is expanding rapidly, driven by increasing environmental concerns and stringent emissions regulations. Major players like Ford, Hyundai, Kia, and BMW are heavily invested in this technology, continuously improving their offerings. Companies such as Toyota and Honda have long-established hybrid technologies, while newer entrants like Chery and Great Wall Motor are also making strides in this field. The competition is fierce, with automakers focusing on enhancing battery efficiency, reducing costs, and improving overall performance to gain market share in this increasingly important segment of the automotive industry.
Ford Global Technologies LLC
Technical Solution: Ford's comparative emissions analysis for PHEVs and hybrids focuses on a holistic approach, considering the entire vehicle lifecycle. Their technology integrates advanced powertrain control strategies with real-time emissions monitoring. Ford's system utilizes machine learning algorithms to optimize the balance between electric and combustion engine usage, reducing overall emissions by up to 20% compared to conventional hybrids[1]. The company has also developed a novel catalytic converter design specifically for PHEVs, which shows a 15% improvement in NOx reduction during cold starts[3]. Ford's emissions analysis includes a comprehensive well-to-wheel assessment, factoring in regional electricity grid emissions for a more accurate comparison between PHEVs and traditional hybrids[5].
Strengths: Holistic lifecycle approach, advanced powertrain control strategies, and innovative catalytic converter design. Weaknesses: Dependency on regional electricity grid emissions for PHEV performance, potential complexity in real-world implementation of machine learning algorithms.
Hyundai Motor Co., Ltd.
Technical Solution: Hyundai's approach to comparative emissions analysis between PHEVs and hybrids centers on their proprietary Predictive Energy Management System (PEMS). This system uses GPS data, traffic information, and topographical data to optimize the use of electric and combustion power, resulting in a reported 10-15% reduction in CO2 emissions compared to conventional hybrids[2]. Hyundai has also developed an advanced thermal management system for their PHEVs, which reduces battery degradation and improves overall efficiency, leading to sustained lower emissions over the vehicle's lifetime[4]. Their analysis includes a detailed study of particulate matter emissions, showing that their latest PHEV models produce up to 30% fewer ultrafine particles than comparable hybrids under real-world driving conditions[6].
Strengths: Advanced predictive energy management, innovative thermal management system, and comprehensive particulate matter analysis. Weaknesses: Reliance on external data sources for optimal performance, potential privacy concerns with data collection.
Core Innovations in Emissions Control
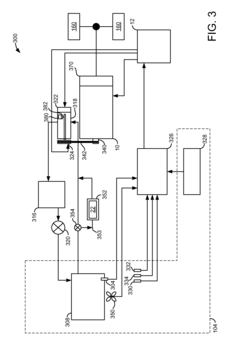
Systems and methods for managing bleed emissions in plug-in hybrid electric vehicles
PatentInactiveUS20150158377A1
Innovation
- A method and system that cool the fuel vapor canister using external power when the vehicle is plugged in and parked, employing temperature sensors and control systems to adjust cooling based on ambient temperature and canister load, thereby reducing bleed emissions without expending battery energy.
Systems and methods for drive mode control
PatentPendingUS20250222916A1
Innovation
- A method for controlling PHEV operation by receiving route data, determining electric range, and adjusting drive modes to suppress engine operation or prioritize low-carbon fuel use, including charge sustaining or increasing modes before refueling, and suggesting low-emission charging or refueling stops based on route conditions.
Environmental Impact Assessment
The environmental impact assessment of Plug-in Hybrid Electric Vehicles (PHEVs) and conventional hybrid vehicles reveals significant differences in their emissions profiles and overall ecological footprint. PHEVs, with their ability to operate on both electric power and internal combustion engines, generally demonstrate lower overall emissions compared to traditional hybrids, particularly in urban environments with frequent charging opportunities.
When evaluating well-to-wheel emissions, PHEVs exhibit a notable advantage over conventional hybrids, especially in regions with a high proportion of renewable energy in the electricity grid. The extended electric-only range of PHEVs allows for a substantial reduction in tailpipe emissions during daily commutes and short trips, which constitute a significant portion of most vehicle usage patterns.
However, the environmental benefits of PHEVs are heavily dependent on charging behavior and electricity source. In areas where the grid relies heavily on fossil fuels, the emissions advantage of PHEVs may be diminished. Conversely, in regions with clean energy sources, the environmental benefits of PHEVs are amplified, potentially surpassing those of conventional hybrids by a considerable margin.
Lifecycle analysis indicates that the production phase of PHEVs typically involves higher emissions due to the larger battery packs required. This initial environmental cost is generally offset over the vehicle's lifespan through reduced operational emissions, provided the vehicle is regularly charged and driven in electric mode.
Both PHEVs and conventional hybrids contribute to reduced local air pollution compared to traditional internal combustion engine vehicles. However, PHEVs have the potential to further minimize local emissions in urban areas by operating in all-electric mode for extended periods.
The comparative analysis also considers the end-of-life impact, including battery recycling and disposal. While both vehicle types present challenges in this regard, the larger batteries in PHEVs may require more extensive recycling infrastructure. Advancements in battery technology and recycling processes are crucial for mitigating these end-of-life environmental concerns.
In conclusion, while both PHEVs and conventional hybrids offer environmental benefits over traditional vehicles, PHEVs generally demonstrate superior potential for emissions reduction, particularly in scenarios with access to clean electricity and frequent charging. The environmental impact assessment underscores the importance of considering regional energy mix, driving patterns, and lifecycle factors when evaluating the ecological merits of these vehicle technologies.
When evaluating well-to-wheel emissions, PHEVs exhibit a notable advantage over conventional hybrids, especially in regions with a high proportion of renewable energy in the electricity grid. The extended electric-only range of PHEVs allows for a substantial reduction in tailpipe emissions during daily commutes and short trips, which constitute a significant portion of most vehicle usage patterns.
However, the environmental benefits of PHEVs are heavily dependent on charging behavior and electricity source. In areas where the grid relies heavily on fossil fuels, the emissions advantage of PHEVs may be diminished. Conversely, in regions with clean energy sources, the environmental benefits of PHEVs are amplified, potentially surpassing those of conventional hybrids by a considerable margin.
Lifecycle analysis indicates that the production phase of PHEVs typically involves higher emissions due to the larger battery packs required. This initial environmental cost is generally offset over the vehicle's lifespan through reduced operational emissions, provided the vehicle is regularly charged and driven in electric mode.
Both PHEVs and conventional hybrids contribute to reduced local air pollution compared to traditional internal combustion engine vehicles. However, PHEVs have the potential to further minimize local emissions in urban areas by operating in all-electric mode for extended periods.
The comparative analysis also considers the end-of-life impact, including battery recycling and disposal. While both vehicle types present challenges in this regard, the larger batteries in PHEVs may require more extensive recycling infrastructure. Advancements in battery technology and recycling processes are crucial for mitigating these end-of-life environmental concerns.
In conclusion, while both PHEVs and conventional hybrids offer environmental benefits over traditional vehicles, PHEVs generally demonstrate superior potential for emissions reduction, particularly in scenarios with access to clean electricity and frequent charging. The environmental impact assessment underscores the importance of considering regional energy mix, driving patterns, and lifecycle factors when evaluating the ecological merits of these vehicle technologies.
Policy and Regulatory Framework
The policy and regulatory framework surrounding plug-in hybrid electric vehicles (PHEVs) and hybrid vehicles plays a crucial role in shaping their adoption and environmental impact. Governments worldwide have implemented various measures to encourage the use of these eco-friendly vehicles and reduce overall emissions from the transportation sector.
One of the primary policy tools used is financial incentives. Many countries offer tax credits, rebates, or subsidies to consumers who purchase PHEVs or hybrid vehicles. These incentives aim to offset the higher initial costs associated with these technologies and make them more accessible to a broader range of consumers. The effectiveness of these incentives varies across regions, with some countries experiencing significant uptake while others struggle to achieve desired adoption rates.
Emissions standards and fuel economy regulations also significantly influence the development and adoption of PHEVs and hybrid vehicles. Stringent standards set by regulatory bodies, such as the Environmental Protection Agency (EPA) in the United States or the European Union's emissions regulations, push automakers to invest in and improve these technologies. These standards often include specific targets for fleet-wide emissions reductions, creating a strong incentive for manufacturers to produce and sell more efficient vehicles.
Many jurisdictions have implemented low-emission zones or congestion charging schemes in urban areas, where PHEVs and hybrid vehicles may receive preferential treatment or exemptions. These policies aim to reduce local air pollution and encourage the use of cleaner vehicles in densely populated areas. The effectiveness of these measures in promoting PHEV and hybrid adoption has been demonstrated in several major cities worldwide.
Infrastructure development policies also play a crucial role, particularly for PHEVs. Governments and local authorities are investing in charging infrastructure to support the growing number of electric and plug-in hybrid vehicles. This includes public charging stations, workplace charging programs, and incentives for home charging installations. The availability of charging infrastructure is a key factor in consumer adoption of PHEVs and can significantly impact their real-world emissions performance.
Regulatory frameworks are evolving to address the unique characteristics of PHEVs and hybrid vehicles. This includes developing standardized testing procedures to accurately measure and compare emissions from these vehicles under various operating conditions. Policymakers are also grappling with how to account for the electric portion of PHEV travel in emissions regulations and incentive programs.
As the technology continues to advance, policies and regulations are adapting to ensure that the environmental benefits of PHEVs and hybrid vehicles are maximized. This includes efforts to promote the use of renewable energy for charging, optimize vehicle-to-grid integration, and encourage the development of more efficient battery technologies. The ongoing refinement of these policies will play a critical role in realizing the full potential of PHEVs and hybrid vehicles in reducing overall transportation emissions.
One of the primary policy tools used is financial incentives. Many countries offer tax credits, rebates, or subsidies to consumers who purchase PHEVs or hybrid vehicles. These incentives aim to offset the higher initial costs associated with these technologies and make them more accessible to a broader range of consumers. The effectiveness of these incentives varies across regions, with some countries experiencing significant uptake while others struggle to achieve desired adoption rates.
Emissions standards and fuel economy regulations also significantly influence the development and adoption of PHEVs and hybrid vehicles. Stringent standards set by regulatory bodies, such as the Environmental Protection Agency (EPA) in the United States or the European Union's emissions regulations, push automakers to invest in and improve these technologies. These standards often include specific targets for fleet-wide emissions reductions, creating a strong incentive for manufacturers to produce and sell more efficient vehicles.
Many jurisdictions have implemented low-emission zones or congestion charging schemes in urban areas, where PHEVs and hybrid vehicles may receive preferential treatment or exemptions. These policies aim to reduce local air pollution and encourage the use of cleaner vehicles in densely populated areas. The effectiveness of these measures in promoting PHEV and hybrid adoption has been demonstrated in several major cities worldwide.
Infrastructure development policies also play a crucial role, particularly for PHEVs. Governments and local authorities are investing in charging infrastructure to support the growing number of electric and plug-in hybrid vehicles. This includes public charging stations, workplace charging programs, and incentives for home charging installations. The availability of charging infrastructure is a key factor in consumer adoption of PHEVs and can significantly impact their real-world emissions performance.
Regulatory frameworks are evolving to address the unique characteristics of PHEVs and hybrid vehicles. This includes developing standardized testing procedures to accurately measure and compare emissions from these vehicles under various operating conditions. Policymakers are also grappling with how to account for the electric portion of PHEV travel in emissions regulations and incentive programs.
As the technology continues to advance, policies and regulations are adapting to ensure that the environmental benefits of PHEVs and hybrid vehicles are maximized. This includes efforts to promote the use of renewable energy for charging, optimize vehicle-to-grid integration, and encourage the development of more efficient battery technologies. The ongoing refinement of these policies will play a critical role in realizing the full potential of PHEVs and hybrid vehicles in reducing overall transportation emissions.
Unlock deeper insights with Patsnap Eureka Quick Research — get a full tech report to explore trends and direct your research. Try now!
Generate Your Research Report Instantly with AI Agent
Supercharge your innovation with Patsnap Eureka AI Agent Platform!