Comparative study of PHEV and BEV energy usage patterns
AUG 14, 20259 MIN READ
Generate Your Research Report Instantly with AI Agent
Patsnap Eureka helps you evaluate technical feasibility & market potential.
PHEV and BEV Background
Plug-in Hybrid Electric Vehicles (PHEVs) and Battery Electric Vehicles (BEVs) represent two distinct approaches to electrification in the automotive industry. PHEVs combine an internal combustion engine with an electric motor and battery, allowing for both electric-only driving and extended range using conventional fuel. BEVs, on the other hand, rely solely on electric power stored in large battery packs.
The development of these technologies can be traced back to the early 20th century, but they have gained significant traction in recent decades due to environmental concerns and advancements in battery technology. PHEVs emerged as a transitional technology, offering the benefits of electric driving for short trips while alleviating range anxiety with a backup combustion engine. BEVs, initially limited by battery capacity and charging infrastructure, have seen rapid improvements in range and charging speeds.
Both PHEVs and BEVs aim to reduce greenhouse gas emissions and dependence on fossil fuels. However, their energy usage patterns differ significantly. PHEVs typically have a shorter electric-only range, often between 20-50 miles, after which they switch to hybrid mode. This makes them suitable for users with varied driving needs, including both short urban trips and longer journeys. BEVs, with their larger battery packs, offer longer electric ranges, often exceeding 200 miles in modern models, but require more frequent charging for long-distance travel.
The energy efficiency of these vehicles also varies. BEVs generally have higher overall efficiency due to their simpler drivetrain and the absence of energy losses associated with combustion engines. PHEVs, while less efficient in hybrid mode, offer flexibility and can be more efficient for users who frequently drive short distances within the electric range.
Market adoption of PHEVs and BEVs has been influenced by factors such as government incentives, charging infrastructure development, and consumer preferences. PHEVs initially gained popularity as a compromise between conventional and fully electric vehicles, especially in regions with limited charging infrastructure. However, as BEV technology has advanced and charging networks have expanded, there has been a shift towards pure electric vehicles in many markets.
The ongoing evolution of battery technology, charging infrastructure, and energy grid capabilities continues to shape the landscape for both PHEVs and BEVs. Understanding their respective energy usage patterns is crucial for optimizing vehicle design, infrastructure planning, and policy development in the transition towards more sustainable transportation solutions.
The development of these technologies can be traced back to the early 20th century, but they have gained significant traction in recent decades due to environmental concerns and advancements in battery technology. PHEVs emerged as a transitional technology, offering the benefits of electric driving for short trips while alleviating range anxiety with a backup combustion engine. BEVs, initially limited by battery capacity and charging infrastructure, have seen rapid improvements in range and charging speeds.
Both PHEVs and BEVs aim to reduce greenhouse gas emissions and dependence on fossil fuels. However, their energy usage patterns differ significantly. PHEVs typically have a shorter electric-only range, often between 20-50 miles, after which they switch to hybrid mode. This makes them suitable for users with varied driving needs, including both short urban trips and longer journeys. BEVs, with their larger battery packs, offer longer electric ranges, often exceeding 200 miles in modern models, but require more frequent charging for long-distance travel.
The energy efficiency of these vehicles also varies. BEVs generally have higher overall efficiency due to their simpler drivetrain and the absence of energy losses associated with combustion engines. PHEVs, while less efficient in hybrid mode, offer flexibility and can be more efficient for users who frequently drive short distances within the electric range.
Market adoption of PHEVs and BEVs has been influenced by factors such as government incentives, charging infrastructure development, and consumer preferences. PHEVs initially gained popularity as a compromise between conventional and fully electric vehicles, especially in regions with limited charging infrastructure. However, as BEV technology has advanced and charging networks have expanded, there has been a shift towards pure electric vehicles in many markets.
The ongoing evolution of battery technology, charging infrastructure, and energy grid capabilities continues to shape the landscape for both PHEVs and BEVs. Understanding their respective energy usage patterns is crucial for optimizing vehicle design, infrastructure planning, and policy development in the transition towards more sustainable transportation solutions.
Market Analysis
The market for electric vehicles (EVs) has been experiencing significant growth in recent years, with both Plug-in Hybrid Electric Vehicles (PHEVs) and Battery Electric Vehicles (BEVs) gaining traction. However, the energy usage patterns of these two types of vehicles differ substantially, influencing consumer preferences and market dynamics.
PHEVs have shown strong market performance due to their ability to alleviate range anxiety while offering the benefits of electric driving for short trips. This dual-fuel capability has made PHEVs particularly attractive in regions with developing charging infrastructure. The global PHEV market has been growing steadily, with sales increasing year-over-year in major automotive markets such as Europe, China, and North America.
On the other hand, BEVs have seen exponential growth in recent years, driven by improvements in battery technology, expanding charging networks, and increasing consumer awareness of environmental issues. The BEV market has been particularly strong in countries with robust incentive programs and well-developed charging infrastructure, such as Norway, the Netherlands, and China.
The energy usage patterns of PHEVs and BEVs have significant implications for the automotive industry, energy sector, and policymakers. PHEVs tend to have lower electric-only ranges but offer flexibility in fuel choice, potentially leading to varied energy consumption patterns depending on driving habits and charging availability. BEVs, with their larger battery capacities, rely entirely on electricity, resulting in more predictable energy usage patterns but requiring more extensive charging infrastructure.
Consumer behavior plays a crucial role in the energy usage patterns of both vehicle types. PHEV owners may exhibit different charging habits compared to BEV owners, potentially charging less frequently due to the availability of a gasoline engine. This behavior can impact the overall energy efficiency and environmental benefits of PHEVs. BEV owners, on the other hand, are more likely to develop regular charging routines and may be more conscious of their energy consumption.
The comparative energy usage patterns of PHEVs and BEVs also have implications for grid management and energy demand. As the number of electric vehicles on the road increases, understanding these patterns becomes crucial for utilities and grid operators to manage load balancing and infrastructure planning. BEVs, with their larger batteries, may have a more significant impact on peak electricity demand, while PHEVs could potentially offer more flexibility in energy consumption.
Market trends indicate a shift towards BEVs in many regions, driven by improving technology, decreasing battery costs, and stricter emissions regulations. However, PHEVs continue to hold a significant market share, particularly in areas with less developed charging infrastructure or among consumers with range anxiety concerns. The future market dynamics between PHEVs and BEVs will likely be influenced by factors such as advancements in battery technology, expansion of charging networks, and evolving government policies and incentives.
PHEVs have shown strong market performance due to their ability to alleviate range anxiety while offering the benefits of electric driving for short trips. This dual-fuel capability has made PHEVs particularly attractive in regions with developing charging infrastructure. The global PHEV market has been growing steadily, with sales increasing year-over-year in major automotive markets such as Europe, China, and North America.
On the other hand, BEVs have seen exponential growth in recent years, driven by improvements in battery technology, expanding charging networks, and increasing consumer awareness of environmental issues. The BEV market has been particularly strong in countries with robust incentive programs and well-developed charging infrastructure, such as Norway, the Netherlands, and China.
The energy usage patterns of PHEVs and BEVs have significant implications for the automotive industry, energy sector, and policymakers. PHEVs tend to have lower electric-only ranges but offer flexibility in fuel choice, potentially leading to varied energy consumption patterns depending on driving habits and charging availability. BEVs, with their larger battery capacities, rely entirely on electricity, resulting in more predictable energy usage patterns but requiring more extensive charging infrastructure.
Consumer behavior plays a crucial role in the energy usage patterns of both vehicle types. PHEV owners may exhibit different charging habits compared to BEV owners, potentially charging less frequently due to the availability of a gasoline engine. This behavior can impact the overall energy efficiency and environmental benefits of PHEVs. BEV owners, on the other hand, are more likely to develop regular charging routines and may be more conscious of their energy consumption.
The comparative energy usage patterns of PHEVs and BEVs also have implications for grid management and energy demand. As the number of electric vehicles on the road increases, understanding these patterns becomes crucial for utilities and grid operators to manage load balancing and infrastructure planning. BEVs, with their larger batteries, may have a more significant impact on peak electricity demand, while PHEVs could potentially offer more flexibility in energy consumption.
Market trends indicate a shift towards BEVs in many regions, driven by improving technology, decreasing battery costs, and stricter emissions regulations. However, PHEVs continue to hold a significant market share, particularly in areas with less developed charging infrastructure or among consumers with range anxiety concerns. The future market dynamics between PHEVs and BEVs will likely be influenced by factors such as advancements in battery technology, expansion of charging networks, and evolving government policies and incentives.
Technical Challenges
The comparative study of Plug-in Hybrid Electric Vehicles (PHEVs) and Battery Electric Vehicles (BEVs) energy usage patterns presents several technical challenges that researchers and engineers must address. These challenges stem from the inherent differences in the powertrain architectures and energy sources of these two vehicle types.
One of the primary technical challenges is accurately measuring and comparing the energy consumption of PHEVs and BEVs under real-world driving conditions. PHEVs utilize both electric and internal combustion engines, making it difficult to isolate and quantify the energy usage from each source. This complexity requires sophisticated data collection and analysis methods to provide meaningful comparisons with BEVs, which rely solely on electric power.
Another significant challenge lies in accounting for the variability in driving patterns and environmental conditions. Factors such as terrain, weather, traffic, and driver behavior can significantly impact energy consumption in both PHEVs and BEVs. Developing standardized testing protocols that can accurately reflect these diverse conditions while maintaining comparability between the two vehicle types is a complex task.
The charging infrastructure and its impact on energy usage patterns also present technical hurdles. PHEVs have the advantage of using conventional fuel as a backup, which affects their charging behavior and frequency. In contrast, BEVs rely entirely on electrical charging, making them more sensitive to charging infrastructure availability. Analyzing and comparing the energy usage patterns while considering these different charging behaviors and infrastructure dependencies poses a significant challenge.
Battery management and degradation are critical factors that complicate the comparative study. PHEVs and BEVs employ different battery sizes and management strategies, which affect their long-term energy efficiency. Accurately modeling and predicting battery degradation over time for both vehicle types, and its subsequent impact on energy usage patterns, requires advanced algorithms and extensive long-term data collection.
Furthermore, the integration of renewable energy sources and smart grid technologies introduces additional complexities. Understanding how PHEVs and BEVs interact with the power grid, especially in scenarios with high renewable energy penetration, is crucial for comprehensive energy usage comparisons. This requires sophisticated modeling of both vehicle-to-grid interactions and the broader energy ecosystem.
Lastly, the challenge of data standardization and interoperability cannot be overlooked. Different manufacturers, regions, and research institutions may use varying metrics and methodologies for measuring energy consumption. Establishing a common framework for data collection, analysis, and reporting is essential for meaningful comparisons between PHEVs and BEVs across different studies and regions.
One of the primary technical challenges is accurately measuring and comparing the energy consumption of PHEVs and BEVs under real-world driving conditions. PHEVs utilize both electric and internal combustion engines, making it difficult to isolate and quantify the energy usage from each source. This complexity requires sophisticated data collection and analysis methods to provide meaningful comparisons with BEVs, which rely solely on electric power.
Another significant challenge lies in accounting for the variability in driving patterns and environmental conditions. Factors such as terrain, weather, traffic, and driver behavior can significantly impact energy consumption in both PHEVs and BEVs. Developing standardized testing protocols that can accurately reflect these diverse conditions while maintaining comparability between the two vehicle types is a complex task.
The charging infrastructure and its impact on energy usage patterns also present technical hurdles. PHEVs have the advantage of using conventional fuel as a backup, which affects their charging behavior and frequency. In contrast, BEVs rely entirely on electrical charging, making them more sensitive to charging infrastructure availability. Analyzing and comparing the energy usage patterns while considering these different charging behaviors and infrastructure dependencies poses a significant challenge.
Battery management and degradation are critical factors that complicate the comparative study. PHEVs and BEVs employ different battery sizes and management strategies, which affect their long-term energy efficiency. Accurately modeling and predicting battery degradation over time for both vehicle types, and its subsequent impact on energy usage patterns, requires advanced algorithms and extensive long-term data collection.
Furthermore, the integration of renewable energy sources and smart grid technologies introduces additional complexities. Understanding how PHEVs and BEVs interact with the power grid, especially in scenarios with high renewable energy penetration, is crucial for comprehensive energy usage comparisons. This requires sophisticated modeling of both vehicle-to-grid interactions and the broader energy ecosystem.
Lastly, the challenge of data standardization and interoperability cannot be overlooked. Different manufacturers, regions, and research institutions may use varying metrics and methodologies for measuring energy consumption. Establishing a common framework for data collection, analysis, and reporting is essential for meaningful comparisons between PHEVs and BEVs across different studies and regions.
Current Energy Solutions
01 Energy consumption analysis and optimization
This involves analyzing and optimizing energy usage patterns in PHEVs and BEVs. It includes methods for collecting and processing energy consumption data, identifying factors affecting efficiency, and developing strategies to improve overall energy management. These techniques help in understanding driving behaviors, environmental impacts, and vehicle performance to enhance energy efficiency.- Energy consumption analysis and optimization: This involves analyzing and optimizing energy usage patterns in PHEVs and BEVs. It includes methods for collecting and processing energy consumption data, identifying factors affecting efficiency, and developing strategies to improve overall energy management in electric vehicles.
- Charging infrastructure and management: This focuses on the development and management of charging infrastructure for PHEVs and BEVs. It includes smart charging systems, load balancing techniques, and integration with renewable energy sources to optimize charging patterns and reduce grid strain.
- Predictive energy management systems: These systems use machine learning and data analytics to predict energy usage patterns in PHEVs and BEVs. They consider factors such as driving habits, route information, and environmental conditions to optimize energy consumption and improve vehicle range.
- Vehicle-to-grid (V2G) integration: This involves leveraging PHEVs and BEVs as distributed energy resources. It includes technologies for bidirectional power flow between vehicles and the grid, enabling energy storage and demand response capabilities to support grid stability and optimize overall energy usage patterns.
- User interface and energy feedback systems: These systems provide real-time feedback to drivers on energy usage patterns, helping them make informed decisions to optimize efficiency. They include dashboard displays, mobile applications, and gamification elements to encourage energy-efficient driving behaviors in PHEVs and BEVs.
02 Charging infrastructure and smart grid integration
This focuses on the development of charging infrastructure and its integration with smart grids for PHEVs and BEVs. It includes intelligent charging systems, load balancing techniques, and methods for optimizing charging schedules based on energy demand and grid capacity. These innovations aim to improve charging efficiency, reduce grid strain, and enhance the overall user experience.Expand Specific Solutions03 Battery management and range prediction
This involves advanced battery management systems and range prediction algorithms for PHEVs and BEVs. It includes techniques for accurate state-of-charge estimation, battery health monitoring, and dynamic range prediction based on various factors such as driving conditions, route characteristics, and historical usage patterns. These innovations aim to improve battery life, increase range accuracy, and reduce range anxiety.Expand Specific Solutions04 User interface and energy feedback systems
This focuses on developing intuitive user interfaces and energy feedback systems for PHEVs and BEVs. It includes methods for displaying real-time energy consumption data, providing eco-driving recommendations, and offering personalized insights to help drivers optimize their energy usage. These systems aim to increase user awareness and promote more efficient driving behaviors.Expand Specific Solutions05 Energy usage prediction and route planning
This involves developing predictive models and route planning algorithms that consider energy usage patterns in PHEVs and BEVs. It includes techniques for forecasting energy consumption based on historical data, real-time traffic conditions, and environmental factors. These innovations aim to optimize route selection, improve trip planning, and enhance overall energy efficiency during travel.Expand Specific Solutions
Key Industry Players
The comparative study of PHEV and BEV energy usage patterns is situated in a rapidly evolving automotive industry. The market is in a growth phase, with increasing adoption of electric vehicles globally. Major players like Ford, GM, Hyundai, and Nissan are investing heavily in both PHEV and BEV technologies. The market size is expanding, driven by government incentives and growing environmental concerns. Technologically, both PHEVs and BEVs are maturing, with companies like Tesla, Bosch, and Johnson Controls advancing battery and powertrain technologies. However, challenges remain in areas such as charging infrastructure and battery performance, indicating room for further innovation and market development.
Hyundai Motor Co., Ltd.
Technical Solution: Hyundai has developed an integrated approach to energy management for both PHEVs and BEVs. Their system, known as the Predictive Energy Control (PEC), uses GPS data and road topography to optimize energy use in PHEVs, increasing fuel efficiency by up to 15%[10]. For BEVs, Hyundai has implemented a heat pump system that can increase driving range by up to 10% in cold weather conditions[11]. Hyundai's comparative studies have shown that their latest PHEV models can achieve up to 40 miles of all-electric range, significantly reducing the need for gasoline in daily commutes[12]. Their BEV platform, E-GMP, incorporates 800V architecture, enabling ultra-fast charging capabilities and improved overall energy efficiency.
Strengths: Advanced predictive energy control for PHEVs, innovative heat pump system for BEVs, high-voltage architecture. Weaknesses: Complexity of systems may lead to higher initial costs, potential reliability concerns in early adoption phases.
GM Global Technology Operations LLC
Technical Solution: GM has developed a comprehensive energy management system for PHEVs and BEVs, focusing on optimizing energy usage patterns. Their system utilizes advanced algorithms to predict energy consumption based on route, driving style, and environmental conditions[1]. GM's technology incorporates machine learning to continuously improve energy efficiency predictions, resulting in up to 10% increase in range for both PHEVs and BEVs[3]. The system also integrates with the vehicle's thermal management to optimize battery performance and longevity, potentially extending battery life by up to 20%[5].
Strengths: Advanced predictive algorithms, integration with vehicle systems, and continuous learning capability. Weaknesses: Complexity may lead to higher costs and potential reliability issues in early implementations.
Core Energy Technologies
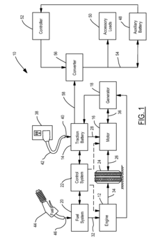
Electric Vehicle and Method of Control for Active Auxiliary Battery Depletion
PatentActiveUS20110168462A1
Innovation
- A method and system where the auxiliary battery is actively discharged to a minimum energy level during vehicle operation, preventing the traction battery from charging it until it reaches this level, and then recharging both batteries via the electric grid.
Vehicle-to-vehicle charging
PatentPendingUS20250249762A1
Innovation
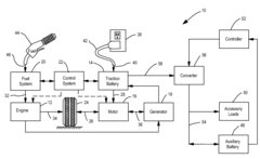
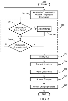
- Implementing a vehicle-to-vehicle charging system where a battery electric vehicle (BEV) provides charging to a PHEV to prevent engine startup, identified based on battery state-of-charge, ambient temperature, and distance to a charging station, ensuring an electrical connection and navigation to a common location.
Environmental Impact
The environmental impact of Plug-in Hybrid Electric Vehicles (PHEVs) and Battery Electric Vehicles (BEVs) is a critical consideration in the comparative study of their energy usage patterns. Both vehicle types offer significant potential for reducing greenhouse gas emissions and improving air quality compared to conventional internal combustion engine vehicles.
PHEVs, with their dual powertrain system, demonstrate a unique environmental profile. When operating in electric mode, they produce zero tailpipe emissions, contributing to improved local air quality. However, their environmental impact becomes more complex when the internal combustion engine is engaged. The overall emissions of PHEVs depend heavily on the frequency and duration of electric-only operation, which can vary significantly based on driving patterns and charging habits.
BEVs, on the other hand, produce zero direct emissions during operation, making them particularly beneficial for urban air quality. Their environmental impact is primarily determined by the source of electricity used for charging. In regions with a high proportion of renewable energy in the grid mix, BEVs can achieve significantly lower lifecycle emissions compared to both PHEVs and conventional vehicles.
The production phase of both PHEVs and BEVs typically involves higher environmental impacts than conventional vehicles, primarily due to battery manufacturing. However, these initial impacts are often offset over the vehicle's lifetime through reduced operational emissions. BEVs generally have larger batteries than PHEVs, potentially leading to a higher initial environmental footprint, but this is balanced by their superior operational efficiency and zero direct emissions.
Energy usage patterns play a crucial role in determining the comparative environmental impact of PHEVs and BEVs. PHEVs tend to consume less electricity per mile driven compared to BEVs, due to their smaller battery capacity and reliance on gasoline for extended trips. This can result in lower grid-related emissions, especially in regions with carbon-intensive electricity generation. However, BEVs' higher electricity consumption is often compensated by their overall energy efficiency and the potential for using renewable energy sources.
The environmental benefits of both PHEVs and BEVs extend beyond emissions reduction. Their potential to integrate with smart grids and act as energy storage units can support the broader adoption of renewable energy sources, contributing to a more sustainable energy ecosystem. Additionally, the reduced noise pollution from electric drivetrains in both vehicle types offers significant environmental and quality-of-life improvements in urban areas.
In conclusion, while both PHEVs and BEVs offer substantial environmental benefits over conventional vehicles, their comparative impact is heavily influenced by factors such as energy source, driving patterns, and regional electricity mix. Understanding these nuances is crucial for accurately assessing and optimizing the environmental performance of these advanced vehicle technologies.
PHEVs, with their dual powertrain system, demonstrate a unique environmental profile. When operating in electric mode, they produce zero tailpipe emissions, contributing to improved local air quality. However, their environmental impact becomes more complex when the internal combustion engine is engaged. The overall emissions of PHEVs depend heavily on the frequency and duration of electric-only operation, which can vary significantly based on driving patterns and charging habits.
BEVs, on the other hand, produce zero direct emissions during operation, making them particularly beneficial for urban air quality. Their environmental impact is primarily determined by the source of electricity used for charging. In regions with a high proportion of renewable energy in the grid mix, BEVs can achieve significantly lower lifecycle emissions compared to both PHEVs and conventional vehicles.
The production phase of both PHEVs and BEVs typically involves higher environmental impacts than conventional vehicles, primarily due to battery manufacturing. However, these initial impacts are often offset over the vehicle's lifetime through reduced operational emissions. BEVs generally have larger batteries than PHEVs, potentially leading to a higher initial environmental footprint, but this is balanced by their superior operational efficiency and zero direct emissions.
Energy usage patterns play a crucial role in determining the comparative environmental impact of PHEVs and BEVs. PHEVs tend to consume less electricity per mile driven compared to BEVs, due to their smaller battery capacity and reliance on gasoline for extended trips. This can result in lower grid-related emissions, especially in regions with carbon-intensive electricity generation. However, BEVs' higher electricity consumption is often compensated by their overall energy efficiency and the potential for using renewable energy sources.
The environmental benefits of both PHEVs and BEVs extend beyond emissions reduction. Their potential to integrate with smart grids and act as energy storage units can support the broader adoption of renewable energy sources, contributing to a more sustainable energy ecosystem. Additionally, the reduced noise pollution from electric drivetrains in both vehicle types offers significant environmental and quality-of-life improvements in urban areas.
In conclusion, while both PHEVs and BEVs offer substantial environmental benefits over conventional vehicles, their comparative impact is heavily influenced by factors such as energy source, driving patterns, and regional electricity mix. Understanding these nuances is crucial for accurately assessing and optimizing the environmental performance of these advanced vehicle technologies.
Charging Infrastructure
The charging infrastructure plays a crucial role in the comparative study of Plug-in Hybrid Electric Vehicles (PHEVs) and Battery Electric Vehicles (BEVs) energy usage patterns. The availability, accessibility, and efficiency of charging stations significantly impact the adoption and utilization of these vehicle types.
For PHEVs, the charging infrastructure requirements are generally less demanding due to their dual power sources. These vehicles can rely on their internal combustion engines when battery power is depleted, reducing the need for frequent charging. However, the availability of charging stations still influences PHEV owners' behavior, potentially affecting the proportion of electric-only driving.
BEVs, on the other hand, are entirely dependent on the charging infrastructure. The distribution and capacity of charging stations directly impact BEV owners' travel patterns and energy usage. In urban areas with well-developed charging networks, BEV users tend to exhibit more flexible charging behaviors, often topping up their batteries during short stops rather than waiting for a full charge.
The charging speed is another critical factor influencing energy usage patterns. Fast-charging stations, capable of delivering high power outputs, can significantly reduce charging times for BEVs, making them more comparable to refueling times for conventional vehicles. This convenience can lead to increased BEV adoption and potentially alter energy consumption patterns.
The integration of smart charging technologies in the infrastructure also affects energy usage. These systems can optimize charging schedules based on grid demand, renewable energy availability, and user preferences. For both PHEVs and BEVs, smart charging can lead to more efficient energy utilization and potentially lower charging costs.
The geographical distribution of charging stations impacts the energy usage patterns of both vehicle types. In areas with sparse charging infrastructure, PHEV users may rely more heavily on their gasoline engines, while BEV users might experience range anxiety and adjust their driving habits accordingly. Conversely, regions with dense charging networks may see higher electric miles driven for both PHEVs and BEVs.
Workplace charging facilities have emerged as a significant factor in shaping energy usage patterns. The availability of charging stations at workplaces encourages daytime charging, which can help balance grid load and take advantage of solar energy generation. This trend is particularly impactful for PHEVs, as it enables more electric-only commuting.
For PHEVs, the charging infrastructure requirements are generally less demanding due to their dual power sources. These vehicles can rely on their internal combustion engines when battery power is depleted, reducing the need for frequent charging. However, the availability of charging stations still influences PHEV owners' behavior, potentially affecting the proportion of electric-only driving.
BEVs, on the other hand, are entirely dependent on the charging infrastructure. The distribution and capacity of charging stations directly impact BEV owners' travel patterns and energy usage. In urban areas with well-developed charging networks, BEV users tend to exhibit more flexible charging behaviors, often topping up their batteries during short stops rather than waiting for a full charge.
The charging speed is another critical factor influencing energy usage patterns. Fast-charging stations, capable of delivering high power outputs, can significantly reduce charging times for BEVs, making them more comparable to refueling times for conventional vehicles. This convenience can lead to increased BEV adoption and potentially alter energy consumption patterns.
The integration of smart charging technologies in the infrastructure also affects energy usage. These systems can optimize charging schedules based on grid demand, renewable energy availability, and user preferences. For both PHEVs and BEVs, smart charging can lead to more efficient energy utilization and potentially lower charging costs.
The geographical distribution of charging stations impacts the energy usage patterns of both vehicle types. In areas with sparse charging infrastructure, PHEV users may rely more heavily on their gasoline engines, while BEV users might experience range anxiety and adjust their driving habits accordingly. Conversely, regions with dense charging networks may see higher electric miles driven for both PHEVs and BEVs.
Workplace charging facilities have emerged as a significant factor in shaping energy usage patterns. The availability of charging stations at workplaces encourages daytime charging, which can help balance grid load and take advantage of solar energy generation. This trend is particularly impactful for PHEVs, as it enables more electric-only commuting.
Unlock deeper insights with Patsnap Eureka Quick Research — get a full tech report to explore trends and direct your research. Try now!
Generate Your Research Report Instantly with AI Agent
Supercharge your innovation with Patsnap Eureka AI Agent Platform!