Examining the Role of HEV in Reducing Transport Costs
AUG 14, 20259 MIN READ
Generate Your Research Report Instantly with AI Agent
Patsnap Eureka helps you evaluate technical feasibility & market potential.
HEV Technology Background and Objectives
Hybrid Electric Vehicles (HEVs) have emerged as a pivotal technology in the automotive industry's quest to reduce transport costs and environmental impact. The development of HEV technology can be traced back to the late 19th century, with significant advancements occurring in the late 20th and early 21st centuries. The primary objective of HEV technology is to combine the benefits of internal combustion engines with electric propulsion systems, thereby optimizing fuel efficiency and reducing emissions.
The evolution of HEV technology has been driven by several factors, including increasing concerns about climate change, rising fuel prices, and stringent government regulations on vehicle emissions. As a result, the automotive industry has invested heavily in research and development to improve HEV performance, reliability, and cost-effectiveness. This ongoing effort has led to substantial improvements in battery technology, power electronics, and energy management systems.
One of the key trends in HEV technology is the continuous enhancement of battery capacity and energy density. This has enabled manufacturers to increase the electric-only driving range of HEVs, further reducing fuel consumption and emissions. Additionally, advancements in regenerative braking systems have improved energy recovery during deceleration, contributing to overall efficiency gains.
The integration of smart technologies and connectivity features in HEVs represents another significant trend. These innovations allow for more sophisticated energy management strategies, optimizing the balance between electric and combustion power based on real-time driving conditions and user preferences. This integration also facilitates predictive maintenance and over-the-air updates, potentially reducing long-term ownership costs.
Looking ahead, the HEV technology roadmap aims to achieve several ambitious goals. These include further improvements in fuel efficiency, with some manufacturers targeting up to 100 miles per gallon for certain models. Another objective is to reduce the production costs of HEVs, making them more accessible to a broader range of consumers and accelerating market adoption.
Researchers are also exploring advanced materials and manufacturing techniques to reduce the weight of HEVs, which can contribute to improved performance and efficiency. Moreover, there is a growing focus on developing more sustainable and recyclable components, aligning with broader environmental objectives and circular economy principles.
In the context of reducing transport costs, HEV technology aims to deliver significant savings in fuel consumption and maintenance expenses over the vehicle's lifetime. By optimizing the use of electric power and reducing wear on conventional engine components, HEVs have the potential to offer lower total cost of ownership compared to traditional internal combustion engine vehicles. This aligns with the overarching goal of making transportation more economically viable and environmentally sustainable in the long term.
The evolution of HEV technology has been driven by several factors, including increasing concerns about climate change, rising fuel prices, and stringent government regulations on vehicle emissions. As a result, the automotive industry has invested heavily in research and development to improve HEV performance, reliability, and cost-effectiveness. This ongoing effort has led to substantial improvements in battery technology, power electronics, and energy management systems.
One of the key trends in HEV technology is the continuous enhancement of battery capacity and energy density. This has enabled manufacturers to increase the electric-only driving range of HEVs, further reducing fuel consumption and emissions. Additionally, advancements in regenerative braking systems have improved energy recovery during deceleration, contributing to overall efficiency gains.
The integration of smart technologies and connectivity features in HEVs represents another significant trend. These innovations allow for more sophisticated energy management strategies, optimizing the balance between electric and combustion power based on real-time driving conditions and user preferences. This integration also facilitates predictive maintenance and over-the-air updates, potentially reducing long-term ownership costs.
Looking ahead, the HEV technology roadmap aims to achieve several ambitious goals. These include further improvements in fuel efficiency, with some manufacturers targeting up to 100 miles per gallon for certain models. Another objective is to reduce the production costs of HEVs, making them more accessible to a broader range of consumers and accelerating market adoption.
Researchers are also exploring advanced materials and manufacturing techniques to reduce the weight of HEVs, which can contribute to improved performance and efficiency. Moreover, there is a growing focus on developing more sustainable and recyclable components, aligning with broader environmental objectives and circular economy principles.
In the context of reducing transport costs, HEV technology aims to deliver significant savings in fuel consumption and maintenance expenses over the vehicle's lifetime. By optimizing the use of electric power and reducing wear on conventional engine components, HEVs have the potential to offer lower total cost of ownership compared to traditional internal combustion engine vehicles. This aligns with the overarching goal of making transportation more economically viable and environmentally sustainable in the long term.
Market Analysis for HEV in Transport
The market for Hybrid Electric Vehicles (HEVs) in the transport sector has shown significant growth and potential in recent years. This trend is driven by increasing environmental concerns, rising fuel costs, and stringent government regulations aimed at reducing carbon emissions. The global HEV market size was valued at approximately $26.33 billion in 2021 and is projected to reach $51.04 billion by 2028, growing at a CAGR of 9.8% during the forecast period.
In the passenger vehicle segment, HEVs have gained substantial traction, particularly in developed markets such as Japan, Europe, and North America. Toyota, a pioneer in HEV technology, has sold over 15 million hybrid vehicles worldwide since the introduction of the Prius in 1997. This success has prompted other major automakers to expand their HEV offerings, leading to increased competition and innovation in the market.
The commercial vehicle sector is also witnessing a growing adoption of HEV technology. Fleet operators are increasingly turning to hybrid trucks and buses to reduce fuel consumption and operating costs. For instance, the global hybrid bus market is expected to grow at a CAGR of 12.9% from 2021 to 2026, driven by government initiatives promoting clean energy transportation.
Geographically, Asia-Pacific dominates the HEV market, with Japan and China leading in terms of production and sales. Europe follows closely, with countries like Germany, France, and the UK showing strong growth in HEV adoption. The North American market, while initially slower to adopt, has seen accelerated growth in recent years, particularly in the United States.
Key factors driving the HEV market include fuel efficiency improvements, lower maintenance costs, and reduced environmental impact compared to conventional vehicles. HEVs typically offer 20-35% better fuel economy than their non-hybrid counterparts, translating to significant cost savings for consumers and fleet operators over the vehicle's lifetime.
However, the HEV market also faces challenges. The higher upfront cost of HEVs compared to conventional vehicles remains a barrier to widespread adoption, particularly in price-sensitive markets. Additionally, the rapid development of fully electric vehicles (EVs) poses a potential threat to long-term HEV growth, as some consumers and policymakers view EVs as a more sustainable long-term solution.
Despite these challenges, the HEV market is expected to continue its growth trajectory in the near to medium term. The technology serves as an important bridge between conventional internal combustion engines and fully electric powertrains, offering a practical solution for reducing transport costs and emissions without the range anxiety and charging infrastructure limitations associated with EVs.
In the passenger vehicle segment, HEVs have gained substantial traction, particularly in developed markets such as Japan, Europe, and North America. Toyota, a pioneer in HEV technology, has sold over 15 million hybrid vehicles worldwide since the introduction of the Prius in 1997. This success has prompted other major automakers to expand their HEV offerings, leading to increased competition and innovation in the market.
The commercial vehicle sector is also witnessing a growing adoption of HEV technology. Fleet operators are increasingly turning to hybrid trucks and buses to reduce fuel consumption and operating costs. For instance, the global hybrid bus market is expected to grow at a CAGR of 12.9% from 2021 to 2026, driven by government initiatives promoting clean energy transportation.
Geographically, Asia-Pacific dominates the HEV market, with Japan and China leading in terms of production and sales. Europe follows closely, with countries like Germany, France, and the UK showing strong growth in HEV adoption. The North American market, while initially slower to adopt, has seen accelerated growth in recent years, particularly in the United States.
Key factors driving the HEV market include fuel efficiency improvements, lower maintenance costs, and reduced environmental impact compared to conventional vehicles. HEVs typically offer 20-35% better fuel economy than their non-hybrid counterparts, translating to significant cost savings for consumers and fleet operators over the vehicle's lifetime.
However, the HEV market also faces challenges. The higher upfront cost of HEVs compared to conventional vehicles remains a barrier to widespread adoption, particularly in price-sensitive markets. Additionally, the rapid development of fully electric vehicles (EVs) poses a potential threat to long-term HEV growth, as some consumers and policymakers view EVs as a more sustainable long-term solution.
Despite these challenges, the HEV market is expected to continue its growth trajectory in the near to medium term. The technology serves as an important bridge between conventional internal combustion engines and fully electric powertrains, offering a practical solution for reducing transport costs and emissions without the range anxiety and charging infrastructure limitations associated with EVs.
Current HEV Challenges in Transport
Hybrid Electric Vehicles (HEVs) face several significant challenges in the transport sector, despite their potential to reduce costs and environmental impact. One of the primary obstacles is the higher initial purchase price compared to conventional vehicles. This cost differential, although decreasing over time, still presents a barrier to widespread adoption, particularly for fleet operators and individual consumers who are price-sensitive.
Battery technology remains a critical challenge for HEVs. While advancements have been made, issues such as limited energy density, charging speed, and overall lifespan continue to impact the performance and practicality of these vehicles. The need for frequent charging and the associated downtime can be particularly problematic for commercial transport operations that require continuous vehicle availability.
Infrastructure development poses another significant hurdle. The lack of a comprehensive charging network, especially in rural or less developed areas, limits the operational range and flexibility of HEVs. This infrastructure gap not only affects long-distance transport but also complicates urban logistics and last-mile delivery services.
Maintenance and repair costs present additional challenges. HEVs incorporate complex systems that require specialized knowledge and equipment for servicing. The shortage of qualified technicians and the higher costs associated with maintaining these advanced powertrains can offset some of the operational cost savings that HEVs promise.
Weight considerations are particularly relevant in the transport sector. The additional weight of batteries and electric components can reduce the payload capacity of HEVs, potentially impacting the efficiency and profitability of freight operations. This trade-off between electrification and cargo capacity is a significant concern for logistics companies and fleet managers.
Regulatory uncertainties and varying incentive structures across different regions create a complex landscape for HEV adoption. Inconsistent policies regarding emissions standards, tax incentives, and urban access restrictions can make it difficult for transport companies to develop long-term strategies around HEV integration.
The integration of HEVs into existing fleet management systems presents operational challenges. Many transport companies struggle to optimize route planning, charging schedules, and maintenance cycles for mixed fleets of conventional and hybrid vehicles. This complexity can lead to inefficiencies and increased operational costs if not managed effectively.
Lastly, the environmental benefits of HEVs, while significant, are sometimes questioned due to concerns about battery production and disposal. The carbon footprint associated with battery manufacturing and the challenges of recycling at end-of-life need to be addressed to fully realize the environmental advantages of HEVs in the transport sector.
Battery technology remains a critical challenge for HEVs. While advancements have been made, issues such as limited energy density, charging speed, and overall lifespan continue to impact the performance and practicality of these vehicles. The need for frequent charging and the associated downtime can be particularly problematic for commercial transport operations that require continuous vehicle availability.
Infrastructure development poses another significant hurdle. The lack of a comprehensive charging network, especially in rural or less developed areas, limits the operational range and flexibility of HEVs. This infrastructure gap not only affects long-distance transport but also complicates urban logistics and last-mile delivery services.
Maintenance and repair costs present additional challenges. HEVs incorporate complex systems that require specialized knowledge and equipment for servicing. The shortage of qualified technicians and the higher costs associated with maintaining these advanced powertrains can offset some of the operational cost savings that HEVs promise.
Weight considerations are particularly relevant in the transport sector. The additional weight of batteries and electric components can reduce the payload capacity of HEVs, potentially impacting the efficiency and profitability of freight operations. This trade-off between electrification and cargo capacity is a significant concern for logistics companies and fleet managers.
Regulatory uncertainties and varying incentive structures across different regions create a complex landscape for HEV adoption. Inconsistent policies regarding emissions standards, tax incentives, and urban access restrictions can make it difficult for transport companies to develop long-term strategies around HEV integration.
The integration of HEVs into existing fleet management systems presents operational challenges. Many transport companies struggle to optimize route planning, charging schedules, and maintenance cycles for mixed fleets of conventional and hybrid vehicles. This complexity can lead to inefficiencies and increased operational costs if not managed effectively.
Lastly, the environmental benefits of HEVs, while significant, are sometimes questioned due to concerns about battery production and disposal. The carbon footprint associated with battery manufacturing and the challenges of recycling at end-of-life need to be addressed to fully realize the environmental advantages of HEVs in the transport sector.
Existing HEV Cost Reduction Solutions
01 Battery management systems for HEVs
Advanced battery management systems are crucial for optimizing the performance and efficiency of hybrid electric vehicles. These systems monitor and control battery temperature, charge levels, and power distribution, which can significantly impact the overall transport costs of HEVs. Improved battery management leads to extended battery life, reduced maintenance costs, and increased energy efficiency.- Battery management systems for HEVs: Advanced battery management systems are crucial for optimizing the performance and efficiency of hybrid electric vehicles. These systems monitor and control battery temperature, charge levels, and power distribution, which can significantly impact the overall transport costs of HEVs. Improved battery management leads to extended battery life, reduced maintenance costs, and increased energy efficiency.
- Regenerative braking systems: Regenerative braking systems in HEVs capture and store energy typically lost during braking, converting it into electrical energy to recharge the vehicle's batteries. This technology enhances fuel efficiency and reduces wear on conventional braking systems, ultimately lowering maintenance costs and improving the overall cost-effectiveness of HEV transport.
- Lightweight materials and aerodynamic design: The use of lightweight materials in HEV construction, combined with aerodynamic design principles, can significantly reduce the vehicle's weight and air resistance. This leads to improved fuel efficiency and reduced energy consumption, thereby lowering the overall transport costs associated with HEVs. Advanced materials and design techniques contribute to extended range and reduced operational expenses.
- Intelligent power management and distribution: Smart power management systems in HEVs optimize the use of electric and combustion engines based on driving conditions, terrain, and energy availability. These systems ensure the most efficient use of available power sources, reducing fuel consumption and maximizing the use of electric power when appropriate. This intelligent approach to power distribution contributes to lower operating costs and improved overall efficiency.
- Charging infrastructure and grid integration: The development of efficient charging infrastructure and integration with smart grids plays a crucial role in reducing HEV transport costs. Advanced charging technologies, such as fast-charging stations and wireless charging systems, combined with intelligent grid management, can optimize charging times, reduce electricity costs, and improve the overall convenience and cost-effectiveness of operating HEVs in various transportation scenarios.
02 Regenerative braking systems
Regenerative braking systems in HEVs capture and store energy typically lost during braking, converting it into electrical energy to recharge the vehicle's batteries. This technology improves overall energy efficiency, reduces wear on traditional braking components, and lowers fuel consumption, ultimately decreasing transport costs for hybrid electric vehicles.Expand Specific Solutions03 Lightweight materials and aerodynamic design
The use of lightweight materials such as advanced composites and high-strength alloys in HEV construction, combined with aerodynamic design principles, can significantly reduce vehicle weight and air resistance. These improvements lead to increased fuel efficiency, extended electric range, and lower overall transport costs for hybrid electric vehicles.Expand Specific Solutions04 Intelligent power management systems
Sophisticated power management systems in HEVs optimize the use of electric and combustion engines based on driving conditions, terrain, and energy availability. These systems can automatically switch between power sources, manage power distribution, and adjust performance parameters to maximize efficiency and minimize transport costs.Expand Specific Solutions05 Charging infrastructure and smart grid integration
The development of efficient charging infrastructure and integration with smart grids can significantly impact HEV transport costs. Advanced charging stations, wireless charging technologies, and vehicle-to-grid systems enable faster charging, optimize energy usage, and potentially generate revenue through grid services, thereby reducing the overall cost of operating hybrid electric vehicles.Expand Specific Solutions
Key Players in HEV Transport Industry
The competition landscape for HEV technology in reducing transport costs is evolving rapidly, with the market in a growth phase. Major players like Toyota, Ford, Hyundai, and GM are investing heavily in HEV development, indicating a maturing technology. The market size is expanding as consumer demand for fuel-efficient vehicles increases. Toyota leads in HEV technology maturity, followed closely by Ford and Hyundai. Emerging players like Chery Automobile and CRRC Yongji Moto are also making strides, particularly in the Chinese market. Universities such as MIT and the University of Michigan are contributing to technological advancements, fostering innovation in the field.
Ford Global Technologies LLC
Technical Solution: Ford's HEV technology focuses on reducing transport costs through their PowerSplit architecture. This system uses a planetary gear set to blend power from the engine and two electric motors, optimizing efficiency across various driving conditions[6]. Ford has also developed an innovative EcoGuide system that provides real-time coaching to drivers, encouraging more efficient driving habits and further reducing fuel consumption. Their latest HEV models incorporate a lithium-ion battery pack that is lighter and more energy-dense than previous nickel-metal hydride batteries, improving overall vehicle efficiency[7]. Additionally, Ford has implemented a unique Brake Coach feature that helps drivers maximize energy recovery during braking, increasing the overall efficiency of the regenerative braking system.
Strengths: User-friendly efficiency coaching systems, lightweight battery technology, and a wide range of HEV models across different vehicle segments. Weaknesses: Some models have lower all-electric range compared to competitors, and the company faced initial reliability issues with early HEV models.
Hyundai Motor Co., Ltd.
Technical Solution: Hyundai's approach to reducing transport costs through HEV technology involves their Transmission-Mounted Electrical Device (TMED) system. This compact and efficient design integrates the electric motor directly into the transmission, reducing weight and improving packaging efficiency[8]. Hyundai has also developed an advanced Predictive Energy Management system that uses GPS and road topography data to optimize the use of electric and gasoline power, further enhancing fuel economy. Their latest HEV models feature a lithium-polymer battery technology, which offers improved energy density and thermal management compared to traditional lithium-ion batteries[9]. Additionally, Hyundai has introduced a Solar Roof charging system in some HEV models, which can provide supplementary charging to extend electric range and reduce overall fuel consumption.
Strengths: Innovative TMED system, advanced predictive energy management, and the integration of solar charging technology. Weaknesses: Relatively newer entrant in the HEV market compared to some competitors, and a more limited range of HEV models currently available.
Core HEV Transport Cost-Saving Innovations
Travel control device
PatentWO2013111464A1
Innovation
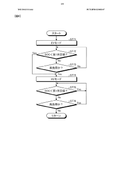
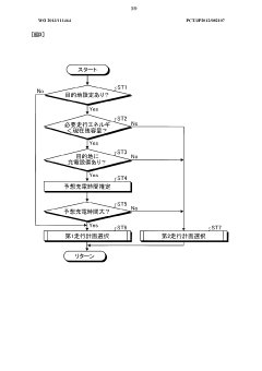
- A travel control device that estimates the expected charging time at the destination and adjusts the frequency of EV and HV modes to minimize fuel consumption by prioritizing EV mode when charging time is longer and allowing HV mode when charging time is shorter, thereby reducing engine-driven travel and lowering overall running costs.
Hybrid electric vehicle
PatentInactiveUS7004273B1
Innovation
- The system employs a power management controller to maintain ultracapacitor voltage within a predetermined range, allowing for wide voltage fluctuations without performance loss, optimizing APU/PPU performance and reducing the need for additional conversion devices, by using low inductance motors, traction inverters, and a capacitor bank sized to deliver rated power and capture braking energy.
Environmental Impact of HEV in Transport
The environmental impact of Hybrid Electric Vehicles (HEVs) in transport is a crucial aspect to consider when examining their role in reducing transport costs. HEVs have shown significant potential in mitigating the environmental footprint of the transportation sector, which is one of the largest contributors to global greenhouse gas emissions.
HEVs combine conventional internal combustion engines with electric propulsion systems, resulting in reduced fuel consumption and lower emissions compared to traditional vehicles. This hybrid technology allows for improved fuel efficiency, particularly in urban driving conditions where frequent stops and starts occur. As a result, HEVs emit fewer pollutants, including carbon dioxide (CO2), nitrogen oxides (NOx), and particulate matter, contributing to improved air quality in urban areas.
The environmental benefits of HEVs extend beyond direct emissions reduction. By consuming less fuel, these vehicles help conserve non-renewable fossil fuel resources, reducing the overall environmental impact associated with oil extraction, refining, and transportation. Additionally, the regenerative braking systems in HEVs capture and store energy that would otherwise be lost as heat during conventional braking, further enhancing their energy efficiency.
However, it is important to consider the entire lifecycle of HEVs when assessing their environmental impact. The production of batteries and electric components for HEVs can have environmental implications, including the extraction of raw materials and energy-intensive manufacturing processes. Nevertheless, studies have shown that the overall lifecycle emissions of HEVs are generally lower than those of conventional vehicles, especially when powered by low-carbon electricity sources.
The adoption of HEVs in public transportation fleets, such as buses and taxis, has demonstrated significant environmental benefits in urban areas. These vehicles not only reduce local air pollution but also contribute to noise reduction, enhancing the quality of life in cities. Furthermore, the integration of HEVs in logistics and delivery services has shown promise in reducing the carbon footprint of last-mile deliveries, a growing concern in the e-commerce era.
As the technology continues to evolve, the environmental impact of HEVs is expected to improve further. Advancements in battery technology, lightweight materials, and powertrain efficiency are likely to enhance the environmental performance of future HEV models. Moreover, the increasing share of renewable energy in electricity grids will amplify the environmental benefits of HEVs, particularly for plug-in hybrid variants.
In conclusion, while HEVs are not a panacea for all environmental challenges in the transport sector, they represent a significant step towards more sustainable mobility. Their ability to reduce emissions, improve air quality, and conserve energy resources makes them an important tool in the transition to cleaner transportation systems, aligning with global efforts to combat climate change and promote sustainable development.
HEVs combine conventional internal combustion engines with electric propulsion systems, resulting in reduced fuel consumption and lower emissions compared to traditional vehicles. This hybrid technology allows for improved fuel efficiency, particularly in urban driving conditions where frequent stops and starts occur. As a result, HEVs emit fewer pollutants, including carbon dioxide (CO2), nitrogen oxides (NOx), and particulate matter, contributing to improved air quality in urban areas.
The environmental benefits of HEVs extend beyond direct emissions reduction. By consuming less fuel, these vehicles help conserve non-renewable fossil fuel resources, reducing the overall environmental impact associated with oil extraction, refining, and transportation. Additionally, the regenerative braking systems in HEVs capture and store energy that would otherwise be lost as heat during conventional braking, further enhancing their energy efficiency.
However, it is important to consider the entire lifecycle of HEVs when assessing their environmental impact. The production of batteries and electric components for HEVs can have environmental implications, including the extraction of raw materials and energy-intensive manufacturing processes. Nevertheless, studies have shown that the overall lifecycle emissions of HEVs are generally lower than those of conventional vehicles, especially when powered by low-carbon electricity sources.
The adoption of HEVs in public transportation fleets, such as buses and taxis, has demonstrated significant environmental benefits in urban areas. These vehicles not only reduce local air pollution but also contribute to noise reduction, enhancing the quality of life in cities. Furthermore, the integration of HEVs in logistics and delivery services has shown promise in reducing the carbon footprint of last-mile deliveries, a growing concern in the e-commerce era.
As the technology continues to evolve, the environmental impact of HEVs is expected to improve further. Advancements in battery technology, lightweight materials, and powertrain efficiency are likely to enhance the environmental performance of future HEV models. Moreover, the increasing share of renewable energy in electricity grids will amplify the environmental benefits of HEVs, particularly for plug-in hybrid variants.
In conclusion, while HEVs are not a panacea for all environmental challenges in the transport sector, they represent a significant step towards more sustainable mobility. Their ability to reduce emissions, improve air quality, and conserve energy resources makes them an important tool in the transition to cleaner transportation systems, aligning with global efforts to combat climate change and promote sustainable development.
HEV Transport Policy and Regulations
The development and implementation of Hybrid Electric Vehicle (HEV) transport policies and regulations play a crucial role in reducing transport costs and promoting sustainable mobility. Governments worldwide are increasingly recognizing the potential of HEVs to address environmental concerns and energy efficiency in the transportation sector.
Many countries have introduced financial incentives to encourage the adoption of HEVs. These include tax credits, rebates, and subsidies for vehicle purchases. For instance, the United States offers federal tax credits of up to $7,500 for eligible HEVs, while Japan provides subsidies of up to ¥400,000 for HEV purchases. Such policies have significantly contributed to the growth of the HEV market and the subsequent reduction in transport costs for consumers.
Emission standards and fuel efficiency regulations have also been instrumental in promoting HEV technology. The European Union's CO2 emission standards for new passenger cars and light commercial vehicles have pushed manufacturers to invest in HEV technology to meet increasingly stringent targets. Similarly, the Corporate Average Fuel Economy (CAFE) standards in the United States have incentivized automakers to produce more fuel-efficient vehicles, including HEVs.
Infrastructure development policies have been crucial in supporting the growth of HEVs. Many governments have invested in charging infrastructure to address range anxiety concerns and facilitate the adoption of plug-in hybrid electric vehicles (PHEVs). For example, China's New Energy Vehicle (NEV) policy includes substantial investments in charging stations across the country.
Low emission zones and congestion charging schemes in urban areas have further incentivized the use of HEVs. Cities like London and Milan have implemented policies that exempt or provide discounts for HEVs entering certain areas, effectively reducing transport costs for HEV owners and encouraging their adoption.
Research and development (R&D) support policies have been vital in advancing HEV technology. Many governments offer grants and funding for HEV-related research projects. The European Union's Horizon 2020 program, for instance, has allocated significant resources to support innovation in low-emission vehicle technologies, including HEVs.
Public procurement policies have also played a role in promoting HEVs and reducing transport costs. Many governments have set targets for incorporating HEVs into public fleets, creating a stable demand for these vehicles and helping to drive down costs through economies of scale.
As HEV technology continues to evolve, policies and regulations are likely to adapt to address new challenges and opportunities. Future policy directions may include more targeted incentives for specific HEV technologies, stricter emission standards, and increased focus on the integration of HEVs with smart grid systems to optimize energy use and further reduce transport costs.
Many countries have introduced financial incentives to encourage the adoption of HEVs. These include tax credits, rebates, and subsidies for vehicle purchases. For instance, the United States offers federal tax credits of up to $7,500 for eligible HEVs, while Japan provides subsidies of up to ¥400,000 for HEV purchases. Such policies have significantly contributed to the growth of the HEV market and the subsequent reduction in transport costs for consumers.
Emission standards and fuel efficiency regulations have also been instrumental in promoting HEV technology. The European Union's CO2 emission standards for new passenger cars and light commercial vehicles have pushed manufacturers to invest in HEV technology to meet increasingly stringent targets. Similarly, the Corporate Average Fuel Economy (CAFE) standards in the United States have incentivized automakers to produce more fuel-efficient vehicles, including HEVs.
Infrastructure development policies have been crucial in supporting the growth of HEVs. Many governments have invested in charging infrastructure to address range anxiety concerns and facilitate the adoption of plug-in hybrid electric vehicles (PHEVs). For example, China's New Energy Vehicle (NEV) policy includes substantial investments in charging stations across the country.
Low emission zones and congestion charging schemes in urban areas have further incentivized the use of HEVs. Cities like London and Milan have implemented policies that exempt or provide discounts for HEVs entering certain areas, effectively reducing transport costs for HEV owners and encouraging their adoption.
Research and development (R&D) support policies have been vital in advancing HEV technology. Many governments offer grants and funding for HEV-related research projects. The European Union's Horizon 2020 program, for instance, has allocated significant resources to support innovation in low-emission vehicle technologies, including HEVs.
Public procurement policies have also played a role in promoting HEVs and reducing transport costs. Many governments have set targets for incorporating HEVs into public fleets, creating a stable demand for these vehicles and helping to drive down costs through economies of scale.
As HEV technology continues to evolve, policies and regulations are likely to adapt to address new challenges and opportunities. Future policy directions may include more targeted incentives for specific HEV technologies, stricter emission standards, and increased focus on the integration of HEVs with smart grid systems to optimize energy use and further reduce transport costs.
Unlock deeper insights with Patsnap Eureka Quick Research — get a full tech report to explore trends and direct your research. Try now!
Generate Your Research Report Instantly with AI Agent
Supercharge your innovation with Patsnap Eureka AI Agent Platform!