HEV's Role in Reducing Transport-Related Carbon Footprints
AUG 14, 20259 MIN READ
Generate Your Research Report Instantly with AI Agent
Patsnap Eureka helps you evaluate technical feasibility & market potential.
HEV Technology Evolution and Objectives
Hybrid Electric Vehicles (HEVs) have emerged as a pivotal technology in the automotive industry's quest to reduce transport-related carbon footprints. The evolution of HEV technology can be traced back to the late 20th century, with significant advancements occurring in the past two decades. This progression has been driven by the urgent need to address climate change and reduce greenhouse gas emissions from the transportation sector.
The primary objective of HEV technology is to combine the benefits of internal combustion engines with electric propulsion systems, thereby improving fuel efficiency and reducing emissions. This hybrid approach allows for the optimization of energy use, capturing and reusing energy that would otherwise be lost in conventional vehicles, such as during braking.
Over time, HEV technology has evolved from simple parallel hybrid systems to more complex series-parallel and power-split configurations. These advancements have led to improved performance, increased electric-only driving range, and enhanced overall efficiency. The integration of regenerative braking systems has been a key milestone in HEV development, significantly contributing to energy recovery and fuel economy.
Another crucial aspect of HEV evolution has been the development of more advanced battery technologies. The transition from nickel-metal hydride (NiMH) to lithium-ion batteries has enabled greater energy storage capacity, faster charging times, and improved power delivery. This progress has been instrumental in expanding the electric-only driving capabilities of HEVs.
The objectives of HEV technology extend beyond mere fuel efficiency improvements. They encompass a broader goal of creating a sustainable transportation ecosystem that significantly reduces carbon emissions. This includes the development of smart charging infrastructure, vehicle-to-grid (V2G) technologies, and the integration of HEVs into broader energy management systems.
Looking forward, the objectives for HEV technology include further improvements in battery technology, such as solid-state batteries, which promise higher energy density and faster charging times. Additionally, there is a focus on developing more efficient electric motors and power electronics to enhance overall system performance.
The evolution of HEV technology also aims to address challenges related to manufacturing costs, making these vehicles more accessible to a wider consumer base. This involves optimizing production processes, improving supply chain efficiency, and exploring new materials that can reduce the overall weight of vehicles while maintaining safety standards.
In conclusion, the evolution of HEV technology and its objectives are closely aligned with the global imperative to reduce transport-related carbon footprints. By continuously improving efficiency, expanding electric capabilities, and integrating with smart energy systems, HEVs are poised to play a crucial role in the transition towards sustainable transportation.
The primary objective of HEV technology is to combine the benefits of internal combustion engines with electric propulsion systems, thereby improving fuel efficiency and reducing emissions. This hybrid approach allows for the optimization of energy use, capturing and reusing energy that would otherwise be lost in conventional vehicles, such as during braking.
Over time, HEV technology has evolved from simple parallel hybrid systems to more complex series-parallel and power-split configurations. These advancements have led to improved performance, increased electric-only driving range, and enhanced overall efficiency. The integration of regenerative braking systems has been a key milestone in HEV development, significantly contributing to energy recovery and fuel economy.
Another crucial aspect of HEV evolution has been the development of more advanced battery technologies. The transition from nickel-metal hydride (NiMH) to lithium-ion batteries has enabled greater energy storage capacity, faster charging times, and improved power delivery. This progress has been instrumental in expanding the electric-only driving capabilities of HEVs.
The objectives of HEV technology extend beyond mere fuel efficiency improvements. They encompass a broader goal of creating a sustainable transportation ecosystem that significantly reduces carbon emissions. This includes the development of smart charging infrastructure, vehicle-to-grid (V2G) technologies, and the integration of HEVs into broader energy management systems.
Looking forward, the objectives for HEV technology include further improvements in battery technology, such as solid-state batteries, which promise higher energy density and faster charging times. Additionally, there is a focus on developing more efficient electric motors and power electronics to enhance overall system performance.
The evolution of HEV technology also aims to address challenges related to manufacturing costs, making these vehicles more accessible to a wider consumer base. This involves optimizing production processes, improving supply chain efficiency, and exploring new materials that can reduce the overall weight of vehicles while maintaining safety standards.
In conclusion, the evolution of HEV technology and its objectives are closely aligned with the global imperative to reduce transport-related carbon footprints. By continuously improving efficiency, expanding electric capabilities, and integrating with smart energy systems, HEVs are poised to play a crucial role in the transition towards sustainable transportation.
Market Demand for Low-Carbon Transportation
The market demand for low-carbon transportation has been steadily increasing in recent years, driven by growing environmental concerns and stringent regulations aimed at reducing greenhouse gas emissions. Hybrid Electric Vehicles (HEVs) have emerged as a crucial technology in addressing this demand, offering a balance between conventional internal combustion engines and fully electric vehicles.
Consumer awareness of climate change and its impacts has led to a shift in preferences towards more sustainable transportation options. This trend is particularly evident in urban areas, where air quality concerns are more pronounced. As a result, HEVs have gained significant traction in the passenger vehicle market, with sales showing consistent growth across major automotive markets.
Government policies and incentives have played a pivotal role in stimulating demand for low-carbon vehicles, including HEVs. Many countries have implemented tax breaks, subsidies, and other financial incentives to encourage the adoption of hybrid vehicles. These measures have made HEVs more attractive to cost-conscious consumers, bridging the price gap between conventional and low-emission vehicles.
The corporate sector has also contributed to the increasing demand for HEVs. Many companies are adopting sustainable transportation policies as part of their corporate social responsibility initiatives. Fleet operators, in particular, are turning to HEVs to reduce their carbon footprint and operational costs, especially in sectors such as taxi services, car rentals, and logistics.
Market research indicates that consumers value the fuel efficiency and reduced environmental impact of HEVs. The ability to switch between electric and gasoline power sources addresses range anxiety concerns associated with fully electric vehicles, making HEVs an attractive option for a broader range of consumers. This flexibility has positioned HEVs as a transitional technology in the shift towards fully electric mobility.
The demand for HEVs extends beyond personal transportation. Public transportation systems in many cities are incorporating hybrid buses into their fleets, responding to public pressure for cleaner urban environments. This trend is expected to continue as municipalities strive to meet air quality targets and reduce their overall carbon emissions.
As the technology matures and production scales up, the cost of HEVs is expected to decrease, further driving market demand. Advancements in battery technology and power management systems are improving the performance and efficiency of HEVs, making them increasingly competitive with conventional vehicles in terms of both cost and capabilities.
Consumer awareness of climate change and its impacts has led to a shift in preferences towards more sustainable transportation options. This trend is particularly evident in urban areas, where air quality concerns are more pronounced. As a result, HEVs have gained significant traction in the passenger vehicle market, with sales showing consistent growth across major automotive markets.
Government policies and incentives have played a pivotal role in stimulating demand for low-carbon vehicles, including HEVs. Many countries have implemented tax breaks, subsidies, and other financial incentives to encourage the adoption of hybrid vehicles. These measures have made HEVs more attractive to cost-conscious consumers, bridging the price gap between conventional and low-emission vehicles.
The corporate sector has also contributed to the increasing demand for HEVs. Many companies are adopting sustainable transportation policies as part of their corporate social responsibility initiatives. Fleet operators, in particular, are turning to HEVs to reduce their carbon footprint and operational costs, especially in sectors such as taxi services, car rentals, and logistics.
Market research indicates that consumers value the fuel efficiency and reduced environmental impact of HEVs. The ability to switch between electric and gasoline power sources addresses range anxiety concerns associated with fully electric vehicles, making HEVs an attractive option for a broader range of consumers. This flexibility has positioned HEVs as a transitional technology in the shift towards fully electric mobility.
The demand for HEVs extends beyond personal transportation. Public transportation systems in many cities are incorporating hybrid buses into their fleets, responding to public pressure for cleaner urban environments. This trend is expected to continue as municipalities strive to meet air quality targets and reduce their overall carbon emissions.
As the technology matures and production scales up, the cost of HEVs is expected to decrease, further driving market demand. Advancements in battery technology and power management systems are improving the performance and efficiency of HEVs, making them increasingly competitive with conventional vehicles in terms of both cost and capabilities.
HEV Technical Challenges and Limitations
While Hybrid Electric Vehicles (HEVs) offer significant potential in reducing transport-related carbon footprints, they face several technical challenges and limitations that hinder their widespread adoption and optimal performance. One of the primary challenges is battery technology. Current battery systems struggle with energy density, limiting the all-electric range of HEVs. This constraint often results in more frequent use of the internal combustion engine, reducing the overall environmental benefits.
Another significant challenge lies in the complexity of the powertrain system. HEVs require sophisticated control systems to manage the interplay between the electric motor and the internal combustion engine. This complexity not only increases manufacturing costs but also poses maintenance challenges, potentially affecting long-term reliability and consumer acceptance.
Thermal management presents another hurdle for HEV technology. The dual powertrain system generates substantial heat, necessitating advanced cooling systems. Inefficient thermal management can lead to reduced battery life and decreased overall vehicle efficiency, compromising the environmental advantages of HEVs.
Weight reduction remains a persistent challenge. The addition of electric components, particularly the battery pack, increases the overall vehicle weight. This added mass can offset some of the efficiency gains, requiring engineers to constantly innovate in lightweight materials and design optimization to maintain performance and fuel economy.
Charging infrastructure, while less critical for HEVs compared to fully electric vehicles, still poses limitations. The lack of widespread, fast-charging stations can deter consumers from maximizing the use of the electric mode, particularly for plug-in hybrid models. This infrastructure gap can lead to underutilization of the electric capabilities, reducing the potential carbon footprint reduction.
Cost remains a significant barrier to widespread HEV adoption. The advanced technology and components required for hybrid systems result in higher upfront costs compared to conventional vehicles. While operating costs are generally lower, the initial price premium can deter many consumers, limiting market penetration and the overall impact on reducing transport-related emissions.
Lastly, the environmental impact of battery production and disposal presents a challenge to the sustainability claims of HEVs. The mining of rare earth elements for batteries and the lack of efficient recycling processes raise questions about the life-cycle emissions of these vehicles. Addressing these concerns is crucial for HEVs to fully realize their potential in reducing overall carbon footprints in the transportation sector.
Another significant challenge lies in the complexity of the powertrain system. HEVs require sophisticated control systems to manage the interplay between the electric motor and the internal combustion engine. This complexity not only increases manufacturing costs but also poses maintenance challenges, potentially affecting long-term reliability and consumer acceptance.
Thermal management presents another hurdle for HEV technology. The dual powertrain system generates substantial heat, necessitating advanced cooling systems. Inefficient thermal management can lead to reduced battery life and decreased overall vehicle efficiency, compromising the environmental advantages of HEVs.
Weight reduction remains a persistent challenge. The addition of electric components, particularly the battery pack, increases the overall vehicle weight. This added mass can offset some of the efficiency gains, requiring engineers to constantly innovate in lightweight materials and design optimization to maintain performance and fuel economy.
Charging infrastructure, while less critical for HEVs compared to fully electric vehicles, still poses limitations. The lack of widespread, fast-charging stations can deter consumers from maximizing the use of the electric mode, particularly for plug-in hybrid models. This infrastructure gap can lead to underutilization of the electric capabilities, reducing the potential carbon footprint reduction.
Cost remains a significant barrier to widespread HEV adoption. The advanced technology and components required for hybrid systems result in higher upfront costs compared to conventional vehicles. While operating costs are generally lower, the initial price premium can deter many consumers, limiting market penetration and the overall impact on reducing transport-related emissions.
Lastly, the environmental impact of battery production and disposal presents a challenge to the sustainability claims of HEVs. The mining of rare earth elements for batteries and the lack of efficient recycling processes raise questions about the life-cycle emissions of these vehicles. Addressing these concerns is crucial for HEVs to fully realize their potential in reducing overall carbon footprints in the transportation sector.
Current HEV Powertrain Solutions
01 Carbon footprint reduction through powertrain optimization
Hybrid Electric Vehicles (HEVs) can significantly reduce carbon footprint through optimized powertrain designs. This includes advanced engine management systems, efficient electric motors, and intelligent power distribution between the internal combustion engine and electric components. These improvements lead to better fuel economy and reduced emissions during both city and highway driving conditions.- Carbon footprint reduction through powertrain optimization: Hybrid Electric Vehicles (HEVs) can significantly reduce their carbon footprint through optimized powertrain designs. This includes advanced engine management systems, efficient electric motors, and intelligent power distribution between the internal combustion engine and electric components. Such optimizations lead to improved fuel efficiency and reduced emissions during various driving conditions.
- Battery technology advancements for HEVs: Improvements in battery technology play a crucial role in reducing the carbon footprint of HEVs. This includes the development of high-capacity, long-lasting batteries with improved energy density, faster charging capabilities, and enhanced thermal management. Advanced battery systems contribute to extended electric-only driving ranges and overall vehicle efficiency.
- Regenerative braking and energy recovery systems: HEVs utilize regenerative braking systems to recover and store energy that would otherwise be lost during deceleration or braking. This recovered energy is then used to recharge the battery, reducing the overall energy consumption and carbon emissions of the vehicle. Advanced energy recovery systems can significantly improve the efficiency and environmental impact of HEVs.
- Lightweight materials and aerodynamic design: The use of lightweight materials in HEV construction, such as advanced composites and high-strength alloys, helps reduce overall vehicle weight. Combined with aerodynamic design improvements, these features contribute to lower energy consumption and reduced carbon emissions. Optimized vehicle structures and body designs play a significant role in enhancing fuel efficiency and minimizing environmental impact.
- Smart energy management and connectivity: Advanced energy management systems and vehicle connectivity technologies contribute to reducing the carbon footprint of HEVs. These systems optimize power distribution, predict energy needs based on route information, and integrate with smart grid technologies. By leveraging real-time data and artificial intelligence, HEVs can adapt their operation to minimize emissions and maximize efficiency in various driving scenarios.
02 Battery technology advancements for HEVs
Innovations in battery technology play a crucial role in reducing the carbon footprint of HEVs. This includes the development of high-capacity, long-lasting batteries with improved energy density, faster charging capabilities, and enhanced thermal management. Advanced battery systems contribute to extended electric-only driving range and overall vehicle efficiency.Expand Specific Solutions03 Regenerative braking and energy recovery systems
HEVs utilize regenerative braking systems to recover and store energy that would otherwise be lost during deceleration. This technology converts kinetic energy into electrical energy, which is then stored in the battery for later use. By maximizing energy recovery, these systems contribute to reduced fuel consumption and lower overall carbon emissions.Expand Specific Solutions04 Lightweight materials and aerodynamic design
The use of lightweight materials in HEV construction, such as advanced composites and high-strength alloys, helps reduce vehicle weight and improve fuel efficiency. Additionally, aerodynamic design features minimize air resistance, further reducing energy consumption. These combined approaches contribute to a lower carbon footprint throughout the vehicle's lifecycle.Expand Specific Solutions05 Smart charging and grid integration
HEVs can be equipped with smart charging systems that optimize charging times based on grid demand and renewable energy availability. This technology allows for better integration with the power grid, potentially utilizing more renewable energy sources and reducing the overall carbon footprint associated with vehicle charging. Additionally, some HEVs may have vehicle-to-grid (V2G) capabilities, enabling them to support grid stability and promote the use of clean energy.Expand Specific Solutions
Key HEV Manufacturers and Suppliers
The HEV market is in a growth phase, with increasing adoption driven by environmental concerns and regulatory pressures. Major automotive players like Toyota, Ford, Hyundai, and BYD are competing intensely in this space, leveraging their established manufacturing capabilities and brand recognition. The market size is expanding rapidly, with projections indicating significant growth over the next decade. Technologically, HEVs are relatively mature, with continuous improvements in battery efficiency, power management systems, and overall vehicle performance. Companies like Toyota and Honda have been pioneers, while newer entrants like BYD are making significant strides, particularly in battery technology. The competitive landscape is dynamic, with traditional automakers and emerging electric vehicle specialists vying for market share.
Toyota Motor Corp.
Technical Solution: Toyota has been a pioneer in HEV technology, with their Hybrid Synergy Drive system being a cornerstone of their carbon footprint reduction strategy. The system combines a gasoline engine with electric motors, optimizing fuel efficiency and reducing emissions. Toyota's latest HEVs utilize advanced power split devices and regenerative braking systems, capturing up to 30% of the vehicle's kinetic energy during deceleration[1]. Their HEVs also feature predictive efficient drive systems that use big data and AI to optimize energy management based on driving conditions and routes[3]. Toyota has recently introduced a new bipolar nickel-metal hydride battery for their HEVs, which is 1.5 times more powerful than previous versions while being 13% smaller and 8% lighter[5].
Strengths: Proven reliability, extensive market experience, and continuous innovation in battery and powertrain technology. Weaknesses: Higher initial cost compared to conventional vehicles and dependence on rare earth materials for some components.
Hyundai Motor Co., Ltd.
Technical Solution: Hyundai's HEV strategy centers around their Hybrid Blue Drive technology, which combines a gasoline engine with an electric motor and a lithium-ion polymer battery. Their system features a parallel hybrid configuration, allowing both the engine and motor to provide power directly to the wheels. Hyundai has developed an Active Air Flap system for their HEVs, which automatically adjusts to reduce air resistance and improve fuel efficiency by up to 3%[6]. The company's latest HEVs also incorporate a Predictive Energy Management system that uses GPS and road topography data to optimize the use of electric power, particularly in hilly terrain. Hyundai's HEVs employ a Transmission-Mounted Electrical Device (TMED) that integrates the electric motor with the transmission, reducing weight and improving packaging efficiency[7].
Strengths: Innovative aerodynamic features, advanced predictive energy management, and efficient integration of electric components. Weaknesses: Relatively newer entrant in the HEV market compared to some competitors, still building brand recognition for hybrid technology.
Core HEV Efficiency Innovations
Hybrid vehicle energy balance control system for co2 reduction
PatentWO2025085464A1
Innovation
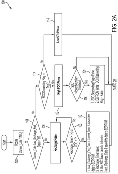
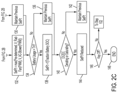
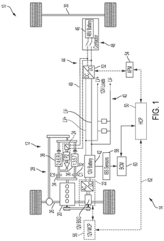
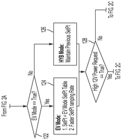
- A hybrid electric vehicle (HEV) system that includes an internal combustion engine, an electric traction motor, a belt starter generator (BSG) unit, a low voltage battery system, and a high voltage battery system. The system uses a powertrain control system with a controller that adjusts the output voltage setpoints of the DC/DC converter and the BSG unit to reduce high voltage battery power consumption, thereby avoiding or delaying the use of the internal combustion engine and reducing CO2 emissions.
HEV Environmental Impact Assessment
Hybrid Electric Vehicles (HEVs) have emerged as a significant technological advancement in the automotive industry, offering a promising solution to reduce transport-related carbon footprints. This environmental impact assessment aims to evaluate the role of HEVs in mitigating greenhouse gas emissions and their overall ecological effects.
HEVs combine a conventional internal combustion engine with an electric propulsion system, resulting in improved fuel efficiency and reduced emissions compared to traditional vehicles. The primary environmental benefit of HEVs lies in their ability to significantly decrease carbon dioxide (CO2) emissions, which is a major contributor to global warming. Studies have shown that HEVs can reduce CO2 emissions by 25-35% compared to conventional vehicles, depending on driving conditions and vehicle models.
The environmental impact of HEVs extends beyond tailpipe emissions. The production phase of HEVs, particularly the manufacturing of batteries, does have a higher carbon footprint compared to conventional vehicles. However, this initial environmental cost is typically offset within the first few years of operation due to the reduced emissions during the use phase. The longevity of HEV batteries, often lasting the lifetime of the vehicle, further enhances their environmental credentials.
In terms of air quality, HEVs contribute to a reduction in other harmful pollutants such as nitrogen oxides (NOx) and particulate matter. This is particularly beneficial in urban areas where air pollution is a significant concern. The ability of HEVs to operate in electric-only mode for short distances in city environments further amplifies this positive impact on local air quality.
The environmental benefits of HEVs are not limited to direct emissions. By improving fuel efficiency, HEVs help reduce the demand for fossil fuels, thereby decreasing the environmental impacts associated with oil extraction, refining, and transportation. This cascading effect contributes to an overall reduction in the carbon footprint of the transportation sector.
However, it is important to consider the entire lifecycle of HEVs when assessing their environmental impact. The disposal and recycling of HEV batteries present both challenges and opportunities. While the recycling infrastructure for these batteries is still developing, proper recycling can recover valuable materials and further reduce the overall environmental impact of HEVs.
In conclusion, HEVs play a crucial role in reducing transport-related carbon footprints. Their ability to significantly decrease CO2 emissions, improve air quality, and reduce dependence on fossil fuels makes them an important transitional technology in the move towards more sustainable transportation. As battery technology and recycling processes continue to improve, the environmental benefits of HEVs are likely to increase further, solidifying their position as a key component in the fight against climate change.
HEVs combine a conventional internal combustion engine with an electric propulsion system, resulting in improved fuel efficiency and reduced emissions compared to traditional vehicles. The primary environmental benefit of HEVs lies in their ability to significantly decrease carbon dioxide (CO2) emissions, which is a major contributor to global warming. Studies have shown that HEVs can reduce CO2 emissions by 25-35% compared to conventional vehicles, depending on driving conditions and vehicle models.
The environmental impact of HEVs extends beyond tailpipe emissions. The production phase of HEVs, particularly the manufacturing of batteries, does have a higher carbon footprint compared to conventional vehicles. However, this initial environmental cost is typically offset within the first few years of operation due to the reduced emissions during the use phase. The longevity of HEV batteries, often lasting the lifetime of the vehicle, further enhances their environmental credentials.
In terms of air quality, HEVs contribute to a reduction in other harmful pollutants such as nitrogen oxides (NOx) and particulate matter. This is particularly beneficial in urban areas where air pollution is a significant concern. The ability of HEVs to operate in electric-only mode for short distances in city environments further amplifies this positive impact on local air quality.
The environmental benefits of HEVs are not limited to direct emissions. By improving fuel efficiency, HEVs help reduce the demand for fossil fuels, thereby decreasing the environmental impacts associated with oil extraction, refining, and transportation. This cascading effect contributes to an overall reduction in the carbon footprint of the transportation sector.
However, it is important to consider the entire lifecycle of HEVs when assessing their environmental impact. The disposal and recycling of HEV batteries present both challenges and opportunities. While the recycling infrastructure for these batteries is still developing, proper recycling can recover valuable materials and further reduce the overall environmental impact of HEVs.
In conclusion, HEVs play a crucial role in reducing transport-related carbon footprints. Their ability to significantly decrease CO2 emissions, improve air quality, and reduce dependence on fossil fuels makes them an important transitional technology in the move towards more sustainable transportation. As battery technology and recycling processes continue to improve, the environmental benefits of HEVs are likely to increase further, solidifying their position as a key component in the fight against climate change.
HEV Policy and Incentive Landscape
The policy and incentive landscape for Hybrid Electric Vehicles (HEVs) plays a crucial role in promoting their adoption and reducing transport-related carbon footprints. Governments worldwide have implemented various measures to encourage the production and purchase of HEVs, recognizing their potential to bridge the gap between conventional vehicles and fully electric vehicles.
Many countries offer financial incentives to consumers who choose HEVs. These often include tax credits, rebates, or reduced registration fees. For instance, in the United States, federal tax credits have been available for certain HEV models, although these are being phased out for some manufacturers as they reach sales thresholds. Some states offer additional incentives, such as HOV lane access or parking privileges, further enhancing the appeal of HEVs.
Corporate Average Fuel Economy (CAFE) standards have been a significant driver for HEV adoption in many regions. These regulations require automakers to meet specific fleet-wide fuel efficiency targets, encouraging the development and sale of more fuel-efficient vehicles, including HEVs. The European Union's CO2 emission standards for new cars serve a similar purpose, pushing manufacturers to incorporate hybrid technology into their vehicle lineups.
In urban areas, low emission zones (LEZs) and congestion charging schemes have been implemented to reduce air pollution and traffic. HEVs often qualify for reduced fees or exemptions in these zones, providing an additional incentive for their use in city environments. This policy approach not only promotes HEV adoption but also directly addresses local air quality concerns.
Research and development support is another critical aspect of HEV policy. Many governments provide funding or tax incentives for companies investing in hybrid technology development. This support helps drive innovation in battery technology, powertrain efficiency, and overall vehicle performance, making HEVs increasingly competitive with conventional vehicles.
Infrastructure development policies, while often focused on fully electric vehicles, also benefit HEVs. The expansion of charging networks and the integration of smart grid technologies create a more favorable ecosystem for all electrified vehicles, including plug-in hybrid electric vehicles (PHEVs).
However, the policy landscape is not uniform across all regions. Some countries have begun to shift their focus towards fully electric vehicles, potentially reducing support for HEVs in the long term. This shift reflects the evolving perception of HEVs as a transitional technology rather than a long-term solution to transport-related emissions.
Many countries offer financial incentives to consumers who choose HEVs. These often include tax credits, rebates, or reduced registration fees. For instance, in the United States, federal tax credits have been available for certain HEV models, although these are being phased out for some manufacturers as they reach sales thresholds. Some states offer additional incentives, such as HOV lane access or parking privileges, further enhancing the appeal of HEVs.
Corporate Average Fuel Economy (CAFE) standards have been a significant driver for HEV adoption in many regions. These regulations require automakers to meet specific fleet-wide fuel efficiency targets, encouraging the development and sale of more fuel-efficient vehicles, including HEVs. The European Union's CO2 emission standards for new cars serve a similar purpose, pushing manufacturers to incorporate hybrid technology into their vehicle lineups.
In urban areas, low emission zones (LEZs) and congestion charging schemes have been implemented to reduce air pollution and traffic. HEVs often qualify for reduced fees or exemptions in these zones, providing an additional incentive for their use in city environments. This policy approach not only promotes HEV adoption but also directly addresses local air quality concerns.
Research and development support is another critical aspect of HEV policy. Many governments provide funding or tax incentives for companies investing in hybrid technology development. This support helps drive innovation in battery technology, powertrain efficiency, and overall vehicle performance, making HEVs increasingly competitive with conventional vehicles.
Infrastructure development policies, while often focused on fully electric vehicles, also benefit HEVs. The expansion of charging networks and the integration of smart grid technologies create a more favorable ecosystem for all electrified vehicles, including plug-in hybrid electric vehicles (PHEVs).
However, the policy landscape is not uniform across all regions. Some countries have begun to shift their focus towards fully electric vehicles, potentially reducing support for HEVs in the long term. This shift reflects the evolving perception of HEVs as a transitional technology rather than a long-term solution to transport-related emissions.
Unlock deeper insights with Patsnap Eureka Quick Research — get a full tech report to explore trends and direct your research. Try now!
Generate Your Research Report Instantly with AI Agent
Supercharge your innovation with Patsnap Eureka AI Agent Platform!