How Supercapacitor hybrid systems enhance energy density and power performance
SEP 24, 20259 MIN READ
Generate Your Research Report Instantly with AI Agent
Patsnap Eureka helps you evaluate technical feasibility & market potential.
Supercapacitor Hybrid Systems Background and Objectives
Supercapacitors, also known as ultracapacitors or electrochemical capacitors, have emerged as a promising energy storage technology over the past few decades. Their development can be traced back to the 1950s when researchers at General Electric first experimented with porous carbon electrodes. However, significant advancements in supercapacitor technology only began to materialize in the 1990s with the introduction of commercial products primarily for memory backup applications.
The evolution of supercapacitors has been driven by the growing demand for energy storage solutions that can bridge the gap between conventional capacitors and batteries. Traditional capacitors offer high power density but low energy density, while batteries provide high energy density but limited power capability and cycle life. Supercapacitors aim to combine the best attributes of both technologies, offering a middle-ground solution with moderate energy density and excellent power characteristics.
Hybrid supercapacitor systems represent the next frontier in this technological progression. These systems integrate supercapacitors with other energy storage technologies, most commonly lithium-ion batteries, to create synergistic solutions that overcome the limitations of individual components. The fundamental objective of hybrid supercapacitor systems is to enhance overall energy density while maintaining the superior power performance characteristic of supercapacitors.
The technical goals for hybrid supercapacitor development are multifaceted. Primary objectives include increasing the energy density beyond the typical 5-10 Wh/kg of conventional supercapacitors, while preserving their rapid charge-discharge capabilities, high power density (typically 10,000 W/kg), and exceptional cycle life (often exceeding 500,000 cycles). Additionally, researchers aim to develop systems that can operate across wider temperature ranges and reduce the overall cost per stored energy unit.
Current research trends focus on novel electrode materials, including advanced carbon structures, metal oxides, and conducting polymers. Particular attention is being paid to nanomaterials such as graphene, carbon nanotubes, and metal-organic frameworks that can significantly enhance surface area and electrochemical performance. Another emerging direction involves the development of hybrid electrolytes that can operate at higher voltages, thereby increasing energy density according to the relationship E = ½CV².
The integration of supercapacitors into hybrid systems also aims to address specific application requirements across various sectors including automotive (particularly electric and hybrid vehicles), renewable energy storage, consumer electronics, and industrial power management. Each application domain presents unique technical challenges that drive specialized development paths within the broader field of hybrid supercapacitor technology.
The evolution of supercapacitors has been driven by the growing demand for energy storage solutions that can bridge the gap between conventional capacitors and batteries. Traditional capacitors offer high power density but low energy density, while batteries provide high energy density but limited power capability and cycle life. Supercapacitors aim to combine the best attributes of both technologies, offering a middle-ground solution with moderate energy density and excellent power characteristics.
Hybrid supercapacitor systems represent the next frontier in this technological progression. These systems integrate supercapacitors with other energy storage technologies, most commonly lithium-ion batteries, to create synergistic solutions that overcome the limitations of individual components. The fundamental objective of hybrid supercapacitor systems is to enhance overall energy density while maintaining the superior power performance characteristic of supercapacitors.
The technical goals for hybrid supercapacitor development are multifaceted. Primary objectives include increasing the energy density beyond the typical 5-10 Wh/kg of conventional supercapacitors, while preserving their rapid charge-discharge capabilities, high power density (typically 10,000 W/kg), and exceptional cycle life (often exceeding 500,000 cycles). Additionally, researchers aim to develop systems that can operate across wider temperature ranges and reduce the overall cost per stored energy unit.
Current research trends focus on novel electrode materials, including advanced carbon structures, metal oxides, and conducting polymers. Particular attention is being paid to nanomaterials such as graphene, carbon nanotubes, and metal-organic frameworks that can significantly enhance surface area and electrochemical performance. Another emerging direction involves the development of hybrid electrolytes that can operate at higher voltages, thereby increasing energy density according to the relationship E = ½CV².
The integration of supercapacitors into hybrid systems also aims to address specific application requirements across various sectors including automotive (particularly electric and hybrid vehicles), renewable energy storage, consumer electronics, and industrial power management. Each application domain presents unique technical challenges that drive specialized development paths within the broader field of hybrid supercapacitor technology.
Market Analysis for High-Density Energy Storage Solutions
The global energy storage market is experiencing unprecedented growth, driven by the increasing demand for efficient, high-density energy storage solutions across multiple sectors. The market for advanced energy storage technologies, including supercapacitor hybrid systems, is projected to reach $546 billion by 2035, with a compound annual growth rate of 12.3% between 2023 and 2035. This growth is primarily fueled by the rapid expansion of renewable energy integration, electric vehicle adoption, and the need for grid stabilization technologies.
Supercapacitor hybrid systems, which combine the high power density of supercapacitors with the high energy density of batteries, are positioned to capture a significant portion of this expanding market. Currently, these hybrid systems represent approximately 8% of the total energy storage market, but this share is expected to grow to 15% by 2030 due to their unique performance characteristics.
The automotive sector remains the largest consumer of high-density energy storage solutions, accounting for 42% of the market share. Electric vehicle manufacturers are increasingly incorporating supercapacitor hybrid systems to enhance acceleration performance, extend battery life, and improve regenerative braking efficiency. Tesla, Toyota, and BYD have already implemented various forms of hybrid energy storage systems in their premium models.
Renewable energy integration represents the fastest-growing segment for high-density energy storage solutions, with a growth rate of 18.7% annually. As solar and wind power generation continues to expand globally, the need for efficient energy storage systems to manage intermittency becomes critical. Supercapacitor hybrid systems offer the rapid charge/discharge capabilities necessary for frequency regulation and power quality management in renewable energy installations.
Consumer electronics manufacturers are also exploring supercapacitor hybrid systems to address the limitations of conventional battery technologies. The demand for faster charging, longer device lifetimes, and improved power management is driving innovation in this sector, with companies like Samsung and Huawei investing heavily in hybrid energy storage research.
Geographically, Asia-Pacific dominates the market with 45% share, followed by North America (28%) and Europe (22%). China leads in manufacturing capacity, while South Korea and Japan excel in technological innovation. The United States maintains leadership in advanced research and development, particularly in novel electrode materials and system integration technologies.
Market barriers include the higher initial cost compared to traditional battery systems, with hybrid systems typically commanding a 30-40% premium. However, total cost of ownership analyses demonstrate that the extended cycle life and improved performance characteristics of supercapacitor hybrid systems often result in better long-term economics, particularly in high-cycle applications.
Supercapacitor hybrid systems, which combine the high power density of supercapacitors with the high energy density of batteries, are positioned to capture a significant portion of this expanding market. Currently, these hybrid systems represent approximately 8% of the total energy storage market, but this share is expected to grow to 15% by 2030 due to their unique performance characteristics.
The automotive sector remains the largest consumer of high-density energy storage solutions, accounting for 42% of the market share. Electric vehicle manufacturers are increasingly incorporating supercapacitor hybrid systems to enhance acceleration performance, extend battery life, and improve regenerative braking efficiency. Tesla, Toyota, and BYD have already implemented various forms of hybrid energy storage systems in their premium models.
Renewable energy integration represents the fastest-growing segment for high-density energy storage solutions, with a growth rate of 18.7% annually. As solar and wind power generation continues to expand globally, the need for efficient energy storage systems to manage intermittency becomes critical. Supercapacitor hybrid systems offer the rapid charge/discharge capabilities necessary for frequency regulation and power quality management in renewable energy installations.
Consumer electronics manufacturers are also exploring supercapacitor hybrid systems to address the limitations of conventional battery technologies. The demand for faster charging, longer device lifetimes, and improved power management is driving innovation in this sector, with companies like Samsung and Huawei investing heavily in hybrid energy storage research.
Geographically, Asia-Pacific dominates the market with 45% share, followed by North America (28%) and Europe (22%). China leads in manufacturing capacity, while South Korea and Japan excel in technological innovation. The United States maintains leadership in advanced research and development, particularly in novel electrode materials and system integration technologies.
Market barriers include the higher initial cost compared to traditional battery systems, with hybrid systems typically commanding a 30-40% premium. However, total cost of ownership analyses demonstrate that the extended cycle life and improved performance characteristics of supercapacitor hybrid systems often result in better long-term economics, particularly in high-cycle applications.
Current Challenges in Supercapacitor Hybrid Technology
Despite significant advancements in supercapacitor hybrid systems, several critical challenges continue to impede their widespread adoption and optimal performance. One of the most persistent issues is the energy density limitation compared to conventional batteries. While supercapacitors excel in power density, their energy storage capacity remains substantially lower than lithium-ion batteries, creating a fundamental barrier for applications requiring both high energy and power capabilities.
Material interface optimization presents another significant challenge. The integration of different materials in hybrid systems often creates interface resistance issues that reduce overall efficiency. These interfaces between capacitive and battery-type materials can become bottlenecks for ion and electron transport, limiting the theoretical performance advantages of hybrid designs.
Cycle life degradation mechanisms in hybrid systems remain incompletely understood. The combination of different storage mechanisms (non-faradaic and faradaic) leads to complex aging patterns that are difficult to predict and mitigate. Battery components typically degrade faster than capacitive elements, creating imbalanced performance deterioration over time.
Cost factors continue to restrict commercial viability. Current manufacturing processes for advanced electrode materials and electrolytes for hybrid systems involve expensive precursors and complex synthesis methods. The economic barriers are particularly problematic for large-scale energy storage applications where cost per kilowatt-hour is a critical metric.
System integration complexity presents engineering challenges that extend beyond material science. Balancing the different charge/discharge characteristics of capacitive and battery components requires sophisticated electronic control systems. These management systems add cost, weight, and potential points of failure to the overall solution.
Temperature sensitivity variations between the capacitive and battery components create operational constraints. While supercapacitors generally perform well across wide temperature ranges, battery components often have narrower optimal operating windows, limiting the hybrid system's overall environmental adaptability.
Electrolyte compatibility issues arise when attempting to find formulations that simultaneously optimize both capacitive and battery-type storage mechanisms. An electrolyte optimized for one component may reduce the performance of the other, creating a challenging design trade-off that limits overall system performance.
Standardization and testing protocols specific to hybrid systems remain underdeveloped. The lack of industry-wide standards makes performance comparison difficult and slows technological adoption in commercial applications where reliability metrics are essential for risk assessment.
Material interface optimization presents another significant challenge. The integration of different materials in hybrid systems often creates interface resistance issues that reduce overall efficiency. These interfaces between capacitive and battery-type materials can become bottlenecks for ion and electron transport, limiting the theoretical performance advantages of hybrid designs.
Cycle life degradation mechanisms in hybrid systems remain incompletely understood. The combination of different storage mechanisms (non-faradaic and faradaic) leads to complex aging patterns that are difficult to predict and mitigate. Battery components typically degrade faster than capacitive elements, creating imbalanced performance deterioration over time.
Cost factors continue to restrict commercial viability. Current manufacturing processes for advanced electrode materials and electrolytes for hybrid systems involve expensive precursors and complex synthesis methods. The economic barriers are particularly problematic for large-scale energy storage applications where cost per kilowatt-hour is a critical metric.
System integration complexity presents engineering challenges that extend beyond material science. Balancing the different charge/discharge characteristics of capacitive and battery components requires sophisticated electronic control systems. These management systems add cost, weight, and potential points of failure to the overall solution.
Temperature sensitivity variations between the capacitive and battery components create operational constraints. While supercapacitors generally perform well across wide temperature ranges, battery components often have narrower optimal operating windows, limiting the hybrid system's overall environmental adaptability.
Electrolyte compatibility issues arise when attempting to find formulations that simultaneously optimize both capacitive and battery-type storage mechanisms. An electrolyte optimized for one component may reduce the performance of the other, creating a challenging design trade-off that limits overall system performance.
Standardization and testing protocols specific to hybrid systems remain underdeveloped. The lack of industry-wide standards makes performance comparison difficult and slows technological adoption in commercial applications where reliability metrics are essential for risk assessment.
Current Hybrid System Architectures and Implementations
01 Hybrid supercapacitor systems with enhanced energy density
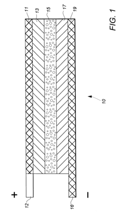
Hybrid supercapacitor systems combine different electrode materials or technologies to achieve higher energy density while maintaining good power performance. These systems typically integrate battery-type materials with traditional supercapacitor components to leverage the advantages of both. The hybrid architecture allows for increased energy storage capacity through faradaic reactions while preserving the rapid charge-discharge capabilities characteristic of supercapacitors.- Hybrid supercapacitor-battery systems for enhanced energy density: Hybrid systems combining supercapacitors with batteries leverage the high energy density of batteries and the high power density of supercapacitors. These systems can achieve improved overall energy density while maintaining fast charge-discharge capabilities. The integration allows for optimized energy storage solutions where batteries provide sustained energy output while supercapacitors handle power surges and rapid energy delivery requirements.
- Advanced electrode materials for improved performance: Novel electrode materials significantly enhance supercapacitor performance metrics. Materials such as carbon nanotubes, graphene, metal oxides, and conductive polymers provide increased surface area and improved electrical conductivity. These advanced materials enable higher energy density without sacrificing power performance, addressing one of the key limitations of traditional supercapacitors while maintaining their rapid charge-discharge capabilities.
- Energy management systems for hybrid supercapacitors: Sophisticated energy management systems optimize the operation of hybrid supercapacitor systems. These control systems intelligently distribute power demands between supercapacitors and other energy storage components, maximizing efficiency and extending component lifespan. Advanced algorithms monitor state of charge, temperature, and load requirements to determine optimal power routing, ensuring high performance under varying operational conditions.
- Thermal management techniques for supercapacitor systems: Effective thermal management is crucial for maintaining supercapacitor performance and longevity. Innovative cooling systems and heat dissipation techniques prevent performance degradation at high temperatures. These solutions include phase change materials, liquid cooling systems, and thermally conductive housings that efficiently remove heat generated during rapid charge-discharge cycles, allowing the system to maintain high power performance even under demanding conditions.
- Structural design innovations for supercapacitor integration: Novel structural designs improve the integration of supercapacitors into energy storage systems. These innovations include modular architectures, compact packaging solutions, and specialized interconnection methods that minimize resistance and maximize energy transfer efficiency. Advanced housing designs also incorporate features for thermal management, vibration resistance, and environmental protection, ensuring reliable operation across diverse applications and conditions.
02 Integration of supercapacitors with energy management systems
Supercapacitors can be integrated with sophisticated energy management systems to optimize power distribution and energy utilization. These hybrid systems employ control algorithms and power electronics to balance energy flow between supercapacitors and other power sources, enhancing overall system efficiency. The integration allows for peak power shaving, regenerative energy capture, and improved response to fluctuating power demands, resulting in better overall system performance.Expand Specific Solutions03 Novel electrode materials for high-performance supercapacitors
Advanced electrode materials are being developed to enhance both the energy density and power performance of supercapacitor systems. These materials include carbon-based composites, metal oxides, conducting polymers, and novel nanostructured materials that provide increased surface area and improved charge storage mechanisms. The engineered electrode structures facilitate faster ion transport and more efficient charge storage, leading to supercapacitors with higher energy density without sacrificing power capabilities.Expand Specific Solutions04 Supercapacitor-battery hybrid energy storage systems
Hybrid energy storage systems that combine supercapacitors with batteries leverage the high power density of supercapacitors and the high energy density of batteries. These systems are designed to handle both short-term power bursts and long-term energy needs, with supercapacitors managing peak loads and batteries providing sustained power. The complementary characteristics of these technologies result in improved overall performance, extended battery life, and enhanced system reliability for applications requiring both high energy and power capabilities.Expand Specific Solutions05 Thermal management and safety features in supercapacitor hybrid systems
Effective thermal management and safety features are crucial for optimizing the performance and reliability of supercapacitor hybrid systems. These include temperature monitoring, cooling systems, and protective circuitry to prevent overcharging or overheating. Advanced thermal management techniques help maintain optimal operating conditions, extending the lifespan of the system and ensuring consistent performance across varying environmental conditions while preventing thermal runaway and other safety hazards.Expand Specific Solutions
Leading Manufacturers and Research Institutions Analysis
Supercapacitor hybrid systems are emerging as a transformative technology in energy storage, currently in the growth phase with an expanding market projected to reach significant scale by 2030. The technology combines high power density of supercapacitors with enhanced energy density, addressing limitations of traditional energy storage solutions. Leading companies like Maxwell Technologies (acquired by Tesla), Shanghai Aowei Technology, and Blue Solutions are advancing commercial applications, while research institutions including Tyndall National Institute and Naval Research Laboratory focus on fundamental innovations. Robert Bosch, Siemens, and Samsung Electro-Mechanics are integrating these systems into automotive and industrial applications, demonstrating the technology's growing maturity across multiple sectors from transportation to grid stabilization.
Shanghai Aowei Technology Development Co., Ltd.
Technical Solution: Shanghai Aowei has developed an advanced supercapacitor hybrid system specifically optimized for transportation applications, particularly in electric buses and rail transit. Their technology combines high-power supercapacitors with lithium-ion batteries in a carefully engineered configuration that maximizes system efficiency. Aowei's hybrid systems feature their proprietary asymmetric supercapacitors that utilize different materials for positive and negative electrodes, achieving higher energy density than symmetric designs. Their systems incorporate sophisticated thermal management that maintains optimal operating temperatures across varied environmental conditions, ensuring consistent performance in China's diverse climate zones. Aowei's power management system employs predictive algorithms that anticipate power demands based on route profiles and traffic conditions, optimizing energy distribution between supercapacitors and batteries. Their hybrid systems have been deployed in over 10,000 vehicles across China, demonstrating energy savings of 30-40% compared to traditional battery-only systems in urban transit applications[5]. Aowei's technology enables ultra-fast charging capabilities, with their bus systems capable of receiving sufficient charge for 5-10 km operation in just 30 seconds at designated stops[6].
Strengths: Extensive real-world deployment experience in public transportation, proven reliability in demanding operational conditions, and specialized design for rapid charging infrastructure integration. Their systems demonstrate exceptional power handling for acceleration and regenerative braking in heavy vehicles. Weaknesses: Solutions are highly specialized for public transportation with limited crossover to other applications, significant infrastructure requirements for optimal implementation, and higher initial capital costs that require long-term operation to realize return on investment.
Institute of Electrical Engineering, Chinese Academy of Sciences
Technical Solution: The Institute of Electrical Engineering at the Chinese Academy of Sciences has developed innovative supercapacitor hybrid systems that focus on novel material combinations and advanced structural designs. Their research has produced hybrid systems that integrate pseudocapacitive materials (such as transition metal oxides and conductive polymers) with electric double-layer capacitor materials to achieve enhanced energy density while maintaining high power capabilities. Their approach includes hierarchically structured carbon-based materials with controlled porosity that optimize ion transport pathways while maximizing surface area for charge storage. The Institute has pioneered composite electrode formulations that incorporate manganese dioxide, nickel hydroxide, and conducting polymers with carbon nanotubes and graphene, creating synergistic effects that boost both energy and power metrics. Their hybrid systems feature innovative electrolyte formulations, including ionic liquids and gel electrolytes, that extend voltage windows to 3.5V while improving safety characteristics[7]. The Institute has developed specialized manufacturing techniques for creating interdigitated electrode structures that minimize ion diffusion distances while maximizing active material utilization. Their systems have demonstrated energy densities reaching 50-60 Wh/kg while maintaining power densities above 10 kW/kg, representing a significant advancement over conventional supercapacitor technologies[8].
Strengths: Cutting-edge materials science approach yields exceptional performance metrics, strong integration of fundamental research with practical applications, and significant improvements in energy density without sacrificing power capabilities. Their systems demonstrate excellent cycling stability with minimal capacity degradation after thousands of cycles. Weaknesses: Some advanced materials face scalability challenges for mass production, higher manufacturing complexity compared to conventional technologies, and potential long-term stability issues with some novel material combinations that require further validation.
Key Patents and Innovations in Energy Density Enhancement
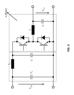
For hybrid super-capacitor / battery systems in pulsed power applications
PatentActiveUS9882380B2
Innovation
- A hybrid super-capacitor/battery system incorporating a super-capacitor unit, a battery unit, a DC/DC converter, and a power control system with inner voltage and outer current control loops, along with a switch controller using pulse width modulation (PWM) to manage energy flow and optimize performance by leveraging the strengths of both technologies.
High energy density hybrid battery/supercapacitor system
PatentInactiveUS6517972B1
Innovation
- A laminated hybrid system with negative and positive electrode members, including a spinel compound dispersed in a polymeric matrix, and an interposed insulative separator with a lithium cation electrolyte, where the positive electrode composition is enhanced with a lithiated intercalation material to supplement Li+ ions for increased energy storage.
Materials Science Advancements for Hybrid Capacitors
Recent advancements in materials science have significantly propelled the development of hybrid capacitor technologies, addressing the fundamental challenge of balancing energy density and power performance. The integration of novel electrode materials represents one of the most critical breakthroughs in this field. Carbon-based materials, particularly graphene and carbon nanotubes, have demonstrated exceptional electrical conductivity and surface area characteristics, making them ideal for enhancing charge storage capacity while maintaining rapid charge-discharge capabilities.
Metal oxides and conducting polymers have emerged as complementary materials that, when combined with carbon-based substrates, create synergistic effects that amplify both energy and power metrics. Notably, manganese dioxide (MnO2), ruthenium oxide (RuO2), and polyaniline have shown remarkable performance improvements when incorporated into hybrid architectures. These materials facilitate pseudocapacitive charge storage mechanisms alongside traditional double-layer capacitance, effectively multiplying the energy storage capabilities without significant power density compromises.
Nanostructuring techniques have revolutionized electrode design, enabling precise control over material morphology at the nanoscale. Hierarchical porous structures, core-shell configurations, and three-dimensional interconnected networks have been engineered to optimize ion transport pathways and maximize active surface area. These sophisticated architectures significantly reduce internal resistance while providing abundant reaction sites for charge storage, directly addressing the traditional energy-power trade-off.
Electrolyte innovations have complemented these electrode advancements, with ionic liquids and gel polymer electrolytes expanding the operational voltage windows of hybrid capacitors. The wider electrochemical stability windows directly translate to higher energy densities according to the E=½CV² relationship, while maintaining the power advantages inherent to supercapacitor systems.
Interface engineering between different materials has emerged as another crucial frontier, with researchers developing novel binding techniques and surface modifications to enhance charge transfer kinetics and cycling stability. Atomic layer deposition, hydrothermal synthesis methods, and controlled doping strategies have enabled unprecedented control over interfacial properties, minimizing resistance at material junctions and enhancing overall system performance.
The convergence of these materials science advancements has resulted in hybrid capacitor systems that increasingly narrow the gap between traditional supercapacitors and batteries, creating energy storage solutions that offer the best attributes of both technologies. As fabrication techniques continue to evolve, particularly in scalable manufacturing processes, these advanced materials approaches are poised to enable the next generation of high-performance energy storage devices for applications ranging from consumer electronics to grid-scale storage systems.
Metal oxides and conducting polymers have emerged as complementary materials that, when combined with carbon-based substrates, create synergistic effects that amplify both energy and power metrics. Notably, manganese dioxide (MnO2), ruthenium oxide (RuO2), and polyaniline have shown remarkable performance improvements when incorporated into hybrid architectures. These materials facilitate pseudocapacitive charge storage mechanisms alongside traditional double-layer capacitance, effectively multiplying the energy storage capabilities without significant power density compromises.
Nanostructuring techniques have revolutionized electrode design, enabling precise control over material morphology at the nanoscale. Hierarchical porous structures, core-shell configurations, and three-dimensional interconnected networks have been engineered to optimize ion transport pathways and maximize active surface area. These sophisticated architectures significantly reduce internal resistance while providing abundant reaction sites for charge storage, directly addressing the traditional energy-power trade-off.
Electrolyte innovations have complemented these electrode advancements, with ionic liquids and gel polymer electrolytes expanding the operational voltage windows of hybrid capacitors. The wider electrochemical stability windows directly translate to higher energy densities according to the E=½CV² relationship, while maintaining the power advantages inherent to supercapacitor systems.
Interface engineering between different materials has emerged as another crucial frontier, with researchers developing novel binding techniques and surface modifications to enhance charge transfer kinetics and cycling stability. Atomic layer deposition, hydrothermal synthesis methods, and controlled doping strategies have enabled unprecedented control over interfacial properties, minimizing resistance at material junctions and enhancing overall system performance.
The convergence of these materials science advancements has resulted in hybrid capacitor systems that increasingly narrow the gap between traditional supercapacitors and batteries, creating energy storage solutions that offer the best attributes of both technologies. As fabrication techniques continue to evolve, particularly in scalable manufacturing processes, these advanced materials approaches are poised to enable the next generation of high-performance energy storage devices for applications ranging from consumer electronics to grid-scale storage systems.
Environmental Impact and Sustainability Considerations
Supercapacitor hybrid systems represent a significant advancement in sustainable energy storage technology, offering environmental benefits that extend beyond their primary performance advantages. The manufacturing processes for supercapacitors typically require fewer rare earth elements and toxic materials compared to conventional batteries, reducing the environmental footprint associated with resource extraction and processing. This aspect becomes increasingly important as global demand for energy storage solutions continues to rise amid growing concerns about resource scarcity.
The extended cycle life of supercapacitor hybrid systems—often exceeding 500,000 cycles compared to 500-1,000 cycles for traditional lithium-ion batteries—substantially reduces waste generation throughout the product lifecycle. This longevity translates to fewer replacement units and consequently less electronic waste entering landfills, addressing a critical environmental challenge in the energy storage sector. Additionally, the reduced need for frequent replacements diminishes the carbon emissions associated with manufacturing and transportation of new storage units.
From an operational perspective, supercapacitor hybrid systems demonstrate superior efficiency in energy recovery applications, particularly in regenerative braking systems for electric vehicles and industrial equipment. This capability enables more effective energy recapture, reducing overall energy consumption and associated emissions. The systems' ability to operate efficiently across wider temperature ranges also eliminates or reduces the need for energy-intensive thermal management systems commonly required for conventional batteries.
End-of-life considerations further highlight the sustainability advantages of supercapacitor hybrid technologies. The materials used in these systems, particularly carbon-based electrodes and less toxic electrolytes, present fewer recycling challenges compared to conventional battery chemistries. Emerging recycling protocols specifically designed for supercapacitor components show promising recovery rates for key materials, creating potential for closed-loop material cycles that minimize environmental impact.
When integrated into renewable energy systems, supercapacitor hybrids enhance grid stability and energy utilization efficiency, facilitating higher penetration of intermittent renewable sources like solar and wind. This integration capability indirectly contributes to carbon emission reductions by enabling more effective deployment of clean energy technologies. The rapid response characteristics of supercapacitors make them particularly valuable for smoothing power fluctuations in renewable energy systems, reducing the need for fossil fuel-based backup generation.
The extended cycle life of supercapacitor hybrid systems—often exceeding 500,000 cycles compared to 500-1,000 cycles for traditional lithium-ion batteries—substantially reduces waste generation throughout the product lifecycle. This longevity translates to fewer replacement units and consequently less electronic waste entering landfills, addressing a critical environmental challenge in the energy storage sector. Additionally, the reduced need for frequent replacements diminishes the carbon emissions associated with manufacturing and transportation of new storage units.
From an operational perspective, supercapacitor hybrid systems demonstrate superior efficiency in energy recovery applications, particularly in regenerative braking systems for electric vehicles and industrial equipment. This capability enables more effective energy recapture, reducing overall energy consumption and associated emissions. The systems' ability to operate efficiently across wider temperature ranges also eliminates or reduces the need for energy-intensive thermal management systems commonly required for conventional batteries.
End-of-life considerations further highlight the sustainability advantages of supercapacitor hybrid technologies. The materials used in these systems, particularly carbon-based electrodes and less toxic electrolytes, present fewer recycling challenges compared to conventional battery chemistries. Emerging recycling protocols specifically designed for supercapacitor components show promising recovery rates for key materials, creating potential for closed-loop material cycles that minimize environmental impact.
When integrated into renewable energy systems, supercapacitor hybrids enhance grid stability and energy utilization efficiency, facilitating higher penetration of intermittent renewable sources like solar and wind. This integration capability indirectly contributes to carbon emission reductions by enabling more effective deployment of clean energy technologies. The rapid response characteristics of supercapacitors make them particularly valuable for smoothing power fluctuations in renewable energy systems, reducing the need for fossil fuel-based backup generation.
Unlock deeper insights with Patsnap Eureka Quick Research — get a full tech report to explore trends and direct your research. Try now!
Generate Your Research Report Instantly with AI Agent
Supercharge your innovation with Patsnap Eureka AI Agent Platform!