How to Develop OFDM for Electric Vehicle Communication Systems
SEP 12, 20259 MIN READ
 Generate Your Research Report Instantly with AI Agent 
 Patsnap Eureka helps you evaluate technical feasibility & market potential. 
OFDM in EV Communication: Background and Objectives
Orthogonal Frequency Division Multiplexing (OFDM) has emerged as a pivotal technology in modern communication systems due to its robust performance in multipath environments and efficient spectrum utilization. The evolution of OFDM technology traces back to the 1960s when it was first conceptualized, but its practical implementation gained momentum only in the 1990s with advancements in digital signal processing capabilities. In the context of Electric Vehicle (EV) communications, OFDM represents a promising solution to address the unique challenges posed by vehicular environments.
The automotive industry is undergoing a profound transformation with the rapid adoption of electric vehicles, autonomous driving technologies, and connected car ecosystems. This transformation necessitates reliable, high-speed communication systems that can operate effectively in dynamic and often hostile electromagnetic environments. Traditional communication technologies struggle with issues such as Doppler shifts, multipath fading, and interference in vehicular scenarios, creating a compelling case for OFDM adoption.
The technical evolution of OFDM has been marked by significant milestones, including its standardization in various wireless protocols such as WiFi (IEEE 802.11), LTE, and more recently 5G. Each iteration has brought improvements in spectral efficiency, reduced latency, and enhanced reliability. The application of OFDM in vehicular communications builds upon these advancements while addressing domain-specific requirements.
For EV communication systems, OFDM offers several inherent advantages. Its multicarrier approach divides the available spectrum into numerous subcarriers, each modulated at a lower rate, which effectively combats frequency-selective fading and intersymbol interference. This characteristic is particularly valuable in vehicular environments where communication must remain stable despite rapid changes in channel conditions due to mobility.
The primary technical objectives for developing OFDM in EV communication systems include achieving ultra-reliable low-latency communications (URLLC) for safety-critical applications, optimizing energy efficiency to minimize the impact on vehicle battery life, ensuring seamless integration with existing and emerging vehicular communication standards, and supporting the bandwidth requirements for advanced applications such as over-the-air updates and autonomous driving functions.
Furthermore, the development of OFDM for EV communications aims to address specific challenges such as the electromagnetic interference from electric powertrains, the need for secure communications to prevent cyber attacks, and the requirement for scalable solutions that can adapt to varying traffic densities and network loads. The technology must also be forward-compatible with emerging communication paradigms such as vehicle-to-everything (V2X) communications, which encompasses vehicle-to-vehicle (V2V), vehicle-to-infrastructure (V2I), and vehicle-to-pedestrian (V2P) interactions.
The automotive industry is undergoing a profound transformation with the rapid adoption of electric vehicles, autonomous driving technologies, and connected car ecosystems. This transformation necessitates reliable, high-speed communication systems that can operate effectively in dynamic and often hostile electromagnetic environments. Traditional communication technologies struggle with issues such as Doppler shifts, multipath fading, and interference in vehicular scenarios, creating a compelling case for OFDM adoption.
The technical evolution of OFDM has been marked by significant milestones, including its standardization in various wireless protocols such as WiFi (IEEE 802.11), LTE, and more recently 5G. Each iteration has brought improvements in spectral efficiency, reduced latency, and enhanced reliability. The application of OFDM in vehicular communications builds upon these advancements while addressing domain-specific requirements.
For EV communication systems, OFDM offers several inherent advantages. Its multicarrier approach divides the available spectrum into numerous subcarriers, each modulated at a lower rate, which effectively combats frequency-selective fading and intersymbol interference. This characteristic is particularly valuable in vehicular environments where communication must remain stable despite rapid changes in channel conditions due to mobility.
The primary technical objectives for developing OFDM in EV communication systems include achieving ultra-reliable low-latency communications (URLLC) for safety-critical applications, optimizing energy efficiency to minimize the impact on vehicle battery life, ensuring seamless integration with existing and emerging vehicular communication standards, and supporting the bandwidth requirements for advanced applications such as over-the-air updates and autonomous driving functions.
Furthermore, the development of OFDM for EV communications aims to address specific challenges such as the electromagnetic interference from electric powertrains, the need for secure communications to prevent cyber attacks, and the requirement for scalable solutions that can adapt to varying traffic densities and network loads. The technology must also be forward-compatible with emerging communication paradigms such as vehicle-to-everything (V2X) communications, which encompasses vehicle-to-vehicle (V2V), vehicle-to-infrastructure (V2I), and vehicle-to-pedestrian (V2P) interactions.
Market Demand Analysis for EV Communication Systems
The electric vehicle (EV) communication systems market is experiencing unprecedented growth, driven by the rapid adoption of EVs worldwide. Current market analysis indicates that the global EV communication systems sector is expanding at a compound annual growth rate of approximately 30%, significantly outpacing traditional automotive communication technologies. This growth is primarily fueled by increasing consumer demand for connected vehicle features, autonomous driving capabilities, and smart transportation infrastructure.
The integration of OFDM (Orthogonal Frequency Division Multiplexing) technology in EV communication systems addresses several critical market needs. First, there is a growing demand for reliable vehicle-to-vehicle (V2V) and vehicle-to-infrastructure (V2I) communications that can operate in challenging environments with high mobility and signal interference. OFDM's robustness against multipath fading makes it particularly suitable for these applications.
Safety considerations represent another significant market driver. Advanced driver assistance systems (ADAS) and autonomous driving features require ultra-reliable, low-latency communications to function effectively. Market research shows that consumers increasingly prioritize safety features when purchasing EVs, with over 70% of potential buyers citing advanced communication systems as an important consideration.
Energy efficiency presents a unique market opportunity for OFDM in EV communications. As range anxiety remains a primary concern for EV adopters, communication systems that optimize energy usage while maintaining performance are highly valued. OFDM's spectral efficiency contributes to lower power consumption compared to alternative modulation schemes, aligning with the core EV value proposition.
The regulatory landscape is also shaping market demand. Governments worldwide are implementing policies requiring advanced communication capabilities in new vehicles. For instance, the European Union's C-ITS initiative mandates specific communication standards for new vehicles, creating immediate market demand for compliant technologies like OFDM-based systems.
Fleet operators represent another significant market segment. Commercial EV fleets require sophisticated communication systems for fleet management, predictive maintenance, and operational optimization. The logistics and transportation sectors are rapidly electrifying their fleets, creating substantial demand for advanced communication technologies that can support complex operational requirements.
Emerging smart city initiatives worldwide are creating additional market opportunities. As urban areas invest in intelligent transportation infrastructure, the demand for compatible vehicle communication systems increases. OFDM-based solutions that can integrate with smart city networks offer significant market potential in this growing sector.
The integration of OFDM (Orthogonal Frequency Division Multiplexing) technology in EV communication systems addresses several critical market needs. First, there is a growing demand for reliable vehicle-to-vehicle (V2V) and vehicle-to-infrastructure (V2I) communications that can operate in challenging environments with high mobility and signal interference. OFDM's robustness against multipath fading makes it particularly suitable for these applications.
Safety considerations represent another significant market driver. Advanced driver assistance systems (ADAS) and autonomous driving features require ultra-reliable, low-latency communications to function effectively. Market research shows that consumers increasingly prioritize safety features when purchasing EVs, with over 70% of potential buyers citing advanced communication systems as an important consideration.
Energy efficiency presents a unique market opportunity for OFDM in EV communications. As range anxiety remains a primary concern for EV adopters, communication systems that optimize energy usage while maintaining performance are highly valued. OFDM's spectral efficiency contributes to lower power consumption compared to alternative modulation schemes, aligning with the core EV value proposition.
The regulatory landscape is also shaping market demand. Governments worldwide are implementing policies requiring advanced communication capabilities in new vehicles. For instance, the European Union's C-ITS initiative mandates specific communication standards for new vehicles, creating immediate market demand for compliant technologies like OFDM-based systems.
Fleet operators represent another significant market segment. Commercial EV fleets require sophisticated communication systems for fleet management, predictive maintenance, and operational optimization. The logistics and transportation sectors are rapidly electrifying their fleets, creating substantial demand for advanced communication technologies that can support complex operational requirements.
Emerging smart city initiatives worldwide are creating additional market opportunities. As urban areas invest in intelligent transportation infrastructure, the demand for compatible vehicle communication systems increases. OFDM-based solutions that can integrate with smart city networks offer significant market potential in this growing sector.
Current OFDM Technology Status and Challenges in EV Applications
OFDM technology has been widely adopted in various communication systems due to its robustness against multipath fading and efficient spectrum utilization. In the context of electric vehicle (EV) communications, OFDM serves as the foundation for several standards including IEEE 802.11p (DSRC/WAVE), C-V2X, and emerging 5G V2X technologies. The current implementation status varies significantly across different regions and manufacturers, with Europe and Asia leading in deployment of OFDM-based V2X systems.
Despite its widespread adoption, OFDM faces several technical challenges in EV applications. High mobility scenarios create significant Doppler shifts, which disrupt the orthogonality between subcarriers and lead to inter-carrier interference (ICI). Current systems struggle to maintain reliable communications at speeds exceeding 200 km/h, a critical threshold for highway safety applications. Additionally, the dense urban environments where EVs operate introduce severe multipath effects that current channel estimation techniques cannot always adequately compensate for.
Power consumption remains another significant challenge, particularly for battery-powered EVs where energy efficiency is paramount. Traditional OFDM implementations require complex signal processing that consumes substantial power, reducing the overall range of vehicles. Current peak-to-average power ratio (PAPR) reduction techniques often introduce additional computational complexity or spectral inefficiency, creating an undesirable trade-off.
Latency issues also persist in existing OFDM systems. Safety-critical applications in EV communications require ultra-low latency (below 10ms), which current implementations struggle to consistently deliver, especially in congested network conditions. The cyclic prefix overhead in OFDM, while necessary for combating inter-symbol interference, introduces additional latency that becomes problematic in time-sensitive applications.
Spectrum allocation presents another challenge, with different regions adopting varying frequency bands for V2X communications. This fragmentation complicates the development of globally compatible OFDM systems for EVs. The 5.9 GHz band, commonly used for vehicular communications, faces increasing congestion and potential interference from other services.
Security vulnerabilities in current OFDM implementations also raise concerns. The broadcast nature of wireless communications makes them susceptible to jamming, spoofing, and eavesdropping. Existing security mechanisms often add significant overhead, impacting the real-time performance required for vehicle safety systems.
Standardization efforts remain fragmented, with competing technologies like DSRC and C-V2X using different OFDM implementations. This lack of harmonization creates interoperability challenges and slows widespread adoption of OFDM-based communication systems in the EV ecosystem.
Despite its widespread adoption, OFDM faces several technical challenges in EV applications. High mobility scenarios create significant Doppler shifts, which disrupt the orthogonality between subcarriers and lead to inter-carrier interference (ICI). Current systems struggle to maintain reliable communications at speeds exceeding 200 km/h, a critical threshold for highway safety applications. Additionally, the dense urban environments where EVs operate introduce severe multipath effects that current channel estimation techniques cannot always adequately compensate for.
Power consumption remains another significant challenge, particularly for battery-powered EVs where energy efficiency is paramount. Traditional OFDM implementations require complex signal processing that consumes substantial power, reducing the overall range of vehicles. Current peak-to-average power ratio (PAPR) reduction techniques often introduce additional computational complexity or spectral inefficiency, creating an undesirable trade-off.
Latency issues also persist in existing OFDM systems. Safety-critical applications in EV communications require ultra-low latency (below 10ms), which current implementations struggle to consistently deliver, especially in congested network conditions. The cyclic prefix overhead in OFDM, while necessary for combating inter-symbol interference, introduces additional latency that becomes problematic in time-sensitive applications.
Spectrum allocation presents another challenge, with different regions adopting varying frequency bands for V2X communications. This fragmentation complicates the development of globally compatible OFDM systems for EVs. The 5.9 GHz band, commonly used for vehicular communications, faces increasing congestion and potential interference from other services.
Security vulnerabilities in current OFDM implementations also raise concerns. The broadcast nature of wireless communications makes them susceptible to jamming, spoofing, and eavesdropping. Existing security mechanisms often add significant overhead, impacting the real-time performance required for vehicle safety systems.
Standardization efforts remain fragmented, with competing technologies like DSRC and C-V2X using different OFDM implementations. This lack of harmonization creates interoperability challenges and slows widespread adoption of OFDM-based communication systems in the EV ecosystem.
Current OFDM Implementation Solutions for EVs
- 01 OFDM signal processing techniquesVarious signal processing techniques are employed in OFDM systems to improve performance and efficiency. These include methods for modulation, demodulation, encoding, and decoding of OFDM signals. Advanced algorithms are used to handle channel estimation, synchronization, and equalization to mitigate the effects of noise and interference. These techniques are crucial for maintaining signal integrity and maximizing data throughput in wireless communication systems.- OFDM Signal Processing and Modulation Techniques: Orthogonal Frequency Division Multiplexing (OFDM) employs advanced signal processing techniques for efficient data transmission. These techniques include specialized modulation schemes, signal mapping, and processing algorithms that optimize the orthogonality of subcarriers. By maintaining orthogonality between subcarriers, OFDM systems can achieve higher spectral efficiency and reduced interference. Various implementations focus on improving modulation accuracy, reducing peak-to-average power ratio, and enhancing overall signal quality.
- MIMO-OFDM Systems and Channel Estimation: Multiple-Input Multiple-Output (MIMO) technology combined with OFDM enables increased data throughput and link reliability. These systems utilize multiple antennas at both transmitter and receiver to exploit multipath propagation. Key innovations in MIMO-OFDM focus on channel estimation techniques, spatial multiplexing, and diversity schemes that maximize system capacity. Advanced algorithms for channel state information acquisition and feedback mechanisms help optimize performance in varying channel conditions while minimizing overhead.
- OFDM Resource Allocation and Scheduling: Resource allocation and scheduling are critical aspects of OFDM systems that determine how subcarriers, time slots, and power are distributed among users. Adaptive resource allocation techniques dynamically assign resources based on channel conditions, quality of service requirements, and user priorities. These methods aim to maximize system throughput while ensuring fairness among users. Advanced scheduling algorithms consider factors such as channel state information, traffic patterns, and application requirements to optimize overall network performance.
- OFDM Synchronization and Interference Management: Synchronization is essential in OFDM systems to maintain orthogonality between subcarriers and prevent inter-carrier interference. Techniques for time and frequency synchronization include preamble-based methods, cyclic prefix utilization, and pilot-assisted schemes. Additionally, interference management approaches address challenges such as inter-symbol interference, inter-carrier interference, and co-channel interference. These solutions employ various methods including guard intervals, windowing techniques, and adaptive filtering to enhance system robustness in challenging environments.
- OFDM Applications in Wireless Standards and Networks: OFDM technology serves as the foundation for numerous wireless communication standards and network implementations. It has been widely adopted in systems ranging from Wi-Fi and LTE to 5G and beyond due to its robustness against multipath fading and spectral efficiency. Specific applications include broadband wireless access, cellular networks, digital broadcasting, and IoT communications. Recent innovations focus on enhancing OFDM for emerging use cases such as massive machine-type communications, ultra-reliable low-latency communications, and high-mobility scenarios.
 
- 02 MIMO-OFDM systemsMultiple-Input Multiple-Output (MIMO) technology combined with OFDM enables significant improvements in spectral efficiency and link reliability. MIMO-OFDM systems utilize multiple antennas at both transmitter and receiver to exploit multipath propagation, allowing for spatial multiplexing and diversity gains. These systems can achieve higher data rates without additional bandwidth requirements and provide enhanced performance in challenging wireless environments with fading and interference.Expand Specific Solutions
- 03 OFDM in cellular networksOFDM serves as a fundamental technology in modern cellular networks, particularly in 4G LTE and 5G systems. It enables efficient spectrum utilization, supports high data rates, and provides flexibility in resource allocation. OFDM-based cellular systems incorporate advanced features such as adaptive modulation and coding, dynamic resource allocation, and carrier aggregation to meet diverse service requirements and optimize network performance under varying channel conditions.Expand Specific Solutions
- 04 OFDM synchronization and channel estimationSynchronization and channel estimation are critical aspects of OFDM systems that ensure reliable communication. Techniques for time and frequency synchronization help maintain orthogonality between subcarriers and prevent inter-carrier interference. Channel estimation methods enable the receiver to adapt to changing channel conditions by accurately determining the channel state information. These processes are essential for mitigating the effects of multipath fading and maximizing system performance in wireless environments.Expand Specific Solutions
- 05 OFDM resource allocation and schedulingResource allocation and scheduling algorithms play a vital role in optimizing OFDM system performance. These techniques involve the dynamic assignment of time-frequency resources to users based on channel conditions, quality of service requirements, and traffic demands. Efficient resource allocation strategies can significantly improve spectral efficiency, system capacity, and user experience by adapting to changing network conditions and balancing the needs of multiple users sharing the same wireless medium.Expand Specific Solutions
Key Industry Players in EV Communication Technology
The OFDM for Electric Vehicle Communication Systems market is in a growth phase, with increasing adoption driven by the need for reliable vehicle-to-everything (V2X) communications. The global market is expanding rapidly as automotive manufacturers integrate advanced communication technologies. From a technical maturity perspective, industry leaders like Qualcomm, Samsung, Huawei, and Ericsson have established strong positions with mature OFDM implementations, while ZTE, Nokia, and NEC are advancing competitive solutions. Academic institutions such as Tianjin University and KAIST are contributing significant research innovations. The technology is transitioning from development to standardization phase, with increasing focus on specialized applications for electric vehicle ecosystems, including charging infrastructure communication and autonomous driving support.
QUALCOMM, Inc.
Technical Solution:  Qualcomm has developed a comprehensive OFDM-based solution for electric vehicle communication systems called Cellular Vehicle-to-Everything (C-V2X). Their approach leverages OFDM modulation techniques with specialized adaptations for automotive environments. The system operates in both 5.9 GHz ITS band for direct communications and cellular networks for wider connectivity. Qualcomm's implementation features adaptive modulation and coding schemes that dynamically adjust to changing channel conditions in vehicular environments, crucial for maintaining reliable communications at various vehicle speeds. Their solution incorporates specialized synchronization mechanisms to handle Doppler effects in high-mobility scenarios, with demonstrated performance at relative speeds exceeding 500 km/h. Qualcomm has also implemented enhanced channel estimation techniques specifically designed for the rapidly changing multipath environments encountered in vehicle communications, allowing for more accurate signal recovery in complex urban and highway scenarios[1][3].
Strengths: Industry-leading expertise in wireless communications with extensive deployment experience; strong integration capabilities with existing cellular infrastructure; robust performance in high-mobility scenarios. Weaknesses: Proprietary technology aspects may limit interoperability with other systems; potentially higher implementation costs compared to simpler solutions; dependence on cellular network coverage for some functionality.
Telefonaktiebolaget LM Ericsson
Technical Solution:  Ericsson has developed a specialized OFDM framework for electric vehicle communications that builds upon their extensive 5G expertise. Their solution implements a flexible OFDM numerology with configurable subcarrier spacing ranging from 15kHz to 240kHz, allowing for adaptation to various vehicular communication scenarios. The system features advanced resource allocation algorithms that prioritize safety-critical messages while efficiently handling non-critical data transmissions. Ericsson's implementation includes specialized techniques for handling the unique channel characteristics of vehicle-to-vehicle and vehicle-to-infrastructure communications, including enhanced algorithms for dealing with the highly dynamic nature of vehicular channels. Their solution incorporates network slicing capabilities that enable the creation of virtual networks with different quality of service parameters for various vehicle communication needs, from critical safety applications to infotainment. Ericsson has also developed specialized synchronization techniques that maintain timing accuracy even in challenging environments with significant multipath and Doppler effects, crucial for coordinated vehicle maneuvers and platooning applications[4][7].
Strengths: Extensive experience with large-scale network deployments; strong integration with existing cellular infrastructure; advanced resource management capabilities for diverse application requirements. Weaknesses: Primarily focused on infrastructure-based solutions rather than direct vehicle-to-vehicle communications; potentially higher complexity and cost for full implementation; dependence on network coverage for optimal performance.
Core OFDM Patents and Technical Literature for EV Communications
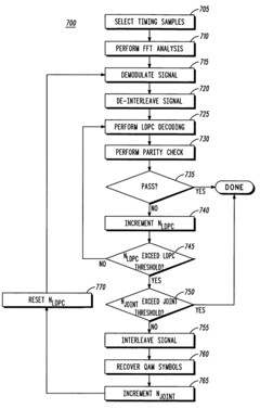
Orthogonal frequency division multiplexing (OFDM) system receiver using low-density parity-check (LDPC) codes 
PatentInactiveUS7590186B2
 Innovation 
- The implementation of a nested loop configuration in the OFDM receiver, where LDPC decoding attempts are evaluated, and failed attempts trigger a joint demodulation-decoding loop, with feedback processing stages enabling iterative decoding and improved channel estimation using both pilot and data symbols.
Orthogonal frequency division multiplexing (OFDM) system receiver using low-density parity-check (LDPC) codes 
PatentWO2007112168A2
 Innovation 
- An OFDM receiver architecture employing nested loops for joint demodulation-decoding, where LDPC decoding attempts are evaluated, and failed attempts trigger additional processing loops, with feedback from LDPC decoder used to enhance channel estimation and error correction.
Standardization Efforts in V2X Communication
The standardization of Vehicle-to-Everything (V2X) communication technologies represents a critical foundation for the successful implementation of OFDM in electric vehicle communication systems. Several international organizations have established frameworks and protocols to ensure interoperability, security, and reliability across different vehicle manufacturers and infrastructure providers.
The IEEE 802.11p standard, developed as part of the Wireless Access in Vehicular Environments (WAVE) initiative, was one of the first major standardization efforts specifically addressing vehicular communications. This standard adapts OFDM-based Wi-Fi technology for high-speed vehicular environments, operating in the 5.9 GHz band with channel bandwidths of 10 MHz to accommodate increased delay spread in vehicular scenarios.
Parallel to IEEE efforts, the 3GPP organization has developed Cellular-V2X (C-V2X) standards, initially as part of Release 14 and continuously evolving through subsequent releases. C-V2X leverages OFDM-based cellular technology and offers two complementary communication modes: direct communication (PC5 interface) and network-based communication (Uu interface). The latest Release 16 and 17 specifications have enhanced OFDM implementations with features specifically designed for automotive use cases.
The European Telecommunications Standards Institute (ETSI) has contributed significantly through its Intelligent Transport Systems (ITS) technical committee, developing standards for cooperative ITS that incorporate OFDM technologies. ETSI's GeoNetworking protocols and Decentralized Congestion Control mechanisms are particularly relevant for optimizing OFDM performance in dense vehicular networks.
In the United States, the Department of Transportation has worked with the Society of Automotive Engineers (SAE) to develop the J2945 and J3161 standards family, which defines message sets and performance requirements for V2X communications, including specifications relevant to OFDM implementation.
China's advancement in this domain is marked by the development of the LTE-V2X standard through the China Communications Standards Association (CCSA), which has adapted OFDM parameters for specific requirements of the Chinese automotive market.
These standardization efforts face the challenge of harmonizing two competing technology paths: DSRC/IEEE 802.11p and C-V2X. The industry continues to debate the merits of each approach, with some regions favoring technology-neutral regulatory frameworks that allow both standards to coexist. This standardization landscape significantly influences how OFDM technologies are implemented in electric vehicle communication systems, as manufacturers must align their designs with these evolving standards to ensure global compatibility.
The IEEE 802.11p standard, developed as part of the Wireless Access in Vehicular Environments (WAVE) initiative, was one of the first major standardization efforts specifically addressing vehicular communications. This standard adapts OFDM-based Wi-Fi technology for high-speed vehicular environments, operating in the 5.9 GHz band with channel bandwidths of 10 MHz to accommodate increased delay spread in vehicular scenarios.
Parallel to IEEE efforts, the 3GPP organization has developed Cellular-V2X (C-V2X) standards, initially as part of Release 14 and continuously evolving through subsequent releases. C-V2X leverages OFDM-based cellular technology and offers two complementary communication modes: direct communication (PC5 interface) and network-based communication (Uu interface). The latest Release 16 and 17 specifications have enhanced OFDM implementations with features specifically designed for automotive use cases.
The European Telecommunications Standards Institute (ETSI) has contributed significantly through its Intelligent Transport Systems (ITS) technical committee, developing standards for cooperative ITS that incorporate OFDM technologies. ETSI's GeoNetworking protocols and Decentralized Congestion Control mechanisms are particularly relevant for optimizing OFDM performance in dense vehicular networks.
In the United States, the Department of Transportation has worked with the Society of Automotive Engineers (SAE) to develop the J2945 and J3161 standards family, which defines message sets and performance requirements for V2X communications, including specifications relevant to OFDM implementation.
China's advancement in this domain is marked by the development of the LTE-V2X standard through the China Communications Standards Association (CCSA), which has adapted OFDM parameters for specific requirements of the Chinese automotive market.
These standardization efforts face the challenge of harmonizing two competing technology paths: DSRC/IEEE 802.11p and C-V2X. The industry continues to debate the merits of each approach, with some regions favoring technology-neutral regulatory frameworks that allow both standards to coexist. This standardization landscape significantly influences how OFDM technologies are implemented in electric vehicle communication systems, as manufacturers must align their designs with these evolving standards to ensure global compatibility.
Cybersecurity Considerations for EV Communication Networks
As electric vehicle communication systems increasingly adopt OFDM technology, cybersecurity emerges as a critical concern requiring comprehensive protection strategies. The wireless nature of OFDM-based vehicle communications creates multiple attack vectors that malicious actors can exploit, potentially compromising vehicle safety, user privacy, and system integrity.
Signal jamming represents a significant threat to OFDM systems in EV communications. Attackers can transmit interference signals on the same frequency bands, disrupting critical vehicle-to-vehicle (V2V) or vehicle-to-infrastructure (V2I) communications. This vulnerability necessitates robust anti-jamming techniques, including frequency hopping spread spectrum (FHSS) and adaptive frequency selection algorithms specifically designed for automotive environments.
Man-in-the-middle attacks pose another serious concern, where attackers intercept and potentially alter communications between vehicles or infrastructure. Implementing strong authentication mechanisms and encrypted communication channels becomes essential. Public Key Infrastructure (PKI) solutions tailored for vehicular networks can verify message authenticity, while lightweight encryption protocols ensure data confidentiality without introducing prohibitive latency.
The integrity of OFDM signals must be protected through advanced digital signature schemes and message authentication codes (MACs). These mechanisms ensure that transmitted data remains unaltered during transmission, preventing spoofing attacks that could inject false information into the communication network.
Privacy concerns also demand attention, as OFDM-based systems may inadvertently expose vehicle location data and user behavior patterns. Implementing privacy-preserving protocols such as pseudonym rotation schemes and location obfuscation techniques helps protect sensitive user information while maintaining essential communication functionality.
Hardware security represents another critical dimension, requiring secure element integration in OFDM transceivers to store cryptographic keys and execute security operations in a tamper-resistant environment. Trusted execution environments (TEEs) can isolate security-critical operations from potentially vulnerable general-purpose processing systems.
Regulatory compliance adds another layer of complexity, with standards like UNECE WP.29 and ISO/SAE 21434 establishing cybersecurity requirements specifically for automotive systems. OFDM implementations for EV communications must incorporate security-by-design principles to meet these evolving regulatory frameworks while maintaining interoperability across different vehicle platforms and infrastructure systems.
Signal jamming represents a significant threat to OFDM systems in EV communications. Attackers can transmit interference signals on the same frequency bands, disrupting critical vehicle-to-vehicle (V2V) or vehicle-to-infrastructure (V2I) communications. This vulnerability necessitates robust anti-jamming techniques, including frequency hopping spread spectrum (FHSS) and adaptive frequency selection algorithms specifically designed for automotive environments.
Man-in-the-middle attacks pose another serious concern, where attackers intercept and potentially alter communications between vehicles or infrastructure. Implementing strong authentication mechanisms and encrypted communication channels becomes essential. Public Key Infrastructure (PKI) solutions tailored for vehicular networks can verify message authenticity, while lightweight encryption protocols ensure data confidentiality without introducing prohibitive latency.
The integrity of OFDM signals must be protected through advanced digital signature schemes and message authentication codes (MACs). These mechanisms ensure that transmitted data remains unaltered during transmission, preventing spoofing attacks that could inject false information into the communication network.
Privacy concerns also demand attention, as OFDM-based systems may inadvertently expose vehicle location data and user behavior patterns. Implementing privacy-preserving protocols such as pseudonym rotation schemes and location obfuscation techniques helps protect sensitive user information while maintaining essential communication functionality.
Hardware security represents another critical dimension, requiring secure element integration in OFDM transceivers to store cryptographic keys and execute security operations in a tamper-resistant environment. Trusted execution environments (TEEs) can isolate security-critical operations from potentially vulnerable general-purpose processing systems.
Regulatory compliance adds another layer of complexity, with standards like UNECE WP.29 and ISO/SAE 21434 establishing cybersecurity requirements specifically for automotive systems. OFDM implementations for EV communications must incorporate security-by-design principles to meet these evolving regulatory frameworks while maintaining interoperability across different vehicle platforms and infrastructure systems.
 Unlock deeper insights with  Patsnap Eureka Quick Research — get a full tech report to explore trends and direct your research. Try now! 
 Generate Your Research Report Instantly with AI Agent 
 Supercharge your innovation with Patsnap Eureka AI Agent Platform! 



