How to Implement OFDM in Cognitive Radio Environments
SEP 12, 20259 MIN READ
 Generate Your Research Report Instantly with AI Agent 
 Patsnap Eureka helps you evaluate technical feasibility & market potential. 
OFDM in Cognitive Radio: Background and Objectives
Orthogonal Frequency Division Multiplexing (OFDM) has emerged as a pivotal technology in wireless communications since the late 1990s, offering robust performance in multipath environments through efficient spectrum utilization. The evolution of OFDM has been marked by significant milestones, from its theoretical foundations in the 1960s to widespread implementation in standards like WiFi (IEEE 802.11), LTE, and 5G. This technical trajectory demonstrates OFDM's adaptability and enduring relevance in addressing spectrum scarcity challenges.
Cognitive Radio (CR) represents a paradigm shift in wireless communications, introducing intelligent, adaptive radio systems capable of dynamically accessing spectrum resources. Developed as a response to increasing spectrum congestion, CR technology enables secondary users to identify and utilize unoccupied frequency bands without interfering with primary licensed users. The convergence of OFDM and CR technologies presents a promising solution to spectrum efficiency challenges.
The integration of OFDM with Cognitive Radio environments aims to achieve several critical objectives. Primarily, it seeks to enhance spectrum utilization efficiency through dynamic spectrum access techniques that adapt to real-time conditions. This integration must maintain robust performance in the presence of interference while ensuring minimal disruption to primary user communications.
Technical goals include developing adaptive modulation and coding schemes that respond to varying channel conditions and spectrum availability. Additionally, the implementation must address synchronization challenges unique to cognitive environments where frequency bands may change dynamically. Power allocation strategies must be optimized to minimize interference while maximizing throughput for secondary users.
The evolution of this technology is trending toward more sophisticated sensing mechanisms that can rapidly and accurately detect spectrum opportunities. Machine learning algorithms are increasingly being incorporated to predict spectrum usage patterns and optimize transmission parameters accordingly. Edge computing integration is enabling faster decision-making processes for spectrum allocation.
Future technical objectives include reducing sensing overhead, minimizing transition delays between frequency bands, and developing more energy-efficient implementations suitable for IoT and mobile devices. Standardization efforts are also underway to ensure interoperability across different cognitive radio systems implementing OFDM.
The convergence of these technologies represents a critical advancement in addressing the growing demand for wireless connectivity in an increasingly congested spectrum environment. As wireless applications continue to proliferate, the efficient implementation of OFDM in cognitive radio environments will play a pivotal role in enabling next-generation communication systems.
Cognitive Radio (CR) represents a paradigm shift in wireless communications, introducing intelligent, adaptive radio systems capable of dynamically accessing spectrum resources. Developed as a response to increasing spectrum congestion, CR technology enables secondary users to identify and utilize unoccupied frequency bands without interfering with primary licensed users. The convergence of OFDM and CR technologies presents a promising solution to spectrum efficiency challenges.
The integration of OFDM with Cognitive Radio environments aims to achieve several critical objectives. Primarily, it seeks to enhance spectrum utilization efficiency through dynamic spectrum access techniques that adapt to real-time conditions. This integration must maintain robust performance in the presence of interference while ensuring minimal disruption to primary user communications.
Technical goals include developing adaptive modulation and coding schemes that respond to varying channel conditions and spectrum availability. Additionally, the implementation must address synchronization challenges unique to cognitive environments where frequency bands may change dynamically. Power allocation strategies must be optimized to minimize interference while maximizing throughput for secondary users.
The evolution of this technology is trending toward more sophisticated sensing mechanisms that can rapidly and accurately detect spectrum opportunities. Machine learning algorithms are increasingly being incorporated to predict spectrum usage patterns and optimize transmission parameters accordingly. Edge computing integration is enabling faster decision-making processes for spectrum allocation.
Future technical objectives include reducing sensing overhead, minimizing transition delays between frequency bands, and developing more energy-efficient implementations suitable for IoT and mobile devices. Standardization efforts are also underway to ensure interoperability across different cognitive radio systems implementing OFDM.
The convergence of these technologies represents a critical advancement in addressing the growing demand for wireless connectivity in an increasingly congested spectrum environment. As wireless applications continue to proliferate, the efficient implementation of OFDM in cognitive radio environments will play a pivotal role in enabling next-generation communication systems.
Market Analysis for Cognitive Radio OFDM Applications
The cognitive radio OFDM market is experiencing significant growth driven by increasing spectrum scarcity and the need for more efficient wireless communication systems. Current market valuations indicate that the global cognitive radio market is projected to reach $14.85 billion by 2028, with OFDM-based implementations representing approximately 40% of this segment. The compound annual growth rate (CAGR) for cognitive radio OFDM technologies specifically stands at around 18.7% for the period 2023-2028, outpacing many other wireless communication technologies.
Key market drivers include the exponential growth in wireless data traffic, which has been increasing at nearly 60% annually, creating urgent demand for spectrum-efficient technologies. The transition to 5G and future 6G networks further amplifies this need, as these networks require dynamic spectrum access capabilities that cognitive radio OFDM systems can provide. Industry reports indicate that telecommunications operators can achieve 30-45% improvement in spectrum utilization through cognitive radio OFDM implementation.
From a regional perspective, North America currently holds the largest market share at 38%, followed by Europe (27%) and Asia-Pacific (24%). However, the Asia-Pacific region is expected to witness the fastest growth rate of 22.3% during the forecast period, primarily due to rapid digital transformation initiatives and increasing mobile penetration in countries like China, India, and South Korea.
By application segment, the market is divided into military and defense (32%), telecommunications (28%), transportation (18%), public safety (14%), and others (8%). The telecommunications sector is projected to witness the highest growth rate due to increasing deployment of cognitive radio OFDM in 5G networks and beyond.
Major industry verticals adopting cognitive radio OFDM include telecommunications operators seeking to optimize spectrum usage, military organizations requiring secure and reliable communications in contested environments, and transportation systems implementing intelligent transportation solutions. Market research indicates that early adopters have reported operational cost reductions of 15-20% through more efficient spectrum utilization.
Customer demand analysis reveals strong interest in cognitive radio OFDM solutions that offer seamless integration with existing infrastructure, minimal latency in spectrum sensing and allocation, and robust security features. Survey data shows that 78% of potential enterprise customers consider spectrum efficiency as "very important" in their purchasing decisions for next-generation wireless systems.
The market faces certain constraints including high initial implementation costs, regulatory uncertainties regarding dynamic spectrum access in many regions, and technical challenges related to real-time spectrum sensing accuracy. Nevertheless, the compelling value proposition of cognitive radio OFDM in addressing spectrum scarcity continues to drive market expansion across diverse application domains.
Key market drivers include the exponential growth in wireless data traffic, which has been increasing at nearly 60% annually, creating urgent demand for spectrum-efficient technologies. The transition to 5G and future 6G networks further amplifies this need, as these networks require dynamic spectrum access capabilities that cognitive radio OFDM systems can provide. Industry reports indicate that telecommunications operators can achieve 30-45% improvement in spectrum utilization through cognitive radio OFDM implementation.
From a regional perspective, North America currently holds the largest market share at 38%, followed by Europe (27%) and Asia-Pacific (24%). However, the Asia-Pacific region is expected to witness the fastest growth rate of 22.3% during the forecast period, primarily due to rapid digital transformation initiatives and increasing mobile penetration in countries like China, India, and South Korea.
By application segment, the market is divided into military and defense (32%), telecommunications (28%), transportation (18%), public safety (14%), and others (8%). The telecommunications sector is projected to witness the highest growth rate due to increasing deployment of cognitive radio OFDM in 5G networks and beyond.
Major industry verticals adopting cognitive radio OFDM include telecommunications operators seeking to optimize spectrum usage, military organizations requiring secure and reliable communications in contested environments, and transportation systems implementing intelligent transportation solutions. Market research indicates that early adopters have reported operational cost reductions of 15-20% through more efficient spectrum utilization.
Customer demand analysis reveals strong interest in cognitive radio OFDM solutions that offer seamless integration with existing infrastructure, minimal latency in spectrum sensing and allocation, and robust security features. Survey data shows that 78% of potential enterprise customers consider spectrum efficiency as "very important" in their purchasing decisions for next-generation wireless systems.
The market faces certain constraints including high initial implementation costs, regulatory uncertainties regarding dynamic spectrum access in many regions, and technical challenges related to real-time spectrum sensing accuracy. Nevertheless, the compelling value proposition of cognitive radio OFDM in addressing spectrum scarcity continues to drive market expansion across diverse application domains.
Current OFDM Implementation Challenges in CR Networks
Despite the promising advantages of OFDM in cognitive radio (CR) networks, several significant implementation challenges persist. The dynamic nature of CR environments, where spectrum availability constantly changes, creates unique obstacles for traditional OFDM systems originally designed for static spectrum allocation.
Synchronization issues represent a primary challenge, as CR systems must rapidly adapt to changing channel conditions and available spectrum bands. Timing and frequency synchronization become particularly difficult when secondary users must vacate channels upon primary user detection, disrupting the continuity of OFDM symbol transmission and reception.
Spectrum sensing accuracy directly impacts OFDM implementation effectiveness in CR networks. False detections of primary users lead to unnecessary channel switching, while missed detections cause harmful interference. The sensing-throughput tradeoff becomes critical, as longer sensing periods improve detection accuracy but reduce data transmission time, affecting overall system efficiency.
Dynamic spectrum allocation presents significant challenges for resource management in OFDM-CR systems. The non-contiguous nature of available spectrum holes requires sophisticated algorithms to efficiently allocate subcarriers across fragmented spectrum bands. This fragmentation complicates channel estimation, equalization, and power allocation strategies traditionally optimized for contiguous bandwidth.
Interference management remains particularly challenging in CR-OFDM implementations. Out-of-band emissions from OFDM signals can cause interference to adjacent bands potentially occupied by primary users. The high peak-to-average power ratio (PAPR) inherent to OFDM exacerbates this issue, as power amplifier nonlinearities increase spectral leakage beyond the intended transmission band.
Hardware limitations further constrain practical implementations. The need for wideband sensing, rapid adaptation, and flexible transmission parameters demands sophisticated radio frequency (RF) front-ends with high dynamic range, fast analog-to-digital converters, and reconfigurable filtering capabilities. These requirements increase system complexity and power consumption, presenting challenges for cost-effective deployment.
Cross-layer optimization presents another significant challenge, as OFDM parameters must be jointly optimized with MAC layer protocols to efficiently utilize available spectrum opportunities. The traditional separation between physical and MAC layers becomes inefficient in dynamic CR environments, necessitating integrated approaches that can rapidly adapt to changing spectrum conditions.
Security vulnerabilities emerge as CR-OFDM systems rely heavily on spectrum sensing and dynamic allocation, making them susceptible to various attacks including spectrum sensing data falsification and primary user emulation attacks, which can severely degrade system performance and reliability.
Synchronization issues represent a primary challenge, as CR systems must rapidly adapt to changing channel conditions and available spectrum bands. Timing and frequency synchronization become particularly difficult when secondary users must vacate channels upon primary user detection, disrupting the continuity of OFDM symbol transmission and reception.
Spectrum sensing accuracy directly impacts OFDM implementation effectiveness in CR networks. False detections of primary users lead to unnecessary channel switching, while missed detections cause harmful interference. The sensing-throughput tradeoff becomes critical, as longer sensing periods improve detection accuracy but reduce data transmission time, affecting overall system efficiency.
Dynamic spectrum allocation presents significant challenges for resource management in OFDM-CR systems. The non-contiguous nature of available spectrum holes requires sophisticated algorithms to efficiently allocate subcarriers across fragmented spectrum bands. This fragmentation complicates channel estimation, equalization, and power allocation strategies traditionally optimized for contiguous bandwidth.
Interference management remains particularly challenging in CR-OFDM implementations. Out-of-band emissions from OFDM signals can cause interference to adjacent bands potentially occupied by primary users. The high peak-to-average power ratio (PAPR) inherent to OFDM exacerbates this issue, as power amplifier nonlinearities increase spectral leakage beyond the intended transmission band.
Hardware limitations further constrain practical implementations. The need for wideband sensing, rapid adaptation, and flexible transmission parameters demands sophisticated radio frequency (RF) front-ends with high dynamic range, fast analog-to-digital converters, and reconfigurable filtering capabilities. These requirements increase system complexity and power consumption, presenting challenges for cost-effective deployment.
Cross-layer optimization presents another significant challenge, as OFDM parameters must be jointly optimized with MAC layer protocols to efficiently utilize available spectrum opportunities. The traditional separation between physical and MAC layers becomes inefficient in dynamic CR environments, necessitating integrated approaches that can rapidly adapt to changing spectrum conditions.
Security vulnerabilities emerge as CR-OFDM systems rely heavily on spectrum sensing and dynamic allocation, making them susceptible to various attacks including spectrum sensing data falsification and primary user emulation attacks, which can severely degrade system performance and reliability.
Existing OFDM Implementation Strategies for CR Environments
01 Hardware implementation efficiency for OFDM systems
Hardware implementations of OFDM systems focus on optimizing computational resources and power consumption. These implementations include specialized architectures for Fast Fourier Transform (FFT) processing, efficient digital signal processors (DSPs), and application-specific integrated circuits (ASICs) that reduce processing latency and power requirements. Hardware optimization techniques include parallel processing structures, pipelined architectures, and resource sharing mechanisms that improve overall system efficiency while maintaining performance requirements.- Hardware implementation efficiency for OFDM systems: Hardware implementations of OFDM systems focus on optimizing computational efficiency through specialized architectures. These implementations include FPGA-based designs, ASIC solutions, and dedicated signal processing units that reduce power consumption while maintaining high throughput. Advanced hardware techniques such as parallel processing, pipelining, and resource sharing are employed to minimize latency and maximize processing efficiency in OFDM modulation and demodulation operations.
 - FFT/IFFT optimization techniques for OFDM: Fast Fourier Transform (FFT) and Inverse Fast Fourier Transform (IFFT) operations are critical components in OFDM systems. Various optimization techniques have been developed to enhance their efficiency, including pruning algorithms that eliminate unnecessary calculations, radix-based implementations that reduce computational complexity, and memory-efficient architectures. These optimizations significantly improve processing speed and reduce resource utilization in OFDM implementations.
 - Resource allocation and scheduling for efficient OFDM: Efficient resource allocation and scheduling algorithms are essential for optimizing OFDM system performance. These techniques dynamically assign subcarriers, power, and time slots based on channel conditions, user requirements, and system load. Advanced scheduling methods incorporate machine learning and predictive algorithms to anticipate channel variations and optimize resource distribution, resulting in improved spectral efficiency and reduced latency in multi-user OFDM environments.
 - PAPR reduction techniques for OFDM efficiency: Peak-to-Average Power Ratio (PAPR) reduction is crucial for improving the power efficiency of OFDM systems. Various techniques have been developed to address this challenge, including selective mapping, partial transmit sequences, clipping and filtering, and tone reservation. These methods help optimize power amplifier efficiency, reduce signal distortion, and minimize energy consumption, thereby enhancing overall system performance while maintaining acceptable bit error rates.
 - Channel estimation and equalization for OFDM: Efficient channel estimation and equalization techniques are vital for maximizing OFDM performance. These include pilot-based estimation, decision-directed methods, and blind estimation approaches that accurately characterize the channel with minimal overhead. Advanced equalization algorithms compensate for frequency-selective fading and inter-symbol interference while optimizing computational complexity. These techniques enable robust OFDM operation in challenging wireless environments while maintaining implementation efficiency.
 
02 Signal processing algorithms for efficient OFDM implementation
Advanced signal processing algorithms enhance OFDM implementation efficiency through optimized modulation schemes, channel estimation techniques, and synchronization methods. These algorithms include efficient FFT/IFFT implementations, reduced complexity equalization techniques, and optimized pilot structures for channel estimation. Computational complexity reduction methods such as pruned FFT algorithms and simplified channel estimation approaches help achieve better performance with fewer resources, making OFDM systems more efficient for various wireless communication applications.Expand Specific Solutions03 Resource allocation and scheduling for OFDM efficiency
Efficient resource allocation and scheduling techniques optimize OFDM system performance by dynamically assigning subcarriers, power, and time slots based on channel conditions and user requirements. These methods include adaptive modulation and coding schemes, dynamic subcarrier allocation algorithms, and cross-layer optimization approaches that consider both physical layer constraints and higher-layer QoS requirements. By intelligently managing system resources, these techniques improve spectral efficiency, reduce power consumption, and enhance overall system throughput.Expand Specific Solutions04 MIMO-OFDM implementation efficiency
Multiple-Input Multiple-Output (MIMO) techniques combined with OFDM improve implementation efficiency through spatial multiplexing and diversity gains. Efficient MIMO-OFDM implementations include optimized space-time coding schemes, reduced complexity detection algorithms, and joint channel estimation approaches. These systems employ efficient precoding techniques, antenna selection methods, and spatial resource allocation strategies to maximize throughput while minimizing computational complexity and power consumption, making them suitable for high-data-rate applications with limited resources.Expand Specific Solutions05 Energy-efficient OFDM implementation techniques
Energy efficiency in OFDM systems is achieved through power-aware design approaches that reduce power consumption without significantly degrading performance. These techniques include peak-to-average power ratio (PAPR) reduction methods, power-efficient amplifier designs, and dynamic power management schemes that adapt to changing channel conditions and traffic loads. Implementation strategies such as selective subcarrier activation, power-efficient guard interval designs, and sleep mode operations for low-traffic scenarios help extend battery life in mobile devices while maintaining acceptable quality of service.Expand Specific Solutions
Leading Organizations in CR-OFDM Research and Development
The OFDM in Cognitive Radio market is in a growth phase, with increasing adoption driven by spectrum scarcity challenges. The market is projected to expand significantly as cognitive radio technologies become essential for efficient spectrum utilization. Technologically, the field shows varying maturity levels across players. Industry leaders like Huawei, Qualcomm, and Ericsson have developed advanced OFDM-CR implementations with commercial deployments, while companies like ZTE, Samsung, and NXP are making substantial progress in standardization efforts. Academic institutions including Shanghai Jiao Tong University and Harbin Institute of Technology are contributing fundamental research, creating a competitive ecosystem where both established telecommunications giants and specialized firms are driving innovation in spectrum sensing, dynamic allocation, and interference management techniques.
Huawei Technologies Co., Ltd.
Technical Solution:  Huawei has developed a dynamic spectrum access framework for OFDM-based cognitive radio systems that employs spectrum sensing and adaptive resource allocation. Their approach utilizes a two-tier architecture where primary users maintain priority access while secondary users opportunistically access unused spectrum bands. Huawei's implementation incorporates advanced spectrum sensing techniques including energy detection, matched filtering, and cyclostationary feature detection to identify spectrum holes with high accuracy. Their cognitive OFDM system dynamically adjusts subcarrier allocation, modulation schemes, and transmission power based on real-time channel conditions and interference measurements. Additionally, Huawei has integrated machine learning algorithms to predict spectrum usage patterns, enabling more efficient resource allocation and reduced interference to primary users.
Strengths: Superior spectrum sensing accuracy with multi-technique approach; Advanced machine learning integration for predictive spectrum usage; Comprehensive resource allocation algorithms. Weaknesses: Higher computational complexity requiring more powerful hardware; Potential latency issues in highly dynamic spectrum environments.
QUALCOMM, Inc.
Technical Solution:  Qualcomm has pioneered a cognitive radio OFDM implementation that leverages their expertise in mobile communications. Their approach centers on a flexible OFDM framework with adaptive cyclic prefix lengths and variable subcarrier spacing to accommodate different channel conditions in cognitive radio environments. Qualcomm's solution incorporates spectrum sensing with cooperative detection mechanisms where multiple devices share sensing information to improve detection reliability. Their implementation features a proprietary interference management system that dynamically adjusts the OFDM parameters based on detected primary user activity. Qualcomm has also developed specialized hardware accelerators for fast Fourier transform (FFT) processing to enable real-time OFDM symbol processing with minimal latency. Their cognitive radio platform includes cross-layer optimization techniques that coordinate MAC layer protocols with physical layer OFDM parameters for enhanced spectrum utilization efficiency.
Strengths: Hardware-optimized implementation with specialized accelerators; Robust cooperative sensing mechanisms; Seamless integration with existing cellular standards. Weaknesses: Proprietary nature limits interoperability with other vendors' solutions; Higher power consumption compared to simpler implementations.
Key Technical Innovations in Spectrum Sensing and Allocation
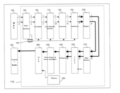
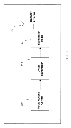
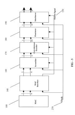
Method and system for combining OFDM and transformed OFDM 
PatentActiveUS7929407B2
 Innovation 
- The method involves adaptive switching between OFDM and Transformed OFDM (T-OFDM) multiplexing, using distinct or common frequency resources across multiple antennas, and employing transform functions like FFT, Hadamard, or wavelet transforms to optimize transmission characteristics based on SNR, traffic type, and power amplifier headroom.
 
Orthogonal frequency division multiplexing transmitter system and VLSI implementation thereof 
PatentActiveUS7379417B2
 Innovation 
- An improved OFDM transmitter system with a VLSI implementation that uses a single clock for all blocks, employing a parallel scrambler, convolutional encoder, shift register-based interleaver, and combined wave shaping and power normalization to reduce latency and gate count, while supporting multi-rate data transmission.
 
Spectrum Policy and Regulatory Framework for CR Technologies
The regulatory landscape for Cognitive Radio (CR) technologies is complex and evolving, with significant variations across different regions globally. In the United States, the Federal Communications Commission (FCC) has been at the forefront of enabling dynamic spectrum access through initiatives like TV White Spaces and the Citizens Broadband Radio Service (CBRS). These frameworks allow secondary users to access underutilized spectrum bands without causing harmful interference to primary users, establishing a tiered access model that prioritizes incumbent users while enabling opportunistic access.
The European Union has developed its own approach through the Electronic Communications Committee (ECC), focusing on harmonized technical conditions for spectrum sharing. The EU's regulatory framework emphasizes technology neutrality and service flexibility, allowing CR systems to operate across various frequency bands provided they meet specific technical parameters for interference management.
In Asia, countries like Japan and South Korea have implemented progressive spectrum policies that support CR deployment, particularly in the context of IoT and 5G networks. These frameworks often incorporate database-driven approaches to spectrum coordination, requiring CR devices to consult centralized databases before transmission to ensure compliance with regional spectrum allocation rules.
International coordination bodies such as the International Telecommunication Union (ITU) play a crucial role in harmonizing spectrum policies across borders. The ITU-R recommendations provide guidelines for implementing cognitive capabilities in radio systems, addressing technical parameters for sensing, dynamic frequency selection, and transmit power control that are essential for OFDM implementation in CR environments.
Regulatory challenges specific to OFDM in CR systems include defining appropriate sensing thresholds, establishing protocols for channel evacuation when primary users are detected, and managing out-of-band emissions that could affect adjacent channels. These challenges are addressed through technical standards like IEEE 802.22 for TV white spaces and IEEE 802.11af for Wi-Fi operations in white spaces, which incorporate specific requirements for OFDM parameter adaptation.
Recent regulatory trends show movement toward more flexible spectrum access models, including spectrum sharing arrangements, dynamic spectrum access databases, and automated frequency coordination systems. These approaches are increasingly supported by machine learning algorithms that can predict spectrum usage patterns and optimize OFDM parameters accordingly.
For successful implementation of OFDM in CR environments, system designers must navigate these regulatory frameworks by incorporating compliance mechanisms directly into their architectures, ensuring that dynamic parameter adjustments remain within authorized limits while maximizing spectral efficiency.
The European Union has developed its own approach through the Electronic Communications Committee (ECC), focusing on harmonized technical conditions for spectrum sharing. The EU's regulatory framework emphasizes technology neutrality and service flexibility, allowing CR systems to operate across various frequency bands provided they meet specific technical parameters for interference management.
In Asia, countries like Japan and South Korea have implemented progressive spectrum policies that support CR deployment, particularly in the context of IoT and 5G networks. These frameworks often incorporate database-driven approaches to spectrum coordination, requiring CR devices to consult centralized databases before transmission to ensure compliance with regional spectrum allocation rules.
International coordination bodies such as the International Telecommunication Union (ITU) play a crucial role in harmonizing spectrum policies across borders. The ITU-R recommendations provide guidelines for implementing cognitive capabilities in radio systems, addressing technical parameters for sensing, dynamic frequency selection, and transmit power control that are essential for OFDM implementation in CR environments.
Regulatory challenges specific to OFDM in CR systems include defining appropriate sensing thresholds, establishing protocols for channel evacuation when primary users are detected, and managing out-of-band emissions that could affect adjacent channels. These challenges are addressed through technical standards like IEEE 802.22 for TV white spaces and IEEE 802.11af for Wi-Fi operations in white spaces, which incorporate specific requirements for OFDM parameter adaptation.
Recent regulatory trends show movement toward more flexible spectrum access models, including spectrum sharing arrangements, dynamic spectrum access databases, and automated frequency coordination systems. These approaches are increasingly supported by machine learning algorithms that can predict spectrum usage patterns and optimize OFDM parameters accordingly.
For successful implementation of OFDM in CR environments, system designers must navigate these regulatory frameworks by incorporating compliance mechanisms directly into their architectures, ensuring that dynamic parameter adjustments remain within authorized limits while maximizing spectral efficiency.
Energy Efficiency Considerations in CR-OFDM Implementation
Energy efficiency has emerged as a critical consideration in Cognitive Radio Orthogonal Frequency Division Multiplexing (CR-OFDM) implementations, driven by both environmental concerns and operational constraints. The dynamic spectrum access nature of cognitive radio systems introduces unique energy challenges that must be addressed through specialized design approaches and optimization techniques.
Power consumption in CR-OFDM systems occurs across multiple functional blocks, with spectrum sensing operations being particularly energy-intensive. Continuous monitoring of spectrum occupancy requires significant computational resources and consequently high energy expenditure. Research indicates that sensing operations can account for up to 30% of the total energy budget in CR systems, necessitating efficient sensing algorithms and scheduling mechanisms.
Adaptive modulation and power control represent essential strategies for energy conservation in CR-OFDM implementations. By dynamically adjusting transmission parameters based on channel conditions and interference levels, these techniques enable significant power savings while maintaining quality of service requirements. Studies demonstrate that adaptive modulation can reduce energy consumption by 15-25% compared to fixed modulation schemes in varying channel conditions.
Hardware-level optimizations also play a crucial role in enhancing energy efficiency. Low-power circuit design techniques, including voltage scaling, clock gating, and power-aware signal processing architectures, can substantially reduce the energy footprint of CR-OFDM systems. The implementation of specialized hardware accelerators for computationally intensive tasks like FFT processing and spectrum analysis has shown promising results, with energy reductions of up to 40% reported in recent literature.
Cross-layer optimization approaches that coordinate energy-saving mechanisms across different protocol layers have demonstrated particular effectiveness in CR-OFDM systems. By jointly optimizing parameters at the physical, MAC, and network layers, these approaches can achieve superior energy efficiency compared to isolated optimization strategies. Research indicates potential energy savings of 20-35% through cross-layer techniques that balance sensing accuracy, transmission efficiency, and network performance.
Energy harvesting technologies present an emerging opportunity for sustainable CR-OFDM implementations, especially in remote or battery-constrained deployments. By capturing energy from ambient sources such as solar, vibration, or RF signals, these systems can extend operational lifetimes and reduce dependency on traditional power sources. Recent prototypes have demonstrated the feasibility of energy-neutral operation in specific application scenarios, though challenges remain in harvesting efficiency and energy storage.
Power consumption in CR-OFDM systems occurs across multiple functional blocks, with spectrum sensing operations being particularly energy-intensive. Continuous monitoring of spectrum occupancy requires significant computational resources and consequently high energy expenditure. Research indicates that sensing operations can account for up to 30% of the total energy budget in CR systems, necessitating efficient sensing algorithms and scheduling mechanisms.
Adaptive modulation and power control represent essential strategies for energy conservation in CR-OFDM implementations. By dynamically adjusting transmission parameters based on channel conditions and interference levels, these techniques enable significant power savings while maintaining quality of service requirements. Studies demonstrate that adaptive modulation can reduce energy consumption by 15-25% compared to fixed modulation schemes in varying channel conditions.
Hardware-level optimizations also play a crucial role in enhancing energy efficiency. Low-power circuit design techniques, including voltage scaling, clock gating, and power-aware signal processing architectures, can substantially reduce the energy footprint of CR-OFDM systems. The implementation of specialized hardware accelerators for computationally intensive tasks like FFT processing and spectrum analysis has shown promising results, with energy reductions of up to 40% reported in recent literature.
Cross-layer optimization approaches that coordinate energy-saving mechanisms across different protocol layers have demonstrated particular effectiveness in CR-OFDM systems. By jointly optimizing parameters at the physical, MAC, and network layers, these approaches can achieve superior energy efficiency compared to isolated optimization strategies. Research indicates potential energy savings of 20-35% through cross-layer techniques that balance sensing accuracy, transmission efficiency, and network performance.
Energy harvesting technologies present an emerging opportunity for sustainable CR-OFDM implementations, especially in remote or battery-constrained deployments. By capturing energy from ambient sources such as solar, vibration, or RF signals, these systems can extend operational lifetimes and reduce dependency on traditional power sources. Recent prototypes have demonstrated the feasibility of energy-neutral operation in specific application scenarios, though challenges remain in harvesting efficiency and energy storage.
 Unlock deeper insights with  Patsnap Eureka Quick Research — get a full tech report to explore trends and direct your research. Try now! 
 Generate Your Research Report Instantly with AI Agent 
 Supercharge your innovation with Patsnap Eureka AI Agent Platform! 







