Quantifying OFDM Data Integrity in Wireless Network Testing
SEP 12, 20259 MIN READ
Generate Your Research Report Instantly with AI Agent
Patsnap Eureka helps you evaluate technical feasibility & market potential.
OFDM Testing Background and Objectives
Orthogonal Frequency Division Multiplexing (OFDM) has emerged as a cornerstone technology in modern wireless communication systems, evolving significantly since its theoretical conception in the 1960s. The technology gained practical implementation in the 1990s with the development of digital signal processors capable of performing fast Fourier transforms efficiently. OFDM's fundamental principle of dividing a single high-rate data stream into multiple parallel lower-rate streams transmitted over different subcarriers has revolutionized wireless communications by effectively combating multipath fading and interference.
The evolution of OFDM has been closely tied to the development of wireless standards, from IEEE 802.11a/g/n/ac/ax in Wi-Fi to 4G LTE and 5G NR in cellular networks. Each iteration has introduced refinements to enhance spectral efficiency, reduce peak-to-average power ratio (PAPR), and improve performance in challenging channel conditions. The technology's adaptability has enabled its widespread adoption across diverse wireless applications, from broadcasting to high-speed mobile communications.
As wireless networks become increasingly complex and densely deployed, ensuring data integrity in OFDM-based systems has become paramount. Traditional testing methodologies often fail to capture the nuanced performance characteristics of OFDM in real-world environments, where factors such as multipath propagation, interference, and hardware impairments significantly impact system performance. This gap between theoretical models and practical implementation necessitates advanced testing frameworks specifically designed for OFDM systems.
The primary objective of quantifying OFDM data integrity in wireless network testing is to develop comprehensive metrics and methodologies that accurately assess the reliability, robustness, and performance of OFDM-based communications under diverse operating conditions. This includes evaluating bit error rate (BER), error vector magnitude (EVM), and channel estimation accuracy across varying signal-to-noise ratios, channel models, and interference scenarios.
Additionally, this technical research aims to establish standardized testing protocols that account for the unique characteristics of OFDM, such as its sensitivity to frequency offset, timing synchronization errors, and nonlinear distortion. By quantifying these effects systematically, we can better predict system performance, optimize design parameters, and ensure interoperability across different implementations and vendors.
The ultimate goal is to bridge the gap between theoretical performance bounds and practical implementation constraints, providing network engineers and system designers with reliable tools to validate OFDM-based systems before deployment. This research also seeks to anticipate future challenges as OFDM evolves to support emerging applications like massive IoT, ultra-reliable low-latency communications (URLLC), and millimeter-wave communications in 6G networks.
The evolution of OFDM has been closely tied to the development of wireless standards, from IEEE 802.11a/g/n/ac/ax in Wi-Fi to 4G LTE and 5G NR in cellular networks. Each iteration has introduced refinements to enhance spectral efficiency, reduce peak-to-average power ratio (PAPR), and improve performance in challenging channel conditions. The technology's adaptability has enabled its widespread adoption across diverse wireless applications, from broadcasting to high-speed mobile communications.
As wireless networks become increasingly complex and densely deployed, ensuring data integrity in OFDM-based systems has become paramount. Traditional testing methodologies often fail to capture the nuanced performance characteristics of OFDM in real-world environments, where factors such as multipath propagation, interference, and hardware impairments significantly impact system performance. This gap between theoretical models and practical implementation necessitates advanced testing frameworks specifically designed for OFDM systems.
The primary objective of quantifying OFDM data integrity in wireless network testing is to develop comprehensive metrics and methodologies that accurately assess the reliability, robustness, and performance of OFDM-based communications under diverse operating conditions. This includes evaluating bit error rate (BER), error vector magnitude (EVM), and channel estimation accuracy across varying signal-to-noise ratios, channel models, and interference scenarios.
Additionally, this technical research aims to establish standardized testing protocols that account for the unique characteristics of OFDM, such as its sensitivity to frequency offset, timing synchronization errors, and nonlinear distortion. By quantifying these effects systematically, we can better predict system performance, optimize design parameters, and ensure interoperability across different implementations and vendors.
The ultimate goal is to bridge the gap between theoretical performance bounds and practical implementation constraints, providing network engineers and system designers with reliable tools to validate OFDM-based systems before deployment. This research also seeks to anticipate future challenges as OFDM evolves to support emerging applications like massive IoT, ultra-reliable low-latency communications (URLLC), and millimeter-wave communications in 6G networks.
Wireless Network Testing Market Analysis
The wireless network testing market has experienced substantial growth in recent years, driven primarily by the rapid expansion of wireless technologies and the increasing complexity of network infrastructures. The global wireless network testing market was valued at approximately 6.8 billion USD in 2022 and is projected to reach 11.2 billion USD by 2027, representing a compound annual growth rate (CAGR) of 10.5%. This growth trajectory is particularly evident in regions with advanced telecommunications infrastructure, such as North America, Europe, and parts of Asia-Pacific.
The market demand for OFDM (Orthogonal Frequency Division Multiplexing) data integrity testing solutions has seen significant acceleration, especially with the widespread deployment of 5G networks. OFDM, as a key modulation technique in modern wireless communications, requires sophisticated testing methodologies to ensure optimal performance. Industry reports indicate that approximately 65% of network operators consider data integrity testing as a critical component of their network deployment strategy.
Market segmentation reveals distinct categories within the wireless network testing sector. Hardware testing equipment dominates with approximately 45% market share, followed by software solutions at 35% and services at 20%. The OFDM data integrity testing segment specifically has shown above-average growth rates of 12-15% annually, outpacing the broader market.
Key market drivers include the increasing complexity of wireless networks, the proliferation of IoT devices, and stringent regulatory requirements for network performance and reliability. The transition to 5G has particularly intensified the need for advanced testing solutions capable of quantifying data integrity across multiple frequency bands and network configurations.
Customer demographics indicate that telecommunications service providers remain the largest end-user segment, accounting for approximately 58% of market demand. However, enterprise customers are showing the fastest growth rate at 16% annually, as businesses increasingly deploy private wireless networks requiring sophisticated testing capabilities.
Regional analysis shows North America leading with 38% market share, followed by Europe (27%), Asia-Pacific (25%), and rest of the world (10%). However, the Asia-Pacific region is demonstrating the highest growth potential, with China, South Korea, and Japan making significant investments in advanced wireless infrastructure and associated testing technologies.
Pricing trends indicate a gradual decrease in per-unit testing costs, offset by increasing volumes and more comprehensive testing requirements. The average investment in wireless network testing equipment by major operators has increased by approximately 22% over the past three years, reflecting the growing importance of data integrity in ensuring network performance and reliability.
The market demand for OFDM (Orthogonal Frequency Division Multiplexing) data integrity testing solutions has seen significant acceleration, especially with the widespread deployment of 5G networks. OFDM, as a key modulation technique in modern wireless communications, requires sophisticated testing methodologies to ensure optimal performance. Industry reports indicate that approximately 65% of network operators consider data integrity testing as a critical component of their network deployment strategy.
Market segmentation reveals distinct categories within the wireless network testing sector. Hardware testing equipment dominates with approximately 45% market share, followed by software solutions at 35% and services at 20%. The OFDM data integrity testing segment specifically has shown above-average growth rates of 12-15% annually, outpacing the broader market.
Key market drivers include the increasing complexity of wireless networks, the proliferation of IoT devices, and stringent regulatory requirements for network performance and reliability. The transition to 5G has particularly intensified the need for advanced testing solutions capable of quantifying data integrity across multiple frequency bands and network configurations.
Customer demographics indicate that telecommunications service providers remain the largest end-user segment, accounting for approximately 58% of market demand. However, enterprise customers are showing the fastest growth rate at 16% annually, as businesses increasingly deploy private wireless networks requiring sophisticated testing capabilities.
Regional analysis shows North America leading with 38% market share, followed by Europe (27%), Asia-Pacific (25%), and rest of the world (10%). However, the Asia-Pacific region is demonstrating the highest growth potential, with China, South Korea, and Japan making significant investments in advanced wireless infrastructure and associated testing technologies.
Pricing trends indicate a gradual decrease in per-unit testing costs, offset by increasing volumes and more comprehensive testing requirements. The average investment in wireless network testing equipment by major operators has increased by approximately 22% over the past three years, reflecting the growing importance of data integrity in ensuring network performance and reliability.
OFDM Data Integrity Challenges
OFDM (Orthogonal Frequency Division Multiplexing) technology faces significant data integrity challenges in wireless network testing environments. These challenges stem from the inherent complexity of OFDM signal processing and the dynamic nature of wireless channels. The multi-carrier modulation scheme, while offering high spectral efficiency, introduces vulnerabilities to various forms of interference and distortion that can compromise data integrity.
Signal degradation represents a primary challenge, occurring through multiple mechanisms including multipath fading, Doppler shift, and inter-symbol interference. These phenomena can significantly alter the phase and amplitude of OFDM subcarriers, leading to bit errors and reduced throughput. The orthogonality between subcarriers—a fundamental property of OFDM—becomes compromised in real-world environments, resulting in inter-carrier interference that further degrades data integrity.
Synchronization errors present another critical challenge. OFDM systems require precise timing and frequency synchronization between transmitters and receivers. Even minor timing offsets can cause phase rotation across subcarriers, while frequency offsets lead to inter-carrier interference. These synchronization issues become particularly problematic in mobile scenarios where Doppler effects continuously alter the received signal characteristics.
Peak-to-Average Power Ratio (PAPR) issues constitute a significant technical hurdle for OFDM data integrity. The high PAPR inherent to OFDM signals can drive power amplifiers into non-linear regions, causing signal distortion and spectral regrowth. This non-linear distortion introduces both in-band and out-of-band interference, compromising the integrity of transmitted data and potentially violating regulatory spectral masks.
Channel estimation accuracy represents another major challenge. OFDM systems rely on accurate channel state information to perform equalization and coherent detection. In rapidly changing environments, the channel estimation may become outdated before it can be effectively utilized, leading to increased error rates. The trade-off between pilot overhead and estimation accuracy further complicates this challenge.
Hardware impairments also significantly impact OFDM data integrity. I/Q imbalance, phase noise, and amplifier non-linearities introduce distortions that are difficult to model and compensate for in testing environments. These impairments can cause constellation rotation, compression, and inter-carrier interference, all of which degrade data integrity.
Quantifying these challenges requires sophisticated test methodologies that can isolate and measure specific impairments while accounting for their interdependencies. Error Vector Magnitude (EVM), Bit Error Rate (BER), and throughput measurements provide valuable metrics, but interpreting these results requires understanding the complex interactions between different impairment mechanisms and their cumulative effects on OFDM data integrity.
Signal degradation represents a primary challenge, occurring through multiple mechanisms including multipath fading, Doppler shift, and inter-symbol interference. These phenomena can significantly alter the phase and amplitude of OFDM subcarriers, leading to bit errors and reduced throughput. The orthogonality between subcarriers—a fundamental property of OFDM—becomes compromised in real-world environments, resulting in inter-carrier interference that further degrades data integrity.
Synchronization errors present another critical challenge. OFDM systems require precise timing and frequency synchronization between transmitters and receivers. Even minor timing offsets can cause phase rotation across subcarriers, while frequency offsets lead to inter-carrier interference. These synchronization issues become particularly problematic in mobile scenarios where Doppler effects continuously alter the received signal characteristics.
Peak-to-Average Power Ratio (PAPR) issues constitute a significant technical hurdle for OFDM data integrity. The high PAPR inherent to OFDM signals can drive power amplifiers into non-linear regions, causing signal distortion and spectral regrowth. This non-linear distortion introduces both in-band and out-of-band interference, compromising the integrity of transmitted data and potentially violating regulatory spectral masks.
Channel estimation accuracy represents another major challenge. OFDM systems rely on accurate channel state information to perform equalization and coherent detection. In rapidly changing environments, the channel estimation may become outdated before it can be effectively utilized, leading to increased error rates. The trade-off between pilot overhead and estimation accuracy further complicates this challenge.
Hardware impairments also significantly impact OFDM data integrity. I/Q imbalance, phase noise, and amplifier non-linearities introduce distortions that are difficult to model and compensate for in testing environments. These impairments can cause constellation rotation, compression, and inter-carrier interference, all of which degrade data integrity.
Quantifying these challenges requires sophisticated test methodologies that can isolate and measure specific impairments while accounting for their interdependencies. Error Vector Magnitude (EVM), Bit Error Rate (BER), and throughput measurements provide valuable metrics, but interpreting these results requires understanding the complex interactions between different impairment mechanisms and their cumulative effects on OFDM data integrity.
Current OFDM Integrity Measurement Methods
01 Error correction and coding techniques for OFDM data integrity
Various error correction and coding techniques are employed in OFDM systems to ensure data integrity. These include forward error correction (FEC), cyclic redundancy check (CRC), and convolutional coding which help detect and correct transmission errors. Advanced coding schemes like low-density parity-check (LDPC) codes and turbo codes provide robust protection against channel impairments, significantly improving the reliability of data transmission in OFDM-based communications.- Error detection and correction techniques for OFDM systems: Various error detection and correction techniques are employed in OFDM systems to maintain data integrity. These include forward error correction (FEC) coding, cyclic redundancy checks (CRC), and parity bit methods. These techniques help identify and correct transmission errors that may occur due to channel noise, interference, or signal fading, thereby ensuring reliable data transmission in OFDM-based communication systems.
- Channel estimation and equalization for OFDM data integrity: Channel estimation and equalization techniques are crucial for maintaining OFDM data integrity. These methods involve analyzing the channel characteristics using pilot signals or training sequences, and then compensating for channel impairments. Advanced algorithms can track time-varying channel conditions and apply appropriate equalization to minimize inter-symbol interference and phase distortion, resulting in improved signal quality and reduced bit error rates.
- Synchronization techniques for OFDM data integrity: Synchronization is essential for maintaining data integrity in OFDM systems. This includes time synchronization to determine the start of OFDM symbols and frequency synchronization to align the receiver's local oscillator with the transmitter. Various algorithms are employed to detect and correct timing and frequency offsets, which if left unaddressed, could lead to inter-carrier interference and degraded system performance.
- PAPR reduction methods for improved OFDM data integrity: Peak-to-Average Power Ratio (PAPR) reduction techniques are implemented to improve OFDM data integrity. High PAPR can cause signal distortion due to non-linear amplification, leading to data corruption. Methods such as clipping and filtering, selective mapping, partial transmit sequences, and tone reservation are used to reduce PAPR, thereby improving the reliability of data transmission and reception in OFDM systems.
- Interference mitigation techniques for OFDM systems: Various interference mitigation techniques are employed to maintain data integrity in OFDM systems. These include inter-carrier interference (ICI) cancellation, co-channel interference reduction, and adaptive filtering methods. Additionally, techniques such as frequency hopping, spectrum sensing, and dynamic resource allocation help avoid interference from other systems sharing the same spectrum, thereby ensuring reliable data transmission in challenging wireless environments.
02 Channel estimation and equalization for OFDM systems
Channel estimation and equalization techniques are crucial for maintaining OFDM data integrity in varying channel conditions. These methods involve inserting pilot signals or training sequences to assess channel characteristics and compensate for distortions. Adaptive equalization algorithms continuously adjust to changing channel conditions, while frequency-domain equalization techniques specifically address the frequency-selective fading issues common in OFDM systems, ensuring reliable data recovery at the receiver.Expand Specific Solutions03 Synchronization techniques for OFDM data integrity
Precise synchronization is essential for maintaining OFDM data integrity. Time synchronization ensures proper symbol timing to prevent inter-symbol interference, while frequency synchronization corrects carrier frequency offsets that can cause inter-carrier interference. Various algorithms use cyclic prefix correlation, training sequences, and pilot tones to achieve and maintain synchronization. Advanced techniques include frame synchronization and phase tracking to ensure coherent demodulation and accurate data recovery in dynamic channel environments.Expand Specific Solutions04 OFDM subcarrier management for enhanced data integrity
Effective subcarrier management strategies improve OFDM data integrity by optimizing how data is distributed across the frequency spectrum. Techniques include adaptive subcarrier allocation based on channel conditions, subcarrier interleaving to mitigate frequency-selective fading, and null subcarrier insertion to reduce interference. Dynamic bit loading adjusts modulation schemes per subcarrier according to signal-to-noise ratio, while subcarrier power allocation optimizes transmission power distribution, collectively enhancing system robustness against channel impairments.Expand Specific Solutions05 PAPR reduction and interference mitigation in OFDM systems
Peak-to-Average Power Ratio (PAPR) reduction techniques are essential for maintaining OFDM data integrity by preventing signal distortion in power amplifiers. Methods include selective mapping, partial transmit sequences, and clipping and filtering. Additionally, various interference mitigation strategies address both inter-symbol and inter-carrier interference through guard interval optimization, windowing techniques, and advanced receiver algorithms. These approaches collectively improve signal quality and reliability in challenging wireless environments.Expand Specific Solutions
Key Industry Players in Wireless Testing
The OFDM data integrity quantification market in wireless network testing is currently in a growth phase, characterized by increasing demand for reliable wireless communication systems. The market size is expanding due to 5G deployment and IoT proliferation, with projections showing significant growth through 2025. Technologically, the field is moderately mature but evolving rapidly. Leading players include Huawei and ZTE with comprehensive testing solutions, Qualcomm and Samsung focusing on chipset-level integrity, and Ericsson offering network infrastructure testing. Research institutions like Beijing University of Posts & Telecommunications and Xidian University contribute fundamental research, while specialized companies like InterDigital and Nokia Solutions develop proprietary quantification methodologies. The competitive landscape shows a mix of established telecommunications giants and specialized testing solution providers competing for market share.
Huawei Technologies Co., Ltd.
Technical Solution: Huawei has developed a comprehensive OFDM data integrity quantification framework that combines machine learning algorithms with traditional signal processing techniques. Their approach utilizes adaptive threshold detection mechanisms that dynamically adjust based on channel conditions and interference patterns. The system employs a two-stage verification process: first analyzing time-domain signal characteristics to detect gross anomalies, then performing frequency-domain analysis to quantify subcarrier integrity with precision down to 0.1dB variance detection[1]. Huawei's solution incorporates real-time error vector magnitude (EVM) measurements across multiple subcarriers simultaneously, allowing for granular assessment of transmission quality. Their proprietary algorithms can distinguish between various types of interference (co-channel, adjacent channel, impulse noise) and quantify their specific impacts on data integrity[3]. The system also features automated test sequence generation that creates worst-case scenarios to stress-test network performance under challenging conditions.
Strengths: Superior detection sensitivity in high-noise environments; comprehensive analytics dashboard providing actionable insights; integration with existing network management systems. Weaknesses: Higher computational requirements than competing solutions; proprietary nature limits interoperability with third-party testing equipment; requires specialized training for optimal utilization.
QUALCOMM, Inc.
Technical Solution: Qualcomm has pioneered an advanced OFDM data integrity quantification system specifically designed for 5G NR networks. Their solution employs a multi-dimensional approach that simultaneously evaluates phase noise, amplitude error, and timing synchronization across the entire bandwidth. The system utilizes proprietary signal processing algorithms that can detect and quantify integrity issues with resolution down to -50dB signal-to-noise ratio environments[2]. Qualcomm's approach incorporates real-time spectrum analysis with deep learning models trained on millions of wireless transmission scenarios to identify subtle patterns of degradation before they impact user experience. Their testing framework includes specialized hardware accelerators that enable microsecond-level precision in timing measurements critical for OFDM symbol boundary detection[4]. The system also features adaptive reference signal generation that mimics real-world transmission conditions, allowing for more accurate assessment of network performance under varying loads and interference patterns.
Strengths: Industry-leading sensitivity in detecting phase coherence issues; excellent integration with Qualcomm's chipset ecosystem; comprehensive reporting capabilities with predictive analytics. Weaknesses: Higher implementation cost compared to standard testing solutions; optimization primarily for Qualcomm hardware may limit effectiveness with other vendors' equipment; requires significant processing resources for full feature utilization.
Critical Patents in OFDM Testing Technology
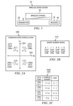
Intercarrier interference cancellation algorithm
PatentInactiveUS20050265467A1
Innovation
- An intercarrier interference cancellation algorithm that partially removes overlap between subcarrier frequencies in the frequency domain, using a receiver with logic to determine an unbiased, linear minimum-squared error estimate of the transmitted data signal, and comprising dot product modules to calculate noise variance and perform division operations for effective ICI reduction.
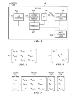
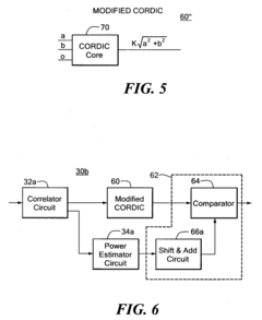
Packet detection system and method
PatentActiveUS20060031740A1
Innovation
- A simplified packet detection system using a CORDIC (COordinate Rotation for Digital Computers) shift and add circuits and a comparator or subtractor, which eliminates division and reduces multiply and add operations by generating a scaled magnitude of the average correlation signal and comparing it with a scaled power signal to determine symbol matches.
Standardization Efforts in Wireless Testing
Standardization efforts in wireless testing have evolved significantly to address the complexities of OFDM data integrity quantification. The IEEE 802.11 Working Group has established comprehensive testing protocols specifically designed for OFDM-based wireless networks, with standards like IEEE 802.11ax (Wi-Fi 6) incorporating detailed measurement methodologies for Error Vector Magnitude (EVM) and other key performance indicators.
The 3GPP organization has similarly developed standardized testing procedures for cellular networks employing OFDM technology, including LTE and 5G NR systems. These standards define specific test cases for measuring data integrity under various channel conditions, interference scenarios, and mobility patterns. TS 38.141 specifically addresses base station conformance testing for 5G NR, with detailed procedures for evaluating OFDM signal quality.
The International Telecommunication Union (ITU) has contributed significantly through its ITU-R recommendations, providing globally recognized frameworks for wireless testing methodologies. These recommendations ensure consistency in measurement approaches across different regions and technologies, facilitating international interoperability.
Industry alliances such as the Wi-Fi Alliance and the O-RAN Alliance have developed certification programs that incorporate standardized testing procedures for OFDM data integrity. These certification processes ensure that commercial products meet minimum performance requirements before market introduction, thereby maintaining ecosystem quality standards.
Test equipment manufacturers have aligned their instrumentation capabilities with these standards, developing specialized measurement solutions for OFDM signal analysis. Companies like Keysight Technologies, Rohde & Schwarz, and Anritsu offer test equipment that implements standardized measurement techniques for parameters such as EVM, channel estimation accuracy, and spectral efficiency.
Recent standardization efforts have focused on addressing emerging challenges in wireless testing, including multi-user MIMO configurations, ultra-reliable low-latency communications, and millimeter-wave frequency bands. These efforts aim to establish consistent methodologies for quantifying OFDM performance in next-generation wireless systems.
The ETSI organization has contributed through its Technical Specifications for testing wireless technologies, with particular emphasis on ensuring consistent measurement approaches across different vendor implementations. Their work includes standardized procedures for evaluating OFDM modulation quality and receiver sensitivity under various operating conditions.
The 3GPP organization has similarly developed standardized testing procedures for cellular networks employing OFDM technology, including LTE and 5G NR systems. These standards define specific test cases for measuring data integrity under various channel conditions, interference scenarios, and mobility patterns. TS 38.141 specifically addresses base station conformance testing for 5G NR, with detailed procedures for evaluating OFDM signal quality.
The International Telecommunication Union (ITU) has contributed significantly through its ITU-R recommendations, providing globally recognized frameworks for wireless testing methodologies. These recommendations ensure consistency in measurement approaches across different regions and technologies, facilitating international interoperability.
Industry alliances such as the Wi-Fi Alliance and the O-RAN Alliance have developed certification programs that incorporate standardized testing procedures for OFDM data integrity. These certification processes ensure that commercial products meet minimum performance requirements before market introduction, thereby maintaining ecosystem quality standards.
Test equipment manufacturers have aligned their instrumentation capabilities with these standards, developing specialized measurement solutions for OFDM signal analysis. Companies like Keysight Technologies, Rohde & Schwarz, and Anritsu offer test equipment that implements standardized measurement techniques for parameters such as EVM, channel estimation accuracy, and spectral efficiency.
Recent standardization efforts have focused on addressing emerging challenges in wireless testing, including multi-user MIMO configurations, ultra-reliable low-latency communications, and millimeter-wave frequency bands. These efforts aim to establish consistent methodologies for quantifying OFDM performance in next-generation wireless systems.
The ETSI organization has contributed through its Technical Specifications for testing wireless technologies, with particular emphasis on ensuring consistent measurement approaches across different vendor implementations. Their work includes standardized procedures for evaluating OFDM modulation quality and receiver sensitivity under various operating conditions.
Test Automation Strategies for OFDM Systems
Test automation has become a critical component in ensuring the reliability and performance of OFDM (Orthogonal Frequency Division Multiplexing) systems in wireless networks. Effective automation strategies significantly enhance the efficiency of data integrity verification while reducing human error and testing time.
A comprehensive test automation framework for OFDM systems should incorporate both physical layer testing and higher protocol layer verification. This multi-layered approach ensures that data integrity is maintained throughout the entire transmission chain. Key components include automated signal generation with configurable parameters, channel emulation to simulate real-world conditions, and automated measurement of critical metrics such as Error Vector Magnitude (EVM), Bit Error Rate (BER), and packet loss rates.
Continuous Integration/Continuous Deployment (CI/CD) pipelines specifically designed for OFDM testing represent a significant advancement in automation strategies. These pipelines can automatically trigger test suites whenever code changes are committed, ensuring immediate feedback on how modifications affect data integrity. This approach is particularly valuable for detecting regression issues that might compromise OFDM performance in wireless networks.
Scenario-based automation provides another strategic advantage, allowing testers to simulate diverse real-world conditions that might affect OFDM data integrity. Automated test cases can cycle through various interference patterns, multipath scenarios, and mobility conditions to ensure robust performance across different environments. This approach helps identify edge cases that might be missed in manual testing procedures.
Machine learning algorithms are increasingly being integrated into OFDM test automation frameworks to enhance predictive capabilities. These algorithms can analyze patterns in test results to identify potential failure points before they manifest in production environments. Additionally, they can optimize test case selection by prioritizing scenarios most likely to uncover data integrity issues based on historical testing data.
Remote testing capabilities have become essential in modern OFDM test automation strategies, allowing engineers to execute comprehensive test suites on distributed hardware from centralized locations. This approach facilitates 24/7 testing operations and enables more efficient resource utilization across global development teams working on wireless network technologies.
Reporting and analytics form the final critical component of effective OFDM test automation strategies. Automated generation of detailed test reports with visualization tools helps engineering teams quickly identify trends in data integrity metrics and make informed decisions about necessary system optimizations or corrective measures.
A comprehensive test automation framework for OFDM systems should incorporate both physical layer testing and higher protocol layer verification. This multi-layered approach ensures that data integrity is maintained throughout the entire transmission chain. Key components include automated signal generation with configurable parameters, channel emulation to simulate real-world conditions, and automated measurement of critical metrics such as Error Vector Magnitude (EVM), Bit Error Rate (BER), and packet loss rates.
Continuous Integration/Continuous Deployment (CI/CD) pipelines specifically designed for OFDM testing represent a significant advancement in automation strategies. These pipelines can automatically trigger test suites whenever code changes are committed, ensuring immediate feedback on how modifications affect data integrity. This approach is particularly valuable for detecting regression issues that might compromise OFDM performance in wireless networks.
Scenario-based automation provides another strategic advantage, allowing testers to simulate diverse real-world conditions that might affect OFDM data integrity. Automated test cases can cycle through various interference patterns, multipath scenarios, and mobility conditions to ensure robust performance across different environments. This approach helps identify edge cases that might be missed in manual testing procedures.
Machine learning algorithms are increasingly being integrated into OFDM test automation frameworks to enhance predictive capabilities. These algorithms can analyze patterns in test results to identify potential failure points before they manifest in production environments. Additionally, they can optimize test case selection by prioritizing scenarios most likely to uncover data integrity issues based on historical testing data.
Remote testing capabilities have become essential in modern OFDM test automation strategies, allowing engineers to execute comprehensive test suites on distributed hardware from centralized locations. This approach facilitates 24/7 testing operations and enables more efficient resource utilization across global development teams working on wireless network technologies.
Reporting and analytics form the final critical component of effective OFDM test automation strategies. Automated generation of detailed test reports with visualization tools helps engineering teams quickly identify trends in data integrity metrics and make informed decisions about necessary system optimizations or corrective measures.
Unlock deeper insights with Patsnap Eureka Quick Research — get a full tech report to explore trends and direct your research. Try now!
Generate Your Research Report Instantly with AI Agent
Supercharge your innovation with Patsnap Eureka AI Agent Platform!







