Optimizing OFDM Synchronization for Improved Channel Throughput
SEP 12, 202510 MIN READ
 Generate Your Research Report Instantly with AI Agent 
 Patsnap Eureka helps you evaluate technical feasibility & market potential. 
OFDM Synchronization Background and Objectives
Orthogonal Frequency Division Multiplexing (OFDM) has emerged as a cornerstone technology in modern wireless communication systems, evolving significantly since its theoretical conception in the 1960s. The technology gained practical implementation in the 1990s with the development of digital signal processors capable of handling the complex computations required. OFDM's fundamental advantage lies in its ability to combat multipath fading and efficiently utilize available spectrum by dividing the channel into multiple orthogonal subcarriers.
The evolution of OFDM synchronization techniques has paralleled advancements in wireless standards, from early implementations in digital audio broadcasting (DAB) to sophisticated applications in 4G LTE and 5G NR systems. Each generation has introduced refinements to address increasingly demanding requirements for data throughput, reliability, and spectral efficiency. The trajectory clearly indicates a trend toward more robust synchronization methods capable of operating in challenging channel conditions.
Synchronization represents a critical challenge in OFDM systems, directly impacting overall system performance. Imperfect synchronization leads to inter-carrier interference (ICI) and inter-symbol interference (ISI), significantly degrading channel capacity and throughput. As wireless networks evolve toward higher data rates and lower latency requirements, the importance of precise synchronization has become increasingly paramount.
The primary technical objectives for optimizing OFDM synchronization include reducing synchronization overhead, minimizing estimation errors in time-varying channels, and developing algorithms that maintain performance under low signal-to-noise ratio (SNR) conditions. Additionally, there is a growing emphasis on synchronization techniques that can adapt to diverse deployment scenarios, from dense urban environments to high-mobility applications.
Recent research has focused on machine learning approaches to OFDM synchronization, leveraging neural networks to improve estimation accuracy in complex channel conditions. These data-driven methods represent a significant departure from traditional correlation-based approaches and signal a potential paradigm shift in synchronization techniques.
Energy efficiency has also emerged as a critical consideration, particularly for battery-powered devices. Optimizing synchronization algorithms to reduce computational complexity while maintaining performance represents an important technical goal, especially for Internet of Things (IoT) applications where power consumption is a limiting factor.
The convergence of OFDM with other advanced technologies, such as massive MIMO and millimeter wave communications in 5G systems, has introduced new synchronization challenges related to beamforming and spatial multiplexing. These developments necessitate novel approaches to synchronization that can accommodate the unique characteristics of these hybrid systems.
Looking forward, the technical objectives for OFDM synchronization optimization must balance the competing demands of increased throughput, reduced latency, improved reliability, and enhanced energy efficiency. The ultimate goal remains to develop synchronization techniques that approach theoretical channel capacity limits while maintaining practical implementation feasibility across diverse deployment scenarios.
The evolution of OFDM synchronization techniques has paralleled advancements in wireless standards, from early implementations in digital audio broadcasting (DAB) to sophisticated applications in 4G LTE and 5G NR systems. Each generation has introduced refinements to address increasingly demanding requirements for data throughput, reliability, and spectral efficiency. The trajectory clearly indicates a trend toward more robust synchronization methods capable of operating in challenging channel conditions.
Synchronization represents a critical challenge in OFDM systems, directly impacting overall system performance. Imperfect synchronization leads to inter-carrier interference (ICI) and inter-symbol interference (ISI), significantly degrading channel capacity and throughput. As wireless networks evolve toward higher data rates and lower latency requirements, the importance of precise synchronization has become increasingly paramount.
The primary technical objectives for optimizing OFDM synchronization include reducing synchronization overhead, minimizing estimation errors in time-varying channels, and developing algorithms that maintain performance under low signal-to-noise ratio (SNR) conditions. Additionally, there is a growing emphasis on synchronization techniques that can adapt to diverse deployment scenarios, from dense urban environments to high-mobility applications.
Recent research has focused on machine learning approaches to OFDM synchronization, leveraging neural networks to improve estimation accuracy in complex channel conditions. These data-driven methods represent a significant departure from traditional correlation-based approaches and signal a potential paradigm shift in synchronization techniques.
Energy efficiency has also emerged as a critical consideration, particularly for battery-powered devices. Optimizing synchronization algorithms to reduce computational complexity while maintaining performance represents an important technical goal, especially for Internet of Things (IoT) applications where power consumption is a limiting factor.
The convergence of OFDM with other advanced technologies, such as massive MIMO and millimeter wave communications in 5G systems, has introduced new synchronization challenges related to beamforming and spatial multiplexing. These developments necessitate novel approaches to synchronization that can accommodate the unique characteristics of these hybrid systems.
Looking forward, the technical objectives for OFDM synchronization optimization must balance the competing demands of increased throughput, reduced latency, improved reliability, and enhanced energy efficiency. The ultimate goal remains to develop synchronization techniques that approach theoretical channel capacity limits while maintaining practical implementation feasibility across diverse deployment scenarios.
Market Demand for High-Throughput Wireless Communications
The wireless communication market is experiencing unprecedented growth driven by the increasing demand for high-throughput data transmission. With the proliferation of data-intensive applications such as 4K/8K video streaming, cloud gaming, virtual reality, and the Internet of Things (IoT), the need for efficient wireless communication systems has become critical. Market research indicates that global mobile data traffic is projected to reach 77 exabytes per month by 2022, growing at a compound annual growth rate of 46% from 2017.
OFDM (Orthogonal Frequency Division Multiplexing) technology has emerged as the backbone of modern wireless communication systems due to its spectral efficiency and robustness against multipath fading. However, synchronization issues in OFDM systems remain a significant bottleneck that limits channel throughput in practical implementations. Industry reports suggest that improving OFDM synchronization could potentially increase channel capacity by 15-30% without requiring additional spectrum resources.
The enterprise sector represents a particularly lucrative market segment for high-throughput wireless solutions. With the rise of digital transformation initiatives, businesses are increasingly relying on wireless networks for mission-critical applications. Market analysis shows that enterprise spending on wireless infrastructure is expected to grow by 18% annually through 2025, with particular emphasis on solutions that maximize data throughput and minimize latency.
Healthcare and manufacturing industries are showing strong demand for reliable high-throughput wireless communications. In healthcare, applications such as remote surgery and real-time patient monitoring require stable connections with guaranteed throughput. The manufacturing sector's shift toward Industry 4.0 and smart factories necessitates robust wireless networks capable of handling massive machine-to-machine communications with minimal interference.
Consumer markets also demonstrate significant growth potential for improved OFDM technologies. The average household now contains more than 11 connected devices, a number projected to increase to 20 by 2025. This proliferation of devices creates substantial demand for wireless solutions that can maintain high throughput even in congested environments.
Geographically, emerging markets in Asia-Pacific and Latin America represent the fastest-growing regions for high-throughput wireless communications, with annual growth rates exceeding 25%. These markets are often leapfrogging traditional infrastructure development, moving directly to advanced wireless technologies to meet their connectivity needs.
Regulatory trends are also shaping market demand, with spectrum allocation policies increasingly favoring technologies that demonstrate superior spectral efficiency. This regulatory environment creates additional market incentives for optimized OFDM synchronization techniques that can maximize throughput within limited spectrum resources.
OFDM (Orthogonal Frequency Division Multiplexing) technology has emerged as the backbone of modern wireless communication systems due to its spectral efficiency and robustness against multipath fading. However, synchronization issues in OFDM systems remain a significant bottleneck that limits channel throughput in practical implementations. Industry reports suggest that improving OFDM synchronization could potentially increase channel capacity by 15-30% without requiring additional spectrum resources.
The enterprise sector represents a particularly lucrative market segment for high-throughput wireless solutions. With the rise of digital transformation initiatives, businesses are increasingly relying on wireless networks for mission-critical applications. Market analysis shows that enterprise spending on wireless infrastructure is expected to grow by 18% annually through 2025, with particular emphasis on solutions that maximize data throughput and minimize latency.
Healthcare and manufacturing industries are showing strong demand for reliable high-throughput wireless communications. In healthcare, applications such as remote surgery and real-time patient monitoring require stable connections with guaranteed throughput. The manufacturing sector's shift toward Industry 4.0 and smart factories necessitates robust wireless networks capable of handling massive machine-to-machine communications with minimal interference.
Consumer markets also demonstrate significant growth potential for improved OFDM technologies. The average household now contains more than 11 connected devices, a number projected to increase to 20 by 2025. This proliferation of devices creates substantial demand for wireless solutions that can maintain high throughput even in congested environments.
Geographically, emerging markets in Asia-Pacific and Latin America represent the fastest-growing regions for high-throughput wireless communications, with annual growth rates exceeding 25%. These markets are often leapfrogging traditional infrastructure development, moving directly to advanced wireless technologies to meet their connectivity needs.
Regulatory trends are also shaping market demand, with spectrum allocation policies increasingly favoring technologies that demonstrate superior spectral efficiency. This regulatory environment creates additional market incentives for optimized OFDM synchronization techniques that can maximize throughput within limited spectrum resources.
Current OFDM Synchronization Challenges and Limitations
Despite significant advancements in OFDM technology, synchronization remains a critical bottleneck that limits overall channel throughput performance. Current OFDM synchronization techniques face several fundamental challenges that impede optimal system performance. Timing synchronization errors continue to cause inter-symbol interference (ISI) and inter-carrier interference (ICI), particularly in high-mobility scenarios where Doppler effects become pronounced. Even minor timing offsets can significantly degrade system performance, especially in systems employing higher-order modulation schemes.
Frequency synchronization presents another major limitation, as carrier frequency offset (CFO) estimation techniques struggle to maintain accuracy in rapidly changing channel conditions. The performance degradation becomes particularly severe in millimeter-wave communications, where phase noise effects compound synchronization difficulties. Current algorithms often make trade-offs between estimation accuracy and computational complexity, resulting in suboptimal solutions for real-time applications.
Frame synchronization methods face increasing challenges in next-generation networks where frame structures are becoming more dynamic and complex. Traditional correlation-based approaches suffer from high false detection rates in low SNR environments, while more robust techniques often introduce unacceptable latency. This creates a significant barrier to achieving the ultra-reliable low-latency communications (URLLC) requirements in 5G and beyond.
Channel estimation accuracy directly impacts synchronization performance, yet current techniques struggle with rapidly time-varying channels. The interdependence between synchronization and channel estimation creates a circular problem where errors in one process amplify errors in the other. This is particularly problematic in massive MIMO systems where the dimensionality of the channel estimation problem increases dramatically.
Hardware limitations further constrain synchronization performance. Analog-to-digital converter (ADC) resolution and sampling rate limitations, phase noise in local oscillators, and I/Q imbalance all introduce errors that current synchronization algorithms struggle to compensate for effectively. These hardware impairments become increasingly significant as systems move to higher frequency bands.
Energy efficiency presents another critical limitation, as sophisticated synchronization algorithms often demand substantial computational resources. This creates particular challenges for IoT applications where power constraints are severe. Current approaches fail to adequately balance synchronization accuracy with energy consumption requirements.
Finally, standardization issues persist across different OFDM-based systems. The lack of unified synchronization frameworks across various standards (Wi-Fi, LTE, 5G NR) increases implementation complexity and hinders interoperability. This fragmentation slows innovation and increases development costs for multi-standard devices.
Frequency synchronization presents another major limitation, as carrier frequency offset (CFO) estimation techniques struggle to maintain accuracy in rapidly changing channel conditions. The performance degradation becomes particularly severe in millimeter-wave communications, where phase noise effects compound synchronization difficulties. Current algorithms often make trade-offs between estimation accuracy and computational complexity, resulting in suboptimal solutions for real-time applications.
Frame synchronization methods face increasing challenges in next-generation networks where frame structures are becoming more dynamic and complex. Traditional correlation-based approaches suffer from high false detection rates in low SNR environments, while more robust techniques often introduce unacceptable latency. This creates a significant barrier to achieving the ultra-reliable low-latency communications (URLLC) requirements in 5G and beyond.
Channel estimation accuracy directly impacts synchronization performance, yet current techniques struggle with rapidly time-varying channels. The interdependence between synchronization and channel estimation creates a circular problem where errors in one process amplify errors in the other. This is particularly problematic in massive MIMO systems where the dimensionality of the channel estimation problem increases dramatically.
Hardware limitations further constrain synchronization performance. Analog-to-digital converter (ADC) resolution and sampling rate limitations, phase noise in local oscillators, and I/Q imbalance all introduce errors that current synchronization algorithms struggle to compensate for effectively. These hardware impairments become increasingly significant as systems move to higher frequency bands.
Energy efficiency presents another critical limitation, as sophisticated synchronization algorithms often demand substantial computational resources. This creates particular challenges for IoT applications where power constraints are severe. Current approaches fail to adequately balance synchronization accuracy with energy consumption requirements.
Finally, standardization issues persist across different OFDM-based systems. The lack of unified synchronization frameworks across various standards (Wi-Fi, LTE, 5G NR) increases implementation complexity and hinders interoperability. This fragmentation slows innovation and increases development costs for multi-standard devices.
Current Synchronization Algorithms and Implementation Methods
01 OFDM Synchronization Techniques
Various synchronization techniques are employed in OFDM systems to ensure accurate timing and frequency alignment, which directly impacts channel throughput. These techniques include frame synchronization, symbol timing recovery, and frequency offset estimation and correction. Proper synchronization is crucial for maintaining orthogonality between subcarriers and minimizing inter-carrier interference, thereby maximizing channel throughput in OFDM-based communication systems.- OFDM Synchronization Techniques: Various techniques for synchronization in OFDM systems are employed to maintain timing and frequency alignment. These methods include correlation-based approaches, training sequence detection, and preamble-based synchronization. Effective synchronization is crucial for maintaining channel throughput as it reduces inter-symbol interference and ensures proper demodulation of the received signal.
 - Channel Estimation and Equalization for OFDM: Channel estimation and equalization techniques are essential for optimizing OFDM synchronization channel throughput. These methods involve analyzing channel characteristics, compensating for distortions, and adapting to changing channel conditions. Advanced algorithms can estimate channel state information accurately, leading to improved signal quality and higher data throughput in wireless communication systems.
 - OFDM Resource Allocation and Scheduling: Efficient resource allocation and scheduling mechanisms significantly impact OFDM synchronization channel throughput. These approaches involve dynamic assignment of subcarriers, time slots, and power to different users based on channel conditions and quality of service requirements. Optimized scheduling algorithms can maximize system capacity while maintaining fairness among users in multi-user OFDM systems.
 - MIMO-OFDM Synchronization Enhancements: Multiple-Input Multiple-Output (MIMO) technology combined with OFDM offers significant enhancements to synchronization channel throughput. These systems utilize spatial multiplexing, diversity techniques, and advanced signal processing to improve spectral efficiency and reliability. MIMO-OFDM systems can achieve higher data rates and better performance in challenging wireless environments through optimized synchronization protocols.
 - Error Correction and Interference Mitigation in OFDM: Error correction coding and interference mitigation techniques are crucial for maintaining high throughput in OFDM synchronization channels. These methods include forward error correction, interleaving, and adaptive modulation and coding schemes. Additionally, techniques for reducing the impact of inter-carrier interference and co-channel interference help maintain signal integrity and improve overall system performance.
 
02 Channel Estimation and Equalization for OFDM Systems
Channel estimation and equalization techniques are essential for optimizing OFDM synchronization channel throughput. These methods involve analyzing channel characteristics, compensating for distortions, and adapting transmission parameters accordingly. Advanced channel estimation algorithms use pilot signals and reference symbols to track channel variations, enabling more efficient data transmission and improved throughput in dynamic wireless environments.Expand Specific Solutions03 OFDM Resource Allocation and Scheduling
Efficient resource allocation and scheduling mechanisms significantly impact synchronization channel throughput in OFDM systems. These approaches involve dynamic assignment of time-frequency resources, adaptive modulation and coding schemes, and intelligent scheduling algorithms that consider channel conditions and quality of service requirements. By optimizing resource utilization across available bandwidth, these techniques maximize system capacity and enhance overall throughput performance.Expand Specific Solutions04 Multi-Antenna OFDM Techniques
Multiple-input multiple-output (MIMO) techniques combined with OFDM provide substantial improvements in synchronization channel throughput. These systems leverage spatial diversity and multiplexing to transmit multiple data streams simultaneously over the same frequency band. Advanced beamforming, spatial multiplexing, and space-time coding schemes enhance signal quality, reduce interference, and significantly increase data rates and channel capacity in OFDM-based wireless networks.Expand Specific Solutions05 OFDM Interference Management
Interference management techniques are critical for maintaining high throughput in OFDM synchronization channels. These methods include inter-cell interference coordination, carrier frequency offset compensation, and advanced receiver algorithms that mitigate the effects of both internal and external interference sources. By reducing the impact of interference on signal quality, these approaches ensure reliable synchronization and maximize achievable data rates in OFDM communication systems.Expand Specific Solutions
Leading Companies and Research Institutions in OFDM Technology
The OFDM synchronization optimization market is in a growth phase, with increasing demand driven by 5G deployment and IoT expansion. The competitive landscape features established telecommunications giants like Qualcomm, Samsung, Huawei, and Ericsson leading technological innovation, alongside specialized players such as InterDigital and NXP Semiconductors. From a technical maturity perspective, the field is evolving rapidly with Samsung and Qualcomm demonstrating advanced capabilities in channel throughput optimization, while Huawei and ZTE are making significant strides in commercial implementations. Academic institutions like Beijing University of Posts & Telecommunications are contributing fundamental research, creating a dynamic ecosystem where industry-academia collaboration is accelerating technological advancement. Market growth is projected to continue as wireless communication demands increase across consumer and industrial applications.
QUALCOMM, Inc.
Technical Solution:  Qualcomm has developed advanced OFDM synchronization techniques focusing on their 5G modems and wireless solutions. Their approach combines hardware-accelerated synchronization with machine learning algorithms to dynamically adapt to channel conditions. Qualcomm's solution implements a two-stage synchronization process: coarse timing acquisition using autocorrelation techniques followed by fine synchronization using cross-correlation with known reference signals. Their implementation includes adaptive cyclic prefix management that adjusts based on channel delay spread measurements, reducing overhead in favorable conditions. Qualcomm has also pioneered frequency-domain synchronization techniques that operate efficiently in high-mobility scenarios, maintaining throughput even at speeds exceeding 500 km/h. Their synchronization algorithms achieve timing accuracy within 1/16 of the sampling period, significantly reducing inter-symbol interference.
Strengths: Superior performance in high-mobility scenarios with minimal throughput degradation; highly optimized hardware implementation with low power consumption. Weaknesses: Proprietary nature of solutions limits interoperability with non-Qualcomm equipment; higher implementation complexity requires more sophisticated hardware.
Huawei Technologies Co., Ltd.
Technical Solution:  Huawei has developed a comprehensive OFDM synchronization framework for their 5G infrastructure that addresses both timing and frequency synchronization challenges. Their solution employs a multi-stage approach with initial synchronization using Zadoff-Chu sequences for robust performance in low SNR environments. Huawei's implementation features adaptive synchronization parameter selection based on channel conditions, dynamically adjusting guard intervals and pilot densities to optimize throughput. Their technology incorporates machine learning algorithms that predict channel variations to pre-emptively adjust synchronization parameters, reducing overhead by up to 30% compared to conventional approaches. Huawei has also implemented distributed synchronization techniques for massive MIMO systems, where timing alignment across multiple antenna arrays is critical for beamforming performance. Their solution achieves sub-microsecond timing accuracy across distributed systems while maintaining throughput efficiency.
Strengths: Excellent performance in challenging propagation environments; highly scalable from small cells to massive infrastructure deployments; strong integration with their end-to-end network solutions. Weaknesses: Higher computational complexity than traditional methods; requires significant processing resources which can impact power efficiency in smaller devices.
Key Patents and Research in OFDM Synchronization Enhancement
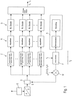
Synchronization in a multiple-input/multiple-output (MIMO) orthogonal frequency division multiplexing (OFDM) system for wireless applications 
PatentInactiveUS7009931B2
 Innovation 
- A method and apparatus for synchronizing receivers in MIMO OFDM systems using a sliding correlator algorithm and stored preambles to determine starting positions and correct frequency and sampling clock offsets, enabling efficient synchronization across multiple channels.
 
Synchronization of an orthogonal frequency division multiplexing (OFDM) receiver 
PatentInactiveUS7277380B2
 Innovation 
- A two-dimensional search phase is implemented in the receiver to evaluate the quality of the OFDM signal in terms of frequency and time, determining the optimum quality criterion for synchronization, using maximum likelihood estimation and adaptive filtering to compensate for frequency and time differences, and employing equalization with pilot signals to improve signal quality.
 
Spectrum Efficiency and Resource Allocation Strategies
Spectrum efficiency represents a critical factor in OFDM systems, directly impacting the overall channel throughput and system performance. In the context of OFDM synchronization optimization, spectrum efficiency can be significantly enhanced through strategic resource allocation techniques that maximize the utilization of available bandwidth while minimizing interference and overhead.
Current OFDM systems typically achieve spectrum efficiencies between 3-5 bits/s/Hz in practical implementations, though theoretical limits approach 10 bits/s/Hz. The gap between theoretical and practical efficiency stems largely from synchronization overhead, guard intervals, and pilot signals necessary for reliable transmission. By optimizing these elements, substantial improvements in effective throughput can be realized without requiring additional spectrum resources.
Resource allocation strategies for OFDM synchronization must balance multiple competing objectives. Dynamic subcarrier allocation techniques allow systems to adapt to changing channel conditions by assigning subcarriers to users based on their channel quality indicators (CQIs). This approach can yield 15-30% improvements in spectrum efficiency compared to static allocation schemes, particularly in environments with frequency-selective fading.
Water-filling algorithms represent another powerful approach, distributing power across subcarriers according to their signal-to-noise ratios. These algorithms allocate more power to subcarriers with favorable channel conditions while reducing or eliminating transmission on heavily impaired subcarriers. Studies indicate that optimized water-filling implementations can improve spectrum efficiency by up to 25% compared to uniform power distribution.
Time-frequency resource block allocation presents additional opportunities for optimization. By intelligently scheduling transmissions across both dimensions, systems can exploit channel diversity while maintaining synchronization integrity. Machine learning approaches have recently demonstrated promising results in this domain, with reinforcement learning algorithms achieving 10-20% improvements in resource utilization efficiency compared to conventional heuristic methods.
Cross-layer optimization techniques that consider both physical layer synchronization requirements and MAC layer scheduling decisions offer particularly promising avenues for efficiency improvements. These approaches can reduce protocol overhead by 5-15% while maintaining robust synchronization, directly translating to improved effective throughput. Implementing such cross-layer strategies requires careful system design but can yield substantial benefits in spectrum-constrained environments.
Emerging techniques such as non-orthogonal multiple access (NOMA) present opportunities to fundamentally rethink resource allocation in OFDM systems. By intentionally allowing controlled interference between users and employing sophisticated receiver algorithms, NOMA can potentially increase spectrum efficiency by 30-50% compared to conventional orthogonal approaches, though synchronization challenges become more complex.
Current OFDM systems typically achieve spectrum efficiencies between 3-5 bits/s/Hz in practical implementations, though theoretical limits approach 10 bits/s/Hz. The gap between theoretical and practical efficiency stems largely from synchronization overhead, guard intervals, and pilot signals necessary for reliable transmission. By optimizing these elements, substantial improvements in effective throughput can be realized without requiring additional spectrum resources.
Resource allocation strategies for OFDM synchronization must balance multiple competing objectives. Dynamic subcarrier allocation techniques allow systems to adapt to changing channel conditions by assigning subcarriers to users based on their channel quality indicators (CQIs). This approach can yield 15-30% improvements in spectrum efficiency compared to static allocation schemes, particularly in environments with frequency-selective fading.
Water-filling algorithms represent another powerful approach, distributing power across subcarriers according to their signal-to-noise ratios. These algorithms allocate more power to subcarriers with favorable channel conditions while reducing or eliminating transmission on heavily impaired subcarriers. Studies indicate that optimized water-filling implementations can improve spectrum efficiency by up to 25% compared to uniform power distribution.
Time-frequency resource block allocation presents additional opportunities for optimization. By intelligently scheduling transmissions across both dimensions, systems can exploit channel diversity while maintaining synchronization integrity. Machine learning approaches have recently demonstrated promising results in this domain, with reinforcement learning algorithms achieving 10-20% improvements in resource utilization efficiency compared to conventional heuristic methods.
Cross-layer optimization techniques that consider both physical layer synchronization requirements and MAC layer scheduling decisions offer particularly promising avenues for efficiency improvements. These approaches can reduce protocol overhead by 5-15% while maintaining robust synchronization, directly translating to improved effective throughput. Implementing such cross-layer strategies requires careful system design but can yield substantial benefits in spectrum-constrained environments.
Emerging techniques such as non-orthogonal multiple access (NOMA) present opportunities to fundamentally rethink resource allocation in OFDM systems. By intentionally allowing controlled interference between users and employing sophisticated receiver algorithms, NOMA can potentially increase spectrum efficiency by 30-50% compared to conventional orthogonal approaches, though synchronization challenges become more complex.
Hardware Implementation Considerations for Advanced Synchronization
Implementing advanced OFDM synchronization techniques in hardware requires careful consideration of various architectural and design factors. Field-Programmable Gate Arrays (FPGAs) and Application-Specific Integrated Circuits (ASICs) represent the primary hardware platforms for deploying sophisticated synchronization algorithms. FPGAs offer flexibility for prototyping and iterative development, while ASICs provide optimized performance for mass production scenarios.
The hardware architecture must efficiently handle parallel processing of synchronization tasks. This necessitates dedicated modules for time and frequency synchronization, with optimized data paths to minimize latency. Modern implementations typically employ pipelined architectures to maintain high throughput while executing complex correlation operations required for synchronization.
Power consumption emerges as a critical constraint, particularly in mobile and IoT applications. Advanced synchronization algorithms must be adapted to operate within strict power budgets. Techniques such as dynamic clock gating, selective activation of synchronization modules, and adaptive precision control can significantly reduce power requirements without compromising synchronization performance.
Memory management presents another significant challenge. Correlation-based synchronization algorithms require substantial buffer space for storing received samples. Efficient memory architectures with optimized access patterns are essential to prevent bottlenecks. Some implementations utilize hierarchical memory structures with small, fast caches for critical synchronization parameters and larger buffers for sample storage.
Real-time processing requirements impose strict timing constraints on hardware implementations. Synchronization must be completed within specific time windows to maintain system performance. This necessitates careful timing analysis and optimization of critical paths within the synchronization logic.
Fixed-point arithmetic implementation requires careful consideration of word lengths and quantization effects. While floating-point offers precision, fixed-point implementations are more hardware-efficient. Designers must determine appropriate bit widths that balance precision requirements against hardware resource utilization.
Reconfigurability features allow synchronization parameters to adapt to varying channel conditions. Modern hardware implementations increasingly incorporate adaptive threshold mechanisms and parameter tuning capabilities that can be adjusted dynamically based on channel quality indicators.
Testing and verification infrastructure must be integrated into the hardware design. Built-in self-test modules, performance counters, and debug interfaces enable comprehensive validation of synchronization performance under various operating conditions, facilitating both development and field diagnostics.
The hardware architecture must efficiently handle parallel processing of synchronization tasks. This necessitates dedicated modules for time and frequency synchronization, with optimized data paths to minimize latency. Modern implementations typically employ pipelined architectures to maintain high throughput while executing complex correlation operations required for synchronization.
Power consumption emerges as a critical constraint, particularly in mobile and IoT applications. Advanced synchronization algorithms must be adapted to operate within strict power budgets. Techniques such as dynamic clock gating, selective activation of synchronization modules, and adaptive precision control can significantly reduce power requirements without compromising synchronization performance.
Memory management presents another significant challenge. Correlation-based synchronization algorithms require substantial buffer space for storing received samples. Efficient memory architectures with optimized access patterns are essential to prevent bottlenecks. Some implementations utilize hierarchical memory structures with small, fast caches for critical synchronization parameters and larger buffers for sample storage.
Real-time processing requirements impose strict timing constraints on hardware implementations. Synchronization must be completed within specific time windows to maintain system performance. This necessitates careful timing analysis and optimization of critical paths within the synchronization logic.
Fixed-point arithmetic implementation requires careful consideration of word lengths and quantization effects. While floating-point offers precision, fixed-point implementations are more hardware-efficient. Designers must determine appropriate bit widths that balance precision requirements against hardware resource utilization.
Reconfigurability features allow synchronization parameters to adapt to varying channel conditions. Modern hardware implementations increasingly incorporate adaptive threshold mechanisms and parameter tuning capabilities that can be adjusted dynamically based on channel quality indicators.
Testing and verification infrastructure must be integrated into the hardware design. Built-in self-test modules, performance counters, and debug interfaces enable comprehensive validation of synchronization performance under various operating conditions, facilitating both development and field diagnostics.
 Unlock deeper insights with  Patsnap Eureka Quick Research — get a full tech report to explore trends and direct your research. Try now! 
 Generate Your Research Report Instantly with AI Agent 
 Supercharge your innovation with Patsnap Eureka AI Agent Platform! 






