Optical Tracking Algorithms For Multiple Moving Receivers
AUG 28, 20259 MIN READ
Generate Your Research Report Instantly with AI Agent
Patsnap Eureka helps you evaluate technical feasibility & market potential.
Optical Tracking Evolution and Objectives
Optical tracking technology has evolved significantly over the past decades, transforming from simple single-point tracking systems to sophisticated algorithms capable of tracking multiple objects simultaneously in complex environments. The journey began in the 1970s with rudimentary optical tracking for military applications, followed by industrial implementations in the 1980s that primarily focused on single stationary targets in controlled environments.
The 1990s marked a significant turning point with the introduction of computer vision techniques that enabled more robust tracking capabilities. By the early 2000s, optical tracking systems began incorporating multiple cameras and infrared markers, laying the groundwork for modern motion capture systems used in entertainment and biomechanics research.
Recent advancements have been driven by the proliferation of machine learning and artificial intelligence, particularly deep learning approaches that have dramatically improved tracking accuracy and reliability. Contemporary optical tracking algorithms now leverage neural networks, particularly convolutional neural networks (CNNs) and recurrent neural networks (RNNs), to predict object movements and maintain tracking through occlusions and varying lighting conditions.
The current technological landscape is characterized by a shift toward markerless tracking systems that can identify and follow objects based on their natural features rather than attached markers. This evolution has been accelerated by improvements in sensor technology, computational power, and algorithm efficiency, enabling real-time processing of high-resolution image data.
The primary objective in developing optical tracking algorithms for multiple moving receivers is to achieve robust, accurate, and real-time tracking performance across diverse environmental conditions. This includes maintaining tracking integrity during occlusions, handling rapid movements, adapting to varying lighting conditions, and minimizing latency—all critical factors for applications in augmented reality, autonomous vehicles, robotics, and advanced human-computer interaction systems.
Secondary objectives include reducing computational requirements to enable implementation on resource-constrained devices, improving energy efficiency for mobile applications, and enhancing scalability to track increasing numbers of receivers simultaneously without performance degradation. Additionally, there is a growing emphasis on developing algorithms that can self-calibrate and adapt to changing environments without manual intervention.
The trajectory of optical tracking technology points toward increasingly intelligent systems capable of understanding context, predicting movement patterns, and seamlessly integrating with other sensing modalities to create comprehensive spatial awareness solutions. This evolution aligns with broader trends in ambient intelligence and ubiquitous computing, where tracking technology becomes an invisible but essential component of smart environments.
The 1990s marked a significant turning point with the introduction of computer vision techniques that enabled more robust tracking capabilities. By the early 2000s, optical tracking systems began incorporating multiple cameras and infrared markers, laying the groundwork for modern motion capture systems used in entertainment and biomechanics research.
Recent advancements have been driven by the proliferation of machine learning and artificial intelligence, particularly deep learning approaches that have dramatically improved tracking accuracy and reliability. Contemporary optical tracking algorithms now leverage neural networks, particularly convolutional neural networks (CNNs) and recurrent neural networks (RNNs), to predict object movements and maintain tracking through occlusions and varying lighting conditions.
The current technological landscape is characterized by a shift toward markerless tracking systems that can identify and follow objects based on their natural features rather than attached markers. This evolution has been accelerated by improvements in sensor technology, computational power, and algorithm efficiency, enabling real-time processing of high-resolution image data.
The primary objective in developing optical tracking algorithms for multiple moving receivers is to achieve robust, accurate, and real-time tracking performance across diverse environmental conditions. This includes maintaining tracking integrity during occlusions, handling rapid movements, adapting to varying lighting conditions, and minimizing latency—all critical factors for applications in augmented reality, autonomous vehicles, robotics, and advanced human-computer interaction systems.
Secondary objectives include reducing computational requirements to enable implementation on resource-constrained devices, improving energy efficiency for mobile applications, and enhancing scalability to track increasing numbers of receivers simultaneously without performance degradation. Additionally, there is a growing emphasis on developing algorithms that can self-calibrate and adapt to changing environments without manual intervention.
The trajectory of optical tracking technology points toward increasingly intelligent systems capable of understanding context, predicting movement patterns, and seamlessly integrating with other sensing modalities to create comprehensive spatial awareness solutions. This evolution aligns with broader trends in ambient intelligence and ubiquitous computing, where tracking technology becomes an invisible but essential component of smart environments.
Market Applications for Multi-Receiver Optical Tracking
Multi-receiver optical tracking technology is experiencing rapid adoption across diverse market sectors due to its unique capabilities in tracking multiple objects simultaneously with high precision. The healthcare industry represents one of the most promising application areas, where optical tracking systems are revolutionizing surgical navigation and medical imaging. These systems enable real-time tracking of surgical instruments, patient positioning, and anatomical structures during minimally invasive procedures, significantly improving surgical outcomes and reducing recovery times.
In the entertainment and gaming sectors, multi-receiver optical tracking is transforming user experiences through advanced motion capture systems. Film studios utilize this technology to capture nuanced actor movements for creating realistic computer-generated characters. The gaming industry implements these systems in virtual reality environments, where tracking multiple body points simultaneously creates immersive experiences with natural movement translation into virtual worlds.
The automotive industry has begun integrating optical tracking systems for both manufacturing and in-vehicle applications. On production lines, these systems monitor robotic assembly processes with millimeter precision. In advanced driver assistance systems (ADAS), optical tracking algorithms monitor driver attention and behavior while simultaneously tracking surrounding vehicles and obstacles, enhancing safety features.
Retail and logistics operations benefit from multi-receiver tracking through inventory management systems that can simultaneously track multiple products, workers, and equipment throughout warehouses and distribution centers. This capability has demonstrated efficiency improvements of up to 30% in large-scale operations by optimizing movement patterns and reducing search times.
The aerospace and defense sectors employ multi-receiver optical tracking for missile guidance systems, drone swarm coordination, and aircraft maintenance procedures. The ability to track multiple moving objects with high precision in three-dimensional space provides critical advantages in these high-stakes environments.
Sports analytics represents an emerging application area where coaches and teams utilize optical tracking to simultaneously monitor all players' movements, ball trajectories, and game dynamics. This data-driven approach enables sophisticated performance analysis and strategy development previously impossible with manual observation methods.
Industrial automation systems increasingly incorporate multi-receiver optical tracking for coordinating multiple robotic systems in shared workspaces. This application allows for more flexible manufacturing environments where humans and robots can safely collaborate, with the tracking system ensuring collision avoidance while maximizing operational efficiency.
In the entertainment and gaming sectors, multi-receiver optical tracking is transforming user experiences through advanced motion capture systems. Film studios utilize this technology to capture nuanced actor movements for creating realistic computer-generated characters. The gaming industry implements these systems in virtual reality environments, where tracking multiple body points simultaneously creates immersive experiences with natural movement translation into virtual worlds.
The automotive industry has begun integrating optical tracking systems for both manufacturing and in-vehicle applications. On production lines, these systems monitor robotic assembly processes with millimeter precision. In advanced driver assistance systems (ADAS), optical tracking algorithms monitor driver attention and behavior while simultaneously tracking surrounding vehicles and obstacles, enhancing safety features.
Retail and logistics operations benefit from multi-receiver tracking through inventory management systems that can simultaneously track multiple products, workers, and equipment throughout warehouses and distribution centers. This capability has demonstrated efficiency improvements of up to 30% in large-scale operations by optimizing movement patterns and reducing search times.
The aerospace and defense sectors employ multi-receiver optical tracking for missile guidance systems, drone swarm coordination, and aircraft maintenance procedures. The ability to track multiple moving objects with high precision in three-dimensional space provides critical advantages in these high-stakes environments.
Sports analytics represents an emerging application area where coaches and teams utilize optical tracking to simultaneously monitor all players' movements, ball trajectories, and game dynamics. This data-driven approach enables sophisticated performance analysis and strategy development previously impossible with manual observation methods.
Industrial automation systems increasingly incorporate multi-receiver optical tracking for coordinating multiple robotic systems in shared workspaces. This application allows for more flexible manufacturing environments where humans and robots can safely collaborate, with the tracking system ensuring collision avoidance while maximizing operational efficiency.
Technical Challenges in Multi-Object Tracking
Multi-object tracking in optical systems presents several significant technical challenges that must be addressed for effective implementation. The complexity increases exponentially when tracking multiple moving receivers simultaneously using optical methods. One of the primary challenges is occlusion handling, where objects temporarily disappear from view due to obstacles or other tracked objects. Current algorithms struggle to maintain identity consistency when receivers reappear after occlusion events.
Motion prediction represents another substantial hurdle, particularly when receivers exhibit non-linear movement patterns. Traditional Kalman filtering approaches often fail to accurately predict trajectories of objects with sudden direction changes or acceleration variations, necessitating more sophisticated prediction models that can adapt to complex motion dynamics.
Environmental factors significantly impact optical tracking performance. Varying lighting conditions, reflections, and shadows can dramatically alter the visual characteristics of tracked receivers. These variations introduce noise into the tracking system, potentially causing false positives or negatives in receiver identification and position estimation.
Computational efficiency remains a critical challenge, especially in real-time applications. As the number of tracked receivers increases, the computational complexity grows substantially. Current algorithms face significant trade-offs between tracking accuracy and processing speed, with many high-precision approaches being too computationally intensive for real-time implementation on standard hardware.
Scale and perspective variations present additional difficulties, as receivers moving toward or away from optical sensors change in apparent size and shape. This requires robust feature extraction methods that remain consistent despite these perspective transformations. Most current algorithms perform well in controlled environments but deteriorate significantly under real-world conditions with perspective variations.
Identity management represents perhaps the most persistent challenge in multi-object tracking. Maintaining consistent identification of individual receivers throughout a tracking sequence, especially during close interactions or similar appearance, remains problematic. Current approaches using appearance models and motion continuity still suffer from identity switches during complex scenarios.
Sensor fusion challenges arise when integrating multiple optical sensors or complementary sensing technologies. Synchronization issues, coordinate system alignment, and data fusion strategies significantly impact tracking performance. While sensor fusion potentially improves robustness, it introduces additional complexity in system calibration and data integration algorithms.
Motion prediction represents another substantial hurdle, particularly when receivers exhibit non-linear movement patterns. Traditional Kalman filtering approaches often fail to accurately predict trajectories of objects with sudden direction changes or acceleration variations, necessitating more sophisticated prediction models that can adapt to complex motion dynamics.
Environmental factors significantly impact optical tracking performance. Varying lighting conditions, reflections, and shadows can dramatically alter the visual characteristics of tracked receivers. These variations introduce noise into the tracking system, potentially causing false positives or negatives in receiver identification and position estimation.
Computational efficiency remains a critical challenge, especially in real-time applications. As the number of tracked receivers increases, the computational complexity grows substantially. Current algorithms face significant trade-offs between tracking accuracy and processing speed, with many high-precision approaches being too computationally intensive for real-time implementation on standard hardware.
Scale and perspective variations present additional difficulties, as receivers moving toward or away from optical sensors change in apparent size and shape. This requires robust feature extraction methods that remain consistent despite these perspective transformations. Most current algorithms perform well in controlled environments but deteriorate significantly under real-world conditions with perspective variations.
Identity management represents perhaps the most persistent challenge in multi-object tracking. Maintaining consistent identification of individual receivers throughout a tracking sequence, especially during close interactions or similar appearance, remains problematic. Current approaches using appearance models and motion continuity still suffer from identity switches during complex scenarios.
Sensor fusion challenges arise when integrating multiple optical sensors or complementary sensing technologies. Synchronization issues, coordinate system alignment, and data fusion strategies significantly impact tracking performance. While sensor fusion potentially improves robustness, it introduces additional complexity in system calibration and data integration algorithms.
Current Multi-Receiver Tracking Solutions
01 Feature-based optical tracking algorithms
Feature-based optical tracking algorithms identify and track distinctive visual features in images to determine position and movement. These algorithms extract key points or features from images and match them across frames to calculate motion. They often employ techniques like corner detection, feature descriptors, and matching algorithms to achieve high tracking accuracy. Feature-based methods are particularly effective in environments with sufficient texture and distinctive visual elements.- Feature-based optical tracking algorithms: Feature-based optical tracking algorithms identify and track distinctive visual features in image sequences to determine object position and movement. These algorithms extract key points or features from images and match them across frames to calculate motion. By using robust feature detection methods, these systems can maintain tracking accuracy even under challenging conditions such as partial occlusion or varying lighting. The accuracy of these algorithms depends on the quality of feature extraction and matching techniques employed.
- Kalman filter-based tracking optimization: Kalman filtering techniques are implemented in optical tracking systems to predict and estimate object positions with higher accuracy. These algorithms use statistical methods to filter out noise and combine measurements with predictions based on motion models. By continuously updating the state estimation, Kalman filters can compensate for measurement errors and improve tracking stability. Advanced implementations may include extended or unscented Kalman filters to handle non-linear motion patterns, resulting in more precise tracking across diverse scenarios.
- Multi-sensor fusion for enhanced tracking accuracy: Multi-sensor fusion approaches combine data from various sensors such as cameras, IMUs, and depth sensors to improve tracking accuracy. By integrating complementary information from different sensor types, these algorithms can overcome limitations of single-sensor systems. The fusion process typically involves aligning data temporally and spatially, then using weighted combinations or probabilistic methods to generate more reliable tracking results. This approach is particularly effective in challenging environments where individual sensors might fail or provide degraded performance.
- Deep learning-based optical tracking methods: Deep learning approaches utilize neural networks to achieve high-precision optical tracking. These methods can learn complex patterns and features directly from training data, enabling more robust tracking in varied conditions. Convolutional neural networks and recurrent architectures are commonly employed to process visual information and predict object positions. The self-learning capability of these algorithms allows them to adapt to different environments and object appearances, potentially outperforming traditional tracking methods in terms of accuracy and resilience to visual challenges.
- Error compensation techniques for optical tracking: Error compensation techniques are specifically designed to identify and mitigate various sources of inaccuracy in optical tracking systems. These methods address issues such as lens distortion, sensor noise, motion blur, and environmental factors that can degrade tracking performance. Calibration procedures, mathematical models for error characterization, and adaptive algorithms that adjust parameters in real-time are employed to maintain high tracking accuracy. By systematically reducing both systematic and random errors, these techniques significantly improve the overall reliability of optical tracking systems.
02 Kalman filter-based tracking optimization
Kalman filter techniques are implemented in optical tracking systems to improve accuracy by predicting and correcting position estimates. These algorithms use statistical methods to filter noise and combine measurements with motion models, resulting in more stable and accurate tracking. The recursive nature of Kalman filters allows for real-time processing and adaptation to changing conditions, making them valuable for applications requiring high precision tracking under variable conditions.Expand Specific Solutions03 Sensor fusion for enhanced tracking accuracy
Combining data from multiple sensors (sensor fusion) significantly improves optical tracking accuracy. These algorithms integrate information from various sources such as cameras, IMUs, depth sensors, and other positioning systems to compensate for the limitations of individual sensors. The fusion process typically involves weighted averaging, probabilistic methods, or deep learning techniques to create a more robust and accurate tracking solution, particularly in challenging environments with occlusion or varying lighting conditions.Expand Specific Solutions04 Deep learning approaches for optical tracking
Deep learning algorithms, particularly convolutional neural networks (CNNs) and recurrent neural networks (RNNs), are increasingly used to improve optical tracking accuracy. These approaches can learn complex patterns and features directly from image data, enabling more robust tracking in challenging conditions. Deep learning methods can overcome traditional limitations such as occlusion, lighting variations, and complex backgrounds by leveraging large datasets for training. They often outperform conventional algorithms in terms of accuracy and robustness.Expand Specific Solutions05 Error compensation techniques in optical tracking
Error compensation techniques address systematic and random errors in optical tracking systems to enhance accuracy. These methods identify, model, and correct for various error sources including lens distortion, sensor noise, calibration inaccuracies, and environmental factors. Advanced algorithms implement real-time error detection and compensation mechanisms, often using reference markers or known patterns to calculate correction factors. These techniques are crucial for applications requiring sub-millimeter tracking precision.Expand Specific Solutions
Leading Companies in Optical Tracking Technology
The optical tracking algorithms for multiple moving receivers market is in a growth phase, characterized by increasing demand across AR/VR, autonomous systems, and industrial applications. The market is expanding rapidly with an estimated value exceeding $2 billion annually. Technologically, the field shows varied maturity levels, with companies like Valve, Samsung, and Microsoft leading in consumer applications, while Raytheon, Huawei, and IBM focus on advanced military and industrial implementations. Research institutions such as Beijing Institute of Technology and École Polytechnique Fédérale de Lausanne contribute significant innovations. DJI and Sweetech are advancing drone-based tracking solutions, while automotive players like Robert Bosch and Valeo are integrating these technologies into vehicle systems, demonstrating the technology's cross-industry relevance.
Valve Corp.
Technical Solution: Valve's optical tracking algorithm for multiple moving receivers is primarily implemented in their SteamVR/Lighthouse tracking system. This technology uses base stations that sweep structured light (infrared) across a room, which is detected by multiple photosensors on tracked devices. The algorithm employs time-of-flight principles where precise timing of when each sensor is hit by the sweeping light allows for position and orientation calculation. Valve's approach uses a combination of optical sensors and IMU (Inertial Measurement Unit) data fusion to achieve sub-millimeter accuracy tracking at high frequencies (up to 1000Hz)[1]. Their system can track multiple receivers simultaneously by assigning unique identifiers to each tracked object and using temporal multiplexing techniques. The algorithm incorporates predictive modeling to handle occlusion scenarios, estimating positions when direct line-of-sight is temporarily lost between base stations and receivers[2]. Valve has also implemented advanced filtering techniques to reduce jitter and improve tracking stability even during rapid movements.
Strengths: Extremely high precision (sub-millimeter) tracking with low latency; scalable to multiple receivers without significant performance degradation; works in various lighting conditions due to infrared technology. Weaknesses: Requires line-of-sight between base stations and receivers; setup complexity with multiple base stations needed for optimal coverage; higher cost compared to some camera-based solutions.
Raytheon Co.
Technical Solution: Raytheon has developed sophisticated optical tracking algorithms for multiple moving receivers primarily for defense and aerospace applications. Their approach utilizes a multi-spectral imaging system that operates across various wavelengths to ensure tracking reliability in diverse environmental conditions. The algorithm employs a hierarchical tracking framework that first performs broad detection using wide-field sensors, then transitions to precision tracking using narrower field-of-view optics[3]. For multiple target tracking, Raytheon implements a Joint Probabilistic Data Association Filter (JPDAF) combined with Multiple Hypothesis Tracking (MHT) to maintain identity consistency across frames even when targets cross paths or temporarily occlude each other[4]. Their system incorporates advanced clutter rejection techniques and can distinguish between actual targets and environmental noise. Raytheon's algorithms also feature adaptive tracking parameters that automatically adjust based on target velocity, acceleration profiles, and environmental conditions, ensuring optimal performance across various scenarios from slow-moving to hypersonic targets.
Strengths: Exceptional performance in adverse weather and challenging lighting conditions; highly robust against countermeasures and deception; capable of tracking extremely fast-moving objects with high precision. Weaknesses: Significant computational requirements necessitating specialized hardware; higher implementation costs compared to commercial solutions; complex calibration procedures required for optimal performance.
Key Patents in Multiple Object Tracking Algorithms
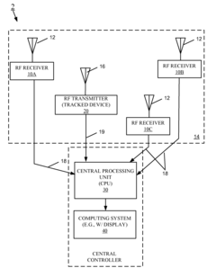
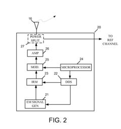
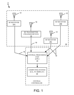
System for tracking an object using pulsed frequency hopping
PatentActiveUS20150097732A1
Innovation
- A system employing frequency-hopping electromagnetic signals and multiple receiver antennae to compute phase differences, allowing for accurate position tracking by calibrating phase integrity across various frequencies and skipping channels with interference, ensuring signal integrity and reducing multipath effects.
Wide field of view optical tracking system
PatentActiveCA2700603C
Innovation
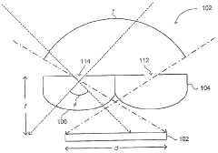
- The implementation of a Wide Field Of View (WFOV) optical tracking system using a detector with multiple spatially spaced optical receptors optically coupled with an optical sensor, allowing for increased FOV without enlarging the sensor or reducing the focal length, and a pose processor to determine the object's pose by associating light emitter representations with respective receptors.
Performance Metrics and Benchmarking Standards
Evaluating the performance of optical tracking algorithms for multiple moving receivers requires comprehensive metrics and standardized benchmarking approaches. The accuracy of position estimation stands as the primary metric, typically measured through Mean Absolute Error (MAE) and Root Mean Square Error (RMSE) between estimated and ground truth positions. For dynamic tracking scenarios, temporal consistency metrics become equally important, including trajectory smoothness measures and jitter quantification that evaluate how consistently the algorithm maintains tracking across frames.
Latency represents another critical performance dimension, encompassing computational efficiency metrics such as processing time per frame and algorithm scalability with increasing receiver numbers. Real-world optical tracking systems must maintain acceptable frame rates while handling multiple receivers simultaneously, making throughput an essential benchmark parameter.
Robustness metrics evaluate algorithm performance under challenging conditions, including varying lighting environments, partial occlusions, and receiver velocity changes. Recovery time after tracking loss and false positive/negative rates provide quantitative measures of system reliability. For multiple receiver scenarios specifically, cross-talk resistance metrics assess how effectively the system distinguishes between different receivers when their signals potentially interfere.
Standardized testing protocols have emerged within the optical tracking community, including benchmark datasets like OptiTrack Motion Capture datasets and ETH Zurich Multiple Object Tracking benchmarks. These datasets provide ground truth data across diverse scenarios, enabling fair comparison between different algorithmic approaches. Testing environments typically include controlled laboratory settings with calibrated camera arrays and real-world deployment scenarios with variable conditions.
Energy efficiency metrics have gained importance particularly for mobile and embedded optical tracking implementations, measuring power consumption per tracking operation and battery life implications. This becomes especially relevant when scaling to multiple receivers, as power requirements often increase non-linearly with receiver count.
Interoperability standards assess how effectively tracking algorithms integrate with existing systems and protocols, including compatibility with various optical sensor types and data exchange formats. The IEEE has developed several standards related to optical tracking performance evaluation, providing a common framework for comparing algorithm capabilities across different implementations and research groups.
Latency represents another critical performance dimension, encompassing computational efficiency metrics such as processing time per frame and algorithm scalability with increasing receiver numbers. Real-world optical tracking systems must maintain acceptable frame rates while handling multiple receivers simultaneously, making throughput an essential benchmark parameter.
Robustness metrics evaluate algorithm performance under challenging conditions, including varying lighting environments, partial occlusions, and receiver velocity changes. Recovery time after tracking loss and false positive/negative rates provide quantitative measures of system reliability. For multiple receiver scenarios specifically, cross-talk resistance metrics assess how effectively the system distinguishes between different receivers when their signals potentially interfere.
Standardized testing protocols have emerged within the optical tracking community, including benchmark datasets like OptiTrack Motion Capture datasets and ETH Zurich Multiple Object Tracking benchmarks. These datasets provide ground truth data across diverse scenarios, enabling fair comparison between different algorithmic approaches. Testing environments typically include controlled laboratory settings with calibrated camera arrays and real-world deployment scenarios with variable conditions.
Energy efficiency metrics have gained importance particularly for mobile and embedded optical tracking implementations, measuring power consumption per tracking operation and battery life implications. This becomes especially relevant when scaling to multiple receivers, as power requirements often increase non-linearly with receiver count.
Interoperability standards assess how effectively tracking algorithms integrate with existing systems and protocols, including compatibility with various optical sensor types and data exchange formats. The IEEE has developed several standards related to optical tracking performance evaluation, providing a common framework for comparing algorithm capabilities across different implementations and research groups.
Integration Challenges with Existing Systems
Integrating optical tracking algorithms for multiple moving receivers into existing systems presents significant technical challenges that require careful consideration. Current infrastructure in many organizations relies on established tracking technologies with different protocols, data formats, and processing pipelines. The introduction of optical tracking solutions necessitates substantial modifications to these systems, often requiring custom interface development to ensure seamless data flow between the optical tracking subsystem and existing components.
Latency management represents a critical integration challenge, particularly in real-time applications. Optical tracking algorithms typically generate high-frequency data streams that must be synchronized with other sensor inputs. Temporal alignment discrepancies as small as milliseconds can lead to significant performance degradation in applications requiring precise coordination, such as augmented reality or autonomous navigation systems. Implementing effective buffering mechanisms and timestamp reconciliation protocols becomes essential for maintaining system coherence.
Data fusion architectures present another layer of complexity. Most existing systems employ sensor fusion algorithms optimized for specific input characteristics that may not accommodate the unique properties of optical tracking data. The high precision but potentially intermittent nature of optical tracking (due to occlusion or lighting conditions) requires robust fusion strategies that can dynamically adjust confidence weights based on signal quality. Modifying established Kalman filters or other fusion algorithms to incorporate these new data sources often demands significant recalibration and validation.
Computational resource allocation poses practical implementation challenges. Optical tracking algorithms for multiple receivers typically require substantial processing power, potentially competing with existing system functions. Organizations must evaluate whether current hardware can support the additional computational load or if upgrades are necessary. In resource-constrained environments like mobile platforms or embedded systems, optimization techniques such as selective processing or distributed computing architectures may be required to maintain overall system performance.
Security and privacy considerations also emerge when integrating optical tracking capabilities. These systems often capture detailed spatial information about users or sensitive environments, raising concerns about data protection and access control. Existing security frameworks may need enhancement to address these new data streams, particularly in regulated industries where compliance requirements govern data handling practices.
Legacy system compatibility represents a persistent challenge, especially in organizations with substantial investments in established technologies. Many existing systems use proprietary interfaces or outdated communication protocols that may not readily accommodate modern optical tracking implementations. Developing appropriate middleware or translation layers becomes necessary, adding complexity and potential points of failure to the overall system architecture.
Latency management represents a critical integration challenge, particularly in real-time applications. Optical tracking algorithms typically generate high-frequency data streams that must be synchronized with other sensor inputs. Temporal alignment discrepancies as small as milliseconds can lead to significant performance degradation in applications requiring precise coordination, such as augmented reality or autonomous navigation systems. Implementing effective buffering mechanisms and timestamp reconciliation protocols becomes essential for maintaining system coherence.
Data fusion architectures present another layer of complexity. Most existing systems employ sensor fusion algorithms optimized for specific input characteristics that may not accommodate the unique properties of optical tracking data. The high precision but potentially intermittent nature of optical tracking (due to occlusion or lighting conditions) requires robust fusion strategies that can dynamically adjust confidence weights based on signal quality. Modifying established Kalman filters or other fusion algorithms to incorporate these new data sources often demands significant recalibration and validation.
Computational resource allocation poses practical implementation challenges. Optical tracking algorithms for multiple receivers typically require substantial processing power, potentially competing with existing system functions. Organizations must evaluate whether current hardware can support the additional computational load or if upgrades are necessary. In resource-constrained environments like mobile platforms or embedded systems, optimization techniques such as selective processing or distributed computing architectures may be required to maintain overall system performance.
Security and privacy considerations also emerge when integrating optical tracking capabilities. These systems often capture detailed spatial information about users or sensitive environments, raising concerns about data protection and access control. Existing security frameworks may need enhancement to address these new data streams, particularly in regulated industries where compliance requirements govern data handling practices.
Legacy system compatibility represents a persistent challenge, especially in organizations with substantial investments in established technologies. Many existing systems use proprietary interfaces or outdated communication protocols that may not readily accommodate modern optical tracking implementations. Developing appropriate middleware or translation layers becomes necessary, adding complexity and potential points of failure to the overall system architecture.
Unlock deeper insights with Patsnap Eureka Quick Research — get a full tech report to explore trends and direct your research. Try now!
Generate Your Research Report Instantly with AI Agent
Supercharge your innovation with Patsnap Eureka AI Agent Platform!



