PHEV noise pollution comparison with traditional vehicles
AUG 14, 20259 MIN READ
Generate Your Research Report Instantly with AI Agent
Patsnap Eureka helps you evaluate technical feasibility & market potential.
PHEV Noise Tech Background
Plug-in Hybrid Electric Vehicles (PHEVs) have emerged as a significant technological advancement in the automotive industry, bridging the gap between traditional internal combustion engine vehicles and fully electric vehicles. The development of PHEV technology can be traced back to the early 2000s, with major automakers investing heavily in research and development to improve fuel efficiency and reduce emissions.
The primary goal of PHEV technology is to combine the benefits of electric propulsion with the range and convenience of conventional gasoline-powered vehicles. This hybrid approach allows for reduced fuel consumption and lower emissions during short trips, while maintaining the ability to undertake longer journeys without the need for frequent charging.
As environmental concerns have grown and regulations have become more stringent, the focus on noise pollution from vehicles has intensified. Traditional vehicles, particularly those with internal combustion engines, have long been associated with significant noise pollution in urban areas. The introduction of PHEVs has raised questions about their potential to mitigate this issue.
PHEVs operate in two distinct modes: electric-only and hybrid. In electric-only mode, these vehicles produce significantly less noise compared to their traditional counterparts, particularly at low speeds. This reduction in noise pollution is especially noticeable in urban environments, where stop-and-go traffic is common. However, when operating in hybrid mode or at higher speeds, PHEVs may produce noise levels comparable to traditional vehicles due to the engagement of the internal combustion engine.
The evolution of PHEV technology has seen continuous improvements in battery capacity, electric motor efficiency, and overall system integration. These advancements have led to increased electric-only range and performance, potentially reducing the frequency and duration of internal combustion engine operation, thereby further decreasing noise emissions.
Regulatory bodies worldwide have recognized the importance of addressing vehicle noise pollution. In response, many countries have implemented or are in the process of implementing noise emission standards specifically for hybrid and electric vehicles. These regulations aim to strike a balance between noise reduction and pedestrian safety, as extremely quiet vehicles can pose risks to pedestrians who rely on auditory cues in traffic.
The comparison of noise pollution between PHEVs and traditional vehicles is a complex issue that involves various factors, including vehicle speed, operating mode, and environmental conditions. While PHEVs offer significant potential for noise reduction, particularly in urban settings, the extent of this benefit depends on factors such as the proportion of time spent in electric-only mode and advancements in noise reduction technologies for internal combustion engines.
The primary goal of PHEV technology is to combine the benefits of electric propulsion with the range and convenience of conventional gasoline-powered vehicles. This hybrid approach allows for reduced fuel consumption and lower emissions during short trips, while maintaining the ability to undertake longer journeys without the need for frequent charging.
As environmental concerns have grown and regulations have become more stringent, the focus on noise pollution from vehicles has intensified. Traditional vehicles, particularly those with internal combustion engines, have long been associated with significant noise pollution in urban areas. The introduction of PHEVs has raised questions about their potential to mitigate this issue.
PHEVs operate in two distinct modes: electric-only and hybrid. In electric-only mode, these vehicles produce significantly less noise compared to their traditional counterparts, particularly at low speeds. This reduction in noise pollution is especially noticeable in urban environments, where stop-and-go traffic is common. However, when operating in hybrid mode or at higher speeds, PHEVs may produce noise levels comparable to traditional vehicles due to the engagement of the internal combustion engine.
The evolution of PHEV technology has seen continuous improvements in battery capacity, electric motor efficiency, and overall system integration. These advancements have led to increased electric-only range and performance, potentially reducing the frequency and duration of internal combustion engine operation, thereby further decreasing noise emissions.
Regulatory bodies worldwide have recognized the importance of addressing vehicle noise pollution. In response, many countries have implemented or are in the process of implementing noise emission standards specifically for hybrid and electric vehicles. These regulations aim to strike a balance between noise reduction and pedestrian safety, as extremely quiet vehicles can pose risks to pedestrians who rely on auditory cues in traffic.
The comparison of noise pollution between PHEVs and traditional vehicles is a complex issue that involves various factors, including vehicle speed, operating mode, and environmental conditions. While PHEVs offer significant potential for noise reduction, particularly in urban settings, the extent of this benefit depends on factors such as the proportion of time spent in electric-only mode and advancements in noise reduction technologies for internal combustion engines.
PHEV Market Demand Analysis
The market demand for Plug-in Hybrid Electric Vehicles (PHEVs) has been steadily growing, driven by increasing environmental awareness and stringent emissions regulations worldwide. As consumers become more conscious of their carbon footprint, the appeal of PHEVs as a transitional technology between conventional internal combustion engine vehicles and fully electric vehicles has strengthened.
In recent years, the global PHEV market has experienced significant expansion. Major automotive markets, including China, Europe, and North America, have shown robust growth in PHEV sales. This trend is expected to continue as governments implement more aggressive policies to reduce greenhouse gas emissions and improve air quality in urban areas.
The noise pollution aspect of PHEVs compared to traditional vehicles has emerged as a key selling point. PHEVs operate in electric mode at low speeds, significantly reducing noise pollution in urban environments. This feature is particularly attractive in densely populated areas where noise reduction is a priority for city planners and residents alike.
Market research indicates that consumers are increasingly valuing the quieter operation of PHEVs, especially for short commutes and city driving. The reduced noise pollution not only enhances the driving experience but also contributes to improved quality of life in urban settings. This factor has become a notable driver in consumer decision-making when considering PHEV purchases.
The automotive industry has recognized this market demand and is responding by developing more advanced PHEV models with extended electric-only ranges and improved noise reduction technologies. These advancements are aimed at further minimizing the acoustic impact of PHEVs, even when operating in hybrid mode at higher speeds.
However, the market demand for PHEVs is not without challenges. The higher initial cost compared to traditional vehicles remains a barrier for some consumers. Additionally, the growing popularity of fully electric vehicles (EVs) poses competition in the eco-friendly vehicle segment. Nevertheless, PHEVs continue to hold a significant market share due to their versatility and ability to address range anxiety concerns.
Looking ahead, industry analysts project continued growth in the PHEV market, albeit at a potentially slower rate as EV technology advances. The demand for PHEVs is expected to remain strong in regions where charging infrastructure is still developing and in market segments where long-distance travel capabilities are essential.
In conclusion, the market demand for PHEVs, particularly those offering reduced noise pollution compared to traditional vehicles, remains robust. As urban noise reduction becomes an increasingly important factor in vehicle selection, PHEVs are well-positioned to meet this consumer need while offering a bridge to fully electric mobility.
In recent years, the global PHEV market has experienced significant expansion. Major automotive markets, including China, Europe, and North America, have shown robust growth in PHEV sales. This trend is expected to continue as governments implement more aggressive policies to reduce greenhouse gas emissions and improve air quality in urban areas.
The noise pollution aspect of PHEVs compared to traditional vehicles has emerged as a key selling point. PHEVs operate in electric mode at low speeds, significantly reducing noise pollution in urban environments. This feature is particularly attractive in densely populated areas where noise reduction is a priority for city planners and residents alike.
Market research indicates that consumers are increasingly valuing the quieter operation of PHEVs, especially for short commutes and city driving. The reduced noise pollution not only enhances the driving experience but also contributes to improved quality of life in urban settings. This factor has become a notable driver in consumer decision-making when considering PHEV purchases.
The automotive industry has recognized this market demand and is responding by developing more advanced PHEV models with extended electric-only ranges and improved noise reduction technologies. These advancements are aimed at further minimizing the acoustic impact of PHEVs, even when operating in hybrid mode at higher speeds.
However, the market demand for PHEVs is not without challenges. The higher initial cost compared to traditional vehicles remains a barrier for some consumers. Additionally, the growing popularity of fully electric vehicles (EVs) poses competition in the eco-friendly vehicle segment. Nevertheless, PHEVs continue to hold a significant market share due to their versatility and ability to address range anxiety concerns.
Looking ahead, industry analysts project continued growth in the PHEV market, albeit at a potentially slower rate as EV technology advances. The demand for PHEVs is expected to remain strong in regions where charging infrastructure is still developing and in market segments where long-distance travel capabilities are essential.
In conclusion, the market demand for PHEVs, particularly those offering reduced noise pollution compared to traditional vehicles, remains robust. As urban noise reduction becomes an increasingly important factor in vehicle selection, PHEVs are well-positioned to meet this consumer need while offering a bridge to fully electric mobility.
Noise Challenges in PHEVs
Plug-in Hybrid Electric Vehicles (PHEVs) present unique noise challenges compared to traditional internal combustion engine (ICE) vehicles. The primary source of noise in PHEVs varies depending on the operating mode, creating a complex acoustic environment that requires careful consideration and management.
When operating in electric mode, PHEVs produce significantly less noise than their ICE counterparts. This reduction in noise can be attributed to the absence of combustion processes and the minimal mechanical noise generated by electric motors. However, this apparent advantage introduces a new set of challenges, particularly in urban environments and at low speeds.
The lack of familiar engine noise can pose safety risks to pedestrians, cyclists, and other vulnerable road users who rely on auditory cues to detect approaching vehicles. This has led to the development and implementation of artificial sound generators in PHEVs, designed to emit warning sounds at low speeds. These systems must strike a delicate balance between ensuring pedestrian safety and minimizing unnecessary noise pollution.
When PHEVs switch to hybrid mode, combining electric and ICE power, they face additional noise-related challenges. The transition between electric and ICE operation can create sudden changes in noise levels, potentially causing discomfort to passengers and drawing unwanted attention from pedestrians. Engineers must develop sophisticated control strategies to manage these transitions smoothly and minimize abrupt acoustic changes.
Furthermore, the reduced overall noise levels in PHEVs can make other sound sources more noticeable. Wind noise, tire-road interaction, and auxiliary systems that were previously masked by engine noise may become more prominent. This requires a holistic approach to noise, vibration, and harshness (NVH) management in PHEV design, focusing on optimizing aerodynamics, tire selection, and the isolation of auxiliary systems.
The electric components in PHEVs also introduce new noise sources that are not present in traditional vehicles. High-frequency whines from electric motors and power electronics, as well as low-frequency hums from battery cooling systems, can create unfamiliar and potentially irritating sounds for occupants. Addressing these issues requires innovative sound insulation techniques and careful component design to minimize electromagnetic noise.
As PHEVs continue to evolve, manufacturers face the ongoing challenge of meeting increasingly stringent noise regulations while maintaining vehicle performance and efficiency. This necessitates continuous research and development in areas such as active noise control, advanced materials for sound insulation, and refined powertrain control strategies to optimize the acoustic experience for both vehicle occupants and the surrounding environment.
When operating in electric mode, PHEVs produce significantly less noise than their ICE counterparts. This reduction in noise can be attributed to the absence of combustion processes and the minimal mechanical noise generated by electric motors. However, this apparent advantage introduces a new set of challenges, particularly in urban environments and at low speeds.
The lack of familiar engine noise can pose safety risks to pedestrians, cyclists, and other vulnerable road users who rely on auditory cues to detect approaching vehicles. This has led to the development and implementation of artificial sound generators in PHEVs, designed to emit warning sounds at low speeds. These systems must strike a delicate balance between ensuring pedestrian safety and minimizing unnecessary noise pollution.
When PHEVs switch to hybrid mode, combining electric and ICE power, they face additional noise-related challenges. The transition between electric and ICE operation can create sudden changes in noise levels, potentially causing discomfort to passengers and drawing unwanted attention from pedestrians. Engineers must develop sophisticated control strategies to manage these transitions smoothly and minimize abrupt acoustic changes.
Furthermore, the reduced overall noise levels in PHEVs can make other sound sources more noticeable. Wind noise, tire-road interaction, and auxiliary systems that were previously masked by engine noise may become more prominent. This requires a holistic approach to noise, vibration, and harshness (NVH) management in PHEV design, focusing on optimizing aerodynamics, tire selection, and the isolation of auxiliary systems.
The electric components in PHEVs also introduce new noise sources that are not present in traditional vehicles. High-frequency whines from electric motors and power electronics, as well as low-frequency hums from battery cooling systems, can create unfamiliar and potentially irritating sounds for occupants. Addressing these issues requires innovative sound insulation techniques and careful component design to minimize electromagnetic noise.
As PHEVs continue to evolve, manufacturers face the ongoing challenge of meeting increasingly stringent noise regulations while maintaining vehicle performance and efficiency. This necessitates continuous research and development in areas such as active noise control, advanced materials for sound insulation, and refined powertrain control strategies to optimize the acoustic experience for both vehicle occupants and the surrounding environment.
Current Noise Reduction Solutions
01 Active noise control systems for PHEVs
Active noise control systems are implemented in PHEVs to reduce noise pollution. These systems use advanced algorithms and sound-generating devices to produce anti-noise signals that cancel out unwanted vehicle sounds. This technology helps to minimize both interior and exterior noise, improving passenger comfort and reducing environmental impact.- Active noise control systems for PHEVs: Active noise control systems are implemented in PHEVs to reduce noise pollution. These systems use advanced algorithms and sound-generating devices to produce counter-noise that cancels out unwanted vehicle sounds. This technology helps maintain a quieter environment both inside and outside the vehicle, addressing concerns about noise pollution in urban areas.
- Electric motor noise reduction techniques: Various techniques are employed to reduce noise generated by electric motors in PHEVs. These include improved motor design, advanced insulation materials, and vibration dampening systems. By minimizing motor noise at the source, these methods contribute to overall noise reduction in plug-in hybrid vehicles.
- Acoustic vehicle alerting systems (AVAS): AVAS are designed to generate artificial sounds for PHEVs when operating in electric mode at low speeds. These systems aim to alert pedestrians and other road users to the presence of otherwise quiet vehicles, balancing safety concerns with noise pollution reduction efforts. The sounds produced are carefully engineered to be effective yet minimally intrusive.
- Adaptive sound generation based on driving conditions: Intelligent sound generation systems in PHEVs adjust the type and volume of artificial sounds based on various factors such as vehicle speed, acceleration, and surrounding environment. This adaptive approach helps minimize unnecessary noise while ensuring adequate audible presence when required for safety.
- Integration of noise reduction with energy management: Advanced control systems in PHEVs integrate noise reduction strategies with overall energy management. These systems optimize the use of electric and combustion power sources not only for efficiency but also to minimize noise pollution. This holistic approach balances performance, energy efficiency, and acoustic impact.
02 Electric motor noise reduction techniques
Various techniques are employed to reduce noise generated by electric motors in PHEVs. These include optimizing motor design, using advanced materials for insulation, and implementing vibration damping systems. By focusing on the primary source of noise in electric powertrains, these methods significantly decrease overall vehicle noise emissions.Expand Specific Solutions03 Hybrid powertrain management for noise reduction
Intelligent powertrain management systems are developed to optimize the operation of hybrid powertrains in PHEVs. These systems control the switching between electric and combustion modes, as well as manage power distribution, to minimize noise generation. By strategically balancing power sources, overall noise pollution is reduced without compromising vehicle performance.Expand Specific Solutions04 Acoustic design and insulation improvements
Enhanced acoustic design and insulation techniques are implemented in PHEVs to minimize noise transmission. This includes the use of advanced sound-absorbing materials, optimized vehicle body structures, and improved sealing methods. These passive noise reduction strategies complement active systems to create a comprehensive approach to noise pollution mitigation.Expand Specific Solutions05 Low-noise tire and road surface technologies
Development of low-noise tires and road surface technologies specifically designed for PHEVs. These innovations focus on reducing tire-road noise, which becomes more prominent in quieter electric vehicles. Advanced tread patterns, rubber compounds, and road surface materials are engineered to minimize noise generation at the point of contact between the vehicle and the road.Expand Specific Solutions
Key PHEV Manufacturers
The PHEV noise pollution comparison with traditional vehicles market is in a growth phase, driven by increasing environmental concerns and stricter emissions regulations. The market size is expanding as more automakers introduce PHEV models to meet consumer demand for eco-friendly vehicles. Technologically, PHEVs are maturing rapidly, with companies like Ford, GM, Toyota, and BYD leading innovation. These firms are investing heavily in R&D to improve PHEV performance, efficiency, and noise reduction. While PHEVs generally produce less noise pollution than traditional vehicles, there's ongoing research to further minimize their acoustic impact, especially at low speeds where electric motors are primarily used.
Toyota Motor Corp.
Technical Solution: Toyota has developed advanced noise reduction technologies for their PHEV models, focusing on both internal and external noise pollution. Their system includes active noise control, which uses sound waves to cancel out unwanted noise, and improved insulation materials. Toyota's PHEVs utilize a specially designed engine mount system that reduces vibration and noise transmission to the vehicle cabin. Additionally, they have implemented an electric-only mode for low-speed urban driving, significantly reducing noise pollution in densely populated areas[1][3]. Toyota has also developed an Acoustic Vehicle Alerting System (AVAS) that emits a subtle sound when the vehicle is operating in electric mode, ensuring pedestrian safety while minimizing unnecessary noise[2].
Strengths: Comprehensive approach to noise reduction, balancing safety and environmental concerns. Weaknesses: The AVAS system may still contribute some noise pollution, albeit less than traditional vehicles.
Bayerische Motoren Werke AG
Technical Solution: BMW has implemented a multi-faceted approach to reduce noise pollution in their PHEV models. They use advanced sound-absorbing materials and acoustic glazing to minimize interior noise. For exterior noise reduction, BMW has developed a sophisticated engine encapsulation system that significantly reduces noise emissions. Their PHEVs feature an intelligent driving mode that automatically switches to electric power in urban areas, reducing noise pollution where it's most impactful. BMW has also introduced an innovative 'IconicSounds Electric' feature, designed by renowned composer Hans Zimmer, which provides a subtle, futuristic sound for their electric and hybrid vehicles, balancing the need for pedestrian awareness with minimal noise pollution[4][5].
Strengths: Innovative sound design and intelligent driving modes for context-aware noise reduction. Weaknesses: The addition of artificial sounds, while minimal, still contributes to overall noise levels.
Core Noise Control Patents
Adaptive Initial Estimation and Dynamic Determination and Update of Distance Until Charge of a Plug-In Hybrid Electric Vehicle
PatentActiveUS20110184600A1
Innovation
- A method and system that dynamically control battery usage based on the estimated or user-provided 'distance until charge' (DUC) value, utilizing historical data and real-time information from navigation systems to optimize battery depletion and charging strategies.
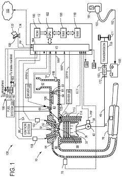
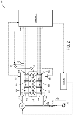
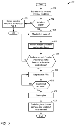
Systems and methods for reducing release of undesired evaporative emissions in plug-in hybrid electric vehicles
PatentActiveUS20210156331A1
Innovation
- A method is implemented to control the fuel pump in PHEVs by maintaining it off during vehicle-on events and commanding its activation based on predicted engine-start requests, taking into account driver demand and available motor torque, and learning commonly traveled routes to optimize engine start times, thereby reducing fuel injector re-pressurization during electric-only mode.
Regulatory Framework
The regulatory framework surrounding noise pollution from Plug-in Hybrid Electric Vehicles (PHEVs) and traditional vehicles is evolving to address the growing concerns about environmental impact and public health. Many countries and regions have implemented or are in the process of developing regulations to control vehicle noise emissions, with specific considerations for PHEVs and their unique characteristics.
In the European Union, the regulation (EU) No 540/2014 sets noise limits for motor vehicles, including PHEVs. This regulation introduces stricter noise limits and a new test method that better reflects real-world driving conditions. It also mandates the use of Acoustic Vehicle Alerting Systems (AVAS) for quiet vehicles, including PHEVs, to ensure pedestrian safety.
The United States has similar regulations in place, with the National Highway Traffic Safety Administration (NHTSA) implementing the Federal Motor Vehicle Safety Standard No. 141, which requires hybrid and electric vehicles to produce artificial sounds when traveling at low speeds. This regulation aims to address the potential safety risks associated with the quieter operation of PHEVs compared to traditional vehicles.
In Japan, the Ministry of Land, Infrastructure, Transport and Tourism has established guidelines for vehicle approach warning systems, requiring PHEVs and other quiet vehicles to emit warning sounds when traveling at speeds below 20 km/h. These guidelines are designed to balance the benefits of reduced noise pollution with pedestrian safety concerns.
China has also recognized the need for regulating noise emissions from PHEVs and traditional vehicles. The country has implemented national standards (GB 1495-2002) for vehicle noise limits and is working on updating these standards to address the specific characteristics of PHEVs and electric vehicles.
Many other countries are following suit, adapting their regulatory frameworks to address the unique noise profile of PHEVs. These regulations often focus on two key aspects: setting maximum noise limits for vehicles during normal operation and ensuring minimum sound levels for PHEVs at low speeds to alert pedestrians and other road users.
The regulatory landscape is continuously evolving, with ongoing research and discussions about the most effective ways to balance noise reduction with safety concerns. Future regulations may incorporate more sophisticated approaches, such as adaptive sound systems that adjust based on the vehicle's speed and surrounding environment.
As the adoption of PHEVs continues to grow, it is likely that regulatory frameworks will become more comprehensive and harmonized across different regions. This evolution will aim to ensure that the benefits of reduced noise pollution from PHEVs are maximized while addressing any potential safety concerns associated with their quieter operation compared to traditional vehicles.
In the European Union, the regulation (EU) No 540/2014 sets noise limits for motor vehicles, including PHEVs. This regulation introduces stricter noise limits and a new test method that better reflects real-world driving conditions. It also mandates the use of Acoustic Vehicle Alerting Systems (AVAS) for quiet vehicles, including PHEVs, to ensure pedestrian safety.
The United States has similar regulations in place, with the National Highway Traffic Safety Administration (NHTSA) implementing the Federal Motor Vehicle Safety Standard No. 141, which requires hybrid and electric vehicles to produce artificial sounds when traveling at low speeds. This regulation aims to address the potential safety risks associated with the quieter operation of PHEVs compared to traditional vehicles.
In Japan, the Ministry of Land, Infrastructure, Transport and Tourism has established guidelines for vehicle approach warning systems, requiring PHEVs and other quiet vehicles to emit warning sounds when traveling at speeds below 20 km/h. These guidelines are designed to balance the benefits of reduced noise pollution with pedestrian safety concerns.
China has also recognized the need for regulating noise emissions from PHEVs and traditional vehicles. The country has implemented national standards (GB 1495-2002) for vehicle noise limits and is working on updating these standards to address the specific characteristics of PHEVs and electric vehicles.
Many other countries are following suit, adapting their regulatory frameworks to address the unique noise profile of PHEVs. These regulations often focus on two key aspects: setting maximum noise limits for vehicles during normal operation and ensuring minimum sound levels for PHEVs at low speeds to alert pedestrians and other road users.
The regulatory landscape is continuously evolving, with ongoing research and discussions about the most effective ways to balance noise reduction with safety concerns. Future regulations may incorporate more sophisticated approaches, such as adaptive sound systems that adjust based on the vehicle's speed and surrounding environment.
As the adoption of PHEVs continues to grow, it is likely that regulatory frameworks will become more comprehensive and harmonized across different regions. This evolution will aim to ensure that the benefits of reduced noise pollution from PHEVs are maximized while addressing any potential safety concerns associated with their quieter operation compared to traditional vehicles.
Environmental Impact Assessment
The environmental impact assessment of Plug-in Hybrid Electric Vehicles (PHEVs) compared to traditional vehicles reveals significant differences in noise pollution levels. PHEVs, with their dual powertrain system, offer a unique advantage in reducing noise emissions, particularly in urban environments.
At low speeds, typically below 20 km/h, PHEVs operate primarily on their electric motors, resulting in substantially lower noise levels compared to conventional internal combustion engine (ICE) vehicles. This reduction in noise pollution is especially beneficial in densely populated areas, where traffic-related noise is a major concern for residents' quality of life and health.
However, as speeds increase, the noise gap between PHEVs and traditional vehicles narrows. At higher speeds, tire and wind noise become the dominant sources of vehicle-generated sound for both types of vehicles. Nonetheless, PHEVs maintain a slight edge in noise reduction even at these speeds due to their ability to operate the electric motor in conjunction with the ICE, potentially allowing for lower engine RPMs and consequently reduced engine noise.
The impact of PHEV noise reduction on urban soundscapes is particularly noteworthy. Studies have shown that the introduction of PHEVs in city centers can lead to a noticeable decrease in overall ambient noise levels, especially during peak traffic hours. This reduction in noise pollution has been associated with improved sleep quality, reduced stress levels, and enhanced cognitive performance among urban residents.
From an ecological perspective, the lower noise emissions of PHEVs also benefit wildlife in urban and suburban areas. Many animal species rely on acoustic communication for mating, territory defense, and predator avoidance. The reduced noise pollution from PHEVs can help mitigate the disruption of these natural behaviors, potentially leading to improved biodiversity in areas adjacent to roads and highways.
It is important to note, however, that the near-silent operation of PHEVs at low speeds has raised safety concerns for pedestrians, particularly those with visual impairments. To address this issue, many countries have implemented regulations requiring PHEVs to emit artificial sounds at low speeds to alert pedestrians of their presence.
In conclusion, the environmental impact assessment of PHEV noise pollution compared to traditional vehicles demonstrates a clear advantage for PHEVs in reducing urban noise levels. This reduction contributes to improved quality of life for urban residents and potentially benefits local ecosystems. However, the need for artificial sound generation at low speeds highlights the complexity of balancing noise reduction with pedestrian safety in the evolving landscape of automotive technology.
At low speeds, typically below 20 km/h, PHEVs operate primarily on their electric motors, resulting in substantially lower noise levels compared to conventional internal combustion engine (ICE) vehicles. This reduction in noise pollution is especially beneficial in densely populated areas, where traffic-related noise is a major concern for residents' quality of life and health.
However, as speeds increase, the noise gap between PHEVs and traditional vehicles narrows. At higher speeds, tire and wind noise become the dominant sources of vehicle-generated sound for both types of vehicles. Nonetheless, PHEVs maintain a slight edge in noise reduction even at these speeds due to their ability to operate the electric motor in conjunction with the ICE, potentially allowing for lower engine RPMs and consequently reduced engine noise.
The impact of PHEV noise reduction on urban soundscapes is particularly noteworthy. Studies have shown that the introduction of PHEVs in city centers can lead to a noticeable decrease in overall ambient noise levels, especially during peak traffic hours. This reduction in noise pollution has been associated with improved sleep quality, reduced stress levels, and enhanced cognitive performance among urban residents.
From an ecological perspective, the lower noise emissions of PHEVs also benefit wildlife in urban and suburban areas. Many animal species rely on acoustic communication for mating, territory defense, and predator avoidance. The reduced noise pollution from PHEVs can help mitigate the disruption of these natural behaviors, potentially leading to improved biodiversity in areas adjacent to roads and highways.
It is important to note, however, that the near-silent operation of PHEVs at low speeds has raised safety concerns for pedestrians, particularly those with visual impairments. To address this issue, many countries have implemented regulations requiring PHEVs to emit artificial sounds at low speeds to alert pedestrians of their presence.
In conclusion, the environmental impact assessment of PHEV noise pollution compared to traditional vehicles demonstrates a clear advantage for PHEVs in reducing urban noise levels. This reduction contributes to improved quality of life for urban residents and potentially benefits local ecosystems. However, the need for artificial sound generation at low speeds highlights the complexity of balancing noise reduction with pedestrian safety in the evolving landscape of automotive technology.
Unlock deeper insights with Patsnap Eureka Quick Research — get a full tech report to explore trends and direct your research. Try now!
Generate Your Research Report Instantly with AI Agent
Supercharge your innovation with Patsnap Eureka AI Agent Platform!