Positioning T wave inversion synthesis in revolutionary heart improvement pathways
AUG 19, 20259 MIN READ
Generate Your Research Report Instantly with AI Agent
Patsnap Eureka helps you evaluate technical feasibility & market potential.
T Wave Inversion Background
T wave inversion is a significant electrocardiographic finding that has been the subject of extensive research in cardiology. This phenomenon occurs when the T wave, which represents ventricular repolarization, appears inverted or negative in certain leads of an electrocardiogram (ECG). Historically, T wave inversion was first described in the early 20th century, but its full clinical significance has only been understood in recent decades.
The normal T wave is typically upright in most ECG leads, reflecting the orderly repolarization of the ventricular myocardium. However, in certain physiological and pathological conditions, this process can be altered, leading to T wave inversion. This inversion can be a marker of various cardiac conditions, including myocardial ischemia, cardiomyopathies, and electrolyte imbalances.
In the context of heart improvement pathways, understanding T wave inversion has become crucial. It serves as a valuable diagnostic tool, often indicating underlying cardiac pathology that may require intervention. The ability to accurately interpret T wave inversions can lead to early detection of heart conditions, potentially preventing more severe cardiac events.
Recent advancements in ECG technology and data analysis have enhanced our ability to detect and interpret T wave inversions. Machine learning algorithms and artificial intelligence have been employed to improve the accuracy of T wave inversion detection and to correlate these findings with specific cardiac pathologies.
The synthesis of T wave inversion in revolutionary heart improvement pathways involves integrating this ECG finding into comprehensive cardiac care strategies. This includes not only diagnostic applications but also its use in monitoring treatment efficacy and predicting patient outcomes. By positioning T wave inversion analysis within broader cardiac care frameworks, healthcare providers can develop more targeted and effective treatment plans.
Furthermore, research has shown that T wave inversion patterns can vary based on factors such as age, gender, and ethnicity. This has led to the development of more nuanced interpretations of T wave inversions, moving beyond a one-size-fits-all approach. Understanding these variations is crucial for accurate diagnosis and appropriate patient management.
As we continue to explore revolutionary heart improvement pathways, the role of T wave inversion synthesis becomes increasingly important. It represents a bridge between basic electrocardiography and advanced cardiac care, offering insights into cardiac function that can guide both preventive measures and treatment strategies. The ongoing research in this field promises to further refine our understanding and utilization of T wave inversion in cardiac diagnostics and therapy.
The normal T wave is typically upright in most ECG leads, reflecting the orderly repolarization of the ventricular myocardium. However, in certain physiological and pathological conditions, this process can be altered, leading to T wave inversion. This inversion can be a marker of various cardiac conditions, including myocardial ischemia, cardiomyopathies, and electrolyte imbalances.
In the context of heart improvement pathways, understanding T wave inversion has become crucial. It serves as a valuable diagnostic tool, often indicating underlying cardiac pathology that may require intervention. The ability to accurately interpret T wave inversions can lead to early detection of heart conditions, potentially preventing more severe cardiac events.
Recent advancements in ECG technology and data analysis have enhanced our ability to detect and interpret T wave inversions. Machine learning algorithms and artificial intelligence have been employed to improve the accuracy of T wave inversion detection and to correlate these findings with specific cardiac pathologies.
The synthesis of T wave inversion in revolutionary heart improvement pathways involves integrating this ECG finding into comprehensive cardiac care strategies. This includes not only diagnostic applications but also its use in monitoring treatment efficacy and predicting patient outcomes. By positioning T wave inversion analysis within broader cardiac care frameworks, healthcare providers can develop more targeted and effective treatment plans.
Furthermore, research has shown that T wave inversion patterns can vary based on factors such as age, gender, and ethnicity. This has led to the development of more nuanced interpretations of T wave inversions, moving beyond a one-size-fits-all approach. Understanding these variations is crucial for accurate diagnosis and appropriate patient management.
As we continue to explore revolutionary heart improvement pathways, the role of T wave inversion synthesis becomes increasingly important. It represents a bridge between basic electrocardiography and advanced cardiac care, offering insights into cardiac function that can guide both preventive measures and treatment strategies. The ongoing research in this field promises to further refine our understanding and utilization of T wave inversion in cardiac diagnostics and therapy.
Cardiac Health Market Analysis
The cardiac health market has experienced significant growth in recent years, driven by an aging global population, increasing prevalence of cardiovascular diseases, and advancements in medical technology. The market encompasses a wide range of products and services, including diagnostic devices, monitoring equipment, therapeutic interventions, and preventive care solutions.
The global cardiac health market size was valued at approximately $129 billion in 2020 and is projected to reach $197 billion by 2027, growing at a compound annual growth rate (CAGR) of 6.3% during the forecast period. This growth is attributed to the rising incidence of heart diseases, lifestyle changes, and increased healthcare expenditure worldwide.
Within this market, the segment focusing on T wave inversion synthesis and revolutionary heart improvement pathways is gaining traction. T wave inversion, a critical indicator of various cardiac abnormalities, has become a focal point for innovative diagnostic and treatment approaches. The demand for advanced technologies that can accurately detect and interpret T wave inversions is on the rise, as healthcare providers seek more precise and efficient methods for cardiac assessment.
The market for cardiac monitoring devices, which includes electrocardiogram (ECG) machines and wearable heart monitors, is expected to grow substantially. These devices play a crucial role in detecting T wave inversions and other cardiac anomalies. The wearable cardiac monitoring segment, in particular, is forecasted to grow at a CAGR of 9.8% from 2021 to 2028, driven by the increasing adoption of remote patient monitoring solutions.
Geographically, North America dominates the cardiac health market, accounting for approximately 38% of the global market share. This is due to the high prevalence of cardiovascular diseases, advanced healthcare infrastructure, and significant investments in research and development. However, the Asia-Pacific region is expected to witness the fastest growth, with a CAGR of 7.5% from 2021 to 2028, driven by improving healthcare access, rising disposable incomes, and increasing awareness of cardiac health.
The market is characterized by intense competition among key players, including Medtronic, Abbott Laboratories, Boston Scientific Corporation, and Johnson & Johnson. These companies are investing heavily in research and development to introduce innovative solutions for cardiac care, including advanced algorithms for T wave inversion analysis and novel therapeutic approaches for heart improvement.
As the focus on preventive healthcare intensifies, there is a growing demand for non-invasive and early detection technologies. This trend is expected to drive further innovations in T wave inversion synthesis and analysis, potentially revolutionizing cardiac diagnostics and treatment pathways. The integration of artificial intelligence and machine learning in cardiac health technologies is also anticipated to play a significant role in market growth, offering more accurate and personalized cardiac care solutions.
The global cardiac health market size was valued at approximately $129 billion in 2020 and is projected to reach $197 billion by 2027, growing at a compound annual growth rate (CAGR) of 6.3% during the forecast period. This growth is attributed to the rising incidence of heart diseases, lifestyle changes, and increased healthcare expenditure worldwide.
Within this market, the segment focusing on T wave inversion synthesis and revolutionary heart improvement pathways is gaining traction. T wave inversion, a critical indicator of various cardiac abnormalities, has become a focal point for innovative diagnostic and treatment approaches. The demand for advanced technologies that can accurately detect and interpret T wave inversions is on the rise, as healthcare providers seek more precise and efficient methods for cardiac assessment.
The market for cardiac monitoring devices, which includes electrocardiogram (ECG) machines and wearable heart monitors, is expected to grow substantially. These devices play a crucial role in detecting T wave inversions and other cardiac anomalies. The wearable cardiac monitoring segment, in particular, is forecasted to grow at a CAGR of 9.8% from 2021 to 2028, driven by the increasing adoption of remote patient monitoring solutions.
Geographically, North America dominates the cardiac health market, accounting for approximately 38% of the global market share. This is due to the high prevalence of cardiovascular diseases, advanced healthcare infrastructure, and significant investments in research and development. However, the Asia-Pacific region is expected to witness the fastest growth, with a CAGR of 7.5% from 2021 to 2028, driven by improving healthcare access, rising disposable incomes, and increasing awareness of cardiac health.
The market is characterized by intense competition among key players, including Medtronic, Abbott Laboratories, Boston Scientific Corporation, and Johnson & Johnson. These companies are investing heavily in research and development to introduce innovative solutions for cardiac care, including advanced algorithms for T wave inversion analysis and novel therapeutic approaches for heart improvement.
As the focus on preventive healthcare intensifies, there is a growing demand for non-invasive and early detection technologies. This trend is expected to drive further innovations in T wave inversion synthesis and analysis, potentially revolutionizing cardiac diagnostics and treatment pathways. The integration of artificial intelligence and machine learning in cardiac health technologies is also anticipated to play a significant role in market growth, offering more accurate and personalized cardiac care solutions.
T Wave Inversion Detection Challenges
T wave inversion detection presents several significant challenges in the field of cardiology and electrocardiogram (ECG) analysis. One of the primary difficulties lies in distinguishing between pathological T wave inversions and normal variants. Physiological T wave inversions can occur in certain leads, particularly in young individuals or athletes, making it crucial to differentiate these from abnormal inversions indicative of cardiac pathology.
The variability in T wave morphology across different individuals and even within the same individual over time further complicates detection efforts. Factors such as heart rate, electrolyte imbalances, and medication effects can all influence T wave appearance, necessitating sophisticated algorithms capable of accounting for these variables.
Another challenge is the presence of noise and artifacts in ECG recordings. These disturbances can mask or distort T wave inversions, leading to false positives or negatives in detection algorithms. Developing robust signal processing techniques to filter out noise while preserving the integrity of the T wave signal remains an ongoing area of research.
The spatial heterogeneity of T wave inversions poses an additional hurdle. Inversions may be present in some leads but not others, requiring comprehensive analysis of multiple ECG leads simultaneously. This multi-lead approach adds complexity to detection algorithms and increases computational demands.
Temporal variations in T wave inversions also present challenges. Some cardiac conditions may cause transient inversions, necessitating continuous or frequent ECG monitoring to capture these events. Developing efficient methods for long-term ECG analysis and real-time T wave inversion detection is crucial for improving diagnostic accuracy.
The interpretation of T wave inversions in the context of other ECG abnormalities further complicates detection efforts. For instance, distinguishing between primary T wave inversions and those secondary to bundle branch blocks or ventricular hypertrophy requires sophisticated pattern recognition capabilities.
Lastly, the integration of T wave inversion detection into existing ECG analysis systems presents technical and practical challenges. Ensuring compatibility with various ECG recording devices, seamless integration into clinical workflows, and maintaining high performance across diverse patient populations are all critical considerations in developing effective T wave inversion detection solutions.
The variability in T wave morphology across different individuals and even within the same individual over time further complicates detection efforts. Factors such as heart rate, electrolyte imbalances, and medication effects can all influence T wave appearance, necessitating sophisticated algorithms capable of accounting for these variables.
Another challenge is the presence of noise and artifacts in ECG recordings. These disturbances can mask or distort T wave inversions, leading to false positives or negatives in detection algorithms. Developing robust signal processing techniques to filter out noise while preserving the integrity of the T wave signal remains an ongoing area of research.
The spatial heterogeneity of T wave inversions poses an additional hurdle. Inversions may be present in some leads but not others, requiring comprehensive analysis of multiple ECG leads simultaneously. This multi-lead approach adds complexity to detection algorithms and increases computational demands.
Temporal variations in T wave inversions also present challenges. Some cardiac conditions may cause transient inversions, necessitating continuous or frequent ECG monitoring to capture these events. Developing efficient methods for long-term ECG analysis and real-time T wave inversion detection is crucial for improving diagnostic accuracy.
The interpretation of T wave inversions in the context of other ECG abnormalities further complicates detection efforts. For instance, distinguishing between primary T wave inversions and those secondary to bundle branch blocks or ventricular hypertrophy requires sophisticated pattern recognition capabilities.
Lastly, the integration of T wave inversion detection into existing ECG analysis systems presents technical and practical challenges. Ensuring compatibility with various ECG recording devices, seamless integration into clinical workflows, and maintaining high performance across diverse patient populations are all critical considerations in developing effective T wave inversion detection solutions.
Current T Wave Inversion Detection Methods
01 ECG signal processing for T wave inversion detection
Advanced signal processing techniques are applied to electrocardiogram (ECG) data to accurately detect and analyze T wave inversions. These methods involve filtering, feature extraction, and pattern recognition algorithms to identify abnormal T wave morphologies in cardiac signals.- ECG signal processing for T wave inversion detection: Advanced signal processing techniques are applied to electrocardiogram (ECG) data to accurately detect and analyze T wave inversions. These methods involve filtering, feature extraction, and pattern recognition algorithms to identify abnormal T wave morphologies in cardiac signals.
- Machine learning algorithms for T wave inversion classification: Machine learning models, including neural networks and support vector machines, are employed to classify T wave inversions. These algorithms are trained on large datasets of ECG signals to improve accuracy in identifying various types of T wave abnormalities.
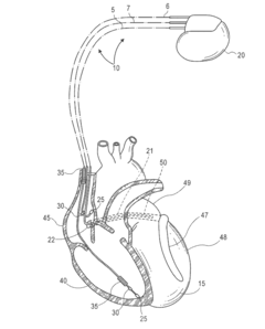
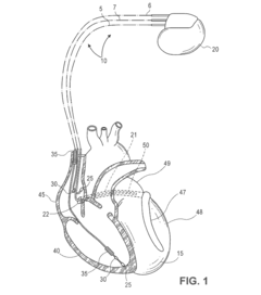
- Wearable devices for continuous T wave monitoring: Wearable ECG devices are developed to provide continuous monitoring of T wave morphology. These devices incorporate miniaturized sensors and wireless communication technologies to enable real-time detection of T wave inversions in ambulatory settings.
- Synthetic ECG generation with T wave inversion: Techniques for generating synthetic ECG signals that include realistic T wave inversions are developed. These methods use mathematical models and signal processing algorithms to create artificial ECG data for testing and validating T wave inversion detection systems.
- Integration of T wave inversion analysis in cardiac diagnostic systems: Comprehensive cardiac diagnostic systems incorporate T wave inversion analysis as a key component. These systems combine multiple ECG features and clinical data to provide a holistic assessment of cardiac health, with T wave inversion serving as an important indicator of potential cardiac abnormalities.
02 Machine learning algorithms for T wave inversion classification
Machine learning models, including neural networks and support vector machines, are employed to classify T wave inversions in ECG signals. These algorithms are trained on large datasets to improve accuracy in distinguishing between different types of T wave abnormalities and their clinical significance.Expand Specific Solutions03 Wearable devices for continuous T wave monitoring
Innovative wearable ECG devices are developed to enable continuous monitoring of T wave morphology. These devices incorporate miniaturized sensors and wireless communication technologies to provide real-time analysis of T wave inversions, allowing for early detection of cardiac abnormalities in ambulatory settings.Expand Specific Solutions04 3D visualization of T wave inversion patterns
Advanced imaging techniques are used to create three-dimensional visualizations of T wave inversion patterns in the heart. These methods combine ECG data with cardiac imaging modalities to provide a comprehensive view of the spatial distribution and temporal evolution of T wave abnormalities.Expand Specific Solutions05 Artificial T wave inversion synthesis for training and testing
Synthetic T wave inversion signals are generated using mathematical models and signal processing techniques. These artificially created signals are used to train machine learning algorithms, test diagnostic systems, and validate ECG analysis software, improving the overall accuracy and robustness of T wave inversion detection methods.Expand Specific Solutions
Key Players in Cardiac Diagnostics
The positioning of T wave inversion synthesis in revolutionary heart improvement pathways is in a nascent stage, with the market still developing and technological advancements ongoing. The competitive landscape is characterized by a mix of established medical device companies and innovative startups. Key players like Medtronic, Boston Scientific (through Cardiac Pacemakers, Inc.), and Siemens Healthineers are leveraging their extensive resources and expertise in cardiac care to explore this emerging field. Simultaneously, specialized firms such as 4C Medical Technologies and JC Medical are focusing on novel approaches to structural heart disease treatment. The market size is expected to grow significantly as the technology matures and clinical applications expand, driven by the increasing prevalence of cardiovascular diseases and the demand for minimally invasive treatment options.
Medtronic, Inc.
Technical Solution: Medtronic has developed an advanced algorithm for T wave inversion detection and synthesis in implantable cardiac devices. Their approach utilizes machine learning techniques to analyze real-time ECG data and identify subtle T wave changes indicative of cardiac abnormalities. The system employs a neural network trained on a large dataset of ECG recordings to accurately detect and characterize T wave inversions[1]. Once detected, the device can synthesize an idealized T wave morphology to aid in diagnosis and treatment planning. This technology is integrated into their latest generation of implantable cardioverter-defibrillators (ICDs) and cardiac resynchronization therapy devices (CRT-Ds), providing continuous monitoring and early warning of potential cardiac events[2].
Strengths: Highly accurate T wave inversion detection, real-time monitoring capability, integration with existing implantable devices. Weaknesses: Requires regular software updates, potential for false positives in certain patient populations.
Pacesetter, Inc.
Technical Solution: Pacesetter has developed a novel approach to T wave inversion synthesis and analysis in their cardiac pacing systems. Their technology utilizes a combination of signal processing algorithms and machine learning models to accurately detect and characterize T wave inversions in real-time. The system employs adaptive filtering techniques to isolate T waves from the overall ECG signal, followed by a deep learning model that analyzes the T wave morphology for signs of inversion[3]. Upon detection, the device can synthesize an idealized T wave form to aid in diagnosis and guide pacing adjustments. This technology is integrated into their latest pacemakers and implantable cardioverter-defibrillators, allowing for continuous monitoring and early detection of potential cardiac issues[4].
Strengths: High sensitivity and specificity in T wave inversion detection, adaptive learning capabilities, seamless integration with existing pacing systems. Weaknesses: May require significant computational resources, potential for reduced battery life in implantable devices.
Innovative T Wave Analysis Techniques
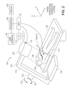
Systems for, and methods of, guidance based intraoperative cardiac resynchronization therapy optimization
PatentActiveUS20170312524A1
Innovation
- A method and system utilizing a navigation or medical positioning system (MPS) to track sensor paths during different pacing settings, analyzing parameters like eccentricity and hysteresis to identify the most efficient cardiac tissue displacement, and programming an implantable pulse generator accordingly, ensuring optimal lead placement and pacing settings.
Implantable Cardiac Prosthetic for Resynchronization by Biventricular Pacing Using Reverse Remodeling
PatentActiveUS20120259379A1
Innovation
- A CRT pacemaker is designed to temporarily alter pacing configurations in a non-optimal manner to force the heart to adapt, using endocardial acceleration sensors to select pacing sequences that promote reverse remodeling by analyzing transient responses and applying specific, controlled pacing sequences to improve long-term heart morphology and function.
Regulatory Framework for ECG Devices
The regulatory framework for ECG devices plays a crucial role in ensuring the safety, efficacy, and quality of these critical medical instruments. In the United States, the Food and Drug Administration (FDA) is the primary regulatory body overseeing ECG devices. The FDA classifies ECG devices as Class II medical devices, which require a 510(k) premarket notification submission to demonstrate substantial equivalence to a legally marketed predicate device.
The European Union employs the Medical Device Regulation (MDR) to govern ECG devices. Under the MDR, ECG devices are typically classified as Class IIa or IIb, depending on their specific features and intended use. Manufacturers must obtain CE marking to market their devices in the EU, which involves demonstrating compliance with essential requirements and undergoing a conformity assessment procedure.
In Japan, the Pharmaceuticals and Medical Devices Agency (PMDA) regulates ECG devices. The Japanese regulatory system classifies these devices based on their risk level and intended use, with most ECG devices falling under Class II or III. Manufacturers must obtain approval or certification from the PMDA before marketing their products in Japan.
China's National Medical Products Administration (NMPA) oversees the regulation of ECG devices in the country. The NMPA classifies medical devices into three categories based on risk, with most ECG devices falling under Class II or III. Manufacturers must obtain registration certificates from the NMPA before selling their products in China.
International standards, such as IEC 60601-2-25 for electrocardiographs and IEC 60601-2-47 for ambulatory electrocardiographic systems, provide essential guidelines for the safety and performance of ECG devices. These standards are widely recognized and often incorporated into national regulatory frameworks.
As ECG technology advances, regulatory bodies are adapting their frameworks to address new challenges. For instance, the increasing integration of artificial intelligence and machine learning algorithms in ECG analysis has prompted regulators to develop guidelines for software as a medical device (SaMD). The FDA has released guidance documents on this topic, while other regulatory agencies are following suit.
The global harmonization of regulatory requirements for ECG devices is an ongoing effort. Initiatives such as the International Medical Device Regulators Forum (IMDRF) aim to promote convergence in medical device regulation across different countries, potentially streamlining the approval process for manufacturers and ensuring consistent safety standards worldwide.
The European Union employs the Medical Device Regulation (MDR) to govern ECG devices. Under the MDR, ECG devices are typically classified as Class IIa or IIb, depending on their specific features and intended use. Manufacturers must obtain CE marking to market their devices in the EU, which involves demonstrating compliance with essential requirements and undergoing a conformity assessment procedure.
In Japan, the Pharmaceuticals and Medical Devices Agency (PMDA) regulates ECG devices. The Japanese regulatory system classifies these devices based on their risk level and intended use, with most ECG devices falling under Class II or III. Manufacturers must obtain approval or certification from the PMDA before marketing their products in Japan.
China's National Medical Products Administration (NMPA) oversees the regulation of ECG devices in the country. The NMPA classifies medical devices into three categories based on risk, with most ECG devices falling under Class II or III. Manufacturers must obtain registration certificates from the NMPA before selling their products in China.
International standards, such as IEC 60601-2-25 for electrocardiographs and IEC 60601-2-47 for ambulatory electrocardiographic systems, provide essential guidelines for the safety and performance of ECG devices. These standards are widely recognized and often incorporated into national regulatory frameworks.
As ECG technology advances, regulatory bodies are adapting their frameworks to address new challenges. For instance, the increasing integration of artificial intelligence and machine learning algorithms in ECG analysis has prompted regulators to develop guidelines for software as a medical device (SaMD). The FDA has released guidance documents on this topic, while other regulatory agencies are following suit.
The global harmonization of regulatory requirements for ECG devices is an ongoing effort. Initiatives such as the International Medical Device Regulators Forum (IMDRF) aim to promote convergence in medical device regulation across different countries, potentially streamlining the approval process for manufacturers and ensuring consistent safety standards worldwide.
AI Integration in ECG Interpretation
The integration of artificial intelligence (AI) in ECG interpretation represents a significant advancement in cardiovascular diagnostics. AI algorithms have demonstrated remarkable capabilities in analyzing complex ECG patterns, including T wave inversions, with high accuracy and efficiency. These AI-powered systems can process vast amounts of ECG data, identifying subtle abnormalities that may be overlooked by human interpreters.
Machine learning models, particularly deep neural networks, have shown promising results in detecting and classifying T wave inversions. These models can be trained on large datasets of ECG recordings, learning to recognize the nuanced characteristics of T wave morphology across various cardiac conditions. The ability of AI to synthesize and analyze T wave inversions in the context of overall ECG patterns contributes to more comprehensive and precise cardiac assessments.
AI integration in ECG interpretation extends beyond mere pattern recognition. Advanced algorithms can correlate T wave inversion data with other clinical parameters, patient history, and imaging results, providing a more holistic view of cardiac health. This multi-modal approach enhances the diagnostic accuracy and prognostic value of ECG analysis, potentially leading to earlier detection of cardiac abnormalities and more personalized treatment strategies.
The implementation of AI in ECG interpretation also offers significant advantages in terms of workflow efficiency and accessibility. Automated analysis can rapidly process large volumes of ECG data, reducing the workload on healthcare professionals and enabling faster triage of patients. This is particularly valuable in emergency settings, where timely identification of critical cardiac conditions is essential.
Furthermore, AI-powered ECG interpretation systems can be deployed in remote or underserved areas, improving access to expert-level cardiac diagnostics. Cloud-based platforms allow for the centralized processing of ECG data, enabling healthcare providers in various locations to benefit from advanced AI analysis. This democratization of cardiac diagnostics has the potential to significantly impact global cardiovascular health outcomes.
As AI technology continues to evolve, we can anticipate further refinements in T wave inversion analysis and synthesis. Future developments may include real-time ECG monitoring systems with AI-driven alerts for subtle changes in T wave morphology, potentially predicting adverse cardiac events before they occur. The integration of AI in ECG interpretation represents a revolutionary pathway in heart health improvement, offering enhanced diagnostic accuracy, efficiency, and accessibility in cardiovascular care.
Machine learning models, particularly deep neural networks, have shown promising results in detecting and classifying T wave inversions. These models can be trained on large datasets of ECG recordings, learning to recognize the nuanced characteristics of T wave morphology across various cardiac conditions. The ability of AI to synthesize and analyze T wave inversions in the context of overall ECG patterns contributes to more comprehensive and precise cardiac assessments.
AI integration in ECG interpretation extends beyond mere pattern recognition. Advanced algorithms can correlate T wave inversion data with other clinical parameters, patient history, and imaging results, providing a more holistic view of cardiac health. This multi-modal approach enhances the diagnostic accuracy and prognostic value of ECG analysis, potentially leading to earlier detection of cardiac abnormalities and more personalized treatment strategies.
The implementation of AI in ECG interpretation also offers significant advantages in terms of workflow efficiency and accessibility. Automated analysis can rapidly process large volumes of ECG data, reducing the workload on healthcare professionals and enabling faster triage of patients. This is particularly valuable in emergency settings, where timely identification of critical cardiac conditions is essential.
Furthermore, AI-powered ECG interpretation systems can be deployed in remote or underserved areas, improving access to expert-level cardiac diagnostics. Cloud-based platforms allow for the centralized processing of ECG data, enabling healthcare providers in various locations to benefit from advanced AI analysis. This democratization of cardiac diagnostics has the potential to significantly impact global cardiovascular health outcomes.
As AI technology continues to evolve, we can anticipate further refinements in T wave inversion analysis and synthesis. Future developments may include real-time ECG monitoring systems with AI-driven alerts for subtle changes in T wave morphology, potentially predicting adverse cardiac events before they occur. The integration of AI in ECG interpretation represents a revolutionary pathway in heart health improvement, offering enhanced diagnostic accuracy, efficiency, and accessibility in cardiovascular care.
Unlock deeper insights with Patsnap Eureka Quick Research — get a full tech report to explore trends and direct your research. Try now!
Generate Your Research Report Instantly with AI Agent
Supercharge your innovation with Patsnap Eureka AI Agent Platform!