How submersible pumps improve living standards in remote communities.
JUL 15, 20259 MIN READ
Generate Your Research Report Instantly with AI Agent
Patsnap Eureka helps you evaluate technical feasibility & market potential.
Submersible Pump Tech Evolution and Objectives
Submersible pumps have undergone significant technological advancements since their inception, revolutionizing water access in remote communities. The evolution of these pumps has been driven by the need for more efficient, reliable, and cost-effective solutions to improve living standards in areas with limited infrastructure.
Initially, submersible pumps were primarily used for industrial applications and large-scale water extraction. However, as technology progressed, smaller, more energy-efficient models were developed, making them suitable for residential and community use in remote areas. This shift in focus has been crucial in addressing the water scarcity issues faced by many isolated populations.
The primary objective of submersible pump technology in remote communities is to provide consistent access to clean water for drinking, sanitation, and agricultural purposes. By placing the pump mechanism below the water surface, these systems can operate more efficiently and with less maintenance than traditional surface pumps, making them ideal for areas with limited technical support.
Recent technological goals have centered on improving energy efficiency, as many remote locations rely on off-grid power sources. Innovations in motor design, impeller technology, and materials science have led to pumps that can operate on solar power or other renewable energy sources, significantly reducing operational costs and environmental impact.
Another key objective has been to enhance the durability and reliability of submersible pumps. Engineers have focused on developing corrosion-resistant materials and improving sealing technologies to extend the lifespan of pumps in harsh environments. This has resulted in systems that can operate for extended periods with minimal maintenance, a critical factor in remote areas where technical expertise may be scarce.
The integration of smart technologies into submersible pump systems represents a recent trend in the field. Remote monitoring and control capabilities allow for predictive maintenance and real-time adjustments, ensuring optimal performance and reducing the need for on-site interventions. This technological leap has made it possible to manage water resources more effectively, even in the most isolated communities.
As we look to the future, the objectives for submersible pump technology in remote areas continue to evolve. There is a growing emphasis on developing modular and easily repairable systems that can be maintained by local communities with minimal training. Additionally, research is being conducted to create pumps that can adapt to varying water quality conditions, potentially incorporating filtration and purification capabilities directly into the pump system.
Initially, submersible pumps were primarily used for industrial applications and large-scale water extraction. However, as technology progressed, smaller, more energy-efficient models were developed, making them suitable for residential and community use in remote areas. This shift in focus has been crucial in addressing the water scarcity issues faced by many isolated populations.
The primary objective of submersible pump technology in remote communities is to provide consistent access to clean water for drinking, sanitation, and agricultural purposes. By placing the pump mechanism below the water surface, these systems can operate more efficiently and with less maintenance than traditional surface pumps, making them ideal for areas with limited technical support.
Recent technological goals have centered on improving energy efficiency, as many remote locations rely on off-grid power sources. Innovations in motor design, impeller technology, and materials science have led to pumps that can operate on solar power or other renewable energy sources, significantly reducing operational costs and environmental impact.
Another key objective has been to enhance the durability and reliability of submersible pumps. Engineers have focused on developing corrosion-resistant materials and improving sealing technologies to extend the lifespan of pumps in harsh environments. This has resulted in systems that can operate for extended periods with minimal maintenance, a critical factor in remote areas where technical expertise may be scarce.
The integration of smart technologies into submersible pump systems represents a recent trend in the field. Remote monitoring and control capabilities allow for predictive maintenance and real-time adjustments, ensuring optimal performance and reducing the need for on-site interventions. This technological leap has made it possible to manage water resources more effectively, even in the most isolated communities.
As we look to the future, the objectives for submersible pump technology in remote areas continue to evolve. There is a growing emphasis on developing modular and easily repairable systems that can be maintained by local communities with minimal training. Additionally, research is being conducted to create pumps that can adapt to varying water quality conditions, potentially incorporating filtration and purification capabilities directly into the pump system.
Rural Water Demand Analysis
Remote communities often face significant challenges in accessing clean and reliable water sources, which directly impacts their living standards and overall quality of life. The demand for water in rural areas is driven by various factors, including population growth, agricultural needs, and the desire for improved sanitation and hygiene practices.
In many remote regions, traditional water sources such as rivers, streams, and shallow wells are often unreliable, contaminated, or seasonally dependent. This inconsistency in water supply leads to numerous health issues, reduced agricultural productivity, and limited economic development opportunities. As a result, there is a growing demand for sustainable and efficient water extraction methods that can provide a consistent supply of clean water throughout the year.
The introduction of submersible pumps has the potential to address these challenges and significantly improve water accessibility in remote communities. These pumps can extract water from deep underground aquifers, which are typically less susceptible to contamination and seasonal fluctuations compared to surface water sources. This reliability is crucial for meeting the daily water needs of rural households, supporting small-scale agriculture, and enabling the development of local businesses that rely on a stable water supply.
Furthermore, the demand for water in rural areas is not static but tends to increase over time as communities develop and adopt more water-intensive practices. Improved access to water through submersible pumps can lead to changes in water usage patterns, including increased personal hygiene practices, expanded agricultural activities, and the emergence of small-scale industries. These changes, while beneficial for overall living standards, also create a feedback loop that further drives the demand for reliable water sources.
The implementation of submersible pump systems in remote areas also aligns with broader development goals, such as the United Nations Sustainable Development Goal 6, which aims to ensure availability and sustainable management of water and sanitation for all. As awareness of the importance of clean water access grows, both within rural communities and among policymakers, the demand for effective water extraction technologies like submersible pumps is likely to increase.
However, it is important to note that the successful implementation of submersible pump systems requires careful consideration of local hydrogeological conditions, energy availability, and community engagement. The demand for these systems must be balanced with the need for sustainable water resource management to prevent overexploitation of aquifers and ensure long-term water security for remote communities.
In many remote regions, traditional water sources such as rivers, streams, and shallow wells are often unreliable, contaminated, or seasonally dependent. This inconsistency in water supply leads to numerous health issues, reduced agricultural productivity, and limited economic development opportunities. As a result, there is a growing demand for sustainable and efficient water extraction methods that can provide a consistent supply of clean water throughout the year.
The introduction of submersible pumps has the potential to address these challenges and significantly improve water accessibility in remote communities. These pumps can extract water from deep underground aquifers, which are typically less susceptible to contamination and seasonal fluctuations compared to surface water sources. This reliability is crucial for meeting the daily water needs of rural households, supporting small-scale agriculture, and enabling the development of local businesses that rely on a stable water supply.
Furthermore, the demand for water in rural areas is not static but tends to increase over time as communities develop and adopt more water-intensive practices. Improved access to water through submersible pumps can lead to changes in water usage patterns, including increased personal hygiene practices, expanded agricultural activities, and the emergence of small-scale industries. These changes, while beneficial for overall living standards, also create a feedback loop that further drives the demand for reliable water sources.
The implementation of submersible pump systems in remote areas also aligns with broader development goals, such as the United Nations Sustainable Development Goal 6, which aims to ensure availability and sustainable management of water and sanitation for all. As awareness of the importance of clean water access grows, both within rural communities and among policymakers, the demand for effective water extraction technologies like submersible pumps is likely to increase.
However, it is important to note that the successful implementation of submersible pump systems requires careful consideration of local hydrogeological conditions, energy availability, and community engagement. The demand for these systems must be balanced with the need for sustainable water resource management to prevent overexploitation of aquifers and ensure long-term water security for remote communities.
Current Challenges in Remote Water Access
Remote communities often face significant challenges in accessing clean and reliable water sources, which directly impacts their living standards and overall well-being. The lack of adequate water infrastructure in these areas poses a multitude of problems that hinder development and perpetuate cycles of poverty.
One of the primary challenges is the physical distance between water sources and residential areas. In many remote locations, inhabitants must travel long distances on foot to collect water from rivers, lakes, or communal wells. This time-consuming task often falls disproportionately on women and children, limiting their opportunities for education and economic activities.
The quality of available water sources is another critical concern. Surface water in remote areas is frequently contaminated with pathogens, chemicals, and other pollutants, leading to waterborne diseases and chronic health issues. Without proper treatment facilities, communities are forced to consume unsafe water, resulting in high rates of illness and mortality, particularly among vulnerable populations such as children and the elderly.
Seasonal variations in water availability present additional challenges. Many remote communities rely on rainfall or seasonal water bodies, which can become scarce during dry periods. This unpredictability in water supply leads to water rationing, increased competition for limited resources, and potential conflicts within communities.
The lack of technical expertise and resources for maintaining water infrastructure is a significant obstacle. Even when water systems are installed, remote communities often struggle to keep them operational due to limited access to spare parts, tools, and skilled technicians. This results in frequent breakdowns and prolonged periods without access to clean water.
Financial constraints further exacerbate the water access problem. Remote communities typically have limited economic resources, making it difficult to invest in robust water infrastructure or pay for ongoing maintenance and operation costs. This financial burden can strain already limited community resources and hinder other essential development initiatives.
The absence of reliable electricity supply in many remote areas compounds the water access challenge. Traditional water pumping systems often rely on electricity, which may be unavailable or unreliable in these locations. This limitation restricts the options for water extraction and distribution, particularly from deep underground sources.
Environmental factors, such as drought, deforestation, and climate change, are increasingly affecting water availability in remote areas. These changes can lead to the depletion of traditional water sources, forcing communities to seek alternatives or migrate to other regions.
The combination of these challenges creates a complex and interconnected set of problems that significantly impact the quality of life in remote communities. Addressing these issues requires innovative, sustainable, and context-specific solutions that can overcome the unique obstacles faced by these populations in accessing clean and reliable water sources.
One of the primary challenges is the physical distance between water sources and residential areas. In many remote locations, inhabitants must travel long distances on foot to collect water from rivers, lakes, or communal wells. This time-consuming task often falls disproportionately on women and children, limiting their opportunities for education and economic activities.
The quality of available water sources is another critical concern. Surface water in remote areas is frequently contaminated with pathogens, chemicals, and other pollutants, leading to waterborne diseases and chronic health issues. Without proper treatment facilities, communities are forced to consume unsafe water, resulting in high rates of illness and mortality, particularly among vulnerable populations such as children and the elderly.
Seasonal variations in water availability present additional challenges. Many remote communities rely on rainfall or seasonal water bodies, which can become scarce during dry periods. This unpredictability in water supply leads to water rationing, increased competition for limited resources, and potential conflicts within communities.
The lack of technical expertise and resources for maintaining water infrastructure is a significant obstacle. Even when water systems are installed, remote communities often struggle to keep them operational due to limited access to spare parts, tools, and skilled technicians. This results in frequent breakdowns and prolonged periods without access to clean water.
Financial constraints further exacerbate the water access problem. Remote communities typically have limited economic resources, making it difficult to invest in robust water infrastructure or pay for ongoing maintenance and operation costs. This financial burden can strain already limited community resources and hinder other essential development initiatives.
The absence of reliable electricity supply in many remote areas compounds the water access challenge. Traditional water pumping systems often rely on electricity, which may be unavailable or unreliable in these locations. This limitation restricts the options for water extraction and distribution, particularly from deep underground sources.
Environmental factors, such as drought, deforestation, and climate change, are increasingly affecting water availability in remote areas. These changes can lead to the depletion of traditional water sources, forcing communities to seek alternatives or migrate to other regions.
The combination of these challenges creates a complex and interconnected set of problems that significantly impact the quality of life in remote communities. Addressing these issues requires innovative, sustainable, and context-specific solutions that can overcome the unique obstacles faced by these populations in accessing clean and reliable water sources.
Existing Submersible Pump Solutions
01 Improved pump efficiency and performance
Submersible pumps are designed with advanced features to enhance efficiency and performance, contributing to improved living standards. These innovations include optimized impeller designs, enhanced motor technologies, and intelligent control systems that adapt to varying water conditions and demand.- Improved pump efficiency and performance: Submersible pumps are designed with advanced features to enhance efficiency and performance, contributing to improved living standards. These pumps incorporate innovative impeller designs, optimized motor configurations, and advanced control systems to deliver better water flow rates, reduced energy consumption, and increased reliability in various applications.
- Enhanced durability and longevity: Modern submersible pumps are engineered with high-quality materials and protective coatings to withstand harsh underwater environments. This increased durability leads to longer operational lifespans, reduced maintenance requirements, and improved reliability, ultimately contributing to better living standards through consistent water supply and reduced replacement costs.
- Smart monitoring and control systems: Integration of smart technologies in submersible pumps allows for real-time monitoring, remote control, and predictive maintenance. These features enable early detection of issues, optimize pump performance, and reduce downtime, leading to more reliable water supply systems and improved living conditions for users.
- Versatility in applications: Modern submersible pumps are designed to handle a wide range of applications, from residential water supply to industrial processes and agricultural irrigation. This versatility contributes to improved living standards by providing efficient water management solutions across various sectors of society.
- Environmental considerations: Submersible pumps are increasingly designed with environmental considerations in mind, incorporating features such as energy-efficient motors, eco-friendly materials, and reduced noise pollution. These advancements contribute to sustainable water management practices and improved living conditions by minimizing environmental impact and promoting resource conservation.
02 Energy-efficient submersible pump systems
Energy-efficient submersible pump systems are developed to reduce power consumption and operating costs, making them more accessible and sustainable for various applications. These systems incorporate variable speed drives, high-efficiency motors, and smart power management features to optimize energy usage.Expand Specific Solutions03 Compact and versatile pump designs
Compact and versatile submersible pump designs are created to fit in various environments and serve multiple purposes, enhancing living standards by providing reliable water supply in diverse settings. These pumps are engineered for easy installation, maintenance, and adaptability to different water sources and applications.Expand Specific Solutions04 Integration of smart technologies
Submersible pumps are integrated with smart technologies, including IoT connectivity, remote monitoring, and predictive maintenance capabilities. These features enable better control, real-time performance tracking, and proactive maintenance, leading to improved reliability and reduced downtime.Expand Specific Solutions05 Environmental and safety considerations
Submersible pumps are designed with enhanced environmental and safety features to meet modern living standards. These include improved sealing technologies to prevent contamination, noise reduction mechanisms, and fail-safe systems to protect against dry running and overheating, ensuring safe and eco-friendly operation.Expand Specific Solutions
Key Manufacturers and Market Landscape
The market for submersible pumps in remote communities is in a growth phase, driven by increasing demand for improved water access and sanitation. The global submersible pump market size is projected to expand significantly, with a focus on developing regions. Technological advancements are enhancing pump efficiency and reliability, crucial for remote applications. Key players like Flowserve, Baker Hughes, and Grundfos are leading innovation in this sector, developing pumps with improved durability, energy efficiency, and remote monitoring capabilities. Emerging companies from China and India are also entering the market, potentially disrupting traditional market dynamics. The technology is maturing rapidly, with a trend towards smart, IoT-enabled pumps that can operate in challenging environments, significantly improving living standards in remote areas.
Flowserve Management Co.
Technical Solution: Flowserve has developed submersible pumps with a focus on reliability and efficiency for remote applications. Their VCT submersible turbine pumps are designed for deep well installations, capable of operating at depths up to 1000 feet[7]. These pumps feature advanced hydraulics that provide high efficiency across a wide range of flow rates, crucial for adapting to varying water demands in remote communities. Flowserve has implemented corrosion-resistant materials and wear-resistant coatings to extend pump life in harsh environments. Their pumps also incorporate advanced sealing technology to prevent contamination, ensuring water quality[8]. Flowserve has developed smart monitoring systems that allow for remote diagnostics and predictive maintenance, reducing the need for frequent on-site inspections in hard-to-reach locations[9].
Strengths: Deep well capability, adaptable performance, corrosion resistance, and remote monitoring. Weaknesses: Potentially higher initial investment, may require specialized skills for installation and maintenance in remote areas.
Sulzer Management AG
Technical Solution: Sulzer has developed a range of submersible pumps tailored for remote community applications. Their XFP submersible sewage pumps feature Premium Efficiency IE3 motors, significantly reducing energy consumption[4]. Sulzer's innovative Contrablock Plus impeller design ensures high hydraulic efficiency while effectively handling solids, crucial for maintaining sanitation in remote areas[5]. The company has also introduced smart monitoring systems that allow predictive maintenance, reducing downtime and improving reliability. Sulzer's pumps incorporate advanced materials like high-chrome alloys, providing excellent wear resistance in challenging environments. Their modular design approach allows for easier installation and maintenance, a key factor in remote locations with limited resources[6].
Strengths: High energy efficiency, advanced impeller design, smart monitoring capabilities, and modular construction. Weaknesses: May have a higher upfront cost, potential complexity in repair for non-specialized technicians in remote areas.
Innovative Pump Technologies for Remote Areas
Atmospheric pump using solar energy
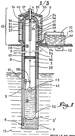
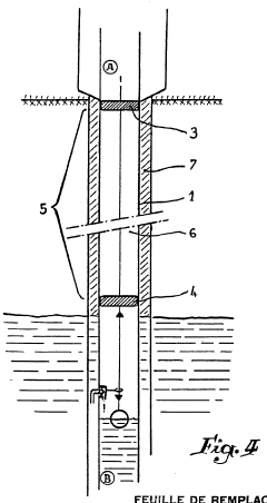
PatentWO1988009437A1
Innovation
- A solar-powered atmospheric pump utilizing a steel or copper tube with a variable diameter, equipped with a non-return valve and insulation, leverages the CLAPEYRON gas equation to generate pressure from saturated steam, allowing for autonomous and efficient water extraction from depths up to 200 meters using solar energy.
Esp with improved deployment for live intervention
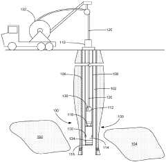
PatentWO2023177648A1
Innovation
- The system employs a reinforced power cable to support the weight of the motor and pump, with internal compensators for thermal expansion and an internal thrust bearing to manage axial loads, allowing for deployment and retrieval through production tubing using a method that includes connecting the pump to a landing assembly and power cable, and using tethers or pressurized fluid for weight management.
Socioeconomic Impact Assessment
The introduction of submersible pumps in remote communities has led to significant socioeconomic improvements, transforming the lives of residents in various ways. One of the most immediate impacts is the enhanced access to clean water, which has far-reaching consequences for public health. With reliable water sources, communities have experienced a reduction in waterborne diseases, leading to decreased healthcare costs and improved overall well-being.
The availability of water through submersible pumps has also revolutionized agricultural practices in these areas. Farmers can now irrigate their crops more efficiently, resulting in increased crop yields and food security. This agricultural boost has not only improved nutrition but has also created new economic opportunities, as surplus produce can be sold in local markets or exported to other regions.
Education has seen notable improvements as well. With easier access to water, children, especially girls, spend less time fetching water from distant sources. This allows for increased school attendance and better educational outcomes, potentially breaking the cycle of poverty in these communities.
The economic landscape of remote areas has been reshaped by the introduction of submersible pumps. New job opportunities have emerged in pump installation, maintenance, and repair, fostering the development of local technical skills. Additionally, the time saved from water collection can be redirected towards more productive activities, enabling individuals to engage in income-generating pursuits or pursue further education and training.
The social fabric of these communities has also been strengthened. Communal water points often become gathering places, fostering social interactions and community cohesion. The reduced burden of water collection has particularly benefited women and girls, allowing them more time for personal development, education, and participation in community decision-making processes.
Environmental benefits are notable as well. Submersible pumps, when properly managed, can lead to more sustainable water usage compared to traditional methods. This can help in preserving local ecosystems and ensuring long-term water security for the community.
However, it's important to note that the introduction of this technology also brings challenges. There may be initial disparities in access, with some community members benefiting more than others. Additionally, the reliance on submersible pumps necessitates ongoing maintenance and energy costs, which need to be managed sustainably to ensure long-term benefits for the community.
The availability of water through submersible pumps has also revolutionized agricultural practices in these areas. Farmers can now irrigate their crops more efficiently, resulting in increased crop yields and food security. This agricultural boost has not only improved nutrition but has also created new economic opportunities, as surplus produce can be sold in local markets or exported to other regions.
Education has seen notable improvements as well. With easier access to water, children, especially girls, spend less time fetching water from distant sources. This allows for increased school attendance and better educational outcomes, potentially breaking the cycle of poverty in these communities.
The economic landscape of remote areas has been reshaped by the introduction of submersible pumps. New job opportunities have emerged in pump installation, maintenance, and repair, fostering the development of local technical skills. Additionally, the time saved from water collection can be redirected towards more productive activities, enabling individuals to engage in income-generating pursuits or pursue further education and training.
The social fabric of these communities has also been strengthened. Communal water points often become gathering places, fostering social interactions and community cohesion. The reduced burden of water collection has particularly benefited women and girls, allowing them more time for personal development, education, and participation in community decision-making processes.
Environmental benefits are notable as well. Submersible pumps, when properly managed, can lead to more sustainable water usage compared to traditional methods. This can help in preserving local ecosystems and ensuring long-term water security for the community.
However, it's important to note that the introduction of this technology also brings challenges. There may be initial disparities in access, with some community members benefiting more than others. Additionally, the reliance on submersible pumps necessitates ongoing maintenance and energy costs, which need to be managed sustainably to ensure long-term benefits for the community.
Environmental Sustainability Considerations
The implementation of submersible pumps in remote communities not only improves living standards but also carries significant environmental sustainability considerations. These pumps, when properly designed and managed, can contribute to the conservation of water resources and reduce the overall environmental impact of water extraction and distribution systems.
One of the primary environmental benefits of submersible pumps is their potential for energy efficiency. Modern submersible pumps are designed to operate with high efficiency, consuming less electricity compared to traditional surface pumps. This reduced energy consumption translates to lower greenhouse gas emissions, particularly in areas where electricity generation relies heavily on fossil fuels. Furthermore, the use of solar-powered submersible pumps in remote locations can further minimize the carbon footprint of water supply systems.
Water conservation is another crucial aspect of environmental sustainability addressed by submersible pumps. These pumps can be equipped with advanced control systems that optimize water extraction based on demand, preventing over-pumping and wastage. By maintaining appropriate water levels in aquifers, submersible pumps help preserve local ecosystems and protect groundwater resources from depletion.
The durability and longevity of submersible pumps also contribute to their environmental sustainability. High-quality pumps can operate for extended periods with minimal maintenance, reducing the need for frequent replacements and the associated environmental costs of manufacturing and transporting new equipment. This longevity is particularly beneficial in remote communities where access to replacement parts and skilled technicians may be limited.
Submersible pumps can also play a role in mitigating water pollution. By providing access to clean groundwater, these pumps reduce reliance on potentially contaminated surface water sources. This shift can lead to improved water quality and reduced incidence of waterborne diseases, indirectly contributing to the overall health of local ecosystems.
However, it is essential to consider potential negative environmental impacts. Improper installation or overuse of submersible pumps can lead to groundwater depletion, affecting local flora and fauna. To address this, sustainable management practices, such as regular monitoring of water tables and implementing recharge strategies, should be integrated into pump deployment plans.
In conclusion, while submersible pumps offer significant environmental benefits, their sustainable implementation requires careful planning and management. By considering factors such as energy efficiency, water conservation, and long-term ecological impact, these pumps can be deployed in a manner that not only improves living standards but also promotes environmental sustainability in remote communities.
One of the primary environmental benefits of submersible pumps is their potential for energy efficiency. Modern submersible pumps are designed to operate with high efficiency, consuming less electricity compared to traditional surface pumps. This reduced energy consumption translates to lower greenhouse gas emissions, particularly in areas where electricity generation relies heavily on fossil fuels. Furthermore, the use of solar-powered submersible pumps in remote locations can further minimize the carbon footprint of water supply systems.
Water conservation is another crucial aspect of environmental sustainability addressed by submersible pumps. These pumps can be equipped with advanced control systems that optimize water extraction based on demand, preventing over-pumping and wastage. By maintaining appropriate water levels in aquifers, submersible pumps help preserve local ecosystems and protect groundwater resources from depletion.
The durability and longevity of submersible pumps also contribute to their environmental sustainability. High-quality pumps can operate for extended periods with minimal maintenance, reducing the need for frequent replacements and the associated environmental costs of manufacturing and transporting new equipment. This longevity is particularly beneficial in remote communities where access to replacement parts and skilled technicians may be limited.
Submersible pumps can also play a role in mitigating water pollution. By providing access to clean groundwater, these pumps reduce reliance on potentially contaminated surface water sources. This shift can lead to improved water quality and reduced incidence of waterborne diseases, indirectly contributing to the overall health of local ecosystems.
However, it is essential to consider potential negative environmental impacts. Improper installation or overuse of submersible pumps can lead to groundwater depletion, affecting local flora and fauna. To address this, sustainable management practices, such as regular monitoring of water tables and implementing recharge strategies, should be integrated into pump deployment plans.
In conclusion, while submersible pumps offer significant environmental benefits, their sustainable implementation requires careful planning and management. By considering factors such as energy efficiency, water conservation, and long-term ecological impact, these pumps can be deployed in a manner that not only improves living standards but also promotes environmental sustainability in remote communities.
Unlock deeper insights with Patsnap Eureka Quick Research — get a full tech report to explore trends and direct your research. Try now!
Generate Your Research Report Instantly with AI Agent
Supercharge your innovation with Patsnap Eureka AI Agent Platform!







