How to Integrate OFDM with Beamforming Techniques
SEP 5, 20259 MIN READ
Generate Your Research Report Instantly with AI Agent
Patsnap Eureka helps you evaluate technical feasibility & market potential.
OFDM-Beamforming Integration Background and Objectives
Orthogonal Frequency Division Multiplexing (OFDM) has emerged as a cornerstone technology in modern wireless communication systems since its commercial adoption in the late 1990s. The evolution of OFDM has been marked by significant milestones, from its theoretical foundations in the 1960s to its widespread implementation in standards such as WiFi (IEEE 802.11), 4G LTE, and now 5G NR. This multicarrier modulation technique effectively combats frequency-selective fading and inter-symbol interference by dividing the communication channel into multiple orthogonal sub-carriers.
Concurrently, beamforming technology has evolved from simple phased array systems to sophisticated adaptive beamforming techniques. The progression from switched beam systems to fully adaptive spatial processing represents a significant advancement in directional signal transmission. Beamforming enables focused energy transmission toward intended receivers while minimizing interference to others, substantially improving system capacity and coverage.
The integration of these two technologies represents a natural technological convergence driven by the increasing demands for higher data rates, improved spectral efficiency, and enhanced reliability in wireless networks. This convergence is particularly critical as we move toward more complex communication environments with higher frequency bands (mmWave and beyond) where path loss and signal attenuation become more pronounced.
The primary technical objectives for OFDM-beamforming integration include developing efficient channel estimation techniques that account for both frequency selectivity and spatial characteristics of the wireless channel. This requires innovative approaches to pilot design and channel state information (CSI) acquisition that minimize overhead while maintaining accuracy across both domains.
Another crucial objective is the design of computationally efficient algorithms for joint OFDM-beamforming processing. As the number of antennas and subcarriers increases, particularly in massive MIMO systems, the computational complexity grows substantially, necessitating optimized implementation strategies.
The integration also aims to address the unique challenges posed by high mobility scenarios, where rapid channel variations affect both the frequency and spatial domains. Developing robust techniques that maintain performance under such dynamic conditions remains a significant technical goal.
From a system perspective, the integration seeks to optimize resource allocation across both frequency (subcarriers) and spatial (beams) dimensions, maximizing overall system throughput while ensuring fairness among users. This multi-dimensional optimization problem requires novel approaches that consider the interplay between frequency-domain and spatial-domain resources.
Looking forward, the technology evolution trajectory points toward fully integrated waveform-spatial processing systems that adaptively optimize across multiple domains simultaneously, potentially incorporating additional dimensions such as time, code, and power allocation for holistic wireless system optimization.
Concurrently, beamforming technology has evolved from simple phased array systems to sophisticated adaptive beamforming techniques. The progression from switched beam systems to fully adaptive spatial processing represents a significant advancement in directional signal transmission. Beamforming enables focused energy transmission toward intended receivers while minimizing interference to others, substantially improving system capacity and coverage.
The integration of these two technologies represents a natural technological convergence driven by the increasing demands for higher data rates, improved spectral efficiency, and enhanced reliability in wireless networks. This convergence is particularly critical as we move toward more complex communication environments with higher frequency bands (mmWave and beyond) where path loss and signal attenuation become more pronounced.
The primary technical objectives for OFDM-beamforming integration include developing efficient channel estimation techniques that account for both frequency selectivity and spatial characteristics of the wireless channel. This requires innovative approaches to pilot design and channel state information (CSI) acquisition that minimize overhead while maintaining accuracy across both domains.
Another crucial objective is the design of computationally efficient algorithms for joint OFDM-beamforming processing. As the number of antennas and subcarriers increases, particularly in massive MIMO systems, the computational complexity grows substantially, necessitating optimized implementation strategies.
The integration also aims to address the unique challenges posed by high mobility scenarios, where rapid channel variations affect both the frequency and spatial domains. Developing robust techniques that maintain performance under such dynamic conditions remains a significant technical goal.
From a system perspective, the integration seeks to optimize resource allocation across both frequency (subcarriers) and spatial (beams) dimensions, maximizing overall system throughput while ensuring fairness among users. This multi-dimensional optimization problem requires novel approaches that consider the interplay between frequency-domain and spatial-domain resources.
Looking forward, the technology evolution trajectory points toward fully integrated waveform-spatial processing systems that adaptively optimize across multiple domains simultaneously, potentially incorporating additional dimensions such as time, code, and power allocation for holistic wireless system optimization.
Market Demand Analysis for OFDM-Beamforming Solutions
The integration of OFDM with beamforming techniques represents a critical technological convergence that is experiencing rapidly growing market demand across multiple sectors. Current market analysis indicates that the global market for OFDM-beamforming solutions is projected to grow substantially through 2030, driven primarily by the widespread deployment of 5G networks and the anticipated rollout of 6G technologies.
Telecommunications operators constitute the largest market segment, with urgent requirements for enhanced spectral efficiency and coverage in dense urban environments. These operators face increasing pressure to deliver higher data rates while managing limited spectrum resources, making OFDM-beamforming integration particularly valuable. Network equipment manufacturers report that solutions incorporating both technologies can achieve 30-40% improvements in network capacity compared to conventional approaches.
The enterprise networking sector represents another significant market, particularly for campus-wide networks and industrial IoT deployments. Organizations are increasingly demanding reliable high-bandwidth connections across complex physical environments, where the spatial selectivity of beamforming combined with OFDM's multipath resilience provides substantial advantages.
Consumer electronics manufacturers are also driving demand, particularly for devices supporting Wi-Fi 6E and future Wi-Fi 7 standards, which heavily leverage OFDM-beamforming integration. Market research indicates that consumers increasingly prioritize reliable connectivity and faster speeds when purchasing new devices, creating pull-through demand for these advanced technologies.
Automotive and transportation sectors show emerging demand patterns, particularly for vehicle-to-everything (V2X) communications, where reliable connectivity under challenging mobility conditions is essential. The combination of OFDM's robustness to Doppler effects with beamforming's spatial focusing capabilities addresses key requirements in this domain.
Defense and aerospace applications represent a smaller but higher-value market segment, with specific requirements for secure, reliable communications in contested electromagnetic environments. These applications often demand customized OFDM-beamforming solutions with enhanced interference rejection capabilities.
Regional analysis reveals that North America and East Asia currently lead in adoption, though Europe is accelerating deployment particularly in industrial applications. Emerging markets show growing interest as they seek to leapfrog legacy infrastructure limitations.
Market forecasts suggest that the total addressable market for integrated OFDM-beamforming solutions will expand at a compound annual growth rate exceeding 20% through 2028, with particularly strong growth in millimeter-wave applications where beamforming becomes essential to overcome propagation challenges.
Telecommunications operators constitute the largest market segment, with urgent requirements for enhanced spectral efficiency and coverage in dense urban environments. These operators face increasing pressure to deliver higher data rates while managing limited spectrum resources, making OFDM-beamforming integration particularly valuable. Network equipment manufacturers report that solutions incorporating both technologies can achieve 30-40% improvements in network capacity compared to conventional approaches.
The enterprise networking sector represents another significant market, particularly for campus-wide networks and industrial IoT deployments. Organizations are increasingly demanding reliable high-bandwidth connections across complex physical environments, where the spatial selectivity of beamforming combined with OFDM's multipath resilience provides substantial advantages.
Consumer electronics manufacturers are also driving demand, particularly for devices supporting Wi-Fi 6E and future Wi-Fi 7 standards, which heavily leverage OFDM-beamforming integration. Market research indicates that consumers increasingly prioritize reliable connectivity and faster speeds when purchasing new devices, creating pull-through demand for these advanced technologies.
Automotive and transportation sectors show emerging demand patterns, particularly for vehicle-to-everything (V2X) communications, where reliable connectivity under challenging mobility conditions is essential. The combination of OFDM's robustness to Doppler effects with beamforming's spatial focusing capabilities addresses key requirements in this domain.
Defense and aerospace applications represent a smaller but higher-value market segment, with specific requirements for secure, reliable communications in contested electromagnetic environments. These applications often demand customized OFDM-beamforming solutions with enhanced interference rejection capabilities.
Regional analysis reveals that North America and East Asia currently lead in adoption, though Europe is accelerating deployment particularly in industrial applications. Emerging markets show growing interest as they seek to leapfrog legacy infrastructure limitations.
Market forecasts suggest that the total addressable market for integrated OFDM-beamforming solutions will expand at a compound annual growth rate exceeding 20% through 2028, with particularly strong growth in millimeter-wave applications where beamforming becomes essential to overcome propagation challenges.
Current Technical Challenges in OFDM-Beamforming Integration
The integration of OFDM with beamforming techniques presents several significant technical challenges that researchers and engineers must overcome. One of the primary obstacles is the channel estimation complexity in multi-antenna OFDM systems. Accurate channel state information (CSI) is crucial for effective beamforming, but obtaining precise CSI across multiple subcarriers and antenna elements simultaneously requires sophisticated estimation algorithms and substantial computational resources. The time-varying nature of wireless channels further complicates this process, as CSI may become outdated before it can be effectively utilized.
Hardware implementation constraints pose another major challenge. The integration demands high-precision analog-to-digital converters, digital-to-analog converters, and RF front-end components capable of handling multiple signal paths with minimal distortion. Phase synchronization across antenna elements must be maintained with extreme precision, often requiring specialized calibration techniques. These hardware requirements significantly increase system cost and power consumption, creating barriers for widespread commercial adoption.
Pilot overhead and training sequence design represent a critical trade-off in OFDM-beamforming systems. More pilot symbols improve channel estimation accuracy but reduce spectral efficiency. This balance becomes increasingly difficult to maintain in massive MIMO configurations where the number of antenna elements can reach into the hundreds, requiring innovative pilot design approaches that minimize overhead while maintaining estimation quality.
Computational complexity presents a formidable challenge, particularly for real-time applications. Beamforming algorithms must process large matrices for each OFDM subcarrier, creating substantial processing demands. This becomes especially problematic in mobile devices with limited battery capacity and processing capabilities, necessitating algorithm optimizations and hardware accelerators.
Interference management remains a persistent issue in OFDM-beamforming systems. Inter-carrier interference (ICI) and inter-symbol interference (ISI) can be exacerbated when beamforming is applied incorrectly. Additionally, in multi-user scenarios, the beamforming vectors must be carefully designed to minimize inter-user interference while maximizing signal strength for intended users.
Mobility effects introduce Doppler shifts that can disrupt the orthogonality of OFDM subcarriers and degrade beamforming performance. High-speed scenarios, such as vehicular communications, amplify these challenges, requiring robust algorithms that can adapt to rapidly changing channel conditions while maintaining system performance.
Regulatory and standardization issues also present obstacles to widespread implementation. Different regions have varying regulations regarding spectrum usage, transmit power, and antenna configurations, complicating the design of globally compatible systems. Industry standardization efforts must balance innovation with interoperability concerns.
Hardware implementation constraints pose another major challenge. The integration demands high-precision analog-to-digital converters, digital-to-analog converters, and RF front-end components capable of handling multiple signal paths with minimal distortion. Phase synchronization across antenna elements must be maintained with extreme precision, often requiring specialized calibration techniques. These hardware requirements significantly increase system cost and power consumption, creating barriers for widespread commercial adoption.
Pilot overhead and training sequence design represent a critical trade-off in OFDM-beamforming systems. More pilot symbols improve channel estimation accuracy but reduce spectral efficiency. This balance becomes increasingly difficult to maintain in massive MIMO configurations where the number of antenna elements can reach into the hundreds, requiring innovative pilot design approaches that minimize overhead while maintaining estimation quality.
Computational complexity presents a formidable challenge, particularly for real-time applications. Beamforming algorithms must process large matrices for each OFDM subcarrier, creating substantial processing demands. This becomes especially problematic in mobile devices with limited battery capacity and processing capabilities, necessitating algorithm optimizations and hardware accelerators.
Interference management remains a persistent issue in OFDM-beamforming systems. Inter-carrier interference (ICI) and inter-symbol interference (ISI) can be exacerbated when beamforming is applied incorrectly. Additionally, in multi-user scenarios, the beamforming vectors must be carefully designed to minimize inter-user interference while maximizing signal strength for intended users.
Mobility effects introduce Doppler shifts that can disrupt the orthogonality of OFDM subcarriers and degrade beamforming performance. High-speed scenarios, such as vehicular communications, amplify these challenges, requiring robust algorithms that can adapt to rapidly changing channel conditions while maintaining system performance.
Regulatory and standardization issues also present obstacles to widespread implementation. Different regions have varying regulations regarding spectrum usage, transmit power, and antenna configurations, complicating the design of globally compatible systems. Industry standardization efforts must balance innovation with interoperability concerns.
Existing OFDM-Beamforming Integration Approaches
01 MIMO-OFDM Beamforming Integration
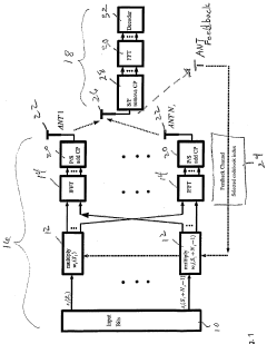
Integration of Multiple-Input Multiple-Output (MIMO) technology with OFDM and beamforming techniques enhances spectral efficiency and system capacity. This combination allows for spatial multiplexing and diversity gains while maintaining the multipath fading resistance of OFDM. The integration enables more efficient use of available spectrum through spatial processing, resulting in higher data rates and improved reliability in wireless communications.- OFDM-Beamforming Integration for Enhanced Spectral Efficiency: Integration of Orthogonal Frequency Division Multiplexing (OFDM) with beamforming techniques significantly enhances spectral efficiency in wireless communications. This approach combines the multicarrier advantages of OFDM with spatial selectivity of beamforming to optimize signal transmission, reduce interference, and improve overall system performance. The integration enables more efficient use of available bandwidth by directing signal energy toward intended receivers while minimizing interference to other users.
- Multi-User MIMO OFDM Beamforming Systems: Multi-User Multiple-Input Multiple-Output (MU-MIMO) systems combined with OFDM and beamforming techniques allow simultaneous transmission to multiple users on the same frequency resources. These systems implement advanced precoding algorithms to separate user signals spatially, significantly increasing network capacity and throughput. The integration enables efficient spatial multiplexing where beamforming weights are optimized per subcarrier to maximize signal quality for each user while minimizing inter-user interference.
- Channel Estimation and Feedback Mechanisms for OFDM Beamforming: Efficient channel estimation and feedback mechanisms are crucial for optimal OFDM beamforming performance. These systems employ various techniques to accurately estimate channel state information across multiple subcarriers and antenna elements. Advanced algorithms reduce feedback overhead while maintaining beamforming accuracy by exploiting channel correlation in frequency and spatial domains. Compressed sensing and codebook-based approaches further optimize the feedback process, enabling more efficient adaptation to changing channel conditions.
- Hardware Implementation and Power Efficiency in OFDM Beamforming: Hardware architectures for implementing OFDM with beamforming focus on power efficiency and computational complexity reduction. These implementations optimize digital signal processing chains, antenna array configurations, and RF front-end designs to minimize power consumption while maintaining performance. Techniques include efficient FFT/IFFT processing, low-complexity precoding algorithms, and adaptive power allocation across subcarriers. Some implementations leverage reconfigurable hardware to balance performance and energy efficiency based on channel conditions and service requirements.
- Hybrid Beamforming for Millimeter Wave OFDM Systems: Hybrid analog-digital beamforming architectures are particularly effective for millimeter wave OFDM systems, offering a balance between performance and hardware complexity. These systems combine digital precoding at baseband with analog beamforming at RF to achieve high beamforming gains with fewer RF chains than fully digital systems. The hybrid approach addresses the unique challenges of millimeter wave propagation while maintaining the benefits of OFDM modulation, enabling efficient spectrum utilization in high-frequency bands with reduced power consumption and hardware costs.
02 Adaptive Beamforming for OFDM Systems
Adaptive beamforming techniques dynamically adjust antenna patterns based on channel conditions in OFDM systems. These methods optimize signal transmission by directing energy toward intended users while minimizing interference to others. The adaptation algorithms continuously monitor channel state information and modify beamforming weights accordingly, improving signal-to-noise ratio and enhancing overall system efficiency in varying propagation environments.Expand Specific Solutions03 Precoding Techniques for OFDM Beamforming
Precoding techniques enhance OFDM beamforming efficiency by applying specific transformations to transmitted signals before they reach the antenna array. These methods include codebook-based precoding, singular value decomposition, and other matrix operations that optimize the transmission based on channel characteristics. By pre-processing the signal, these techniques reduce computational complexity at the receiver side and improve overall system performance in terms of throughput and error rates.Expand Specific Solutions04 Energy Efficiency Optimization in OFDM Beamforming
Energy efficiency optimization techniques for OFDM with beamforming focus on reducing power consumption while maintaining performance targets. These approaches include adaptive power allocation across subcarriers, antenna selection mechanisms, and low-complexity beamforming algorithms. By intelligently managing system resources and transmission parameters, these techniques extend battery life in mobile devices and reduce operational costs in base stations while still providing adequate coverage and capacity.Expand Specific Solutions05 Multi-User OFDM Beamforming Coordination
Multi-user OFDM beamforming coordination techniques enable simultaneous transmission to multiple users by carefully managing interference between user streams. These methods include coordinated scheduling, user grouping based on spatial signatures, and joint precoding designs that maximize system throughput. Advanced algorithms optimize resource allocation across time, frequency, and spatial domains, significantly improving spectral efficiency compared to single-user approaches while maintaining acceptable complexity levels.Expand Specific Solutions
Key Industry Players in OFDM-Beamforming Development
The integration of OFDM with beamforming techniques is currently in a mature growth phase, with the market expanding rapidly due to 5G deployment and advanced wireless communications demand. Major telecommunications players like Qualcomm, Huawei, Samsung, and Ericsson are leading commercial implementations, while academic institutions such as Tsinghua University and KAIST contribute significant research advancements. The technology has reached high maturity in mobile communications but continues evolving for emerging applications. Companies like MediaTek, Nokia, and ZTE are actively developing enhanced solutions that combine spatial multiplexing benefits of beamforming with OFDM's spectral efficiency, creating a competitive landscape where both established corporations and specialized research entities drive innovation toward next-generation wireless standards.
QUALCOMM, Inc.
Technical Solution: Qualcomm has developed advanced OFDM-beamforming integration solutions primarily for 5G networks through their Snapdragon X modem platforms. Their approach combines multi-user MIMO beamforming with OFDM subcarrier management to optimize spectral efficiency. Qualcomm's implementation utilizes hybrid beamforming architecture that combines analog and digital beamforming techniques to balance performance and power consumption. Their solution incorporates channel state information (CSI) feedback mechanisms that enable precise beam adaptation across different OFDM subcarriers. Qualcomm has also pioneered millimeter-wave beamforming techniques that work with OFDM modulation to deliver multi-gigabit data rates in high-frequency bands. Their QTM052 mmWave antenna modules integrate with their baseband processors to implement sophisticated beam tracking algorithms that maintain connectivity as users move.
Strengths: Industry-leading integration of RF front-end with baseband processing; extensive patent portfolio in beamforming techniques; proven commercial deployment in multiple device generations. Weaknesses: Proprietary solutions may limit interoperability; higher implementation complexity increases power consumption in mobile devices.
Samsung Electronics Co., Ltd.
Technical Solution: Samsung has developed an integrated OFDM-beamforming solution called "Samsung Intelligent Beamforming" for both network infrastructure and consumer devices. Their approach implements full-dimension MIMO (FD-MIMO) that provides beamforming in both horizontal and vertical dimensions across OFDM subcarriers. Samsung's implementation features adaptive codebook-based beamforming that reduces feedback overhead while maintaining beamforming gain across the OFDM bandwidth. Their solution incorporates beam refinement protocols that progressively narrow beam width to optimize signal strength while minimizing interference to adjacent users. Samsung has also developed specialized beamforming techniques for millimeter-wave bands that compensate for the higher path loss by creating highly focused beams synchronized with OFDM symbol timing. Their Access Units for 5G networks implement sophisticated beam tracking algorithms that maintain connectivity even in non-line-of-sight conditions by exploiting multipath components of the OFDM signal.
Strengths: Vertical integration from chipsets to network equipment enables optimized end-to-end performance; strong position in both infrastructure and device markets; extensive experience with mmWave deployments. Weaknesses: Less established in some regional infrastructure markets compared to traditional telecom equipment vendors; higher complexity in initial system configuration.
Critical Patents and Research in OFDM-Beamforming Systems
Successive transmit beamforming methods for multiple-antenna orthogonal frequency division multiplexing (OFDM) systems
PatentWO2007024959A9
Innovation
- A successive beamforming algorithm that exploits both time domain and frequency domain correlations by using knowledge from previous fading blocks or neighboring subcarriers to design a systematic codebook, reducing the feedback requirement through round robin and clustering algorithms, and employing AR1 channel models for adaptation.
System and method for multiple-input multiple-output (MIMO) orthogonal frequency division multiplexing (OFDM) offset quadrature amplitude modulation (OQAM)
PatentActiveUS9544032B2
Innovation
- The solution involves selecting a subset of pre-coder columns for transmission at each time-frequency point, using a vector projection approach to maximize the projection of the precoding matrix onto a precoding space, and applying beamforming to remove interference by taking the real component of the received signal, thereby reducing ICI and ISI.
Spectrum Efficiency and Regulatory Considerations
The integration of OFDM with beamforming techniques must carefully consider spectrum efficiency and regulatory frameworks that govern wireless communications. Spectrum efficiency has become increasingly critical as wireless services proliferate against the backdrop of limited frequency resources. OFDM-beamforming integration offers significant improvements in spectral efficiency through spatial multiplexing and interference management, potentially increasing capacity by 3-5 times compared to conventional systems.
Regulatory bodies worldwide have established specific guidelines for spectrum usage that directly impact OFDM-beamforming implementations. The FCC in the United States, ETSI in Europe, and similar organizations in Asia have defined power spectral density limits, out-of-band emission requirements, and channel allocation rules that must be adhered to when deploying these technologies. These regulations vary significantly across geographical regions, creating implementation challenges for global deployment.
Dynamic spectrum access (DSA) represents an emerging regulatory approach that complements OFDM-beamforming systems. By allowing intelligent, adaptive use of spectrum based on real-time conditions, DSA enables OFDM-beamforming systems to operate more efficiently within regulatory constraints. This approach has gained traction in the 5G framework and continues to evolve for 6G applications.
The coexistence of OFDM-beamforming systems with legacy technologies presents another regulatory consideration. Interference mitigation techniques must be implemented to ensure new deployments do not disrupt existing services. Cognitive radio principles, when combined with OFDM-beamforming, can facilitate this coexistence through intelligent spectrum sensing and adaptive transmission parameters.
Licensing frameworks also significantly impact deployment strategies. While licensed bands offer protection from interference, they come with substantial costs and regulatory obligations. Unlicensed and shared spectrum models provide more flexible deployment options but require robust interference management capabilities inherent in advanced OFDM-beamforming systems.
Looking forward, regulatory trends indicate a move toward more flexible spectrum management approaches, including wider adoption of spectrum sharing frameworks and increased allocation of millimeter-wave bands. These developments will likely shape future OFDM-beamforming implementations, particularly as these technologies expand into new frequency ranges above 24 GHz where different propagation characteristics and regulatory considerations apply.
Regulatory bodies worldwide have established specific guidelines for spectrum usage that directly impact OFDM-beamforming implementations. The FCC in the United States, ETSI in Europe, and similar organizations in Asia have defined power spectral density limits, out-of-band emission requirements, and channel allocation rules that must be adhered to when deploying these technologies. These regulations vary significantly across geographical regions, creating implementation challenges for global deployment.
Dynamic spectrum access (DSA) represents an emerging regulatory approach that complements OFDM-beamforming systems. By allowing intelligent, adaptive use of spectrum based on real-time conditions, DSA enables OFDM-beamforming systems to operate more efficiently within regulatory constraints. This approach has gained traction in the 5G framework and continues to evolve for 6G applications.
The coexistence of OFDM-beamforming systems with legacy technologies presents another regulatory consideration. Interference mitigation techniques must be implemented to ensure new deployments do not disrupt existing services. Cognitive radio principles, when combined with OFDM-beamforming, can facilitate this coexistence through intelligent spectrum sensing and adaptive transmission parameters.
Licensing frameworks also significantly impact deployment strategies. While licensed bands offer protection from interference, they come with substantial costs and regulatory obligations. Unlicensed and shared spectrum models provide more flexible deployment options but require robust interference management capabilities inherent in advanced OFDM-beamforming systems.
Looking forward, regulatory trends indicate a move toward more flexible spectrum management approaches, including wider adoption of spectrum sharing frameworks and increased allocation of millimeter-wave bands. These developments will likely shape future OFDM-beamforming implementations, particularly as these technologies expand into new frequency ranges above 24 GHz where different propagation characteristics and regulatory considerations apply.
Implementation Complexity and Hardware Requirements
The integration of OFDM with beamforming techniques presents significant implementation challenges that must be carefully considered during system design. The hardware architecture required for such integration demands specialized digital signal processors (DSPs) with high computational capabilities to handle the complex matrix operations involved in beamforming algorithms. Field-programmable gate arrays (FPGAs) are commonly employed for prototyping and initial deployment due to their reconfigurability, though application-specific integrated circuits (ASICs) may be preferred for mass-market products to optimize power consumption and cost.
The computational complexity increases exponentially with the number of antenna elements in the beamforming array. For massive MIMO systems integrating OFDM, this can require hundreds or thousands of parallel signal processing chains, each demanding precise phase and amplitude control. Real-time channel estimation becomes particularly resource-intensive, as the system must continuously update beamforming weights across all OFDM subcarriers to maintain optimal performance in dynamic environments.
Power consumption represents another critical consideration, especially for mobile and IoT applications. The analog front-end components, including power amplifiers and phase shifters for each antenna element, contribute significantly to the overall power budget. Hybrid beamforming architectures that combine digital and analog beamforming techniques have emerged as a compromise solution, reducing the number of required RF chains while maintaining reasonable performance levels.
Synchronization requirements add another layer of complexity, as precise timing alignment between multiple antenna paths is essential for coherent beamforming. Clock distribution networks must maintain phase coherence across the entire antenna array, with jitter requirements in the picosecond range for millimeter-wave applications. Additionally, calibration mechanisms must be implemented to compensate for hardware impairments and manufacturing variations between antenna elements.
The memory requirements for storing channel state information and beamforming weights across all OFDM subcarriers can be substantial, particularly in wideband systems with many subcarriers. This necessitates efficient memory architectures and data flow management to prevent bottlenecks in the signal processing chain. Furthermore, the implementation must address practical constraints such as form factor limitations, thermal management considerations, and cost targets for the intended application market.
The computational complexity increases exponentially with the number of antenna elements in the beamforming array. For massive MIMO systems integrating OFDM, this can require hundreds or thousands of parallel signal processing chains, each demanding precise phase and amplitude control. Real-time channel estimation becomes particularly resource-intensive, as the system must continuously update beamforming weights across all OFDM subcarriers to maintain optimal performance in dynamic environments.
Power consumption represents another critical consideration, especially for mobile and IoT applications. The analog front-end components, including power amplifiers and phase shifters for each antenna element, contribute significantly to the overall power budget. Hybrid beamforming architectures that combine digital and analog beamforming techniques have emerged as a compromise solution, reducing the number of required RF chains while maintaining reasonable performance levels.
Synchronization requirements add another layer of complexity, as precise timing alignment between multiple antenna paths is essential for coherent beamforming. Clock distribution networks must maintain phase coherence across the entire antenna array, with jitter requirements in the picosecond range for millimeter-wave applications. Additionally, calibration mechanisms must be implemented to compensate for hardware impairments and manufacturing variations between antenna elements.
The memory requirements for storing channel state information and beamforming weights across all OFDM subcarriers can be substantial, particularly in wideband systems with many subcarriers. This necessitates efficient memory architectures and data flow management to prevent bottlenecks in the signal processing chain. Furthermore, the implementation must address practical constraints such as form factor limitations, thermal management considerations, and cost targets for the intended application market.
Unlock deeper insights with Patsnap Eureka Quick Research — get a full tech report to explore trends and direct your research. Try now!
Generate Your Research Report Instantly with AI Agent
Supercharge your innovation with Patsnap Eureka AI Agent Platform!







