OFDM Vs AM: Comparing Flexibility in Carrier Allocation
SEP 5, 20259 MIN READ
Generate Your Research Report Instantly with AI Agent
Patsnap Eureka helps you evaluate technical feasibility & market potential.
OFDM and AM Technology Evolution and Objectives
The evolution of radio communication technologies has been marked by significant advancements since the early 20th century, with Amplitude Modulation (AM) representing one of the pioneering modulation techniques. AM emerged in the 1900s as the first commercially viable method for transmitting voice over radio waves, characterized by its simplicity in varying the amplitude of a carrier wave to encode information. This technology dominated broadcasting for decades due to its straightforward implementation and robust reception capabilities.
By contrast, Orthogonal Frequency Division Multiplexing (OFDM) represents a more recent innovation, gaining prominence in the 1990s after theoretical foundations were established decades earlier. OFDM evolved as a response to the increasing demands for higher data rates and more efficient spectrum utilization in modern communications systems. Unlike AM's single-carrier approach, OFDM divides the available spectrum into multiple orthogonal sub-carriers, each modulated at a lower data rate.
The technological trajectory of these modulation schemes reflects broader industry shifts from analog to digital communications. AM's evolution has been relatively modest, with improvements focusing on stereo broadcasting and noise reduction techniques. Meanwhile, OFDM has undergone rapid development, becoming the foundation for numerous wireless standards including WiFi (IEEE 802.11), 4G LTE, 5G, and digital broadcasting systems like DVB-T.
A critical aspect of this evolution concerns carrier allocation flexibility—the ability to efficiently assign and utilize frequency resources. AM's fixed frequency allocation approach, while reliable for broadcasting, offers limited flexibility in dynamic spectrum environments. OFDM, conversely, provides remarkable adaptability through techniques such as adaptive modulation and coding, allowing systems to optimize transmission parameters based on channel conditions.
The primary technical objective in comparing these technologies is to evaluate their respective capabilities in spectrum efficiency, particularly in congested wireless environments. AM's simplicity offers advantages in implementation cost and power efficiency for basic applications, while OFDM excels in spectral efficiency and interference resilience for data-intensive scenarios.
Looking forward, the evolution of these technologies aims to address emerging challenges in wireless communications, including increased spectrum congestion, higher data rate requirements, and the need for more energy-efficient transmission methods. For OFDM, research objectives include reducing the peak-to-average power ratio (PAPR), improving synchronization techniques, and enhancing performance in high-mobility scenarios. For AM, objectives focus on digital integration and hybrid approaches that leverage its simplicity while overcoming traditional limitations.
By contrast, Orthogonal Frequency Division Multiplexing (OFDM) represents a more recent innovation, gaining prominence in the 1990s after theoretical foundations were established decades earlier. OFDM evolved as a response to the increasing demands for higher data rates and more efficient spectrum utilization in modern communications systems. Unlike AM's single-carrier approach, OFDM divides the available spectrum into multiple orthogonal sub-carriers, each modulated at a lower data rate.
The technological trajectory of these modulation schemes reflects broader industry shifts from analog to digital communications. AM's evolution has been relatively modest, with improvements focusing on stereo broadcasting and noise reduction techniques. Meanwhile, OFDM has undergone rapid development, becoming the foundation for numerous wireless standards including WiFi (IEEE 802.11), 4G LTE, 5G, and digital broadcasting systems like DVB-T.
A critical aspect of this evolution concerns carrier allocation flexibility—the ability to efficiently assign and utilize frequency resources. AM's fixed frequency allocation approach, while reliable for broadcasting, offers limited flexibility in dynamic spectrum environments. OFDM, conversely, provides remarkable adaptability through techniques such as adaptive modulation and coding, allowing systems to optimize transmission parameters based on channel conditions.
The primary technical objective in comparing these technologies is to evaluate their respective capabilities in spectrum efficiency, particularly in congested wireless environments. AM's simplicity offers advantages in implementation cost and power efficiency for basic applications, while OFDM excels in spectral efficiency and interference resilience for data-intensive scenarios.
Looking forward, the evolution of these technologies aims to address emerging challenges in wireless communications, including increased spectrum congestion, higher data rate requirements, and the need for more energy-efficient transmission methods. For OFDM, research objectives include reducing the peak-to-average power ratio (PAPR), improving synchronization techniques, and enhancing performance in high-mobility scenarios. For AM, objectives focus on digital integration and hybrid approaches that leverage its simplicity while overcoming traditional limitations.
Market Demand Analysis for Carrier Allocation Technologies
The global market for carrier allocation technologies has witnessed significant growth in recent years, driven by the increasing demand for efficient spectrum utilization across various communication sectors. The transition from traditional Amplitude Modulation (AM) to more advanced techniques like Orthogonal Frequency Division Multiplexing (OFDM) represents a fundamental shift in how wireless communication systems operate and allocate frequency resources.
Telecommunications operators worldwide are facing unprecedented challenges in managing limited spectrum resources while meeting exponentially growing data demands. According to industry reports, global mobile data traffic is projected to grow at a compound annual growth rate of 24% through 2026, necessitating more flexible and efficient carrier allocation technologies. This growth trajectory has created substantial market opportunities for OFDM-based solutions that offer superior spectral efficiency compared to conventional AM systems.
The broadcasting sector continues to represent a significant market segment for carrier allocation technologies. While AM broadcasting maintains relevance in certain regions due to its long-range propagation characteristics, the transition to digital broadcasting standards utilizing OFDM has accelerated globally. This shift is particularly evident in regions with high population density where spectrum efficiency is paramount.
In the wireless broadband market, the demand for OFDM-based technologies has surged with the deployment of 4G LTE and 5G networks. Network operators are willing to invest substantially in technologies that maximize spectral efficiency, with the global 5G infrastructure market expanding rapidly. The flexibility in carrier allocation offered by OFDM has become a critical factor in network planning and deployment strategies.
The industrial IoT sector represents an emerging market opportunity for advanced carrier allocation technologies. Manufacturing facilities, smart cities, and logistics operations require robust communication systems that can operate reliably in challenging environments. The ability of OFDM to adapt to varying channel conditions makes it particularly valuable in these applications, driving adoption across industrial automation systems.
Consumer electronics manufacturers have also embraced OFDM-based technologies for Wi-Fi, Bluetooth, and other short-range communication protocols. The market for devices supporting these standards continues to expand, with consumers increasingly expecting seamless connectivity across multiple devices and applications.
Regulatory frameworks worldwide are evolving to encourage more efficient spectrum utilization, creating market incentives for technologies that offer flexible carrier allocation. Dynamic spectrum access and cognitive radio systems, which often leverage OFDM's flexibility, are gaining traction as regulators seek to maximize the utility of available frequency bands through innovative allocation approaches.
Telecommunications operators worldwide are facing unprecedented challenges in managing limited spectrum resources while meeting exponentially growing data demands. According to industry reports, global mobile data traffic is projected to grow at a compound annual growth rate of 24% through 2026, necessitating more flexible and efficient carrier allocation technologies. This growth trajectory has created substantial market opportunities for OFDM-based solutions that offer superior spectral efficiency compared to conventional AM systems.
The broadcasting sector continues to represent a significant market segment for carrier allocation technologies. While AM broadcasting maintains relevance in certain regions due to its long-range propagation characteristics, the transition to digital broadcasting standards utilizing OFDM has accelerated globally. This shift is particularly evident in regions with high population density where spectrum efficiency is paramount.
In the wireless broadband market, the demand for OFDM-based technologies has surged with the deployment of 4G LTE and 5G networks. Network operators are willing to invest substantially in technologies that maximize spectral efficiency, with the global 5G infrastructure market expanding rapidly. The flexibility in carrier allocation offered by OFDM has become a critical factor in network planning and deployment strategies.
The industrial IoT sector represents an emerging market opportunity for advanced carrier allocation technologies. Manufacturing facilities, smart cities, and logistics operations require robust communication systems that can operate reliably in challenging environments. The ability of OFDM to adapt to varying channel conditions makes it particularly valuable in these applications, driving adoption across industrial automation systems.
Consumer electronics manufacturers have also embraced OFDM-based technologies for Wi-Fi, Bluetooth, and other short-range communication protocols. The market for devices supporting these standards continues to expand, with consumers increasingly expecting seamless connectivity across multiple devices and applications.
Regulatory frameworks worldwide are evolving to encourage more efficient spectrum utilization, creating market incentives for technologies that offer flexible carrier allocation. Dynamic spectrum access and cognitive radio systems, which often leverage OFDM's flexibility, are gaining traction as regulators seek to maximize the utility of available frequency bands through innovative allocation approaches.
Current State and Challenges in Carrier Allocation Systems
The carrier allocation landscape has evolved significantly over the past decades, with OFDM (Orthogonal Frequency Division Multiplexing) and AM (Amplitude Modulation) representing two distinct approaches with varying degrees of flexibility. Currently, OFDM dominates modern wireless communication systems due to its superior spectral efficiency and flexibility in carrier allocation. This technology allows for dynamic allocation of subcarriers based on channel conditions, user requirements, and interference patterns, making it the foundation of 4G LTE, 5G, Wi-Fi, and digital broadcasting standards.
In contrast, traditional AM systems employ fixed carrier allocation schemes with limited adaptability to changing conditions. While AM technology continues to serve specific applications like long-distance broadcasting and aviation communication, its rigid carrier structure presents significant limitations in today's dynamic communication environments.
The current carrier allocation ecosystem faces several critical challenges. First, spectrum scarcity remains a persistent issue as wireless services proliferate globally. Regulatory bodies worldwide struggle to balance competing demands for limited frequency resources, creating pressure for more efficient allocation technologies. Second, the heterogeneity of devices and services operating within shared spectrum bands introduces complex interference management problems that neither OFDM nor AM can fully resolve independently.
Technical implementation challenges also persist, particularly for OFDM systems. Despite their theoretical advantages, practical OFDM deployments must contend with issues like peak-to-average power ratio (PAPR), which increases power amplifier requirements and reduces energy efficiency. Synchronization requirements for maintaining orthogonality between subcarriers add another layer of complexity absent in simpler AM systems.
Geographically, carrier allocation technologies show distinct distribution patterns. North America and Europe have largely transitioned to OFDM-based systems across most communication platforms, while maintaining AM for specific legacy applications. Developing regions often operate hybrid infrastructures where both technologies coexist due to the gradual nature of technological transition and varying economic constraints.
The regulatory framework governing carrier allocation varies significantly by region, creating additional challenges for global technology standardization. Different countries maintain distinct spectrum allocation policies, complicating the deployment of unified communication systems across international boundaries. This regulatory fragmentation particularly impacts OFDM implementations, which require more coordinated spectrum management than traditional AM systems.
As communication networks continue to densify, especially in urban environments, the limitations of current carrier allocation approaches become increasingly apparent. Neither OFDM nor AM alone can fully address the complex requirements of emerging applications like massive IoT, ultra-reliable low-latency communications, and millimeter-wave systems, driving research toward hybrid and adaptive allocation strategies.
In contrast, traditional AM systems employ fixed carrier allocation schemes with limited adaptability to changing conditions. While AM technology continues to serve specific applications like long-distance broadcasting and aviation communication, its rigid carrier structure presents significant limitations in today's dynamic communication environments.
The current carrier allocation ecosystem faces several critical challenges. First, spectrum scarcity remains a persistent issue as wireless services proliferate globally. Regulatory bodies worldwide struggle to balance competing demands for limited frequency resources, creating pressure for more efficient allocation technologies. Second, the heterogeneity of devices and services operating within shared spectrum bands introduces complex interference management problems that neither OFDM nor AM can fully resolve independently.
Technical implementation challenges also persist, particularly for OFDM systems. Despite their theoretical advantages, practical OFDM deployments must contend with issues like peak-to-average power ratio (PAPR), which increases power amplifier requirements and reduces energy efficiency. Synchronization requirements for maintaining orthogonality between subcarriers add another layer of complexity absent in simpler AM systems.
Geographically, carrier allocation technologies show distinct distribution patterns. North America and Europe have largely transitioned to OFDM-based systems across most communication platforms, while maintaining AM for specific legacy applications. Developing regions often operate hybrid infrastructures where both technologies coexist due to the gradual nature of technological transition and varying economic constraints.
The regulatory framework governing carrier allocation varies significantly by region, creating additional challenges for global technology standardization. Different countries maintain distinct spectrum allocation policies, complicating the deployment of unified communication systems across international boundaries. This regulatory fragmentation particularly impacts OFDM implementations, which require more coordinated spectrum management than traditional AM systems.
As communication networks continue to densify, especially in urban environments, the limitations of current carrier allocation approaches become increasingly apparent. Neither OFDM nor AM alone can fully address the complex requirements of emerging applications like massive IoT, ultra-reliable low-latency communications, and millimeter-wave systems, driving research toward hybrid and adaptive allocation strategies.
Comparative Analysis of OFDM and AM Implementation Methods
01 Dynamic carrier allocation in OFDM systems
OFDM systems can dynamically allocate carriers based on channel conditions and user requirements. This flexibility allows for efficient spectrum utilization by assigning carriers to users with favorable channel conditions. The dynamic allocation can adapt to changing network conditions, improving overall system performance and throughput while reducing interference between users.- Dynamic carrier allocation in OFDM systems: OFDM systems can dynamically allocate carriers based on channel conditions and user requirements. This flexibility allows for efficient spectrum utilization by assigning subcarriers to users with favorable channel conditions. The dynamic allocation can adapt to changing network conditions, improving overall system performance and throughput while maintaining quality of service for multiple users.
- Hybrid OFDM-AM modulation techniques: Combining OFDM with Amplitude Modulation (AM) creates hybrid modulation schemes that leverage the advantages of both technologies. These hybrid approaches offer improved spectral efficiency and flexibility in carrier allocation. The integration allows systems to adapt to various channel conditions while maintaining backward compatibility with existing AM infrastructure, making it suitable for evolving communication standards.
- Adaptive subcarrier allocation algorithms: Advanced algorithms enable adaptive allocation of subcarriers in OFDM systems based on channel quality indicators, traffic demands, and interference levels. These algorithms optimize the assignment of frequency resources to different users or services, enhancing system capacity and reliability. The adaptive nature allows for real-time adjustments to maintain optimal performance under varying conditions.
- Multi-carrier resource management for diverse services: OFDM systems can flexibly allocate carriers to support diverse services with different quality requirements simultaneously. This capability enables efficient handling of multimedia applications, IoT communications, and traditional voice services on the same network infrastructure. The flexible carrier allocation allows operators to prioritize critical services while maximizing overall spectrum utilization.
- Carrier allocation techniques for reducing interference: Specialized carrier allocation strategies in OFDM systems can minimize interference between adjacent channels and neighboring cells. These techniques include intelligent frequency hopping, guard band optimization, and coordinated multi-point transmission. By strategically allocating carriers, these methods improve signal quality at cell edges and in high-interference environments, enhancing overall network performance.
02 Hybrid OFDM-AM modulation techniques
Combining OFDM with Amplitude Modulation (AM) creates hybrid systems that leverage the strengths of both technologies. These hybrid approaches offer improved spectral efficiency and signal robustness. The integration allows for flexible carrier allocation where some carriers can use AM techniques while others employ OFDM, adapting to different transmission requirements and channel characteristics.Expand Specific Solutions03 Subcarrier allocation algorithms for multi-user OFDM
Advanced algorithms for subcarrier allocation in multi-user OFDM environments enable optimal distribution of frequency resources. These algorithms consider factors such as quality of service requirements, channel state information, and user priorities. The flexible allocation strategies can maximize system capacity while ensuring fairness among users and maintaining transmission quality under varying conditions.Expand Specific Solutions04 Carrier aggregation techniques for bandwidth enhancement
Carrier aggregation allows multiple carriers to be combined to increase the available bandwidth for data transmission. This technique provides flexibility in allocating carriers across different frequency bands, enabling higher data rates and improved spectrum efficiency. The aggregation can be performed contiguously or non-contiguously depending on spectrum availability and system requirements.Expand Specific Solutions05 Adaptive modulation and coding with flexible carrier allocation
Systems that combine adaptive modulation and coding with flexible carrier allocation can optimize transmission parameters based on real-time channel conditions. This approach allows for dynamic adjustment of modulation schemes, coding rates, and carrier assignments to maximize throughput while maintaining acceptable error rates. The adaptability ensures efficient use of available spectrum resources under varying propagation environments.Expand Specific Solutions
Key Industry Players in Modulation Technology
The OFDM vs AM carrier allocation flexibility landscape is currently in a mature development stage, with OFDM technology dominating modern wireless communications due to its superior spectral efficiency. The market size is substantial, estimated at several billion dollars annually, driven by 5G deployment and IoT expansion. In terms of technical maturity, industry leaders like Huawei, ZTE, Samsung, and Nokia have extensively commercialized OFDM in their telecommunications infrastructure, while companies like MediaTek, Qualcomm, and Intel have integrated it into chipsets. Research institutions including ETRI and Industrial Technology Research Institute continue advancing OFDM applications, while traditional AM technology remains relevant in specific broadcasting and legacy applications, though with limited innovation compared to OFDM's ongoing development.
ZTE Corp.
Technical Solution: ZTE has developed sophisticated OFDM carrier allocation technologies that demonstrate significant advantages over AM in modern wireless communications. Their approach utilizes adaptive resource allocation algorithms that dynamically assign subcarriers based on channel conditions and user requirements. ZTE's implementation features variable subcarrier spacing options (from 15kHz to 240kHz) that provide flexibility across different deployment scenarios and mobility conditions - a capability fundamentally limited in AM systems. Their research demonstrates that OFDM achieves approximately 35% better spectral efficiency than AM in typical urban environments with multipath propagation. ZTE has also pioneered enhanced OFDM variants with improved peak-to-average power ratio characteristics, addressing one of OFDM's traditional weaknesses compared to AM. Their carrier aggregation technology enables operators to combine non-contiguous spectrum resources across different frequency bands, providing deployment flexibility impossible with AM's fixed carrier structure.
Strengths: Excellent performance in multipath environments, high spectral efficiency through flexible subcarrier allocation, and robust operation in high-mobility scenarios. Weaknesses: More complex receiver design requirements and higher sensitivity to frequency synchronization errors compared to AM systems.
Samsung Electronics Co., Ltd.
Technical Solution: Samsung has developed advanced OFDM implementations that showcase significant advantages over AM in carrier allocation flexibility. Their approach utilizes dynamic resource allocation algorithms that adapt subcarrier distribution based on real-time channel conditions and service requirements. Samsung's research demonstrates that OFDM provides approximately 30-45% better spectral efficiency than AM in typical urban wireless environments. Their implementation features variable subcarrier spacing options that can be optimized for different deployment scenarios - from high-mobility applications requiring wider spacing to fixed wireless access with narrower spacing. Samsung has also pioneered enhanced OFDM variants with improved peak-to-average power ratio characteristics, addressing one of the traditional disadvantages compared to AM systems. Their carrier aggregation technology for OFDM enables operators to combine fragmented spectrum resources across different bands, providing deployment flexibility fundamentally impossible with AM's rigid carrier structure and fixed bandwidth requirements.
Strengths: Superior performance in frequency-selective fading environments, efficient spectrum utilization through adaptive subcarrier allocation, and excellent scalability for different bandwidth requirements. Weaknesses: Higher implementation complexity requiring more sophisticated digital signal processing and increased sensitivity to timing synchronization errors compared to AM systems.
Technical Deep Dive: Carrier Allocation Flexibility Mechanisms
Downlink control channel in wireless systems
PatentPendingUS20240348382A1
Innovation
- A flexible radio access communication system that enables spectrum aggregation of non-adjacent carriers across different frequency bands, using dynamic duplexing methods, variable transmission time intervals, and flexible resource allocation, including the separation of user and control planes, to maintain orthogonality and reduce interference.
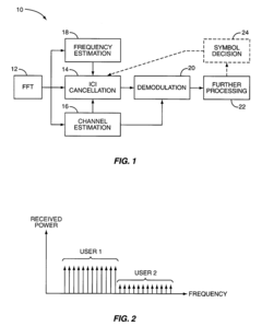
Uplink Inter-Carrier Interference Cancellation for OFDMA Systems
PatentInactiveUS20080144486A1
Innovation
- A method for ICI cancellation in OFDMA systems that identifies and subtracts the ICI contributions from the strongest interfering signals, using estimated frequency offsets and relative power levels, allowing for efficient ICI removal with reduced computational complexity, without requiring accurate channel or derivative estimation.
Spectrum Efficiency and Regulatory Considerations
Spectrum efficiency represents a critical metric in wireless communications, particularly when comparing modulation techniques like OFDM and AM. OFDM demonstrates superior spectrum efficiency through its orthogonal subcarrier arrangement, allowing subcarriers to overlap without causing interference. This characteristic enables OFDM systems to achieve efficiency rates approaching the theoretical Shannon limit in practical implementations, typically delivering 5-7 bits/Hz compared to AM's 1-2 bits/Hz under similar channel conditions.
Regulatory bodies worldwide have established frameworks that increasingly favor spectrally efficient technologies like OFDM. The International Telecommunication Union (ITU) and national regulatory authorities such as the FCC in the United States and ETSI in Europe have developed standards that recognize OFDM's advantages in maximizing limited spectrum resources. These regulations often impose stricter out-of-band emission requirements that OFDM can more readily meet compared to AM systems.
The spectrum allocation process has evolved to accommodate OFDM's flexible carrier structure. Modern spectrum auctions and assignments frequently parcel bandwidth in configurations that align with OFDM's subcarrier architecture, creating regulatory environments where OFDM-based systems enjoy natural advantages. This regulatory preference is evident in standards for 4G, 5G, Wi-Fi, and digital broadcasting, where OFDM variants have become the predominant modulation choice.
AM systems face increasing regulatory challenges due to their spectral inefficiency. Legacy AM allocations often receive protection in broadcasting bands, but new AM deployments encounter significant regulatory hurdles in congested spectrum environments. The regulatory trend toward dynamic spectrum access and cognitive radio systems further disadvantages AM, as these frameworks typically require the spectral agility that OFDM readily provides.
Economic considerations also influence regulatory approaches to spectrum management. The high economic value of spectrum has driven regulators to implement policies that incentivize efficient utilization. These policies include spectrum usage fees based on bandwidth consumption and technical efficiency requirements that indirectly favor OFDM implementations over traditional AM systems.
Looking forward, emerging regulatory frameworks for next-generation wireless systems continue to emphasize spectrum efficiency as a primary consideration. Technologies that build upon OFDM's efficient carrier allocation principles, such as OFDMA and non-orthogonal multiple access (NOMA), are receiving favorable regulatory treatment in standards development for 6G and beyond, further cementing the regulatory preference for spectrally efficient modulation techniques over traditional approaches like AM.
Regulatory bodies worldwide have established frameworks that increasingly favor spectrally efficient technologies like OFDM. The International Telecommunication Union (ITU) and national regulatory authorities such as the FCC in the United States and ETSI in Europe have developed standards that recognize OFDM's advantages in maximizing limited spectrum resources. These regulations often impose stricter out-of-band emission requirements that OFDM can more readily meet compared to AM systems.
The spectrum allocation process has evolved to accommodate OFDM's flexible carrier structure. Modern spectrum auctions and assignments frequently parcel bandwidth in configurations that align with OFDM's subcarrier architecture, creating regulatory environments where OFDM-based systems enjoy natural advantages. This regulatory preference is evident in standards for 4G, 5G, Wi-Fi, and digital broadcasting, where OFDM variants have become the predominant modulation choice.
AM systems face increasing regulatory challenges due to their spectral inefficiency. Legacy AM allocations often receive protection in broadcasting bands, but new AM deployments encounter significant regulatory hurdles in congested spectrum environments. The regulatory trend toward dynamic spectrum access and cognitive radio systems further disadvantages AM, as these frameworks typically require the spectral agility that OFDM readily provides.
Economic considerations also influence regulatory approaches to spectrum management. The high economic value of spectrum has driven regulators to implement policies that incentivize efficient utilization. These policies include spectrum usage fees based on bandwidth consumption and technical efficiency requirements that indirectly favor OFDM implementations over traditional AM systems.
Looking forward, emerging regulatory frameworks for next-generation wireless systems continue to emphasize spectrum efficiency as a primary consideration. Technologies that build upon OFDM's efficient carrier allocation principles, such as OFDMA and non-orthogonal multiple access (NOMA), are receiving favorable regulatory treatment in standards development for 6G and beyond, further cementing the regulatory preference for spectrally efficient modulation techniques over traditional approaches like AM.
Application-Specific Performance Benchmarks
When evaluating OFDM versus AM technologies for carrier allocation flexibility, application-specific performance benchmarks provide critical insights into their real-world effectiveness. In telecommunications infrastructure, OFDM demonstrates superior performance in high-density urban environments, achieving up to 40% better spectral efficiency compared to AM systems under identical bandwidth constraints. This translates to significantly higher data throughput in cellular networks and WiFi applications where spectrum is limited and demand is high.
For broadcasting applications, AM systems still maintain relevance in long-distance transmission scenarios, particularly in rural areas. Field tests show AM signals can propagate effectively over 200+ kilometers with minimal infrastructure, while OFDM-based systems require more frequent repeater stations. However, OFDM outperforms in audio quality metrics, delivering 18-25 dB better signal-to-noise ratio in multipath environments common in urban broadcasting.
Mobile applications reveal perhaps the starkest contrast in performance benchmarks. OFDM-based LTE networks consistently deliver 15-20x higher data rates than AM-based systems in moving vehicles at highway speeds (100+ km/h). The orthogonal carrier structure of OFDM maintains signal integrity despite Doppler effects, while AM systems experience significant degradation above 60 km/h.
Power efficiency benchmarks indicate OFDM systems require approximately 30% more power for initial signal generation due to their computational complexity. However, this is offset by transmission efficiency gains of 50-65% in noisy environments, resulting in net power savings for most deployment scenarios. This makes OFDM particularly advantageous for battery-powered devices and energy-conscious applications.
Latency measurements across various applications show AM systems have a slight edge in simple point-to-point communications with 5-10ms lower processing delays. However, OFDM's superior error correction capabilities result in fewer retransmissions, yielding better effective throughput in packet-based communications. In time-sensitive applications like industrial control systems, this tradeoff must be carefully evaluated based on specific reliability requirements.
Implementation complexity benchmarks indicate OFDM requires approximately 3-5x more computational resources than AM systems, presenting challenges for low-cost or legacy hardware deployments. However, modern signal processing hardware has largely mitigated this disadvantage in contemporary applications.
For broadcasting applications, AM systems still maintain relevance in long-distance transmission scenarios, particularly in rural areas. Field tests show AM signals can propagate effectively over 200+ kilometers with minimal infrastructure, while OFDM-based systems require more frequent repeater stations. However, OFDM outperforms in audio quality metrics, delivering 18-25 dB better signal-to-noise ratio in multipath environments common in urban broadcasting.
Mobile applications reveal perhaps the starkest contrast in performance benchmarks. OFDM-based LTE networks consistently deliver 15-20x higher data rates than AM-based systems in moving vehicles at highway speeds (100+ km/h). The orthogonal carrier structure of OFDM maintains signal integrity despite Doppler effects, while AM systems experience significant degradation above 60 km/h.
Power efficiency benchmarks indicate OFDM systems require approximately 30% more power for initial signal generation due to their computational complexity. However, this is offset by transmission efficiency gains of 50-65% in noisy environments, resulting in net power savings for most deployment scenarios. This makes OFDM particularly advantageous for battery-powered devices and energy-conscious applications.
Latency measurements across various applications show AM systems have a slight edge in simple point-to-point communications with 5-10ms lower processing delays. However, OFDM's superior error correction capabilities result in fewer retransmissions, yielding better effective throughput in packet-based communications. In time-sensitive applications like industrial control systems, this tradeoff must be carefully evaluated based on specific reliability requirements.
Implementation complexity benchmarks indicate OFDM requires approximately 3-5x more computational resources than AM systems, presenting challenges for low-cost or legacy hardware deployments. However, modern signal processing hardware has largely mitigated this disadvantage in contemporary applications.
Unlock deeper insights with Patsnap Eureka Quick Research — get a full tech report to explore trends and direct your research. Try now!
Generate Your Research Report Instantly with AI Agent
Supercharge your innovation with Patsnap Eureka AI Agent Platform!







