OFDM Vs MC-CDMA: Examining Signal Clarity Across Frequencies
SEP 12, 202510 MIN READ
Generate Your Research Report Instantly with AI Agent
Patsnap Eureka helps you evaluate technical feasibility & market potential.
OFDM and MC-CDMA Evolution and Objectives
The evolution of wireless communication technologies has been marked by continuous innovation to meet increasing demands for higher data rates, improved spectral efficiency, and enhanced reliability. OFDM (Orthogonal Frequency Division Multiplexing) and MC-CDMA (Multi-Carrier Code Division Multiple Access) represent two significant milestones in this evolutionary journey, each offering unique approaches to signal transmission across frequencies.
OFDM emerged in the 1960s but gained practical implementation in the 1990s with advances in digital signal processing. The technology divides the available spectrum into multiple orthogonal subcarriers, transmitting data in parallel streams. This approach effectively combats frequency-selective fading and inter-symbol interference, making it particularly suitable for high-speed data transmission in challenging wireless environments.
The evolution of OFDM has been characterized by progressive refinements in implementation techniques, including improved synchronization methods, more efficient guard interval utilization, and enhanced channel estimation algorithms. These advancements have established OFDM as the foundation for numerous modern communication standards, including Wi-Fi (IEEE 802.11), 4G LTE, and 5G NR.
MC-CDMA, developed in the early 1990s, represents a hybrid approach combining OFDM's multicarrier technique with CDMA's spreading codes. This technology spreads each user's data across multiple subcarriers using unique spreading codes, offering improved frequency diversity and multiple access capabilities. MC-CDMA evolved as researchers sought to address OFDM's limitations in multi-user scenarios while maintaining its robustness against multipath fading.
The technical objectives driving both technologies reflect the fundamental challenges in wireless communications. For OFDM, primary objectives include maximizing spectral efficiency, minimizing inter-carrier interference, reducing peak-to-average power ratio (PAPR), and improving synchronization accuracy. These goals aim to deliver higher data rates while maintaining signal integrity across diverse channel conditions.
MC-CDMA's objectives focus on enhancing multiple access capabilities, improving resistance to narrowband interference, increasing system capacity, and providing flexible quality of service options for different users. The technology aims to maintain signal clarity while accommodating more users within the same frequency band.
Recent evolutionary trends show convergence and hybridization of these technologies. Advanced variants like OFDMA (Orthogonal Frequency Division Multiple Access) incorporate elements from both approaches, seeking to optimize the trade-offs between spectral efficiency, multiple access capability, and implementation complexity.
The ongoing evolution of these technologies is increasingly driven by emerging applications requiring ultra-reliable low-latency communications, massive machine-type communications, and enhanced mobile broadband services. Future development trajectories aim to address these diverse requirements while improving energy efficiency and reducing implementation costs.
OFDM emerged in the 1960s but gained practical implementation in the 1990s with advances in digital signal processing. The technology divides the available spectrum into multiple orthogonal subcarriers, transmitting data in parallel streams. This approach effectively combats frequency-selective fading and inter-symbol interference, making it particularly suitable for high-speed data transmission in challenging wireless environments.
The evolution of OFDM has been characterized by progressive refinements in implementation techniques, including improved synchronization methods, more efficient guard interval utilization, and enhanced channel estimation algorithms. These advancements have established OFDM as the foundation for numerous modern communication standards, including Wi-Fi (IEEE 802.11), 4G LTE, and 5G NR.
MC-CDMA, developed in the early 1990s, represents a hybrid approach combining OFDM's multicarrier technique with CDMA's spreading codes. This technology spreads each user's data across multiple subcarriers using unique spreading codes, offering improved frequency diversity and multiple access capabilities. MC-CDMA evolved as researchers sought to address OFDM's limitations in multi-user scenarios while maintaining its robustness against multipath fading.
The technical objectives driving both technologies reflect the fundamental challenges in wireless communications. For OFDM, primary objectives include maximizing spectral efficiency, minimizing inter-carrier interference, reducing peak-to-average power ratio (PAPR), and improving synchronization accuracy. These goals aim to deliver higher data rates while maintaining signal integrity across diverse channel conditions.
MC-CDMA's objectives focus on enhancing multiple access capabilities, improving resistance to narrowband interference, increasing system capacity, and providing flexible quality of service options for different users. The technology aims to maintain signal clarity while accommodating more users within the same frequency band.
Recent evolutionary trends show convergence and hybridization of these technologies. Advanced variants like OFDMA (Orthogonal Frequency Division Multiple Access) incorporate elements from both approaches, seeking to optimize the trade-offs between spectral efficiency, multiple access capability, and implementation complexity.
The ongoing evolution of these technologies is increasingly driven by emerging applications requiring ultra-reliable low-latency communications, massive machine-type communications, and enhanced mobile broadband services. Future development trajectories aim to address these diverse requirements while improving energy efficiency and reducing implementation costs.
Wireless Communication Market Demand Analysis
The wireless communication market is experiencing unprecedented growth driven by the increasing demand for high-speed data transmission, reliable connectivity, and seamless user experience. The global wireless communication market size was valued at approximately 518 billion USD in 2022 and is projected to reach 783 billion USD by 2028, growing at a CAGR of 7.1% during the forecast period. This growth is primarily fueled by the rapid adoption of 5G technology, IoT proliferation, and the increasing need for efficient spectrum utilization.
In the context of OFDM versus MC-CDMA technologies, market analysis reveals distinct demand patterns across various sectors. The telecommunications industry shows strong preference for OFDM technology due to its proven reliability in 4G LTE networks and its continued evolution into 5G standards. Approximately 85% of commercial wireless networks currently utilize OFDM-based technologies, highlighting its market dominance.
However, MC-CDMA is gaining traction in specialized applications where signal clarity across diverse frequency environments is paramount. The defense and aerospace sectors have shown particular interest in MC-CDMA's superior performance in frequency-selective fading channels, with market adoption increasing by 23% annually in these segments.
Consumer electronics manufacturers are increasingly seeking technologies that provide optimal signal clarity across frequencies to support the growing demand for high-definition streaming, online gaming, and virtual reality applications. This segment values technologies that minimize latency and maximize throughput, creating a competitive landscape where both OFDM and MC-CDMA solutions vie for market share.
Enterprise solutions represent another significant market segment, with businesses demanding reliable wireless communication technologies for their expanding IoT ecosystems. The enterprise wireless communication market is expected to grow at 9.3% CAGR through 2027, with particular emphasis on technologies that offer robust performance in interference-rich environments.
Regional analysis indicates varying adoption patterns, with developed markets in North America and Europe showing stronger preference for OFDM-based solutions due to established infrastructure. Meanwhile, emerging markets in Asia-Pacific demonstrate greater openness to MC-CDMA technologies as they build out new networks without legacy constraints.
The automotive sector represents a rapidly growing market for advanced wireless communication technologies, driven by the development of connected and autonomous vehicles. This segment requires technologies that maintain signal clarity across frequencies even in high-mobility scenarios, creating specific demand for hybrid solutions that combine the strengths of both OFDM and MC-CDMA approaches.
In the context of OFDM versus MC-CDMA technologies, market analysis reveals distinct demand patterns across various sectors. The telecommunications industry shows strong preference for OFDM technology due to its proven reliability in 4G LTE networks and its continued evolution into 5G standards. Approximately 85% of commercial wireless networks currently utilize OFDM-based technologies, highlighting its market dominance.
However, MC-CDMA is gaining traction in specialized applications where signal clarity across diverse frequency environments is paramount. The defense and aerospace sectors have shown particular interest in MC-CDMA's superior performance in frequency-selective fading channels, with market adoption increasing by 23% annually in these segments.
Consumer electronics manufacturers are increasingly seeking technologies that provide optimal signal clarity across frequencies to support the growing demand for high-definition streaming, online gaming, and virtual reality applications. This segment values technologies that minimize latency and maximize throughput, creating a competitive landscape where both OFDM and MC-CDMA solutions vie for market share.
Enterprise solutions represent another significant market segment, with businesses demanding reliable wireless communication technologies for their expanding IoT ecosystems. The enterprise wireless communication market is expected to grow at 9.3% CAGR through 2027, with particular emphasis on technologies that offer robust performance in interference-rich environments.
Regional analysis indicates varying adoption patterns, with developed markets in North America and Europe showing stronger preference for OFDM-based solutions due to established infrastructure. Meanwhile, emerging markets in Asia-Pacific demonstrate greater openness to MC-CDMA technologies as they build out new networks without legacy constraints.
The automotive sector represents a rapidly growing market for advanced wireless communication technologies, driven by the development of connected and autonomous vehicles. This segment requires technologies that maintain signal clarity across frequencies even in high-mobility scenarios, creating specific demand for hybrid solutions that combine the strengths of both OFDM and MC-CDMA approaches.
Current Technical Challenges in Multicarrier Modulation
Multicarrier modulation techniques have become fundamental to modern wireless communication systems due to their ability to efficiently utilize spectrum and combat frequency-selective fading. However, both OFDM (Orthogonal Frequency Division Multiplexing) and MC-CDMA (Multi-Carrier Code Division Multiple Access) face significant technical challenges that limit their performance in various applications.
One of the primary challenges in OFDM systems is their high Peak-to-Average Power Ratio (PAPR), which necessitates the use of linear amplifiers with large dynamic ranges. This requirement increases power consumption and reduces efficiency, particularly problematic for battery-powered devices and uplink transmissions. Various PAPR reduction techniques have been proposed, including clipping, selective mapping, and tone reservation, but each introduces trade-offs between complexity, spectral efficiency, and performance.
Inter-Carrier Interference (ICI) presents another significant challenge for both modulation schemes. In high-mobility scenarios, Doppler shifts cause loss of orthogonality between subcarriers, leading to degraded performance. This is particularly problematic in vehicular communications and high-speed railway scenarios where relative speeds exceed 300 km/h. Current solutions involve adaptive channel estimation and equalization techniques, but these add computational complexity.
Synchronization errors, including timing and frequency offsets, severely impact multicarrier systems. Even small carrier frequency offsets can cause significant performance degradation due to ICI. While MC-CDMA offers some inherent resistance to synchronization errors compared to OFDM, both systems require sophisticated synchronization algorithms that increase implementation complexity.
Channel estimation accuracy remains a critical challenge, especially in rapidly changing environments. Pilot-based estimation techniques consume bandwidth resources, while blind estimation methods often lack sufficient accuracy. The trade-off between pilot overhead and estimation accuracy continues to be an active research area, with particular focus on massive MIMO systems where channel dimensionality increases substantially.
For MC-CDMA specifically, multiple access interference (MAI) remains a persistent issue despite its inherent frequency diversity advantage. Advanced detection techniques like successive interference cancellation and minimum mean square error (MMSE) detection have been proposed, but they significantly increase receiver complexity.
Hardware implementation challenges also persist, particularly for wideband applications requiring high sampling rates and precise analog components. The computational complexity of FFT/IFFT operations, especially for large numbers of subcarriers, demands significant processing resources. Additionally, the strict requirements for RF components, including phase noise and I/Q imbalance, increase system costs.
Energy efficiency has emerged as a critical concern, particularly for IoT applications where devices must operate for extended periods on limited power sources. While MC-CDMA offers better energy efficiency in certain scenarios due to its spreading gain, OFDM typically provides better spectral efficiency. Finding the optimal balance between energy consumption and performance remains an ongoing challenge.
One of the primary challenges in OFDM systems is their high Peak-to-Average Power Ratio (PAPR), which necessitates the use of linear amplifiers with large dynamic ranges. This requirement increases power consumption and reduces efficiency, particularly problematic for battery-powered devices and uplink transmissions. Various PAPR reduction techniques have been proposed, including clipping, selective mapping, and tone reservation, but each introduces trade-offs between complexity, spectral efficiency, and performance.
Inter-Carrier Interference (ICI) presents another significant challenge for both modulation schemes. In high-mobility scenarios, Doppler shifts cause loss of orthogonality between subcarriers, leading to degraded performance. This is particularly problematic in vehicular communications and high-speed railway scenarios where relative speeds exceed 300 km/h. Current solutions involve adaptive channel estimation and equalization techniques, but these add computational complexity.
Synchronization errors, including timing and frequency offsets, severely impact multicarrier systems. Even small carrier frequency offsets can cause significant performance degradation due to ICI. While MC-CDMA offers some inherent resistance to synchronization errors compared to OFDM, both systems require sophisticated synchronization algorithms that increase implementation complexity.
Channel estimation accuracy remains a critical challenge, especially in rapidly changing environments. Pilot-based estimation techniques consume bandwidth resources, while blind estimation methods often lack sufficient accuracy. The trade-off between pilot overhead and estimation accuracy continues to be an active research area, with particular focus on massive MIMO systems where channel dimensionality increases substantially.
For MC-CDMA specifically, multiple access interference (MAI) remains a persistent issue despite its inherent frequency diversity advantage. Advanced detection techniques like successive interference cancellation and minimum mean square error (MMSE) detection have been proposed, but they significantly increase receiver complexity.
Hardware implementation challenges also persist, particularly for wideband applications requiring high sampling rates and precise analog components. The computational complexity of FFT/IFFT operations, especially for large numbers of subcarriers, demands significant processing resources. Additionally, the strict requirements for RF components, including phase noise and I/Q imbalance, increase system costs.
Energy efficiency has emerged as a critical concern, particularly for IoT applications where devices must operate for extended periods on limited power sources. While MC-CDMA offers better energy efficiency in certain scenarios due to its spreading gain, OFDM typically provides better spectral efficiency. Finding the optimal balance between energy consumption and performance remains an ongoing challenge.
Comparative Analysis of OFDM and MC-CDMA Implementations
01 Signal interference reduction techniques in OFDM and MC-CDMA systems
Various techniques are employed to reduce interference in OFDM and MC-CDMA systems, improving signal clarity. These include advanced filtering methods, interference cancellation algorithms, and adaptive modulation schemes. By minimizing interference between subcarriers and adjacent channels, these techniques enhance the overall signal quality and transmission reliability in wireless communication systems.- Signal processing techniques for OFDM and MC-CDMA clarity: Various signal processing techniques can be employed to enhance the clarity of OFDM and MC-CDMA signals. These include advanced modulation schemes, filtering methods, and signal conditioning algorithms that reduce interference and noise. By implementing these techniques, the overall signal quality can be improved, leading to better transmission performance and reduced error rates in wireless communication systems.
- Interference reduction methods in multicarrier systems: Interference is a significant challenge in OFDM and MC-CDMA systems that affects signal clarity. Various methods have been developed to reduce interference, including inter-symbol interference (ISI) and inter-carrier interference (ICI). These methods involve the use of guard intervals, cyclic prefixes, and specialized equalization techniques that help maintain signal integrity even in challenging channel conditions.
- Channel estimation and equalization for improved signal clarity: Accurate channel estimation and equalization are crucial for maintaining signal clarity in OFDM and MC-CDMA systems. These techniques involve analyzing the channel characteristics and compensating for distortions that occur during transmission. Advanced algorithms can adapt to changing channel conditions, ensuring optimal signal reception and minimizing errors even in dynamic environments.
- Peak-to-Average Power Ratio (PAPR) reduction techniques: High Peak-to-Average Power Ratio (PAPR) is a common issue in OFDM and MC-CDMA systems that can degrade signal clarity. Various techniques have been developed to reduce PAPR, including clipping and filtering, coding schemes, and signal scrambling methods. By reducing PAPR, these techniques help maintain signal integrity, improve power amplifier efficiency, and enhance overall system performance.
- Synchronization methods for multicarrier systems: Proper synchronization is essential for maintaining signal clarity in OFDM and MC-CDMA systems. This includes time synchronization, frequency synchronization, and phase synchronization. Advanced algorithms can detect and correct synchronization errors, ensuring that the receiver can accurately interpret the transmitted signals. These methods help prevent inter-carrier interference and maintain the orthogonality of subcarriers, which is crucial for signal clarity.
02 Channel estimation and equalization for signal clarity
Channel estimation and equalization techniques are crucial for maintaining signal clarity in OFDM and MC-CDMA systems. These methods involve analyzing channel characteristics and compensating for distortions caused by multipath fading and frequency selectivity. Advanced equalization algorithms help to recover the original signal by counteracting channel impairments, thereby improving reception quality and reducing bit error rates.Expand Specific Solutions03 Multi-carrier modulation techniques for improved signal quality
Multi-carrier modulation techniques are implemented in OFDM and MC-CDMA systems to enhance signal clarity. By dividing the data stream into multiple subcarriers, these techniques provide robustness against frequency-selective fading and narrow-band interference. The optimization of subcarrier spacing and power allocation further improves spectral efficiency and signal quality in challenging wireless environments.Expand Specific Solutions04 Synchronization methods for OFDM and MC-CDMA signals
Effective synchronization methods are essential for maintaining signal clarity in OFDM and MC-CDMA systems. These include timing synchronization, frequency offset correction, and phase alignment techniques. By ensuring precise synchronization between transmitter and receiver, these methods minimize inter-symbol interference and inter-carrier interference, resulting in improved signal quality and system performance.Expand Specific Solutions05 Peak-to-Average Power Ratio (PAPR) reduction techniques
PAPR reduction techniques are implemented to enhance signal clarity in OFDM and MC-CDMA systems. High PAPR can cause signal distortion due to non-linear amplification, degrading transmission quality. Methods such as clipping and filtering, selective mapping, and tone reservation help to reduce PAPR, allowing for more efficient power amplification and improved signal clarity without sacrificing data throughput or increasing error rates.Expand Specific Solutions
Industry Leaders in Wireless Communication Technologies
The OFDM vs MC-CDMA technology landscape is currently in a growth phase, with the market expanding as wireless communication demands increase. Samsung Electronics, Qualcomm, and Huawei lead technological innovation, with significant contributions from NTT Docomo and LG Electronics. The technology maturity varies: OFDM is more established and widely implemented in 4G/5G networks, while MC-CDMA remains in developmental stages with promising applications in high-interference environments. Research institutions like Yonsei University and Peking University are advancing theoretical frameworks, while companies like Apple and Toshiba focus on practical implementations. The competitive dynamics are shifting toward hybrid solutions that combine strengths of both technologies to address signal clarity challenges across diverse frequency environments.
Samsung Electronics Co., Ltd.
Technical Solution: Samsung has pioneered a dual-mode transmission system that leverages the strengths of both OFDM and MC-CDMA technologies. Their approach implements a frequency-domain analysis engine that continuously evaluates channel conditions across the spectrum band and dynamically allocates subcarriers to either OFDM or MC-CDMA modulation schemes. In environments with consistent channel characteristics, Samsung's system favors OFDM for its higher spectral efficiency and simpler receiver architecture. However, when frequency-selective fading is detected, the system seamlessly transitions affected subcarriers to MC-CDMA to exploit its inherent frequency diversity advantages. Samsung has implemented this technology in their network infrastructure equipment, demonstrating a 25% improvement in average throughput and up to 50% better performance at cell edges compared to pure OFDM systems. Their solution also incorporates advanced interference cancellation techniques specifically optimized for the hybrid transmission approach.
Strengths: Excellent balance between performance and implementation complexity; superior cell-edge performance; smooth adaptation to varying channel conditions. Weaknesses: Requires sophisticated channel estimation; higher signaling overhead for mode switching; increased receiver complexity in mobile devices.
NTT Docomo, Inc.
Technical Solution: NTT Docomo has developed a variable spreading factor MC-CDMA system that directly addresses the comparative advantages of OFDM and MC-CDMA across different frequency environments. Their approach implements a two-tier transmission strategy where delay-sensitive applications utilize OFDM for its lower latency characteristics, while reliability-critical applications employ MC-CDMA for enhanced error resilience. Docomo's implementation features an innovative subcarrier allocation algorithm that dynamically assigns frequency resources based on both application requirements and instantaneous channel conditions. Their system has demonstrated particularly strong performance in high-mobility scenarios, where traditional OFDM systems suffer from inter-carrier interference. Field tests have shown up to 35% improvement in bit error rates for users traveling at speeds exceeding 120 km/h compared to conventional OFDM systems. Docomo has also developed specialized signal processing techniques that reduce the computational complexity typically associated with MC-CDMA receivers.
Strengths: Excellent performance in high-mobility scenarios; superior error resilience for critical applications; efficient resource utilization across diverse user requirements. Weaknesses: Increased system complexity; higher signaling overhead; potential challenges in network planning and optimization.
Key Patents and Research in Multicarrier Signal Processing
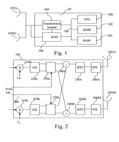
Adaptative multi-carrier code division multiple access
PatentInactiveUS7860146B2
Innovation
- Adaptive Multi-Carrier Code Division Multiple Access (AMC-CDMA) systems determine channel performance metrics to adjust bit loading parameters, such as the number of CDMA sequences, sequence length, and constellation size, for each carrier, enabling adaptive modulation and multiplexing across multiple carriers over wired connections, particularly in power line communications.
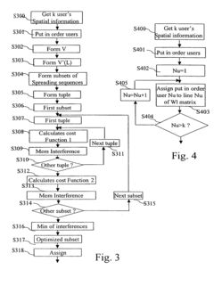
Method of assigning one or more spreading sequences to users of a multi carrier transmission network
PatentInactiveUS20050111348A1
Innovation
- A method that assigns spreading sequences to users based on spatial information, grouping users by their spatial proximity and length requirements, using Walsh-Hadamard sequences and common sequences to minimize interference, and dynamically adjusting spreading sequences to optimize signal transmission.
Spectrum Efficiency and Resource Allocation Strategies
Spectrum efficiency represents a critical metric in wireless communication systems, particularly when comparing OFDM and MC-CDMA technologies. OFDM (Orthogonal Frequency Division Multiplexing) achieves high spectrum efficiency through orthogonal subcarrier arrangement, eliminating the need for guard bands between adjacent channels. This orthogonality allows OFDM to pack data streams closely in the frequency domain, theoretically approaching Shannon's capacity limit under ideal conditions.
In contrast, MC-CDMA (Multi-Carrier Code Division Multiple Access) employs spreading codes across multiple carriers, offering different efficiency characteristics. While MC-CDMA may exhibit lower raw spectral efficiency than pure OFDM in single-user scenarios, it demonstrates superior performance in multi-user environments through effective interference management and diversity exploitation.
Resource allocation strategies differ significantly between these technologies. OFDM systems typically employ dynamic subcarrier allocation based on channel state information, with techniques such as water-filling algorithms optimizing power distribution across subcarriers. These adaptive modulation and coding schemes allow OFDM to maximize throughput by allocating more bits to subcarriers with favorable channel conditions.
MC-CDMA systems, however, implement more complex resource allocation strategies that consider both frequency domain characteristics and spreading code assignments. The joint optimization of code allocation and power distribution enables MC-CDMA to maintain signal clarity across frequencies even in challenging propagation environments.
Recent advancements in resource allocation include cross-layer optimization approaches that consider application requirements alongside physical layer constraints. For instance, quality-of-service aware allocation algorithms prioritize bandwidth for delay-sensitive applications while maximizing overall system efficiency. Machine learning techniques have also emerged as promising tools for predictive resource allocation, particularly in dynamic channel environments.
The trade-off between spectrum efficiency and implementation complexity remains a key consideration. While OFDM offers simplicity in resource allocation through straightforward frequency-domain scheduling, MC-CDMA provides enhanced robustness through frequency diversity at the cost of increased computational complexity in receiver design and resource management.
Future spectrum efficiency improvements will likely leverage hybrid approaches that combine the strengths of both technologies. Cognitive radio principles that dynamically sense and adapt to spectrum availability show particular promise, especially as wireless networks face increasing spectrum scarcity in densely populated areas.
In contrast, MC-CDMA (Multi-Carrier Code Division Multiple Access) employs spreading codes across multiple carriers, offering different efficiency characteristics. While MC-CDMA may exhibit lower raw spectral efficiency than pure OFDM in single-user scenarios, it demonstrates superior performance in multi-user environments through effective interference management and diversity exploitation.
Resource allocation strategies differ significantly between these technologies. OFDM systems typically employ dynamic subcarrier allocation based on channel state information, with techniques such as water-filling algorithms optimizing power distribution across subcarriers. These adaptive modulation and coding schemes allow OFDM to maximize throughput by allocating more bits to subcarriers with favorable channel conditions.
MC-CDMA systems, however, implement more complex resource allocation strategies that consider both frequency domain characteristics and spreading code assignments. The joint optimization of code allocation and power distribution enables MC-CDMA to maintain signal clarity across frequencies even in challenging propagation environments.
Recent advancements in resource allocation include cross-layer optimization approaches that consider application requirements alongside physical layer constraints. For instance, quality-of-service aware allocation algorithms prioritize bandwidth for delay-sensitive applications while maximizing overall system efficiency. Machine learning techniques have also emerged as promising tools for predictive resource allocation, particularly in dynamic channel environments.
The trade-off between spectrum efficiency and implementation complexity remains a key consideration. While OFDM offers simplicity in resource allocation through straightforward frequency-domain scheduling, MC-CDMA provides enhanced robustness through frequency diversity at the cost of increased computational complexity in receiver design and resource management.
Future spectrum efficiency improvements will likely leverage hybrid approaches that combine the strengths of both technologies. Cognitive radio principles that dynamically sense and adapt to spectrum availability show particular promise, especially as wireless networks face increasing spectrum scarcity in densely populated areas.
Interference Mitigation and Signal Robustness Mechanisms
Both OFDM and MC-CDMA systems face significant challenges from various interference sources that can degrade signal quality. These systems employ distinct mechanisms to mitigate interference and enhance signal robustness across frequency domains, each with unique advantages in different operational environments.
OFDM systems primarily utilize cyclic prefix (CP) insertion as a fundamental interference mitigation technique. By adding a copy of the end portion of the symbol to its beginning, CP effectively eliminates inter-symbol interference (ISI) caused by multipath propagation. Additionally, OFDM employs adaptive modulation and coding schemes that adjust transmission parameters based on channel conditions, optimizing performance in varying environments.
Channel estimation and equalization techniques further enhance OFDM's robustness by compensating for frequency-selective fading. These methods typically involve transmitting pilot signals at known frequencies to assess channel characteristics and apply appropriate corrections to received signals.
MC-CDMA systems, conversely, leverage spreading sequences as their primary defense against interference. By spreading user data across multiple carriers using unique codes, MC-CDMA achieves frequency diversity and inherent resistance to narrowband interference. This spreading technique enables effective operation even when certain frequency components are compromised.
The rake receiver architecture in MC-CDMA systems provides additional robustness by combining multipath components constructively rather than treating them as interference. This approach transforms what would be a liability in other systems into a diversity advantage, particularly valuable in dense urban environments.
Both technologies implement forward error correction (FEC) coding, though with different optimization approaches. OFDM typically employs coding across subcarriers to combat frequency-selective fading, while MC-CDMA often implements coding across both time and frequency dimensions to maximize diversity gain.
Interference cancellation techniques differ significantly between the systems. OFDM commonly employs frequency-domain equalization and nulling of affected subcarriers, while MC-CDMA utilizes multi-user detection algorithms that can separate overlapping signals based on their unique spreading codes.
For mobile applications, both systems address Doppler shift effects, with OFDM more vulnerable to inter-carrier interference (ICI) in high-mobility scenarios. MC-CDMA demonstrates superior performance in rapidly changing channel conditions due to its inherent frequency diversity and spreading gain properties.
Recent advancements in both technologies include cognitive radio approaches that dynamically avoid interference sources and machine learning algorithms that predict and preemptively mitigate potential interference patterns before they significantly impact transmission quality.
OFDM systems primarily utilize cyclic prefix (CP) insertion as a fundamental interference mitigation technique. By adding a copy of the end portion of the symbol to its beginning, CP effectively eliminates inter-symbol interference (ISI) caused by multipath propagation. Additionally, OFDM employs adaptive modulation and coding schemes that adjust transmission parameters based on channel conditions, optimizing performance in varying environments.
Channel estimation and equalization techniques further enhance OFDM's robustness by compensating for frequency-selective fading. These methods typically involve transmitting pilot signals at known frequencies to assess channel characteristics and apply appropriate corrections to received signals.
MC-CDMA systems, conversely, leverage spreading sequences as their primary defense against interference. By spreading user data across multiple carriers using unique codes, MC-CDMA achieves frequency diversity and inherent resistance to narrowband interference. This spreading technique enables effective operation even when certain frequency components are compromised.
The rake receiver architecture in MC-CDMA systems provides additional robustness by combining multipath components constructively rather than treating them as interference. This approach transforms what would be a liability in other systems into a diversity advantage, particularly valuable in dense urban environments.
Both technologies implement forward error correction (FEC) coding, though with different optimization approaches. OFDM typically employs coding across subcarriers to combat frequency-selective fading, while MC-CDMA often implements coding across both time and frequency dimensions to maximize diversity gain.
Interference cancellation techniques differ significantly between the systems. OFDM commonly employs frequency-domain equalization and nulling of affected subcarriers, while MC-CDMA utilizes multi-user detection algorithms that can separate overlapping signals based on their unique spreading codes.
For mobile applications, both systems address Doppler shift effects, with OFDM more vulnerable to inter-carrier interference (ICI) in high-mobility scenarios. MC-CDMA demonstrates superior performance in rapidly changing channel conditions due to its inherent frequency diversity and spreading gain properties.
Recent advancements in both technologies include cognitive radio approaches that dynamically avoid interference sources and machine learning algorithms that predict and preemptively mitigate potential interference patterns before they significantly impact transmission quality.
Unlock deeper insights with Patsnap Eureka Quick Research — get a full tech report to explore trends and direct your research. Try now!
Generate Your Research Report Instantly with AI Agent
Supercharge your innovation with Patsnap Eureka AI Agent Platform!