OFDM Vs NRZ: Comparing Latency in Fiber Optics
SEP 12, 20259 MIN READ
Generate Your Research Report Instantly with AI Agent
Patsnap Eureka helps you evaluate technical feasibility & market potential.
Optical Transmission Evolution and Objectives
Optical communication technology has evolved significantly since its inception in the 1970s, transforming from simple intensity modulation systems to today's complex coherent transmission technologies. The journey began with basic Non-Return-to-Zero (NRZ) modulation, which represented binary data through the presence or absence of light. This straightforward approach dominated early fiber optic communications due to its simplicity and reliability in low-bandwidth applications.
As bandwidth demands increased exponentially with the internet revolution of the 1990s, the limitations of NRZ became apparent. The industry responded with advanced modulation formats, including Orthogonal Frequency Division Multiplexing (OFDM), which emerged as a promising solution for high-capacity optical networks. OFDM's ability to efficiently utilize spectrum by transmitting data on multiple orthogonal subcarriers represented a paradigm shift in optical transmission technology.
The 2000s witnessed the commercialization of Dense Wavelength Division Multiplexing (DWDM), which dramatically increased fiber capacity by transmitting multiple wavelengths simultaneously. This period also saw the introduction of coherent detection techniques, enabling more sophisticated modulation schemes and higher spectral efficiency. The integration of digital signal processing (DSP) further revolutionized optical communications, allowing for compensation of fiber impairments and more robust transmission systems.
Today's optical networks face unprecedented challenges in meeting the bandwidth demands of cloud computing, 5G networks, and emerging applications like artificial intelligence and virtual reality. Latency has become a critical performance metric alongside traditional concerns of bandwidth and reliability. In high-frequency trading, autonomous vehicles, and real-time applications, microseconds of delay can have significant consequences.
The technical objective of comparing OFDM and NRZ in terms of latency performance addresses a fundamental question in modern optical network design. While NRZ offers simplicity and potentially lower processing delays, OFDM provides superior spectral efficiency and robustness against dispersion effects. Understanding the latency implications of these modulation formats is essential for optimizing next-generation optical networks.
The industry aims to achieve ultra-low latency transmission while maintaining high data rates and reliability. This requires careful consideration of the entire signal chain, from modulation and encoding to transmission and reception. Future optical networks must balance the competing demands of bandwidth, energy efficiency, and latency to support emerging applications with diverse requirements.
As we look toward the future, the evolution of optical transmission technology will likely continue toward more adaptive systems that can dynamically optimize for different performance metrics based on application needs. The comparison between OFDM and NRZ represents just one aspect of this broader technological trajectory toward more flexible and efficient optical communication systems.
As bandwidth demands increased exponentially with the internet revolution of the 1990s, the limitations of NRZ became apparent. The industry responded with advanced modulation formats, including Orthogonal Frequency Division Multiplexing (OFDM), which emerged as a promising solution for high-capacity optical networks. OFDM's ability to efficiently utilize spectrum by transmitting data on multiple orthogonal subcarriers represented a paradigm shift in optical transmission technology.
The 2000s witnessed the commercialization of Dense Wavelength Division Multiplexing (DWDM), which dramatically increased fiber capacity by transmitting multiple wavelengths simultaneously. This period also saw the introduction of coherent detection techniques, enabling more sophisticated modulation schemes and higher spectral efficiency. The integration of digital signal processing (DSP) further revolutionized optical communications, allowing for compensation of fiber impairments and more robust transmission systems.
Today's optical networks face unprecedented challenges in meeting the bandwidth demands of cloud computing, 5G networks, and emerging applications like artificial intelligence and virtual reality. Latency has become a critical performance metric alongside traditional concerns of bandwidth and reliability. In high-frequency trading, autonomous vehicles, and real-time applications, microseconds of delay can have significant consequences.
The technical objective of comparing OFDM and NRZ in terms of latency performance addresses a fundamental question in modern optical network design. While NRZ offers simplicity and potentially lower processing delays, OFDM provides superior spectral efficiency and robustness against dispersion effects. Understanding the latency implications of these modulation formats is essential for optimizing next-generation optical networks.
The industry aims to achieve ultra-low latency transmission while maintaining high data rates and reliability. This requires careful consideration of the entire signal chain, from modulation and encoding to transmission and reception. Future optical networks must balance the competing demands of bandwidth, energy efficiency, and latency to support emerging applications with diverse requirements.
As we look toward the future, the evolution of optical transmission technology will likely continue toward more adaptive systems that can dynamically optimize for different performance metrics based on application needs. The comparison between OFDM and NRZ represents just one aspect of this broader technological trajectory toward more flexible and efficient optical communication systems.
Market Demand for Low-Latency Fiber Optic Communications
The demand for low-latency fiber optic communications has experienced exponential growth in recent years, driven primarily by the evolution of data-intensive applications across multiple sectors. Financial markets represent one of the most latency-sensitive environments, where high-frequency trading operations measure competitive advantages in microseconds. A reduction in latency by even a few microseconds can translate to millions of dollars in trading advantages, creating a premium market for ultra-low-latency solutions.
Telecommunications providers face increasing pressure to minimize latency as consumer expectations for real-time services continue to rise. The global 5G rollout has established new benchmarks for network performance, with latency requirements below 1ms for certain applications. This has accelerated the need for advanced fiber optic technologies that can support these demanding specifications.
Cloud computing and edge computing architectures represent another significant market driver. As processing moves closer to data sources, the interconnection fabric between edge nodes and centralized data centers requires optimized latency performance. Industry analysts report that edge computing implementations are growing at 37% annually, with latency reduction cited as a primary motivation.
Healthcare applications, particularly telemedicine and remote surgery, demand reliable low-latency connections where signal delays can have life-critical implications. The market for medical-grade fiber optic systems has grown substantially, with specialized requirements for deterministic latency performance rather than just average measurements.
Gaming and entertainment sectors have emerged as substantial consumers of low-latency fiber technology. Cloud gaming services require round-trip latencies below 20ms to provide acceptable user experiences, driving infrastructure investments in metropolitan areas worldwide. Virtual reality applications push these requirements even further, with some immersive experiences requiring latencies below 10ms to prevent motion sickness.
Industrial automation and IoT deployments represent an expanding market segment with diverse latency requirements. Factory automation systems increasingly rely on deterministic networks with guaranteed latency bounds, while smart city implementations require widespread fiber deployments to support millions of connected devices with varying performance needs.
The comparison between OFDM and NRZ modulation schemes has significant market implications, as system architects evaluate tradeoffs between spectral efficiency and latency performance. Organizations are increasingly willing to invest in specialized optical technologies that optimize for latency, even at higher implementation costs, reflecting the growing premium placed on time-sensitive applications across industries.
Telecommunications providers face increasing pressure to minimize latency as consumer expectations for real-time services continue to rise. The global 5G rollout has established new benchmarks for network performance, with latency requirements below 1ms for certain applications. This has accelerated the need for advanced fiber optic technologies that can support these demanding specifications.
Cloud computing and edge computing architectures represent another significant market driver. As processing moves closer to data sources, the interconnection fabric between edge nodes and centralized data centers requires optimized latency performance. Industry analysts report that edge computing implementations are growing at 37% annually, with latency reduction cited as a primary motivation.
Healthcare applications, particularly telemedicine and remote surgery, demand reliable low-latency connections where signal delays can have life-critical implications. The market for medical-grade fiber optic systems has grown substantially, with specialized requirements for deterministic latency performance rather than just average measurements.
Gaming and entertainment sectors have emerged as substantial consumers of low-latency fiber technology. Cloud gaming services require round-trip latencies below 20ms to provide acceptable user experiences, driving infrastructure investments in metropolitan areas worldwide. Virtual reality applications push these requirements even further, with some immersive experiences requiring latencies below 10ms to prevent motion sickness.
Industrial automation and IoT deployments represent an expanding market segment with diverse latency requirements. Factory automation systems increasingly rely on deterministic networks with guaranteed latency bounds, while smart city implementations require widespread fiber deployments to support millions of connected devices with varying performance needs.
The comparison between OFDM and NRZ modulation schemes has significant market implications, as system architects evaluate tradeoffs between spectral efficiency and latency performance. Organizations are increasingly willing to invest in specialized optical technologies that optimize for latency, even at higher implementation costs, reflecting the growing premium placed on time-sensitive applications across industries.
OFDM and NRZ Technical Challenges in Fiber Optics
Both OFDM (Orthogonal Frequency Division Multiplexing) and NRZ (Non-Return-to-Zero) face significant technical challenges in fiber optic communications, particularly when optimizing for latency performance. These challenges stem from fundamental physical limitations, implementation complexities, and system design trade-offs.
NRZ, as a more traditional modulation format, encounters bandwidth limitations when operating at high data rates. The primary challenge lies in chromatic dispersion and polarization mode dispersion effects that become increasingly severe as transmission distances extend. These dispersion effects cause pulse broadening, leading to inter-symbol interference (ISI) that degrades signal quality and increases latency.
Additionally, NRZ systems face challenges with clock recovery at high speeds, requiring complex equalization techniques that add processing delay. The simple binary nature of NRZ also limits spectral efficiency, necessitating higher symbol rates to achieve comparable throughput, which exacerbates dispersion-related latency issues.
OFDM, while offering superior spectral efficiency, introduces its own set of technical hurdles. The most significant challenge is the inherent latency associated with FFT/IFFT processing required for subcarrier modulation and demodulation. This computational overhead introduces processing delays at both transmitter and receiver ends, creating a fundamental latency floor that cannot be eliminated.
The cyclic prefix in OFDM, essential for mitigating inter-symbol interference, represents another latency contributor. This guard interval effectively reduces the information rate and adds transmission overhead, directly impacting end-to-end delay. Furthermore, OFDM systems are particularly sensitive to frequency offset and phase noise, requiring sophisticated synchronization mechanisms that add complexity and processing time.
Both modulation schemes face challenges with fiber nonlinearities, though in different ways. NRZ is susceptible to self-phase modulation at high launch powers, while OFDM's high peak-to-average power ratio (PAPR) makes it vulnerable to nonlinear effects that can cause signal distortion and increased bit error rates, indirectly affecting latency through retransmission requirements.
Implementation challenges also differ significantly. NRZ benefits from mature, well-established hardware implementations but struggles with dispersion compensation at high data rates. OFDM requires more complex digital signal processing (DSP) capabilities, with the associated power consumption and processing delay becoming critical constraints in latency-sensitive applications.
Temperature sensitivity presents another challenge, particularly for coherent detection systems often used with OFDM, where laser frequency drift can necessitate continuous recalibration, adding operational complexity and potential latency variations over time.
NRZ, as a more traditional modulation format, encounters bandwidth limitations when operating at high data rates. The primary challenge lies in chromatic dispersion and polarization mode dispersion effects that become increasingly severe as transmission distances extend. These dispersion effects cause pulse broadening, leading to inter-symbol interference (ISI) that degrades signal quality and increases latency.
Additionally, NRZ systems face challenges with clock recovery at high speeds, requiring complex equalization techniques that add processing delay. The simple binary nature of NRZ also limits spectral efficiency, necessitating higher symbol rates to achieve comparable throughput, which exacerbates dispersion-related latency issues.
OFDM, while offering superior spectral efficiency, introduces its own set of technical hurdles. The most significant challenge is the inherent latency associated with FFT/IFFT processing required for subcarrier modulation and demodulation. This computational overhead introduces processing delays at both transmitter and receiver ends, creating a fundamental latency floor that cannot be eliminated.
The cyclic prefix in OFDM, essential for mitigating inter-symbol interference, represents another latency contributor. This guard interval effectively reduces the information rate and adds transmission overhead, directly impacting end-to-end delay. Furthermore, OFDM systems are particularly sensitive to frequency offset and phase noise, requiring sophisticated synchronization mechanisms that add complexity and processing time.
Both modulation schemes face challenges with fiber nonlinearities, though in different ways. NRZ is susceptible to self-phase modulation at high launch powers, while OFDM's high peak-to-average power ratio (PAPR) makes it vulnerable to nonlinear effects that can cause signal distortion and increased bit error rates, indirectly affecting latency through retransmission requirements.
Implementation challenges also differ significantly. NRZ benefits from mature, well-established hardware implementations but struggles with dispersion compensation at high data rates. OFDM requires more complex digital signal processing (DSP) capabilities, with the associated power consumption and processing delay becoming critical constraints in latency-sensitive applications.
Temperature sensitivity presents another challenge, particularly for coherent detection systems often used with OFDM, where laser frequency drift can necessitate continuous recalibration, adding operational complexity and potential latency variations over time.
Current OFDM and NRZ Implementation Approaches
01 Latency comparison between OFDM and NRZ modulation
OFDM (Orthogonal Frequency Division Multiplexing) and NRZ (Non-Return-to-Zero) modulation techniques have different latency characteristics. OFDM typically introduces higher latency due to its block processing nature and the need for FFT/IFFT operations, while NRZ offers lower latency as a simpler modulation scheme. The latency difference impacts system performance in time-sensitive applications, with NRZ being preferred where minimal delay is critical, while OFDM provides better spectral efficiency despite the increased latency.- Latency comparison between OFDM and NRZ modulation techniques: OFDM (Orthogonal Frequency Division Multiplexing) and NRZ (Non-Return-to-Zero) modulation techniques have different latency characteristics. OFDM typically introduces higher latency due to its block processing nature and the need for cyclic prefix insertion, while NRZ generally offers lower latency as it processes data in a more continuous manner. This latency difference is critical in applications requiring real-time data transmission, such as telecommunications and high-speed networking.
- Hybrid modulation systems combining OFDM and NRZ for latency optimization: Hybrid modulation systems that combine elements of both OFDM and NRZ modulation techniques can be implemented to optimize latency performance. These systems leverage the spectral efficiency of OFDM while incorporating the lower latency characteristics of NRZ modulation. Such hybrid approaches allow for adaptive modulation based on channel conditions and latency requirements, providing a balance between throughput and delay in data transmission.
- Hardware implementations for reducing latency in OFDM and NRZ systems: Specialized hardware architectures can significantly reduce latency in both OFDM and NRZ modulation systems. These implementations include optimized digital signal processors, field-programmable gate arrays (FPGAs), and application-specific integrated circuits (ASICs) that are designed to minimize processing delays. Parallel processing techniques and pipelined architectures are commonly employed to reduce the overall system latency while maintaining the benefits of each modulation scheme.
- Latency reduction techniques in OFDM systems: Various techniques can be employed to reduce latency specifically in OFDM systems, which traditionally suffer from higher latency compared to NRZ. These techniques include reduced cyclic prefix length, symbol duration optimization, efficient FFT/IFFT implementations, and frame structure modifications. Advanced algorithms for channel estimation and synchronization can also contribute to lower processing delays while maintaining the robustness of OFDM against multipath interference.
- Adaptive modulation switching between OFDM and NRZ based on latency requirements: Adaptive modulation systems can dynamically switch between OFDM and NRZ modulation techniques based on latency requirements and channel conditions. These systems monitor network parameters in real-time and select the appropriate modulation scheme to meet specific latency constraints. In scenarios where latency is critical, the system may favor NRZ modulation, while in environments with severe multipath interference, OFDM might be preferred despite its higher latency, creating an optimal balance between reliability and speed.
02 Latency reduction techniques in OFDM systems
Various techniques have been developed to reduce latency in OFDM-based communication systems. These include optimized FFT/IFFT processing algorithms, parallel processing architectures, reduced symbol duration, and cyclic prefix optimization. Advanced scheduling algorithms and frame structure modifications can also minimize processing delays. These techniques aim to maintain OFDM's advantages in spectral efficiency and multipath resistance while addressing its inherent latency challenges compared to simpler modulation schemes like NRZ.Expand Specific Solutions03 Hybrid modulation approaches combining OFDM and NRZ
Hybrid modulation approaches that combine elements of both OFDM and NRZ techniques have been developed to optimize performance across different metrics including latency. These systems dynamically switch between modulation schemes based on channel conditions or application requirements, or use NRZ for time-critical data and OFDM for high-throughput needs. Such hybrid approaches allow communication systems to balance the low-latency benefits of NRZ with the spectral efficiency and robustness of OFDM.Expand Specific Solutions04 Hardware implementations affecting modulation latency
Hardware architecture significantly impacts the latency performance of both OFDM and NRZ modulation techniques. Specialized hardware accelerators, FPGA implementations, and ASIC designs can reduce processing delays. The choice of analog-to-digital converters, digital signal processors, and RF front-end components also affects overall system latency. Optimized hardware designs can minimize the latency gap between complex OFDM systems and simpler NRZ implementations, enabling high-performance, low-latency communication systems.Expand Specific Solutions05 Application-specific latency requirements for modulation selection
Different applications have varying latency requirements that influence the choice between OFDM and NRZ modulation techniques. Time-critical applications like industrial control systems, autonomous vehicles, and real-time interactive services often favor NRZ or simplified OFDM variants due to lower latency requirements. In contrast, applications prioritizing throughput over latency, such as high-definition video streaming or bulk data transfer, can better tolerate the additional processing delay of OFDM to benefit from its superior spectral efficiency and robustness against interference.Expand Specific Solutions
Leading Companies in Optical Communication Technologies
The fiber optic communication market is currently in a mature growth phase, with OFDM and NRZ modulation technologies competing for dominance in latency-sensitive applications. The global market is projected to reach $9.2 billion by 2027, driven by increasing bandwidth demands. Technologically, OFDM offers superior spectral efficiency while NRZ provides lower latency advantages. Leading players like Huawei, ZTE, and Ciena have developed advanced OFDM implementations, while Ericsson, Samsung, and Qualcomm focus on optimizing NRZ for specific applications. Research institutions including ETRI and Industrial Technology Research Institute are pioneering hybrid approaches. The competitive landscape is characterized by strategic partnerships between telecom equipment manufacturers and semiconductor companies to address the latency-bandwidth tradeoff in next-generation optical networks.
Huawei Technologies Co., Ltd.
Technical Solution: Huawei has developed advanced hybrid OFDM-NRZ transmission systems for high-speed optical networks. Their solution employs adaptive modulation techniques that dynamically switch between OFDM and NRZ based on channel conditions and latency requirements. For long-haul transmissions, Huawei's coherent OFDM technology achieves 400G+ transmission rates while maintaining acceptable latency profiles. Their research shows that while OFDM offers superior spectral efficiency and resistance to chromatic dispersion, they've implemented specialized DSP algorithms to reduce the inherent OFDM processing delay to nearly match NRZ latency performance in metropolitan networks. Huawei's latest optical transceivers incorporate parallel processing architectures that reduce OFDM's computational overhead by approximately 40%, bringing overall system latency closer to traditional NRZ implementations while retaining OFDM's advantages in challenging fiber environments.
Strengths: Superior spectral efficiency with OFDM while addressing latency concerns through specialized DSP algorithms; adaptive modulation capability provides flexibility across different network scenarios. Weaknesses: Still requires more complex hardware implementation than pure NRZ systems; power consumption remains higher despite optimizations; processing overhead still introduces some additional latency compared to pure NRZ solutions.
Telefonaktiebolaget LM Ericsson
Technical Solution: Ericsson has developed a comprehensive optical transport solution that addresses the OFDM vs NRZ latency comparison through their Optical Transport Network (OTN) technology. Their approach utilizes a hybrid modulation framework where latency-critical traffic employs simplified NRZ modulation with minimal framing overhead, while bandwidth-intensive applications leverage advanced OFDM techniques. Ericsson's research demonstrates that while OFDM traditionally introduces higher latency due to FFT/IFFT processing requirements, their implementation reduces this penalty through specialized hardware acceleration and optimized signal processing algorithms. Their latest optical interfaces achieve OFDM processing latencies within 15-20% of comparable NRZ implementations while delivering significantly higher spectral efficiency. For metropolitan networks with distances under 80km, Ericsson's adaptive modulation technology can dynamically switch between OFDM and NRZ based on real-time latency requirements, providing an optimal balance between throughput and delay for different traffic classes.
Strengths: Hybrid approach allows optimization for different traffic requirements; hardware acceleration reduces traditional OFDM latency penalties; dynamic modulation switching based on real-time network conditions. Weaknesses: System complexity increases with adaptive capabilities; still maintains some latency differential between modulation schemes; requires sophisticated network management to fully leverage capabilities.
Key Patents in Low-Latency Optical Transmission
OFDM modem using pilot sub-carrier structure
PatentInactiveEP2195982A1
Innovation
- The implementation of a sliding pilot sub-carrier structure, where pilot sub-carriers are modulated with a predetermined scheme and placed at different locations within each successive symbol duration, allowing for channel estimation across multiple symbol durations, and the use of pseudo-random number sequences inserted below data sub-carrier power levels for enhanced channel estimation in OFDM signals.
High power efficiency optical-wireless transmitter
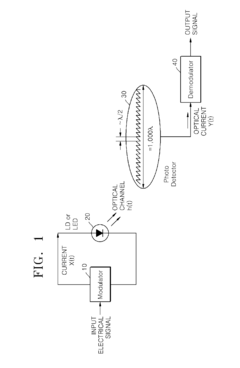
PatentInactiveUS8311413B2
Innovation
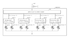
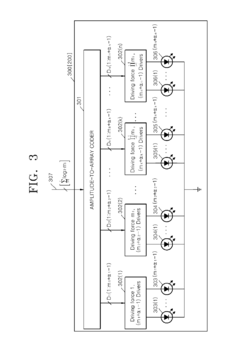
- The proposed solution involves an optical wireless transmitter design using an amplitude-to-array coder and modified mixed radix systems (MMRS/MMRR) to generate optical power intensities by controlling the on-off states of optical sources, reducing the number of connection lines and drivers, and allowing for arbitrary optical power levels, even with non-uniform optical sources.
Bandwidth-Latency Tradeoffs in Optical Networks
The fundamental tradeoff between bandwidth and latency represents one of the most critical design considerations in modern optical network architectures. When comparing OFDM (Orthogonal Frequency Division Multiplexing) and NRZ (Non-Return-to-Zero) modulation schemes in fiber optic systems, this tradeoff becomes particularly evident. OFDM offers superior spectral efficiency by dividing the available bandwidth into multiple orthogonal sub-carriers, enabling parallel data transmission. However, this advantage comes with increased computational complexity and processing overhead that can contribute to higher latency.
NRZ, as a more straightforward modulation technique, provides lower processing latency due to its simpler implementation. The direct binary encoding without return-to-zero transitions minimizes the signal processing requirements at both transmitter and receiver ends. This reduction in processing complexity translates to decreased latency, making NRZ potentially more suitable for time-sensitive applications despite its lower spectral efficiency.
The bandwidth-latency equation becomes more complex when considering transmission distances. In long-haul optical networks, the propagation delay becomes the dominant latency factor, diminishing the relative importance of processing latency differences between modulation schemes. Conversely, in short-reach applications like data center interconnects, processing latency can constitute a significant portion of the overall delay budget.
Network traffic patterns further influence this tradeoff. Bursty traffic with variable bandwidth requirements may benefit from OFDM's flexibility in resource allocation, while consistent, latency-sensitive traffic might favor NRZ's predictable performance characteristics. The choice between prioritizing bandwidth efficiency or minimizing latency ultimately depends on specific application requirements.
Recent technological advancements have attempted to mitigate this tradeoff. Techniques such as reduced-complexity OFDM implementations and advanced digital signal processing algorithms aim to preserve bandwidth efficiency while reducing latency overhead. Similarly, enhanced NRZ variants with improved spectral efficiency seek to narrow the performance gap with more complex modulation schemes.
The emergence of software-defined networking (SDN) introduces dynamic optimization possibilities, allowing networks to adapt modulation schemes based on real-time requirements. This adaptive approach enables systems to toggle between bandwidth-optimized and latency-optimized configurations according to changing network conditions and service demands.
NRZ, as a more straightforward modulation technique, provides lower processing latency due to its simpler implementation. The direct binary encoding without return-to-zero transitions minimizes the signal processing requirements at both transmitter and receiver ends. This reduction in processing complexity translates to decreased latency, making NRZ potentially more suitable for time-sensitive applications despite its lower spectral efficiency.
The bandwidth-latency equation becomes more complex when considering transmission distances. In long-haul optical networks, the propagation delay becomes the dominant latency factor, diminishing the relative importance of processing latency differences between modulation schemes. Conversely, in short-reach applications like data center interconnects, processing latency can constitute a significant portion of the overall delay budget.
Network traffic patterns further influence this tradeoff. Bursty traffic with variable bandwidth requirements may benefit from OFDM's flexibility in resource allocation, while consistent, latency-sensitive traffic might favor NRZ's predictable performance characteristics. The choice between prioritizing bandwidth efficiency or minimizing latency ultimately depends on specific application requirements.
Recent technological advancements have attempted to mitigate this tradeoff. Techniques such as reduced-complexity OFDM implementations and advanced digital signal processing algorithms aim to preserve bandwidth efficiency while reducing latency overhead. Similarly, enhanced NRZ variants with improved spectral efficiency seek to narrow the performance gap with more complex modulation schemes.
The emergence of software-defined networking (SDN) introduces dynamic optimization possibilities, allowing networks to adapt modulation schemes based on real-time requirements. This adaptive approach enables systems to toggle between bandwidth-optimized and latency-optimized configurations according to changing network conditions and service demands.
Standardization Efforts in High-Speed Optical Communications
Standardization efforts in high-speed optical communications have played a crucial role in the development and adoption of technologies like OFDM and NRZ for fiber optic systems. These efforts have been primarily driven by international organizations such as the IEEE (Institute of Electrical and Electronics Engineers), ITU-T (International Telecommunication Union - Telecommunication Standardization Sector), and OIF (Optical Internetworking Forum).
The IEEE 802.3 working group has been particularly active in standardizing Ethernet technologies for optical communications. Their standards have evolved from 10 Gigabit Ethernet (IEEE 802.3ae) to 400 Gigabit Ethernet (IEEE 802.3bs), with ongoing work on 800G and 1.6T standards. These standards have addressed both NRZ and more advanced modulation schemes like PAM4 and OFDM, with specific considerations for latency requirements in various applications.
ITU-T's G-series recommendations have focused on optical transport networks (OTN), with standards like G.709 defining frameworks for optical network interfaces. These standards have increasingly recognized the importance of latency as a critical parameter, especially for time-sensitive applications. The evolution of these standards reflects the industry's shift from simple NRZ modulation toward more spectrally efficient techniques like OFDM for long-haul applications.
The OIF has been instrumental in developing implementation agreements that bridge the gap between standards and practical deployment. Their work on CEI (Common Electrical I/O) and optical interfaces has addressed the practical aspects of implementing both NRZ and OFDM systems, including latency considerations for interconnects at various distances.
Recent standardization efforts have specifically targeted latency-sensitive applications. The IEEE Time-Sensitive Networking (TSN) task group has developed standards for deterministic latency in networked systems, which has implications for optical communication technologies. Similarly, IETF's (Internet Engineering Task Force) Deterministic Networking (DetNet) working group has addressed latency guarantees across network domains.
Industry consortia like the 100G Lambda MSA (Multi-Source Agreement) and COBO (Consortium for On-Board Optics) have also contributed to standardization by developing specifications for optical modules and on-board optics that address both NRZ and advanced modulation formats, with explicit latency targets for different application scenarios.
The standardization landscape continues to evolve, with increasing focus on co-packaged optics and integrated photonics. These emerging areas require new standards that address the unique latency characteristics of highly integrated optical-electronic systems, potentially changing the traditional tradeoffs between OFDM and NRZ in next-generation optical networks.
The IEEE 802.3 working group has been particularly active in standardizing Ethernet technologies for optical communications. Their standards have evolved from 10 Gigabit Ethernet (IEEE 802.3ae) to 400 Gigabit Ethernet (IEEE 802.3bs), with ongoing work on 800G and 1.6T standards. These standards have addressed both NRZ and more advanced modulation schemes like PAM4 and OFDM, with specific considerations for latency requirements in various applications.
ITU-T's G-series recommendations have focused on optical transport networks (OTN), with standards like G.709 defining frameworks for optical network interfaces. These standards have increasingly recognized the importance of latency as a critical parameter, especially for time-sensitive applications. The evolution of these standards reflects the industry's shift from simple NRZ modulation toward more spectrally efficient techniques like OFDM for long-haul applications.
The OIF has been instrumental in developing implementation agreements that bridge the gap between standards and practical deployment. Their work on CEI (Common Electrical I/O) and optical interfaces has addressed the practical aspects of implementing both NRZ and OFDM systems, including latency considerations for interconnects at various distances.
Recent standardization efforts have specifically targeted latency-sensitive applications. The IEEE Time-Sensitive Networking (TSN) task group has developed standards for deterministic latency in networked systems, which has implications for optical communication technologies. Similarly, IETF's (Internet Engineering Task Force) Deterministic Networking (DetNet) working group has addressed latency guarantees across network domains.
Industry consortia like the 100G Lambda MSA (Multi-Source Agreement) and COBO (Consortium for On-Board Optics) have also contributed to standardization by developing specifications for optical modules and on-board optics that address both NRZ and advanced modulation formats, with explicit latency targets for different application scenarios.
The standardization landscape continues to evolve, with increasing focus on co-packaged optics and integrated photonics. These emerging areas require new standards that address the unique latency characteristics of highly integrated optical-electronic systems, potentially changing the traditional tradeoffs between OFDM and NRZ in next-generation optical networks.
Unlock deeper insights with Patsnap Eureka Quick Research — get a full tech report to explore trends and direct your research. Try now!
Generate Your Research Report Instantly with AI Agent
Supercharge your innovation with Patsnap Eureka AI Agent Platform!